Nội dung toàn văn Tiêu chuẩn ngành 10TCN 546:2002 về thiết bị tưới dùng trong nông nghiệp – Hệ thống ống tưới – Đặc điểm kỹ thuật và phương pháp thử do Bộ Nông nghiệp và Phát triển nông thôn ban hành
TIÊU CHUẨN NGÀNH
10TCN 546:2002
THIẾT BỊ TƯỚI DÙNG TRONG NÔNG NGHIỆP
– HỆ THỐNG ỐNG TƯỚI – ĐẶC ĐIỂM KỸ THUẬT VÀ PHƯƠNG PHÁP THỬ
Agricultural irrigation equipment – Emitting pipe systems – Specipication and test methods
Ban hành kèm theo Quyết định số: 58/2002-QĐ-BNN-KHCN ngày 24 tháng 6 năm 2002
1. Phạm vi áp dụng:
Tiêu chuẩn này qui định các yêu cầu về cơ khí, các yêu cầu về tính năng của ống tưới dùng trong nông nghiệp và các trang bị phụ của chúng, phương pháp thử và các tài liệu do nhà chế tạo cung cấp, cho phép lắp đặt và vận hành đúng ở trên đồng.
Tiêu chuẩn này áp dụng cho các loại ống cứng, ống mềm, và hệ thống ống tưới nhỏ giọt và tưới thành dòng nhỏ, nhiều đơn vị tưới của ống tưới tạo thành một chi tiết hoàn chỉnh. Tiêu chuẩn này cũng áp dụng cho các trang bị phụ dùng để nối các ống tưới, các ống mềm, và hệ thống ống; Tiêu chuẩn không áp dụng cho ống xốp (xốp trên toàn bộ chiều dài của ống).
2. Tiêu chuẩn tham khảo:
a) ISO 3501: 1976, Các chỗ ghép nối giữa phụ kiện máy và ống chịu áp suất (PE) – thử sức bền chịu kéo.
(ISO 3501: 1976, Assembled joints between fittings and polyethylen (PE) pressure pipes-Test of resistance to pull out.)
b) ISO 8796:1989, Ống Polietylen (PE) 25 dùng cho hệ thống ống tưới nhánh – Độ nhạy với ứng suất tạo khe nứt của môi trường do phụ kiện lồng ghép với nhau gây nên – Đặc điểm kỹ thuật và Phương pháp thử.
(ISO 8796:1989, Polyethylen (PE) 25 pipes for irrigation laterals -susceptibility to environmental stress- cracking induced by insert- type fitings- test method and specification)
3. Thuật ngữ và định nghĩa:
Tiêu chuẩn áp dụng các định nghĩa sau đây:
3.1. ỐNG TƯỚI (EMITTING- PIPE):
Ống đúc liên tục, ống mềm, hay hệ thống ống, có đục lỗ hoặc có các thiết bị thuỷ lực khác, được tạo thành ở trong ống suốt quá trình sản xuất để tưới nước thành giọt hoặc thành dòng liên tục, với lưu lượng không vượt quá 15 l/h trên một đơn vị tưới.
3.2. ỐNG TƯỚI ĐIỀU CHỈNH ĐƯỢC (ĐƯỢC BÙ ÁP SUẤT) [REGULATED (PRESSURE- COMPENSATING) EMITTING-PIPE]:
Ống tưới có lưu lượng tưới gần như không đổi khi thay đổi áp suất tại cửa nhận nước của ống tưới trong giới hạn do nhà chế tạo quy định.
3.3. ỐNG TƯỚI KHÔNG ĐIỀU CHỈNH ĐƯỢC (UNREGULATED EMITTING- PIPE):
Ống tưới có lưu lượng tưới thay đổi khi áp suất nước thay đổi.
3.4. ỐNG TƯỚI KHÔNG THỂ DÙNG LẠI (NON-REUSABLE EMITTING- PIPE):
Ống tưới có khối lượng nhẹ, không được di chuyển và lắp đặt lại.
3.5. ỐNG TƯỚI CÓ THỂ DÙNG LẠI (REUSABLE EMTTING PIPE):
Ống tưới có khối lượng nặng, được thiết kế để di chuyển và lắp đặt lại, mà vẫn vận hành tốt từ mùa này qua mùa khác hoặc trong các hoàn cảnh khác nhau.
3.6. ĐƠN VỊ TƯỚI (EMITTING UNIT):
Một phần của ống tưới, lặp lại trong nhiều khoảng, từ đó nước tưới đến một vị trí có thể phân biệt rõ ràng.
3.7. ỐNG TƯỚI MỘT ĐƠN VỊ (UNIT EMITTING PIPE):
Chiều dài của ống tưới chứa một đơn vị tưới.
3.8. ĐAI KẸP (CLAMPING BAND):
Một cái vòng hoặc một trang bị phụ giống một cái đai, dùng để nối kín nước giữa ống tưới và phụ kiện.
3.9. PHỤ KIỆN NỐI (FITTING):
Phụ kiện phù hợp để nối đến một ống tưới, có hoặc không có đai kẹp.
3.10. PHỤ KIỆN NỐI Ở CỬA NHẬN NƯỚC (INLET FITTING):
Phụ kiện có một đầu phù hợp để nối đến một ống tưới tiêu chuẩn hoặc một thiết bị tiêu chuẩn, và một hoặc các đầu kia phù hợp để nối đến một ống tưới.
3.11. CÁC PHỤ KIỆN NỐI NỐI TIẾP (IN-LINE FITTING):
Phụ kiện có cả hai đầu phù hợp để nối đến một ống tưới (xem hình vẽ) hình 1 phụ lục A.
3.12. ĐƯỜNG KÍNH DANH NGHĨA (NOMINAL DIAMETER):
Thông thường được kí hiệu bằng số, để chỉ kích thước của ống tưới, và xấp xỉ bằng đường kính ngoài của ống, tính bằng mm.
3.13. ÁP SUẤT THỬ DANH NGHĨA, Pn (NOMINAL TEST PRESSURE):
Áp suất yêu cầu bằng 100 kPa tại cửa nhận nước của đơn vị tưới không được điều chỉnh, hoặc áp suất bất kỳ theo chỉ dẫn trong tài liệu của nhà chế tạo.
3.14. LƯU LƯỢNG TƯỚI DANH NGHĨA, qn (NOMINAL EMISSION RATE):
1) Ống tưới không điều chỉnh được (không bù áp suất): Lưu lượng tưới, tính bằng lít trong một giờ, của một đơn vị tưới khi áp suất thử bằng áp suất danh nghĩa và khi nhiệt độ nước bằng 230C theo qui định của nhà chế tạo.
2) Ống tưới điều chỉnh được (được bù áp suất): Lưu lượng tưới, tính bằng lít trong một giờ của một đơn vị tưới khi nhiệt độ nước bằng 230C theo qui định của nhà chế tạo.
3.15. VÙNG ÁP SUẤT LÀM VIỆC (RANGE OF WORKING PRESSURES):
Vùng áp suất nước ở cửa nhận nước của một đơn vị tưới của ống tưới nhánh, từ áp suất làm việc cực tiểu, Pmin,, đến áp suất làm việc cực đại, Pmax, để đảm bảo vận hành đúng theo chỉ dẫn của nhà chế tạo.
3.16. VÙNG ĐIỀU CHỈNH (RANGE OF REGULATION):
Vùng áp suất nước tại cửa nhận nước của đơn vị tưới được điều chỉnh, mỗi đơn vị tưới của ống tưới xả nước ra trong vùng lưu lượng do nhà chế tạo qui định.
4. Phân loại:
Các ống tưới được phân loại theo 3 tiêu chuẩn (xem mục 4.1 đến 4.3) dưới đây:
4.1. Độ đồng đều về lưu lượng tưới và điều chỉnh độ đồng đều:
Có 2 loại độ đồng đều được phân ra như sau:
a. Loại đồng đều A: ống tưới có độ đồng đều về lưu lượng cao hơn và độ lệch nhỏ hơn so với lưu lượng tưới danh nghĩa.
b. Loại đồng đều B: ống tưới có độ đồng đều về lưu lượng tưới thấp hơn và độ lệch cao hơn so với lưu lượng tưới danh nghĩa.
Ghi chú 1 Yêu cầu cho mỗi loại được qui định ở mục 9.1& 9.2.
4.2. Thời gian sử dụng:
Có 2 loại thời gian sử dụng được phân ra như sau:
a) Loại ống tưới không thể sử dụng lại
b) Loại ống tưới có thể sử dụng lại.
4.3. Cách thức vận hành:
Có hai cách vận hành được phân ra như sau:
a) Ống tưới không điều chỉnh được;
b) Ống tưới điều chỉnh được.
5. Đặt tên:
Các ống tưới phải được đặt tên theo các yêu cầu dưới đây:
a) Các từ “ống tưới”;
b) Tên tiêu chuẩn áp dụng;
c) Đường kính danh nghĩa;
d) Lưu lượng danh nghĩa, tính bằng l/h;
e) Áp suất làm việc cực đại là bội số của100 kPa;
f) Loại đồng đều.
Ví dụ: Một ống tưới tuân theo tiêu chuẩn này có đường kính danh nghĩa bằng 16mm, lưu lượng 2 l/h, dự định vận hành với áp suất lên tới trị số cực đại là 120 kPa và phù hợp với loại đồng đều A, thì được đặt tên như sau:
Ống tưới 10 TCN… 16 – 2- 1,2 – A
6. Ghi nhãn mác:
6.1. Ống tưới:
Mỗi ống tưới phải mang các nhãn hiệu rõ ràng và bền chắc gồm các nội dung sau:
a) Tên của nhà chế tạo hoặc nhãn hiệu được đăng ký;
b) Nhãn hiệu thống nhất với năm chế tạo;
c) Đặt tên theo điều mục 5;
d) Mũi tên chỉ hướng dòng chảy (Nếu hướng dòng chảy có ảnh hưởng đến việc vận hành ống tưới).
Các nội dung này phải được làm dấu ở các khoảng cách nhau không quá 5m.
6.2. Các phụ kiện (của ống tưới):
Các phụ kiện của ống tưới phải mang các nhãn hiệu rõ ràng và bền chắc gồm các nội dung sau :
Tên nhà chế tạo, hoặc nhãn hiệu được đăng kí.
6.3. Bao gói các ống tưới:
Khi các ống tưới được cấp theo cuộn, thì mỗi cuộn phải được gắn một thẻ ghi các thông báo rõ ràng, dễ đọc, và bền chắc:
a) Tên và địa chỉ nhà chế tạo;
b) Đặt tên và đánh số danh mục của trang bị phụ;
c) Đường kính danh nghĩa của ống tưới;
d) Phân loại theo điều 4.1, 4.2, 4.3;
e) Chiều dài cuộn ống tưới;
f) Năm sản xuất và lô chế tạo;
g) Lưu lượng danh nghĩa của ống tưới một đơn vị và áp suất danh nghĩa;
h) Khoảng cách của các đơn vị tưới;
6.4. Bao gói các phụ kiện (trang bị phụ):
Các trang bị phụ phải được cung cấp dưới dạng kiện hàng, mỗi kiện có ghi các thông tin rõ ràng, dễ đọc và bền chắc sau:
a. Tên và địa chỉ nhà chế tạo;
b. Số danh mục của trang bị phụ;
c. Đường kính danh nghĩa của ống tưới và nếu có thể, phải ghi lại cả đường kính danh nghĩa của ống tưới nhánh hoặc kích thước danh nghĩa của ren
d. Năm sản xuất và lô chế tạo.
7. Kết cấu và vật liệu:
7.1. Các yêu cầu chung:
Ống tưới, các chi tiết và các trang bị phụ của nó không được có các khuyết tật do chế tạo có hại cho sự vận hành của ống tưới.
Kết cấu của ống tưới và các trang bị phụ cho phép nối ghép chúng dễ dàng, dù có hay không có các đai kẹp, dù nối bằng tay hay bằng các dụng cụ phù hợp do nhà chế tạo cung cấp.
7.2. Kích thước:
7.2.1. Nhà chế tạo phải qui định đường kính trong và chiều dày thành ống, và kích thước thực của sản phẩm phải tuân theo những điều đã qui định ở mục 9.3.
7.2.2. Kích thước của các phụ kiện nối phải vừa với kích thước của ống tưới, để bảo đảm nối ghép dễ dàng và tin cậy.
7.2.3. Các ống tưới có cùng cấp, nhưng khác nhau về đường kính trong, do cùng một nhà chế tạo sản xuất, có đường kính chênh nhau quá 2mm, phải được ghi nhãn theo cấp kích thước khác.
7.3. Vật liệu:
Vật liệu chế tạo ống và các phụ kiện của chúng phải chịu được tác dụng của phân bón và hoá chất thường dùng để tưới, và phải phù hợp khi sử dụng với nước ở nhiệt độ lên tới 600C và áp suất qui định cho ống tưới.
Vật liệu, dù để lâu bao nhiêu, cũng không tạo điều kiện cho sự phát triển của tảo và vi khuẩn. Các chi tiết của ống tưới, bị phơi dưới ánh sáng mặt trời, phải là loại vật liệu mờ đục và được bảo vệ khỏi bị thoái hoá do tia tử ngoại chiếu vào.
7.4. Các phụ kiện của ống:
Nhà chế tạo phải cung cấp cho mỗi kiểu và mỗi cỡ ống tưới, các phụ kiện phù hợp về kích thước và hình dạng để ghép nối vào ống tưới được tốt.
Việc ghép nối, được thực hiện khi có hay không dùng đai kẹp, phải đủ bền để chịu được toàn bộ dải áp suất làm việc.
Các phương tiện để kẹp như đai và vít, phải là loại vật liệu không ăn mòn, hoặc bằng các vật liệu không bị ăn mòn.
8. Các mẫu thử và điều kiện thử:
8.1. Các mẫu thử:
Người đại diện của phòng thử phải lấy ngẫu nhiên các mẫu thử trong một lô có ít nhất 500 đơn vị tưới. Không được chọn các mẫu thử trong số các đoạn liền kề nhau của ống. Một mẫu thử phải bao gồm ít nhất 5 đơn vị tưới liền kề, và tổng số các mẫu thử phải gồm ít nhất 25 đơn vị tưới. Số đơn vị tưới yêu cầu cho mỗi lần thử được chỉ rõ ở các mục thích hợp.
8.2. Trình tự thử:
Tất cả các phép thử phải được tiến hành theo trình tự đã nêu ở mục 9. Tất cả các phép thử bắt đầu từ mục 9.2 phải được thực hiện trên các mẫu đã thử theo mục 9.1
8.3. Các điều kiện để thử:
Nếu không có qui định khác, tất cả các phép thử phải được tiến hành ở nhiệt độ bằng nhiệt độ môi trường và ở nhiệt độ nước bằng 230C ± 10C. Nước dùng phải được lọc qua bộ lọc có lỗ với kích thước danh nghĩa bằng 75-100 m m (có 160-200 mắt lưới), hoặc theo yêu cầu của nhà chế tạo.
8.4. Độ chính xác của thiết bị đo:
Phải đo áp suất nước với sai số không vượt quá 2% của giá trị đo thực;
Suốt trong quá trình thử, áp suất nước không được thay đổi quá 2%;
Lưu lượng của ống tưới phải được đo với sai số không vượt quá ± 2% lưu lượng đo thực.
9. Phương pháp thử và yêu cầu thử:
9.1. Độ đồng đều của lưu lượng tưới:
9.1.1. Quy định chung:
Phép thử này áp dụng cho các ống tưới điều chỉnh được và ống tưới không điều chỉnh. được Mẫu thử phải gồm ít nhất 25 đơn vị tưới theo yêu cầu nêu ở mục 8.1.
9.1.2. Ống tưới không điều chỉnh được:
Đo lưu lượng tưới của các đơn vị tưới trong ống tưới khi áp suất nước ở các cửa nhận nước của các đơn vị tưới bằng áp suất thử danh nghĩa. Ghi lại từng lưu lượng đo được của mỗi cửa xả.
Tính hệ số biến thiên Cv theo công thức sau đây:

Trong đó:
Sq Độ lệch chuẩn của lưu lượng của lô mẫu
q Lưu lượng tưới trung bình của lô mẫu
Các yêu cầu sau đây phải được đáp ứng:
a. Lưu lượng tưới trung bình của lô mẫu thử không được lệch so với lưu lượng tưới danh nghĩa qn quá 5% cho loại A, hoặc quá 10% cho loại B.
b. Hệ số biến thiên, Cv , của lưu lượng tưới của mẫu thử không được vượt quá 5% cho loại A. và cũng không vượt quá 10% cho loại B.
9.1.3. Các ống tưới điều chỉnh được
Kiểm tra các đơn vị tưới được đặt trong lô mẫu để thử bằng cách cho các đơn vị tưới làm việc ít nhất một giờ, khi áp suất ở cửa vào của đơn vị tưới bằng với áp suất ở giữa vùng áp suất làm việc. Khi bắt đầu kiểm tra qui cách sản phẩm, phải cho các đơn vị tưới làm việc ba lần với áp suất xấp xỉ áp suất Pmax và ba lần với áp xuất xấp xỉ áp suất Pmin. Mỗi lần cho làm việc, phải duy trì áp suất thử trong 3 phút. Suốt trong 10 phút kiểm tra cuối, áp suất thử phải được giữ ở điểm chính giữa vùng áp suất điều chỉnh.
Ngay sau đó, thử các đơn vị tưới theo mục 9.1.2 nhưng giữ áp suất ở điểm chính giữa vùng điều chỉnh và không được thay đổi áp suất ở cửa nhận nước.
Các đơn vị tưới phải tuân theo các yêu cầu ở mục 9.1.2.
9.2. Lưu lượng tưới của đơn vị tưới là hàm số của áp suất ở cửa nhận nước:
Các phép thử để xác định lưu lượng tưới là một hàm số của áp suất phải được tiến hành liên tục theo mục 9.1.2.
9.2.1. Lựa chọn các mẫu thử:
Đánh số các đơn vị tưới đã thử theo mục 9.1 theo thứ tự tăng lên của lưu lượng tưới, với N01 là ống tưới có lưu lượng thấp nhất và N0 25 là ống tưới có lưu lượng tưới cao nhất.
Lấy 4 đơn vị tưới trong số các đơn vị tưới trên: N0s: 3,12,13, 23 -và đo sự thay đổi lưu lượng của chúng như là hàm số của áp suất ở cửa nhận nước (của đơn vị tưới).
Thử mỗi đơn vị tưới theo các mức áp suất, mỗi mức không quá 50 kPa, từ áp suất bằng không tới 1,2 Pmax. Phải thử các đơn vị tưới điều chỉnh được ở 3 hoặc nhiều hơn 3 mức áp suất khác nhau nằm trong vùng điều chỉnh khi tăng và giảm áp suất ở cửa nhận nước. Phải đọc các kết quả thử sau ít nhất 3 phút kể từ khi áp suất đạt đến áp suất thử.
Nếu áp suất ở cửa nhận nước vượt quá áp suất yêu cầu 10 kPa suốt trong quá trình tăng và giảm áp suất, phải trả về điểm áp suất không và nhắc lại phép thử.
9.2.2. Ống tưới không điều chỉnh được:
Tính lưu lượng tưới trung bình, q, cho mỗi mức áp suất ở cửa nhận nước, bằng cách đo lưu lượng tưới của 4 đơn vị tưới khi tăng áp suất lên.
Vẽ đồ thị q theo hàm số của áp suất ở cửa nhận nước.
Đường cong q phải phù hợp với đường cong được trình bày trong các tài liệu của nhà chế tạo, với độ lệch cho phép không được vượt quá ± 5% cho loại A hoặc vượt quá ± 10% cho loại B.
9.2.3. Ống tưới điều chỉnh được:
Tính lưu lượng tưới trung bình, q, cho mỗi mức áp suất, p, ở cửa nhận nước bằng cách đo lưu lượng tưới trung bình của 4 đơn vị tưới vào lúc áp suất tăng lên và giảm xuống (trị số trung bình của 8 lần đo lưu lượng tưới).
Giá trị của q không được lệch so với giá trị danh nghĩa quá 5% cho loại A, hoặc quá 10% cho loại B.
9.3. Kích thước:
9.3.1. Bề dày thành ống tưới:
Đo bề dày thành ống tại 4 điểm cách đều nhau trên chu vi ống. Nhắc lại phép đo trên hai mặt cắt.Trường hợp một phần thành ống dầy hơn so với thiết kế (ví dụ có gờ ở trong ống tưới) thì việc tăng chiều dầy như vậy là không đáng kể.
Chiều dầy thành ống tưới khi đo tại một trong bốn điểm phải không được nhỏ hơn 90% chiều dầy của thành ống đã qui định.
9.3.2. Đường kính trong của ống tưới:
Để đo đường kính trong của ống tưới, cần lồng một chi tiết hình côn (góc ở đỉnh không lớn hơn 100) vào đầu ống tưới, chú ý không được làm tăng đường kính ống. Đánh dấu lên hình côn một vòng tròn sát đầu ống và đo đường kính của vòng tròn đó. Đường kính trong đo được không được lệch quá ± 0,3mm so với đường kính qui định.
9.3.3. Đường dẫn trong đơn vị tưới :
Đo kích thước nhỏ nhất của đường dẫn ở ít nhất ba đơn vị tưới trong điều kiện không có áp suất (việc đo này không áp dụng cho kích thước thay đổi theo áp suất).
Kích thước đường dẫn nhỏ nhất đo được không nhỏ hơn kích thước do nhà chế tạo quy định.
9.3.4. Khoảng cách giữa các đơn vị tưới:
Đo ba khoảng của các đơn vị tưới với độ chính xác xấp xỉ 1,0 mm.
Khoảng cách giữa các đơn vị tưới không được lệch quá 5% so với khoảng cách do nhà chế tạo qui định.
9.4. Độ bền đối với áp suất thuỷ tĩnh:
9.4.1. Độ bền đối với áp suất thủy tĩnh ở nhiệt độ bằng nhiệt độ môi trường:
Tiến hành thử trên chiều dài ống tưới gồm năm đơn vị tưới nối nối tiếp với nhau.
Thực hiện phép thử theo hai giai đoạn (9.4.1.1 & 9.4.1.2)
9.4.1.1. Nối cụm ống tưới đến nguồn nước bằng một cút nối ở cửa nhận nước, và bịt kín cửa xả. Đổ đầy nước vào cụm ống tưới, và kiểm tra sao cho không còn không khí sót lại trong ống. Tăng dần áp suất nước (ít nhất trong 10s) đến áp suất bằng 1,2 áp suất làm việc cực đại cho loại ống tưới không thể dùng lại, hoặc bằng 1,8 áp suất làm việc cực đại cho loại ống tưới có thể dùng lại, và giữ áp suất thử trong một giờ.
Cụm ống tưới phải chịu được áp suất thử mà không có các dấu hiệu hư hại ở ống tưới, ở các đơn vị tưới hoặc ở các phụ kiện nối. Các đoạn ống tưới một đơn vị đã ghép nối không bị kéo rời nhau, và không có rò rỉ tại đầu cút nối, chỗ cửa nhận nước. Sự rò rỉ không vượt quá lưu lượng tưới cho phép của một đơn vị tưới ở các chỗ nối nối tiếp.
9.4.1.2. Giảm áp suất thử tới áp suất danh nghĩa và giữ ít nhất trong 3 phút. Đo lưu lượng của mỗi đơn vị tưới.
Lưu lượng của mỗi đơn vị tưới không được lệch quá 10% so với lưu lượng đo được ban đầu ở mục 9.1.
9.4.2. Độ bền đối với áp suất thuỷ tĩnh khi nhiệt độ tăng cao:
Tiến hành thử trên chiều dài ống tưới gồm ba đơn vị tưới nối nối tiếp với nhau.
9.4.2.1. Nối cụm ống tưới với nguồn nước bằng một cút nối ở cửa nhận nước và bịt kín cửa xả. Đổ đầy nước vào ống tưới, và kiểm tra sao cho không còn không khí sót lại trong ống. Tăng dần áp suất nước (ít nhất trong 10s) đến áp suất cực đại và giữ áp suất đó trong 24 giờ cho loại ống tưới không thể dùng lại hoặc 48 giờ cho ống tưới có thể dùng lại, trong khi đó ống tưới được nhúng vào nước ở nhiệt độ 600C ± 20C.
Ống tưới chịu được áp suất thử mà không có dấu hiệu hư hại.
9.4.2.2. Lấy cụm ống tưới đã thử ra khỏi nước và để nó ở nhiệt độ môi trường trong 30 phút. Tác động một áp suất thuỷ tĩnh, Pn, ít nhất trong 3 phút ở nhiệt độ môi trường và đo lưu lượng của từng ống tưới.
Lưu lượng của mỗi đơn vị tưới không được lệch quá 10% so với lưu lượng ban đầu như đã đo ở mục 9.1.
9.5. Độ bền chịu kéo khi nhiệt độ tăng cao:
Thực hiện phép thử trên năm đơn vị tưới ở nhiệt độ 500C ± 20C.
Nếu ống tưới không thể dùng lại, đánh dấu hai đường thẳng cách nhau khoảng 150mm trên ống tưới một đơn vị. Kẹp mỗi ống tưới một đơn vị vào giá kẹp của máy thử kéo và tăng dần lực kéo (trong 20 đến 30s) đặt lên ống tưới đó đến:
– 160N cho loại ống tưới không thể dùng lại [xem mục 4.1.a)];
– 180N cho loại ống tưới có thể dùng lại [xem mục 4.1.b)].
Giữ lực kéo trong thời gian 15 phút, sau đó nhả ra và cho phép làm mát ống tưới một đơn vị đến nhiệt độ bằng nhiệt độ môi trường.
Các ống tưới không thể dùng lại phải chịu được lực thử kéo mà không bị vỡ hoặc bị rách.
Các ống tưới có thể dùng lại phải chịu được lực thử kéo mà không bị vỡ hoặc bị rách, lưu lượng danh nghĩa trong mẫu thử không được thay đổi quá 5% so với lưu lượng đo trước khi thử, và khoảng cách giữa hai đường vạch đánh dấu không được thay đổi quá 5% so với khoảng cách đo được theo mục 9.1.
9.6. Độ bền chịu kéo của các chỗ nối giữa các đầu nối và các ống tưới có thể dùng lại:
Phương pháp thử và thiết bị thử được sử dụng phải theo qui định ở ISO 3501, nhưng lực thử kéo phải là 180N và giữ trong 1 giờ.
Đầu nối không bị kéo rời khỏi ống tưới.
9.7. Độ bền của ống tưới poliêtilen (PE) đối với ứng suất làm rạn nứt của môi trường:
Phép thử và các yêu cầu thử phải theo qui định của ISO 8796 (phụ lục B hình 1và2).
9.8. Xác định số mũ của áp suất cho một đơn vị tưới:
Việc xác định này chỉ áp dụng cho các đơn vị tưới điều chỉnh được.
Mối tương quan giữa lưu lượng, q, tính bằng lít trong một giờ, và áp suất ở cửa nhận nước p, trong một đơn vị tưới, tính bằng kilôpascal, cho bằng phương trình sau:
q ≈ k. pm
Trong đó:
K Hằng số
m Số mũ của áp suất của đơn vị tưới.
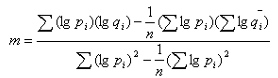
Sử dụng tất cả các giá trị q và p trong mục 9.2.3, tính số mũ m theo công thức sau:

Trong đó:
i Các số 1,2,3…n
n Giá trị áp suất được sử dụng ở mục 9, 2, 3
q Lưu lượng trung bình, tính bằng l/h
p Ap suất ở cửa nhận nước, tính bằng kPa.
Trị số của số mũ của áp suất trong đơn vị tưới m không được vượt quá 0,2
10. Tài liệu do nhà chế tạo cấp:
Nhà chế tạo phải thoả mãn yêu cầu của người tiêu dùng về các phụ kiện nối ống, các danh mục thiết bị, hoặc các tờ thông báo gồm các dữ liệu sau:
a) Số danh mục ống tưới và phụ kiện;
b) Kiểu phụ kiện để nối ống tưới đến mạng cung cấp, hoặc trang bị phụ;
c) Các tờ chỉ dẫn để vận hành ống tưới cho đúng, các tờ chỉ dẫn này phải được ghi ngày tháng;
d) Các từ “Loại đồng đều A” hoặc “Loại đồng đều B” có thể áp dụng, bao gồm các giá trị thích hợp cho ở bảng 1;
e) Các chi tiết về các phụ kiện phù hợp (bao gồm số mã ghi ở trên mỗi phụ kiện) dùng cho các trường hợp khác nhau;
f) Chỉ dẫn về lắp đặt ống tưới và phụ kiện;
g) Lưu lượng tưới danh nghĩa của ống tưới một đơn vị;
h) Đường kính trong của ống tưới;
i) Chiều dày ống tưới;
j) Vùng áp suất làm việc của ống tưới;
k) Phân loại ống tưới;
l) Đặc tính vận hành của ống tưới (xem mục 9.2);
m) Giới hạn sử dụng của ống tưới (phân bón, hoá chất…);
n) Vùng điều chỉnh (nếu có);
0) Yêu cầu lọc;
p) Khoảng cách giữa các đơn vị tưới trong ống tưới;
q) Bán kính nhỏ nhất theo yêu cầu để cuộn ống tưới;
r) Những yêu cầu về bảo dưỡng và bảo quản;
s) Áp suất thử danh nghĩa;
t) Kích thước nhỏ nhất của đường dẫn trong ống tưới.
Bảng 1 – Giá trị đồng đều (theo mục 9.1)
|
Loại đồng đều |
Thông số |
|
|
Độ lệch của lưu lượng trung bình q so với qn max % |
Hệ số biến thiên Cv max % |
|
|
A B |
± 5 ± 10 |
± 5 ± 10 |
PHỤ LỤC A
CÁC CHỖ GHÉP NỐI GIỮA PHỤ KIỆN MÁY VÀ ỐNG CHỊU ÁP SUẤT POLYETYLEN (PE) THỬ CHỊU KÉO.
1. Phạm vi và lĩnh vực áp dụng:
Tiêu chuẩn này quy định phương pháp kiểm tra khả năng nối của các mối ghép nối (không kể các chỗ nối hàn nóng chảy) giữa các đầu nối và ống poliêtylen (PE) chịu ứng suất căng dọc trục.
Phép thử có thể áp dụng để nối ống poliêtylen và áp dụng cho ống có đường kính danh nghĩa nhỏ hơn và bằng 63mm (2,480 in).
2. Nguyên tắc: Kiểm tra khả năng nối ghép để chịu được ứng suất kéo dọc trục.
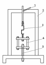
3. Thiết bị thử:
Thiết bị đo ứng suất (tensometer): Có khả năng giữ mẫu với ứng suất dọc trục không đổi tới trị số bằng trị số danh nghĩa. Lực tính được có thể tác động lên mẫu thử bằng khâu đo điện qua cặp bánh răng côn truyền lực (nhờ tay quay) đến khung kẹp để kẹp mẫu thử. Khâu đo điện đã được hiệu chuẩn trước. Tín hiệu điện từ khâu đo lực (được cung cấp từ nguồn cung cấp chuẩn), được chuyền qua thiết bị đo, và chỉ thị tương ứng với lực đã cho (H1).
4. Mẫu thử:
Mẫu thử gồm có đầu nối đã được lắp sẵn để thử, có một hoặc nhiều đoạn ống (PE) có kích thước và chất lượng theo yêu cầu để lắp ráp theo thiết kế.
Mỗi đoạn ống dài ít nhất 300 mm (12in). Việc lắp ráp các chỗ nối phải được thực hiện theo thực tế, hoặc tiêu chuẩn riêng.
5. Phương pháp thử:
Từ kích thước của ống, tính tiết diện thành ống, và từ số liệu, tính lực (K) cần để tạo ra ứng suất dọc trục bằng 1,5 lần ứng suất làm việc cực đại cho phép của vật liệu chế tạo ống theo công thức sau đây:

Trong đó:
st Ứng suất cho phép đối với ống PE khảo sát;
de Đường kính ngoài danh nghĩa của ống;
d Đường kính trong của ống.
Nhiệt độ thử sẽ phải là 20 ± 20C. Kẹp mẫu thử vào thiết bị thử, tác động một lực dần dần theo tính toán
6. Báo cáo thử:
Báo cáo thử phải đề cập đến tiêu chuẩn quốc tế (phụ lục A ISO 3501) và phải chỉ ra:
– Lực theo tính toán
– Chỗ nối có bị bong ra hay không
Chỗ nối sẽ được coi là thoả mãn nếu suốt quá trình thử, ống không bị kéo rời khỏi đầu nối.

Hình 1: Giá thử kéo
1: Tay quay và cặp bánh răng nón
2: Khung thử
3: Đầu đo được nối với thiết bị chỉ thị
4: Giá đỡ động
5: Mẫu thử kéo
PHỤ LỤC B
1. Phương pháp thử:
1.1. Thuốc thử:
Chất tác nhân kiểu nonylphenoxypolifethanol không bị pha loãng, có tác động lên bề mặt vết thử, đựơc đựng trong một thùng kín, và dùng khi còn mới cho mỗi lần thử. Nếu dùng trong bể, thuốc thử phải được thay một tuần một lần do tính chất hút ẩm của nó.
1.2. Thiết bị thử:
Lò điều chuyển không khí cưỡng bức, duy trì ở nhiệt độ ở 400C ± 20C, có khả năng tái lập nhiệt độ đó trong 5 phút sau khi lồng vào các đoạn ống thử.
Ghi chú Một thùng có nhiệt độ không đổi có thể được dùng để thay thế cho lò, với điều kiện là lò có nhiệt dung như qui định với lò điều chuyển đã nêu.
1.3. Các đoạn ống để thử:
Lấy 5 đoạn ống thích hợp từ các cuộn ống khác nhau, có các đoạn để thử. Mỗi đoạn có chiều dài 20d (d= đường kính danh nghĩa của ống)
Ghi chú Cũng có thể dùng các đoạn ngắn hơn, nhưng không tiện lợi. Các đoạn ống này ngay từ đầu không có bất kỳ rạn nứt nào.
1.4. Phương pháp thử:
1.4.1. Uốn gập đoạn ống thử tại hai vị trí, tạo thành hai chỗ uốn hình chữ U, theo hai mặt phẳng vuông góc với nhau (xem hình 2).
Các chỗ uốn phải cách các đầu của đoạn thử ít nhất 3d. Mỗi chỗ uốn được gập lại phía sau 1800, tới khi nếp gấp của hai cạnh trùng nhau, sau đó kẹp nó một cách hợp lý để duy trì độ biến dạng sau khi thử (xem hình 2).
1.4.2. Phủ hoàn toàn mỗi chỗ uốn bằng một chất thử, (ví dụ bằng cách trải hoặc nhúng), và sau đó đặt tất cả các đoạn thử vào trong lò (hoặc dìm chúng vào trong bể). Chú ý không đặt bất kỳ một ứng suất phụ nào lên chúng.
1.4.3. Sau 60 phút kể từ khi nhiệt độ lò (bể) trả về 700C ± 20C, lấy tất cả các đoạn thử và lau hết thuốc thử ở các chỗ uốn.
1.4.4. Qua kiểm tra bằng mắt các chỗ uốn (không có phương tiện phụ) đối với các rạn nứt nhìn thấy bất kỳ phát sinh tại các tiết diện gập.
1.5. Trình bày các kết quả thử:
Phân loại theo mỗi đoạn uốn bị “hỏng” có ít nhất một chỗ rạn nứt có thể nhìn thấy (không kể bất kỳ vết nứt sinh ra do buộc chỗ uốn).
Ghi chú tổng số các chỗ uốn bị hỏng theo các định nghĩa ở trên, đồng thời đánh giá và đếm hai chỗ uốn của mỗi đoạn thử riêng rẽ.
2. Thử lại:
Nếu như có một chỗ uốn bị hỏng trong khi chín chỗ uốn khác còn nguyên, thì hãy lặp lại phép thử với toàn bộ chương trình thử cho năm đoạn thử khác (có nghĩa là mười chỗ uốn).
3. Yêu cầu:
Một ống được xem là đã đạt được chất lượng thử, nếu không quá 10% các chỗ uốn đã được thử (nghĩa là từ 0 trong 10 chỗ hoặc lớn nhất là 2 trong số 20 chỗ uốn bị hỏng).

Hình 1- ống PE nối tiếp
a) Mẫu trước khi uốn

b) Mẫu sau khi uốn (sẵn sàng để thử)

Hình 2- Chuẩn bị các chỗ uốn chữ U


