Nội dung toàn văn Tiêu chuẩn ngành 14 TCN 83:1991 về quy trình xác định độ thấm nước của đá bằng phương pháp thí nghiệm ép nước vào hố khoan
TIÊU CHUẨN NGÀNH
14 TCN 83:1991
QUY TRÌNH
XÁC ĐỊNH ĐỘ THẤM NƯỚC CỦA ĐÁ
BẰNG PHƯƠNG PHÁP THÍ NGHIỆM
ÉP NƯỚC VÀO HỐ KHOAN
Quy trình thí nghiệm ép nước này nêu các điều kiện kỹ thuật, hướng dẫn trình tự tiến hành công việc về:
– Thí nghiệm ép nước trong hố khoan để nghiên cứu xác định độ thấm nước của nền đá (đá cứng, đá mềm yếu…) và thân công trình bằng bê tông, đá xây.
– Thí nghiệm ép nước trong hố khoan để xác định mức độ xói rửa chất nhét trong đá nền.
QUY ĐỊNH CHUNG
Trong xây dựng thuỷ công việc nghiên cứu tính thấm nước của nền và thân công trình là một trong các nhiệm vụ thương xuyên và có tính chất bắt buộc.
Khi khảo sát địa chất công trình cho xây dựng thuỷ công, cần phải tiến hành các thí nghiệm thấm khác nhau ở hiện trường khác nhau, trong đó phổ biến nhất là thí nghiệm ép nước. Việc thí nghiệm ép nước (TNEN) để nghiên cứu và xác định tính thấm nước của đá1 đối với công trình thuỷ lợi phải tiến hành theo quy trình này; bao gồm: phương pháp thí nghiệm, phạm vi ứng dụng, kết cấu hố khoan, trang thiết bị thí nghiệm, trình tự tiến hành thí nghiệm.
Chương 1
PHƯƠNG PHÁP THÍ NGHIỆM ÉP NƯỚC VÀ PHẠM VI ÁP DỤNG
1.1. Phạm vi áp dụng phương pháp
1.1.1. Phương pháp nghiên cứu này nhằm chỉ ra các vùng, đới có mức độ thấm nước khác nhau, các biến dạng thấm có thể xảy ra dưới tác dụng của dòng thấm ở nền và thân công trình, và từ đó chọn các biện pháp chống thấm thích hợp khi cần thiết hoặc ấn định các giải pháp sửa chữa khi công trình bị các hư hỏng nhất định.
1.1.2. Thí nghiệm ép nước được áp dụng cho môi trường cứng: đá, bê tông, đá xây, trong nhiều điều kiện địa chất khác nhau: môi trường bão hòa hoặc không bão hòa nước, với nhiều độ sâu khác nhau dưới mặt đất, nhằm nghiên cứu độ thấm nước của nền đá, thân công trình và các biến dạng thấm ở nền (xói rửa chất nhét yếu trong khe nứt, các dải đá yếu; sự ứ tắc…) khi nền, thân công trình chịu tác dụng cột nước đủ lớn.
1.2. Yêu cầu đối với hố khoan thí nghiệm
1.2.1. Các hố khoan dùng để tiến hành các TNEN bắt buộc phải khoan có rửa bằng nước sạch để mùn khoan không hoặc rất ít trám bít vách lỗ khoan.
1.2.1.1. Việc khoan có bơm nước rửa phải thực hiện bằng phương pháp rửa tuần hoàn [12]: nước rửa được đẩy mạnh tới đáy hố khoan và cuốn theo mùn khoan trở lên miệng hố khoan.
1.2.1.2. Trong quá trình khoan có rửa phải quan trắc các đặc điểm, lưu lượng nước trở lại trong hố khoan. Trong trường hợp nước rửa bị tiêu hao, cần đánh giá rõ: Tỷ lệ phần trăm nước bị mất so với lượng nước đã đùng (hoặc mất từng phần, hoặc mất toàn bộ…)
1.2.1.3. Khi khoan tới độ sâu cần tiến hành TNEN thì ngừng khoan, nâng bộ khoan khỏi hố khoan để tiến hành các công việc cần thiết cho thí nghiệm.
1.2.2. Rửa hố khoan: cần phải rửa hố khoan trước khi TNEN, vì do quá trình khoan có bơm nước rửa nhưng vẫn còn khá nhiều mùn khoan còn lại ở đáy hoặc bám trên vách hố khoan, nhất là khi khoan vào đá yếu, các đới đá phong hóa.
1.2.2.1. Để rửa hố khoan, phải dùng nước trong không chứa phù sa lơ lửng. Trong trường hợp không có nước trong tại nơi làm việc, phải làm trong nước trước khi đưa nó vào hố khoan. Cũng có thể rửa (thổi) bằng khí nén.
1.2.2.2. Việc rửa hố khoan cũng thực hiện theo phương pháp tuần hoàn (l.2.l.l). Đầu dưới của ống dẫn nước phải hạ tới cách đáy hố khoan 10 đến 20 cm. Trong đá yếu (đá nửa cứng) phải cọ vách hố khoan bằng “bàn chải” chuyên dùng, rồi mới tiến hành rửa. Trong đá chứa nước, nếu điều kiện cho phép, có thể “rửa” bằng hút nước (múc nước) từ hố khoan lên.
1.2.2.3. Hố khoan coi là rửa sạch khi nước trào lên miệng hố khoan đã trong.
1.2.2.4. Khi rửa hố khoan, nước bị tiêu mất, cũng cần ghi chép như ở 1.2.1.2.
1.3. Các sơ đồ thí nghiệm ép nước
TNEN được tiến hành theo các sơ đồ sau: thí nghiệm phân đoạn từ trên xuống hoặc từ dưới lên; thí nghiệm tổng hợp từng phần hố khoan (bao gồm một số đoạn) hoặc toàn bộ chiều dài hố khoan.
1.3.1. Thí nghiệm ép nước phân đoạn được áp dụng rộng rãi nhất và là yêu cầu bắt buộc vì:
– Nó cho phép hạn định độ sâu cần nghiên cứu đối với từng hố khoan trong quá trình khoan và thí nghiệm. Thông thường, riêng tính thấm nước, nếu ở nền công trình có hai đoạn thí nghiệm liên tiếp nằm trong đới thực tế không thấm nước (xem phụ lục 4) thì có thể kết thúc hố khoan, nếu không có các yêu cầu cần thiết khác.
– Cho phép phân định các đới, dải… trong môi trường nghiên cứu theo mức độ thấm nước khác nhau.
– Trong nhiều trường hợp, môi trường thấm nước mạnh và rất mạnh (đới nứt tăng cao, đá Kactơ hóa mạnh…) các phương tiện cung cấp nước đã dùng có thể không đủ khả năng cấp nước khi đoạn thí nghiệm quá dài, nên phải thí nghiệm phân đoạn.
1.3.1.1. Sơ đồ phân đoạn từ trên xuống (hình 1) là khi khoan tới đáy đoạn thí nghiệm thứ nhất thì ngừng khoan để tiến hành thí nghiệm; sau đó tiếp tục khoan đoạn thứ hai rồi thí nghiệm; cứ như thế tiếp tục cho đến đoạn cuối cùng của hố khoan đã ấn định. Sơ đồ này có các ưu điểm chính sau:
– Hạn chế mùn khoan trám bít vách hố khoan, nhất là khi khoan trong các đá yếu, các đới đá bị phong hoá và khi khe nứt bị nhét các vật liệu sét – cát…
– Phát hiện sớm các đới ít thấm nước để có thể kết thúc hố khoan một cách hợp lý bằng các thí nghiệm trong hố khoan, đo địa vật lý hố khoan, chụp ảnh – truyền hình hố khoan, quan trắc nước dưới đất lâu dài… khi cần thiết.
Hình 1. Sơ đồ phương pháp TNEN phân đoạn từ trên xuống
1. Nút;
2. Hướng nước chảy
Nó có một số nhược điểm sau:
– Kéo dài thời gian thi công hố khoan.
– Mất nhiều lần tháo, lắp và nâng, hạ bộ dụng cụ thí nghiệm.
Quy trình này thừa nhận sơ đồ TNEN phân đoạn từ trên xuống là tiêu chuẩn. Các sơ đồ khác chỉ áp dụng khi các điều kiện phù hợp và cho phép.
1.3.1.2. Sơ đồ phân đoạn từ dưới lên (hình 2): hố khoan được khoan liên tục tới độ sâu cuối cùng đã ấn định. Sau khi rửa hố khoan (1.2.3) sẽ tiến hành thí nghiệm ép nước. Đoạn thứ nhất được giới hạn ở dưới là đáy hố khoan, ở trên là nút. Thí nghiệm xong, lấp đoạn thứ nhất bằng xi măng – cát. Thí nghiệm tiếp đoạn sau: đầu dưới của nó là nút xi măng – cát đã đông cứng, đầu trên là nút. Cứ như thế tiếp dần lên miệng bố khoan. Nếu dùng bộ nút kép thì không phải lấp các đoạn đã thí nghiệm, chỉ cần nâng bộ nút lên trên để thí nghiệm cho đoạn kề trên. Sơ đồ này có một số ưu điểm sau:
– Việc khoan không bị giãn cách bởi các thí nghiệm
– Việc phân định đoạn thí nghiệm đúng đắn và hợp lý hơn.
Nó có các nhược điểm chính sau:
– Vách hố khoan bị trám bít nhiều, nhất là trong đá yếu. Ngoài ra, trong đá chứa nước, vách hố khoan dễ bị trám xi măng khi lấp các đoạn đã thí nghiệm (nếu dùng nút đơn).
– Mất thời gian lấp từng đoạn hố khoan, nhất là thời gian chờ xi măng đông cứng (dùng nút đơn).
– Mất cơ hội dùng lại hố khoan cho các mục đích khác. Nếu tiến hành các thí nghiệm cơ học trước thì vách hố khoan và đá xung quanh nó bị mất “nguyên trạng”.
Chỉ nên áp dụng sơ đồ này khi:
– Khoan trong đá cứng, khe nứt không bị nhét sét – bụi.
– Sử dụng bộ nút kép…
Hình 2. Sơ đồ phương pháp TNEN phân đoạn từ dưới lên
1. Nút;
2. Hướng nước chảy
3. Phần hố khoan đã lấp bằng xi măng – cát
1.3.2. Thí nghiệm tổng hợp cho từng phần hoặc toàn bộ hố khoan. Trong trường hợp thứ nhất hoàn toàn tương tự phương pháp thí nghiệm phân đoạn. Trong trường hợp thứ hai, nút được đặt tại miệng hố khoan hoặc tại bề mặt đá gốc cứng tại hố khoan. Các thí nghiệm này chỉ thực hiện với mục đích kiểm tra và chỉ nên áp dụng đối với đá cứng không chứa chất nhét sét – bụi trong khe nứt, thấm nước yếu, đồng nhất.
1.4. Đoạn thí nghiệm
1.4.1. Phân định đoạn thí nghiệm: Khi phân định đoạn thí nghiệm cần tuân theo các điều kiện sau:
1.4.1.1. Đoạn thí nghiệm phải tương đối đồng nhất về tính thấm nước. Điều này được thực hiện bằng quan sát các nõn lấy được từ hố khoan. Cần dựa vào các đặc điểm của nõn như: thành phần thạch học, mức độ nứt nẻ, Kactơ hóa, rữa lũa, mức độ phong hóa và các đặc điểm khác.
1.4.1.2. Đoạn thí nghiệm phải nằm hoàn toàn trong môi trường chứa nước hoặc không chứa nước.
1.4.1.3. Có thể bỏ qua các điều kiện trên khi nghiên cứu các đới dải đặc biệt như các tiếp xúc, các lớp kẹp mỏng, các đới phá hủy kiến tạo v.v…
1.4.2. Chiều dài đoạn thí nghiệm
1.4.2.1. Trong toàn phạm vi nghiên cứu cho một công trình cần cố gắng phân định các đoạn thí nghiệm có chiều dài bằng nhau. Việc này cho phép so sánh đúng đắn hơn mức độ thấm nước ở các vị trí khác nhau trong phạm vi nghiên cứu.
1.4.2.2. Chiều dài đoạn TNEN tiêu chuẩn là 5m. Trong những trường hợp đặc biệt (đá thấm nước quá yếu hoặc quá mạnh, nghiên cứu các dải đặc biệt…) có thể thí nghiệm với đoạn có chiều dài khác. Trong bất kỳ trường hợp nào cũng phải bảo đảm:
– Chiều dài nhỏ nhất của đoạn thí nghiệm phải lớn hơn năm lần bán kính hố khoan.
– Chiều dài lớn nhất của đoạn thí nghiệm không được lớn hơn 10m.
1.4.2.3. Đối với thân công trình bằng bê tông, đá xây nếu bề dầy công trình bằng 5 đến 10m và hơn nữa, việc phân định các đoạn TNEN theo như 1.4.2.1 và 1.4.2.2.
– Nếu bề dầy công trình nhỏ hơn 5m thì chiều dài đoạn TNEN tối thiểu của nó để có thể TNEN phải lớn hơn 1m và dùng hố khoan có đường kính từ nhỏ trở lên. Khi bề dầy công trình nhỏ hơn 1m phải dùng hố khoan đường kính nhỏ và bộ nút riêng, đồng thời phải bảo đảm yêu cầu của 1.4.2.2.
1.4.3. Đường kính hố khoan ở đoạn thí nghiệm ít ảnh hưởng tới kết quả thí nghiệm. Khi đường kính hố khoan nhỏ hơn 0,25m thì không cần xét ảnh hưởng của nó đến kết quả TNEN.
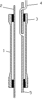
1.5. Nút
Để ngăn cách đoạn thí nghiệm với phần còn lại của hố khoan phải dùng nút: Có hai loại nút đơn và nút kép.
1.5.1. Nút đơn chủ yếu dùng cho sơ đồ thí nghiệm phân đoạn từ trên xuống hoặc từ dưới lên: đoạn thí nghiệm chỉ được giới hạn ở đầu trên bằng nút; còn đầu kia là đáy hồ khoan.
1.5.2. Nút kép: đoạn thí nghiệm được giới hạn bằng nút ở cả hai đầu; sử dụng thích hợp cho sơ đồ phân đoạn. Để tăng độ chính xác của TNEN đă đề nghị phương pháp thí nghiệm dùng bốn nút (xem phụ lục 6).

Hình 3. Sơ đồ ngăn cách đoạn thí nghiệm
a) Dùng nút đơn
b) Dùng nút kép
1. Nút; 2. Ống đục lỗ
1.6. Nước dùng thí nghiệm ép nước
Các kết quả TNEN bị ảnh hưởng nhiều bởi tính chất lý hóa của nước dùng để thí nghiệm.
1.6.1. Nước dùng để thí nghiệm không được chứa phù sa lơ lửng để tránh các hiện tượng bít tắc do các hạt đó gây ra.
1.6.2. Nhiệt độ nước thí nghiệm liên quan tới độ nhớt của nó và do đó ảnh hưởng đến khả năng thấm của nước. Mặt khác khi nhiệt độ nước thay đổi thường tách các bọt khí, cản trở nước thấm trong môi trường nứt hay lỗ rỗng. Vì thế khi TNEN cần cố gắng dùng nước có nhiệt độ xấp xỉ của nước trong đá (trường hợp đoạn thí nghiệm nằm trong đới chứa nước).
1.6.3. Nước có độ khoáng cao từ trên 20 đến 30 g/lít sẽ ảnh hưởng rõ rệt tới tỷ trọng và độ nhớt của nó. Trong TNEN phải đưa vào hiệu chỉnh áp lực cột nước thí nghiệm do ảnh hưởng của tỉ trọng nước khi nó làm thay đổi quá 5% áp lực cột nước thí nghiệm.
1.7. Áp lực thí nghiệm ép nước
1.7.1. Áp lực để TNEN phải đủ lớn để thu được các kết quả thỏa đáng, vì:
– Dưới áp lực thấp, bán kính của nước thấm sẽ nhỏ và kết quả chỉ đặc trưng cho một thể tích nhỏ của môi trường nghiên cứu.
– Khi khoan, đá bị biến đổi ít nhiều, vì thế, khi áp lực thấp (bán kính ảnh hưởng nhỏ) thể tích đá bị biến đổi đó sẽ làm sai lệch kết quả thí nghiệm, không thể xác định được.
– Thực tế khó khống chế áp lực trong quá trình thí nghiệm để luôn giữ áp lực không đổi, với áp lực nhỏ, các thay đổi mực nước trong quá trình thí nghiệm sẽ ảnh hưởng đáng kể tới giá trị áp lực thí nghiệm và do đó ảnh hưởng đến kết quả thí nghiệm.
1.7.2. Khi TNEN để nghiên cứu mức độ thấm của nền đá và thân công trình dùng áp lực tiêu chuẩn bằng 10m cột nước. Nó đảm bảo thu được kết quả thỏa đáng, vì:
– Bán kính ảnh hưởng của thí nghiệm đủ lớn, tới vài mét.
– Quan hệ lưu lượng tiêu hao – áp lực vẫn đảm bảo tính chất tỷ lệ thuận.
– Građien thấm gần bằng građien hút nước thí nghiệm thông thường nên so sánh các kết quả thí nghiệm ép nước và hút nước với nhau.
1.7.3. Khi TNEN để nghiên cứu biến dạng thấm của môi trường sẽ dùng nhiều cấp áp lực, trong đó áp lực lớn nhất là 100m cột nước (hoặc trên 50m cột nước), (xem nục 3.2.3.2).
1.7.4. Thực tế, đối với mỗi đoạn thí nghiệm ở độ sâu nhất định, chỉ có thể chịu tác dụng một áp lực hạn chế, gọi là áp lực lớn nhất; vượt quá nó có thể dẫn đến các hiện tượng trồi hoặc nứt các địa tầng ở trên đoạn thí nghiệm. Để không xảy ra các hiện tượng này, đối với các đoạn thí nghiệm ở độ sâu đã cho, chỉ nên thí nghiệm với áp lực lớn nhất, có thể tham khảo bảng dưới đây:
|
Loại đá ở trên đoạn thí nghiệm |
Áp dụng thí nghiệm giới hạn đối với đoạn thí nghiệm, tính cho 1m bề dầy đá ở trên đoạn thí nghiệm, Kg/cm2 (10m cột nước tương đương 1 kg/cm2) |
|
– Trầm tích chưa cố kết hoặc cố kết kém |
0,115 |
|
– Trầm tích cố kết, phân lớp nằm ngang |
0,175 |
|
– Các đá macma và biến chất rắn chắc |
0,230 |
1.7.5. Đối với thân công trình bằng bê tông, đá xây… áp lực TNEN được dùng bằng áp lực tiêu chuẩn là 10m cột nước. Khi thân công trình không chịu được áp lực tiêu chuẩn đó thì áp lực dùng TNEN phải được ấn định dựa vào trạng thái ứng suất – biến dạng của công trình, bề dầy thân công trình đang tồn tại.
1.8. Chỉ tiêu kết quả thí nghiệm ép nước
1.8.1. Khi TNEN để xác định tính thấm nước dùng áp lực bằng 10m cột nước (hay 1 Kg/cm2) và tính lượng mất nước đơn vị q bằng lưu lượng nước tiêu hao trong 1 phút trên lm chiều dài đoạn thí nghiệm, dưới áp lực 1m cột nước (biểu thị bằng 1/ph/m).
1.8.2. Khi TNEN để nghiên cứu biến dạng thấm, sẽ xác định các chỉ tiêu sau:
1.8.2.1. Lượng mất nước Qo là lưu lượng nước tiêu hao trên 1m đoạn thí nghiệm dưới áp lực cao (100m cột nước) khống chế trong thời gian 10 phút, biểu thị bằng 1/ph/m hoặc uL – đơn vị Lugeon (Luy giông).
1.8.2.2. Lượng mất nước đơn vị (1.8.1) khi thí nghiệm với 10m cột nước, trước và sau khi thí nghiệm với áp lực cao.
1.8.2.3. Biến dạng thấm: Coi là xảy ra biến dạng thấm khi lượng mất nước đơn vị trước và sau khi thí nghiệm với áp lực cao chênh nhau. Nếu lượng mất nước đơn vị tăng lên thì xảy ra xói rửa, ngược lại, nếu giảm đi thì xảy ra ứ tắc.
Trong một số trường hợp, nhất là trong đá vôi Kactơ hóa, với građien thấm lớn hơn hoặc bằng 2 đã xảy ra xói rửa tiến triển [13].
Chương 2
KẾT CẤU HỐ KHOAN VÀ TRANG THIẾT BỊ THÍ NGHIỆM
2.1. Kết cấu hố khoan thí nghiệm
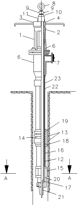
Sơ đồ hố khoan thí nghiệm ép nước được nêu ở hình 4, gồm các bộ phận chính sau: nước từ máy bơm đến, theo hệ thống ống dẫn chịu áp qua ống xả 1, van điều chỉnh 2, lưu lượng kế 3, tới ống ba nhánh 5. Nhánh ngang của ống ba nhánh nối với ống dẫn nước bằng đai ốc vạn năng 4. Nhánh dưới của ống ba nhánh nối với vít kích rỗng 7, trên đó vặn đai ốc kích 10 cùng với tay quay của nó. Vít kích rỗng nối với loạt ống ép 9 thường là các cán khoan, tận cùng bằng ống đục lỗ 8. Tại khớp nối giữa ống ép 9 và ống đục lỗ 8 gắn cố định vòng chặn dưới 14, trên đó đặt nút – các vòng cao su (quả bo) 12 xen kẽ giữa các vòng đệm 13. Đầu trên của nút có vòng chặn trên 15 di chuyển tự do trên ống ép. Loạt ống ngoài 11 đồng trục với loạt ống ép, tựa lên vòng chặn trên, đầu trên của ống ngoài tiếp cận với đai ốc kích qua một vòng bi: Đầu trên của ống ba nhánh gắn với áp kế 6 (khi cần thiết).
Hình 4. Sơ đồ kết cấu hố khoan TNEN
Khi vặn đai ốc kích loạt ống ngoài cố định, toàn bộ bộ dụng cụ – ống ép, nút… di chuyển lên trên, khiến khoảng cách giữa vòng chặn dưới và đai ốc kích bị rút ngắn lại, nhờ đó sẽ tạo nên áp lực dọc theo nút, làm các vòng cao su bị ép theo hướng đó, đồng thời lại giãn nở theo chiều ngang tiến tới áp sát lên vách hố khoan, cuối cùng đoạn thí nghiệm được ngăn cách. Nối bộ dụng cụ với hệ thống cung cấp nước. Nước qua ống ba nhánh, xuống các ống ép, qua các ống đục lỗ vào đoạn thí nghiệm.
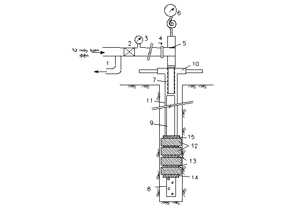
Ở Liên Xô đã đưa vào một số bộ nút dùng cho TNEN, trong đó phổ biến nhất là bộ nút YTD-1 (hình 5). Nó có ưu điểm là: sau khi đã xiết hết sức, nếu cần nén chặt thêm, không cần nới lỏng bộ nút.

Hình 5. Nút YTD – 1
1. Hộp kích (thân kích)
2. Ống kích rỗng (vít kích)
3. Đai ốc kích
4. Đai ốc hãm
5. Cụm nắp bịt (nắp đệm)
6. Ống ba nhánh (ống chạc ba)
7. Nắp
8. Áp kế
9. Van ba nhánh
10. Ống nối
11. Đai ốc nối
12. Ốc nối của nút có rãnh xẻ
13. Các vòng cao su
14. Đệm bằng kim loại
15. Đai ốc kéo di động
16. Ống nối cách
17. Vòng chặn dưới
18. Vòng tựa dưới
19. Vòng tựa trên
20. Vít kéo của kích
21. Ốngf20 mm
22. Ống tựa ngoài
23. Ống kéo trong (cần)
24. Gờ của đai ốc
25. Gờ nhỏ của đai ốc
2.2. Các dụng cụ chính của bộ trang thiết bị thí nghiệm ép nước
2.2.1. Dụng cụ đo lưu lượng: để đo lưu lượng nước trong TNEN thường dùng: thùng đo lưu lượng, lưu lượng kế.
2.2.1.1. Thùng đo lưu lượng là loại thùng có tiết diện ngang không thay đổi theo chiều thẳng đứng: mỗi khoảng chiều cao của nó sẽ ứng với một thể tích nhất định.
Thường dùng thùng hình lập phương mỗi cạnh bằng 1m. Thùng đo lưu lượng chỉ thích dụng cho thí nghiệm trong đá thấm nước vừa đến yếu và khi không có áp lực dư trên miệng hố khoan. Khi thí nghiệm phải đặt đáy thùng ngang hoặc bên trên mức nhánh ngang của ống ba nhánh để nước tự chảy vào hố khoan.
2.2.1.2. Lưu lượng kế (đồng hồ lưu lượng), thường dùng lưu lượng kế kiểu cánh quạt hoặc tua bin, rôtamet.
Lưu lượng kế cánh quạt hoặc tuabin dựa trên nguyên tắc: nước chảy qua chúng làm quay cánh quạt hoặc tuabin; số vòng quay được quy đổi thành tổng lượng nước qua từ khi bắt đầu thí nghiệm, được kim chỉ trên mặt số của lưu lượng kế. Thông thường, chúng chỉ làm việc bình thường với lưu lượng lớn hơn 10 đến 20% lưu lượng đặc trưng (xem phụ lục 8) và nhỏ hơn 70% lưu lượng đặc trưng. Trước khi đưa vào sử dụng các lưu lượng kế mới (hoặc sau khi sửa chữa lau chùi), đều phải tiến hành hiệu chuẩn, đồng thời trong khi sử dụng cũng cần định kỳ hiệu chuẩn. Để tránh các hư hỏng và giảm bớt việc hiệu chuẩn, khi sử dụng các loại lưu lượng kế này cần tuân thủ các điều kiện sau:
– Nước qua lưu lượng kế phải trong.
– Chỉ dùng với các lưu lượng được phép (xem phụ lục 8) áp lực nước phải ổn định; không được thay đổi đột ngột để tránh hiện tượng nước va;
– Bảo vệ lưu lượng kế khỏi các nguyên nhân gây hư hỏng cơ học.
Rôtamet dựa trên nguyên tắc: nước chảy qua sẽ tác dụng lên phao một lực nhất định, đẩy nó tới một vị trí cân bằng mới. Dựa vào đó sẽ xác định được lưu lượng nước chảy qua nó (xem phụ lục 8). Khi sử dụng cũng phải hiệu chuẩn rôtamet như đối với các loại lưu lượng kế.
2.2.2. Dụng cụ đo áp lực cột nước thí nghiệm: tùy theo áp lực cột nước cần thiết, độ sâu đoạn thí nghiệm… sẽ dùng loại dụng cụ đo thích hợp.
2.2.2.1. Khi thí nghiệm không có áp lực dư đáng kể trên miệng hố khoan, phải dùng dụng cụ đo mực nước trong hố khoan, thông dụng nhất là dụng cụ đo mực nước bằng điện (xem phụ lục 8). Ngoài ra có một số dụng cụ đo mực nước khác như dụng cụ đo bằng áp kế, quả chuông nhưng không tiện dùng hoặc không bảo đảm độ chính xác cần thiết.
2.2.2.2. Khi thí nghiệm với áp lực dư đáng kể trên miệng hố khoan dùng áp kế để đo giá trị của áp lực dư này. Tùy theo độ lớn của áp lực dư này, sẽ phải chọn loại áp kế thích hợp (xem phụ lục 8) để bảo đảm sai số của áp lực đo được không lớn hơn 5% giá trị áp suất dư cần đo. Khi sử dụng, phải đảm bảo chế độ làm việc của áp kế như sau:
– Khi áp lực không đổi hoặc thay đổi dần, áp lực đo trên áp kế không được vượt quá 2 phần ba đầu thang chia trên áp kế,
– Khi áp lực giao động mạnh, không được đo các áp lực quá nửa đầu thang chia trên áp kế,
– Khi áp lực thay đổi đều đặn, trong thời gian ngắn có thể đo các áp lực của toàn bộ thang chia trên áp kế;
– Không nên đo áp lực ở một phần tư đầu thang chia trên áp kế vì khi đó sai số lớn hơn sai số cho phép theo cấp độ chính xác của áp kế.
Trong quá trình sử dụng phải định kỳ kiểm tra các áp kế theo các điều kiện tương tự điều kiện định chuẩn của nhà máy sản xuất hoặc theo các áp kế mẫu, có kèm theo giấy chứng nhận đã kiểm tra.
2.2.3. Nút
Để ngăn cách đoạn thí nghiệm thường dùng các loại nút như: các vòng cao su, nút thủy lực (hoặc khí nén)
2.2.3.1. Nút bằng các vòng cao su: Các vòng cao su (hay còn gọi là “quả bo”) là một khối cầu bằng cao su có đường kính hơi nhỏ hơn đường kính hố khoan ở đoạn thí nghiệm. Khối cầu được đục một lỗ hình trụ có trục qua tâm khối cầu và có đường kính hơi lớn hơn đường kính ngoài của loạt ống ép. Một bộ nút thường gồm 7 đến 8 vòng cao su, ngăn cách với nhau bằng các vòng đệm kim loại đủ cứng. Không nên dùng quá nhiều các vòng cao su vì khi đó, các vòng ở giữa có thể không được ép dẫn tới mức cần thiết. Loại nút này rất bền, có thể dùng lại nhiều lần. Tuy nhiên, nó có một số nhược điểm: bắt buộc phải dùng bộ kích khá cồng kềnh, tháo lắp mất nhiều thời gian… Hiện nay loại này vẫn được dùng rộng rãi do dễ sản xuất, dễ sử dụng, bảo quản đơn giản.
2.2.3.2. Nút thủy lực hoặc khí nén. Đó là một buồng hình trụ bằng kim loại gắn chặt lên cột ống ép. Mặt ngoài của nó làm bằng vật liệu dễ đàn hồi, thường là cao su. Khi bơm nước (hoặc chất khí) vào buồng (hình 6), thành chất dẻo bị căng phồng ra và áp sát lên vách hố khoan. Loại nút này có một số ưu điểm sau: gọn nhẹ, khá dễ sử dụng, tháo lắp, nâng hạ đơn giản, không cần bộ kích cơ giới, rất thích dụng khi thí nghiệm phân đoạn từ dưới lên. Nhược điểm chính của loại nút này là: thành chất dẻo dễ bị hư hỏng; phải thường xuyên theo dõi áp lực trong buồng nút để kịp thời phát hiện các hư hỏng của nó.

Hình 6. Sơ hoạ mặt cắt nút bằng thủy lực hoặc khí nén
1. Bầu bằng cao su
2. Ống ép mang nút
3. Đai để xiết chặt đầu nút
4. Ống mềm chịu áp lực
5. Đoạn ống đục lỗ
2.2.4. Tổn thất cột nước do ma sát: khi nước chảy trong cột ống ép, giữa mực nước và thành ống có lực ma sát, làm giảm áp lực nước gọi là tổn thất áp lực cột nước do ma sát. Trong nhiều trường hợp, nó đạt tới giá trị đáng kể, cần xác định để có thể tính đúng áp lực trong đoạn TNEN (xem điểm phụ lục 9).
2.3. Thiết lập bộ thí nghiệm ép nước
Cần xác định chiều dài các loạt ống trong và ống ngoài vừa đủ theo độ sâu đoạn thí nghiệm đã cho để khi lắp ráp xong, áp kế nằm ở độ cao cách mặt đất nơi làm việc một khoảng từ 1 đến l,5m thuận tiện đọc các số liệu. Việc tính toán chiều dài các loạt ống có thể thực hiện theo đẳng thức kép sau:
lo +(0,5 đến 1,5) = ln=le-(0,8 đến 1m),
Trong đó lo– độ sâu từ mặt cắt tại miệng hố khoan tới đầu trên đoạn thí nghiệm (m);
ln – chiều dài loạt ống ngoài (m);
le – chiều dài loạt ống trong, kể cả chiều dài vít – kích rỗng (m)
Trị số trong ngoặc (…) là khoảng cách từ áp kế xuống mặt đất, tùy chọn theo thực tế.
Chương 3
NỘI DUNG VÀ TRÌNH TỰ TIẾN HÀNH THÍ NGHIỆM ÉP NƯỚC
3.1. Trình tự tiến hành thí nghiệm ép nước
Dưới đây nêu trình tự các bước khi tiến hành các TNEN cho một đoạn hố khoan theo sơ đồ phân đoạn từ trên xuống. Ở đây chủ yếu nêu tên công việc. Các yêu cầu kỹ thuật đối với một số công việc chính đã nêu ở chương 1 – Phương pháp TNEN.
1. Khoan đoạn hố khoan thí nghiệm. Rửa hố khoan.
2. Hạ ống chống (ống chèn) tới đáy hố khi vách hố khoan kém ổn định. Khi vách hố khoan tốt thì không cần hạ ống chống.
3. Do độ sâu hố khoan.
4. Múc hết nước trong hố khoan. Đối với đoạn nằm trong tầng chứa nước, múc đi một khối lượng nước bằng 2 đến 3 lần thể tích nước có trong hố khoan.
5. Quan trắc mực nước trong hố khoan để khẳng định đoạn thí nghiệm có nằm trong tầng chứa nước hay không.
Trường hợp mực nước hạ thấp dần thì đoạn thí nghiệm nằm trong tầng không chứa nước.
Trường hợp mức nước dâng cao dần, đoạn thí nghiệm nằm trong tầng chứa nước. Khi đó cần quan trắc có hệ thống [6] cho tới khi đạt mực nước ổn định: sau 3 đến 6 lần đo cách nhau 5 phút một lần nếu mực nước chỉ thay đổi 1 đến 2 cm; các số liệu quan trắc này phải ghi chép theo quy định [6].
6. Tính toán thiết lập bộ TNEN theo độ sâu đã đo (điểm 3)
7. Lắp ráp bộ dụng cụ thí nghiệm như nêu ở hình 4. Hạ bộ nút vào lỗ khoan tới ngang mức đầu trên đoạn thí nghiệm (đáy nút thấp hơn đầu trên đoạn thí nghiệm khoảng 0,1m).
8. Kéo ống chống lên trong trường hợp đã hạ ống chống tới đáy lỗ khoan khi vách hố khoan kém ổn định.
9. Đo kiểm tra tính kín nước của các khớp nối trên các ống ép, đường dẫn nước thuộc hệ thống phân phối nước.
10. Kích và xiết chặt bộ nút.
11. Kiểm tra tính kín nước của đoạn hố khoan: ép nước thử với áp lực cao nhất sẽ phải thực hiện cho đoạn đang xét và kéo dài 10 đến 15 phút; đồng thời quan trắc nước trên bộ nút. Nếu đoạn nằm trong đá không chứa nước thì trên nút phải khô; nếu đoạn nằm trong đá chứa nước thì nước có thể rò rỉ yếu vào khoảng trống giữa ống trong và ống ngoài. Khi các điều kiện này được bảo đảm thì việc ngăn cách đoạn thí nghiệm coi là tốt.
12. Đo kiểm tra lại mực nước trong hố khoan theo như đã nêu ở điểm 5.
13. Thí nghiệm chính thức: bơm nước vào đoạn thí nghiệm với lưu lượng vừa đủ để tạo áp lực đã quy định; lượng nước thừa được thải qua ống xả bằng cách sử dụng van điều chỉnh 2. Áp lực này được giữ không đổi trong suốt quá trình thí nghiệm với cấp áp lực đó (nếu thí nghiệm với nhiều cấp áp lực).
Nếu thí nghiệm không có áp lực dư thì đo mực nước cần khống chế bằng dụng cụ đo mực nước.
Khi thí nghiệm có áp lực dư trên hố khoan (trên ống ba nhánh) phải dùng áp kế để khống chế áp lực. Lúc bắt đầu bơm nước vặn van xả không khí (nếu có) hoặc nới hơi lỏng khớp nối giữa ống cong của áp kế và ống ba nhánh để không khí trong các ống thoát ra ngoài (sự có mặt không khí trong ống sẽ làm sai lệch số chỉ áp lực trên áp kế), khi nước bắt đầu rò ra qua khớp nối thì lại vặn chặt nó lại. Sau đó tiến hành thí nghiệm bình thường.
14. Khi tiến hành các TNEN, cột nước áp lực tác dụng lên đoạn thí nghiệm được xác định như sau (hình 7) :
a) Khi đoạn thí nghiệm nằm trong đá không chứa nước, cột nước áp lực được tính từ giữa đoạn thí nghiệm tới mực nước khống chế không đổi trong hố khoan (hình 7c).
b) Khi đoạn thí nghiệm nằm trong đá chứa nước, cột nước áp lực tính bằng:
– Từ mực nước ổn định dưới đất tới mực nước khống chế không đổi trong hố khoan (hình 7a).
– Từ mực nước ổn định dưới đất tới áp kế, cộng thêm số chỉ áp lực trên áp kế (quy đổi ra một cột nước) (hình 7b).
15. Cột nước khống chế trong thí nghiệm cho phép thay đổi ± 5% so với giá trị của nó, có hiệu chỉnh tổn thất thủy đầu trong trường hợp cần thiết.
16. Trong suốt quá trình thí nghiệm, cùng với việc theo dõi áp lực không đổi, phải tiến hành quan trắc liên tục lượng nước tiêu vào đoạn thí nghiệm, cứ 2 đến 10 phút một lần (tùy theo lượng nước tiêu hao lớn hay nhỏ) và ghi chép các số liệu thu thập được vào sồ ghi chép TNEN (phụ lục 1).
17. Tất cả các số liệu về hố khoan thí nghiệm, các dụng cụ, thiết bị chủ yếu dùng trong thí nghiệm, các số liệu quan trắc áp lực lưu lượng nước tiêu hao theo thời gian phải ghi đầy đủ vào sổ ghi chép TNEN tại nơi thí nghiệm; đồng thời lập các đồ thị quan hệ áp lực cột nước và lưu lượng nước tiêu hao theo thời gian: H = f(t); trong trường hợp dùng áp lực tiêu chuẩn thì H là trị số không đổi; Q = f(t).
18. Khi nghiên cứu độ thấm nước với áp lực 10m cột nước, phải kéo dài thí nghiệm tới khi lượng nước tiêu hao ổn định trong 30 phút. Lưu lượng nước tiêu hao được coi là ổn định khi tỷ lệ phần trăm giữa hiệu số lưu lượng lớn nhất (Qmax) và lưu lượng trung bình (Qtb) trên Qtb của các lần đọc trong 30 phút, mà không quá 10% thì coi là lưu lượng ổn định. Công thức mô tả:

19. Khi các điều kiện đó được bảo đảm, thí nghiệm được coi là kết thúc với cấp áp lực đang xét và chuyển ngay sang thí nghiệm với cấp áp lực khác (nếu đoạn cần được thí nghiệm với nhiều cấp áp lực khác nhau), để giảm bớt thời gian làm bão hòa ban đầu. Nếu chỉ thí nghiệm với một cấp áp lực thì coi là kết thúc thí nghiệm cho đoạn đang xét.

Hình 7. Sơ đồ xác định cột nước tác dụng lên đoạn TNEN
a, b – đoạn thí nghiệm trong tầng chứa nước; a. không có áp suất dư; b. có áp suất dư;
c. đoạn thí nghiệm trong tầng không chứa nước; 1. cột ống ép; 2. nút; 3. mực nước dưới đất ổn định; 4. áp kế; 5. mực nước tác dụng khi thí nghiệm.
3.1.1. Các bước tiến hành TNEN trên không phụ thuộc sơ đồ thí nghiệm phân đoạn (từ trên xuống hoặc từ dưới lên) hoặc thí nghiệm tổng hợp. Riêng sơ đồ thí nghiệm phân đoạn từ dưới lên phải thêm bước lấp đoạn đã thí nghiệm và chờ vật liệu lấp đông cứng (trường hợp dùng nút đơn).
3.1.2. Khi đã thực hiện các TNEN tới độ sâu cuối cùng của hố khoan, tùy mục đích trong đề cương mà:
– Để lại tiến hành các thí nghiệm địa chất công trình khác, các quan trắc lâu dài trong hố khoan.
– Hoặc lấp hố, trường hợp này sẽ tuân theo các quy định ở quy trình kỹ thuật khoan máy.
3.2. Các dạng nghiên cứu bằng thí nghiệm ép nước
3.2.1. Trong thực tiễn khảo sát cho xây dựng thủy công thường dùng các TNEN để:
– Nghiên cứu thấm
– Nghiên cứu tính biến dạng thấm, xói rửa các chất nhét yếu trong các khe nứt, các đường dẫn Kactơ của đá.
3.2.2. TNEN để nghiên cứu thấm: các thí nghiệm này được thực hiện hàng loạt trong toàn phạm vi nghiên cứu. Chúng được thực hiện với một áp lực tiêu chuẩn bằng 10m cột nước và thực hiện cho tới khi lưu lượng ổn định trong thời gian 30 phút.
Các trường hợp khác thường xem 3.3.
3.2.3. Nghiên cứu biến dạng thấm trong đá bằng TNEN
3.2.3.1. Các chất nhét yếu (loại sét – cát) trong các khe nứt của đá, nhất là ở các đới đá bị phong hóa, có thể bị các biến dạng thấm khác nhau (xem phụ lục 5) dưới tác dụng của một građien thấm đáng kể, nghĩa là dưới một cột nước áp lực đủ lớn.
3.2.8.2. Việc nghiên cứu biến dạng thấm bằng TNEN được thực hiện theo phương pháp sau: bắt đầu thí nghiệm với áp lực thấp để nghiên cứu thấm thông thường, sau đó thí nghiệm với áp lực cao (hoặc nâng dần qua một số cấp áp lực) trong thời gian ngắn và hạ dần, sau cùng thí nghiệm lại với áp lực để nghiên cứu thấm lúc đầu (hoặc thí nghiệm với các cấp áp lực thấp dần). Một thí nghiệm như thế thường gọi là thí nghiệm theo chu trình (cyclitests).
Trong thực tế thường tiến hành như sau:
1. TNEN với áp lực tiêu chuẩn (10m cột nước) và kéo dài tới khi lưu lượng ổn định trong 30 phút:
2. Tiếp tục thí nghiệm với áp lực cao 100m (hoặc trên 50m) cột nước và kéo dài trong 10 phút.
3. Thí nghiệm lại với áp lực 10m cột nước kéo dài trong 30 phút.
3.2.3.3. Dối với công trình thủy công có cột nước tác dụng tại công trình thấp (dưới 50m cột nước), cho phép thí nghiệm nghiên cứu biến dạng thấm như sau [2]:
– Thí nghiệm với áp lực 10m cột nước cho tới khi lưu lượng ổn định trong 30 phút.
– Thí nghiệm với áp lực lớn nhất có thể được đối với đoạn đang xét (xem l.7) hoặc với cột nước bằng 1,1 đến 1,5 lần (tùy cấp công trình) cột nước tác dụng tại công trình, (nếu giá trị nào lớn hơn thì lấy), kéo dài trong 10 phút.
– Thí nghiệm lại với áp lực 10m cột nước, kéo dài trọng 30 phút.
3.2.3.4. Qua kết quả tiến hành thí nghiệm như thế, lập quan hệ lưu lượng – áp lực TNEN: Q = f(H) để phân đoán biến dạng thấm. Đồng thời tính lượng mất nước đơn vị (đối với 10m cột nước) lúc ép đi và ép trở lại để đánh giá biến dạng thấm (xem l.7).
3.2.4. TNEN trong hố khoan xiên
3.2.4.1. Khi nghiên cứu các khe nứt, các dải yếu (cà nát, đứt gẫy...) thường phải TNEN trong các hố khoan xiên.
3.2.4.2. Các TNEN trong các hố khoan xiên tiến hành cũng như đối với các hố khoan thẳng đứng (3.l).
3.2.4.3. Áp lực cột nước ở hố khoan xiên tính như sau:
H = Hxsina
trong đó: Hx – cột nước tác dụng lên đoạn thí nghiệm ở hố khoan xiên; H – độ chênh cao giữa mực nước khống chế khi thí nghiệm với mực nước dưới đất ổn định (đoạn thí nghiệm trong tầng chứa nước) hoặc mức giữa đoạn thí nghiệm (khi đoạn nằm trong đá không chứa nước) (hình 8).
3.2.4.4. Trong hố khoan xiên không được TNEN cho các đoạn kề ranh giới phân chia giữa đá chứa nước và không chứa nước vì khi đó ranh giới này sẽ ảnh hưởng đối với kết quả thí nghiệm.
3.2.5. Ép, hút nước kết hợp
Nhằm đánh giá định lượng gần đúng hệ số thấm của đá theo tài liệu thí nghiệm ép nước, cần tiến hành các thí nghiệm kết hợp ép nước và hút nước tại cùng một đoạn hố khoan.
3.2.5.1. Các thí nghiệm này được tiến hành trong các hố đã ấn định riêng, hoặc chọn một số đoạn riêng ở các hố khoan. Tại mỗi đoạn, với nút để nguyên ở một vị trí, thực hiện:
– Ép nước với cột nước áp lực tiêu chuẩn 10m và tính lượng mất nước đơn vị.
– Hút nước (theo quy trình thí nghiệm hút nước hiện hành) và tính hệ số thấm;
– Ép nước lặp lại với cột nước áp lực 10m và tính lượng mất nước đơn vị.
3.2.5.2. Lập đồ thị quan hệ giữa lượng mất nước đơn vị và hệ số thấm (trên giấy hai trục lôgarit) và dùng đồ thị này để tính đổi giữa hai đại lượng đó cho từng loại đá trong khu vực nghiên cứu.
Mặt khác so sánh lượng mất nước đơn vị thu được trước và sau khi hút nước ở cùng một đoạn để đánh giá ảnh hưởng của sự trám bít mùn khoan lên vách hố.
3.2.5.3. Chỉ nên thí nghiệm ép, hút nước như trên đối với đá có lượng mất nước đơn vị từ 0,1 đến 1 l/ph/m; khác với điều này, các kết quả thường phân tán và quan hệ tương quan thu được sẽ không phù hợp.
Hình 8. Sơ đồ TNEN trong hố khoan xiên
a) Trong đá không chứa nước
b) Trong đá chứa nước
3.3. Một số trường hợp riêng của thí nghiệm ép nước
3.3.1. Khi có cơ sở giả thiết gặp các đá không ổn định thấm (đôlômit, có bột đôlômit, đá vôi Kactơ hóa mạnh, các muối halôgien v.v…) để có thể phát hiện các trường hợp đó có thể tăng độ thấm nước khi thấm kéo dài, trước hết phải thực hiện một số đoạn thí nghiệm kiểm tra với thời gian kéo dài ổn định ít nhất 2 giờ khi TNEN với áp lực 10m cột nước.
3.3.2. Trong các dải thấm mạnh (đới nứt tăng cao, đá Kactơ hóa…), nếu phương tiện cung cấp nước không đủ để thí nghiệm với đoạn dài 5m, cho phép rút ngắn đoạn thí nghiệm, trong mọi trường hợp chỉ được rút tới chiều dài tối thiểu (L lớn hơn 5 lần bán kính hố khoan). Khi đã giảm tới như thế, nếu không nâng được tới áp lực cần thiết thì phải cung cấp nước tối đa theo khả năng có thể của phương tiện và quan trắc áp lực.
Ngược lại trong các đá thấm yếu, có thể tăng chiều dài đoạn thí nghiệm, nhưng không được quá 10m.
3.3.3. Khi có các khe nứt phát triển theo chiều dọc hố khoan, sau khi thí nghiệm đoạn thứ nhất, nên tiến hành phun xi măng cho đoạn đó, để khi thí nghiệm cho đoạn dưới, nước không dâng lên trên theo khe nứt.
3.4. Sự cố trong thí nghiệm ép nước
3.4.1. Trong quá trình TNEN, nếu vì nguyên nhân thiết bị (máy hỏng, nút hở, đường dẫn nước vỡ…) phải tạm ngừng thì tiến hành lại, phải coi như mới bắt đầu thí nghiệm.
3.4.2. Trong quá trình thí nghiệm, nhất là với áp lực cao, có thể xảy ra:
Nước rò rỉ lên mặt đất hoặc chảy sang các hố thăm dò, giếng xung quanh cần quan trắc có hệ thống lưu lượng, mực nước ở những vị trí đó.
– Đất ở trên đoạn thí nghiệm bị trồi, nứt… cần giảm áp lực thí nghiệm tới mức vừa đủ.
3.5. Chỉnh lý tài liệu thí nghiệm
3.5.1. Khi thí nghiệm với áp lực cột nước tiêu chuẩn (10m) đối với mỗi hố khoan lập các tài liệu chỉnh lý riêng. Thành phần các tài liệu chỉnh lý xem phụ lục 2.
Công việc chỉnh lý bao gồm:
– Lập các bảng tài liệu kỹ thuật, tài liệu tính toán. Đối với đoạn thí nghiệm kéo dài (3.3.1), lập các đồ thị quan hệ áp lực và lưu lượng với thời gian Q = f(t), đồ thị Qo = f(H).
– Tính toán lượng mất nước đơn vị q theo công thức
(l/ph/m)
trong đó:
Q – lưu lượng nước ổn định (l/ph);
L – chiều dài đoạn thí nghiệm (m);
H – áp lực thí nghiệm (m, cột nước)
Các giá trị q chỉ lấy với hai số lẻ
Các giá trị q quá nhỏ ghi là q < 0,01=”” l/ph.m=””>
3.5.2. Khi thí nghiệm với áp lực cao Ho
Tính lưu lượng nước tiêu hao Q theo công thức:

Trong đó:
Q – lưu lượng nước tiêu hao, l/ph/m hoặc uL (đơn vị Lugeon);
Qc – lưu lượng nước trung bình (l/ph), khi thí nghiệm với áp lực cao;
Hc – áp lực cao đã dùng (m, cột nước) (Hc bằng 1,1 đến 1,5 lần cột nước tác dụng hoặc bằng 50m đến 100m cột nước, xem 3.2.3.3; 3.2.3.2)
L – chiều dài đoạn thí nghiệm (m).
PHỤ LỤC 1
SỔ GHI CHÉP THÍ NGHIỆM ÉP NƯỚC VÀO HỐ KHOAN
Phụ lục 1-1
BỘ THUỶ LỢI
VIỆN KHẢO SÁT THIẾT KẾ THUỶ LỢI QUỐC GIA
(hay Sở Thuỷ lợi)
——–
Đơn vị khảo sát:…………………………………………………………………………….
Tổ khoan: …………………………………………………………………………………
SỔ GHI CHÉP
THÍ NGHIỆM ÉP NƯỚC VÀO HỐ KHOAN
Tên công trình: ……………………………………………………………………………
Vị trí hố khoan: ……………………………………………………………………………
Số hiệu hố khoan: …………………………………………………………………………
Thời gian bắt đầu: ………………………………………………………………………..
Thời gian kết thúc: ………………………………………………………………………
Phụ lục 1-2
Viện khảo sát TKTLQG
(hay Sở Thuỷ lợi…)
Đơn vị khảo sát…
Tổ khoan…
BIỂU TỔNG HỢP TÌNH HÌNH THÍ NGHIỆM ÉP NƯỚC Ở HỐ KHOAN
Hố khoan… Công trình… Thời gian bắt đầu: …
Thời gian kết thúc:…
|
Số hiệu đoạn thí nghiệm |
Thời gian thí nghiệm (giờ ngày tháng năm) |
Đoạn thí nghiệm |
Giai đoạn áp lực |
Trị số áp lực (m) |
Lưu lượng tiêu hao Q (l/ph) |
Loại đường biểu diễn |
Lượng mất nước đơn vị q (l/ph/m) |
Phương pháp thí nghiệm |
Ghi chú |
|||
|
Độ sâu và cao độ |
Độ dài (m) |
|||||||||||
|
từ |
đến |
từ |
đến |
|||||||||
|
1 |
2 |
3 |
4 |
5 |
6 |
7 |
8 |
9 |
10 |
11 |
12 |
13 |
|
|
|
|
|
|
|
|
|
|
|
|
|
|
|
GIÁM ĐỐC ĐỢN VỊ KHẢO SÁT (Ký tên và đóng dấu) |
NGƯỜI KIỂM TRA (Ký tên) |
PHỤ TRÁCH KỸ THUẬT (Ký tên) |
|
Viện khảo sát TKTLQG |
NHỮNG SỐ LIỆU VỀ THIẾT BỊ THÍ NGHIỆM ÉP NƯỚC |
Phụ lục 1-3 |
|||
|
(hay Sở Thuỷ lợi…) |
|
||||
|
Đơn vị khảo sát… |
|
|
|||
|
Tổ khoan… |
Hố khoan……… |
Công trình |
|
||
|
|
Số hiệu đoạn TNEN |
|
|
|
|
|
|
Chiều dài đoạn TNEN |
m, |
từ… |
đến… |
|
|
Bộ phận nút |
Ống công tác |
Ống ép |
Máy bơm |
|||||||
|
Loại nút |
Số lượng nút (quả) |
Đường kính nút (mm) |
Chiều dài nút (m) |
Đường kính (mm) |
Chiều dài (m) |
Đường kính (mm) |
Chiều dài (m) |
Ký hiệu |
Lưu lượng (m3/h) Công suất (kw) |
|
|
Trước khi kích |
Sau khi kích |
|||||||||
|
1 |
2 |
3 |
4 |
5 |
6 |
7 |
8 |
9 |
10 |
11 |
|
|
|
|
|
|
|
|
|
|
|
|
Tiếp Phụ lục 1-3
|
Máy động lực |
Lưu lượng kế |
Loại dụng cụ đo mực nước dưới đất |
Áp lực kế |
Ghi chú |
|||||||
|
Ký hiệu |
Công suất |
Loại dụng cụ |
Lưu lượng tối đa hay thể tích thùng |
Đơn vị mỗi độ khắc |
Loại dụng cụ |
Áp lực cực hạn (Kg/m2) |
Áp lực giới hạn trên (Kg/cm2) |
Độ chính xác% |
Đơn vị mỗi độ khắc (Kg/cm2) |
||
|
12 |
13 |
14 |
15 |
16 |
17 |
18 |
19 |
20 |
21 |
22 |
23 |
|
|
|
|
|
|
|
|
|
|
|
|
|
|
NGƯỜI KIỂM TRA (ký tên) |
PHỤ TRÁCH KỸ THUẬT (ký tên) |
|
Viện khảo sát TKTLQG |
|
|
Đơn vị khảo sát… Tổ khoan… |
Phụ lục 1-4 |
BIỂU GHI CHÉP TÌNH HÌNH
RỬA HỐ KHOAN
Hố khoan…công trình…
Số hiệu đoạn TNEN…..ngày…..tháng….năm
|
Đoạn thí nghiệm |
Thời gian rửa hố khoan |
Phương pháp rửa |
Lượng nước tiêu hao (l/ph) |
Kết quả |
|||
|
từ |
đến |
từ (giờ phút) |
đến (giờ phút) |
Thời gian kéo dài |
|||
|
|
|
|
|
|
|
|
|
|
NGƯỜI KIỂM TRA (ký tên) |
PHỤ TRÁCH KỸ THUẬT (ký tên) |
Phụ lục 1-5
|
Viện khảo sát TKTLQG |
BIỂU QUAN TRẮC MỰC NƯỚC DƯỚI ĐẤT TRONG HỐ KHOAN |
|
|
(hay Sở Thuỷ lợi…) |
||
|
Đơn vị khảo sát… |
||
|
Tổ khoan… |
|
|
|
Hố khoan… |
Công trình… |
|
|
Số hiệu đoạn TNEN… |
Cao độ miệng hố khoan… |
|
|
Thời gian đo |
Mực nước dưới đất |
Người đo |
Dụng cụ đo mực nước dưới đất |
Ghi chú |
|||
|
Ngày tháng năm |
Giờ |
Phút |
Độ sâu tính từ miệng hố khoan (m) |
Cao độ |
|||
|
|
|
|
|
|
|
|
|
|
NGƯỜI KIỂM TRA (ký tên) |
PHỤ TRÁCH KỸ THUẬT (ký tên) |
|
Viện khảo sát TKTLQG |
Phụ lục 1-6 |
|
(hay Sở Thuỷ lợi…) |
|
|
Đơn vị khảo sát… |
BIỂU QUAN TRẮC ÁP LỰC VÀ LƯU LƯỢNG THÍ NGHIỆM ÉP NƯỚC |
|
Tổ khoan… |
|
|
Hố khoan… |
|
|
|
|
Đoạn thí nghiệm… |
Công trình… |
|
|
|
Chiều dài đoạn TNEN: L= |
|
|
|
|
Đồng hồ áp lực đặt cách miệng hố: |
…m, |
từ… |
đến… |
|
Độ sâu mực nước dưới đất ổn định |
Kể từ miệng hố |
…m |
|
|
Giai đoạn áp lực |
Trị số áp lực |
Thời gian quan trắc |
Quan trắc lượng nước tiêu hao |
Lưu lượng tiêu hao Q (l/ph) |
Ghi chú |
|||||||
|
Ngày tháng năm |
Bắt đầu giờ phút |
Kết thúc giờ phút |
Thời gian kéo dài (phút) |
Số đọc lần trước |
Số đọc lần sau |
Chênh lệch (cm) |
Lượng nước tiêu hao (lít) |
Mực nước ngoài nút (m) |
||||
|
1 |
2 |
3 |
4 |
5 |
6 |
7 |
8 |
9 |
10 |
11 |
12 |
13 |
|
|
|
|
|
|
|
|
|
|
|
|
|
|
|
NGƯỜI KIỂM TRA (ký tên) |
PHỤ TRÁCH KỸ THUẬT (ký tên) |
|
Viện khảo sát TKTLQG (hay Sở Thuỷ lợi…) Đơn vị khảo sát… Tổ khoan… |
Phụ lục 1-7 |
|
|
|
||
|
BIÊN BẢN LẤP HỐ KHOAN |
||
|
|
Tên công trình… |
|
|
|
Vị trí hố khoan:… |
Hố khoan số:… |
Chúng tôi gồm có các ông:…
Tổ trưởng:…
Kỹ thuật viên địa chất:…
Kỹ thuật viên khoan:…
Kíp trưởng:…Thợ cả:…
Thợ phụ:…Thợ phụ:…
Cùng nhau xác nhận việc lấp hố khoan như sau:
I. TÌNH HÌNH HỐ KHOAN TRƯỚC KHI LẤP
Độ sâu hố khoan…
Độ sâu và đường kình từng loại…
…
Đá rắn từ độ sâu…
Mực nước mạch:
II. VẬT LIỆU LẤP HỐ
Các loại vật liệu và tỷ lệ pha trộn…
Thể tích vật liệu lấp hố 
(Đối với công trình đặc biệt, đê cấp 3 trở lên lấy Vlấp/Vhố³1,8)
III. QUÁ TRÌNH LẤP HỐ
…
Kích thước và loại dụng cụ lấp hố…
Phương pháp lấp hố…
IV. NHẬN XÉT VÀ KẾT QUẢ LẤP HỐ
…
…
|
NGƯỜI KIỂM TRA Ký tên |
PHỤ TRÁCH KỸ THUẬT Ký tên |
Ngày….tháng….năm Kíp trưởng |
PHỤ LỤC 2
BẢN TỔNG HỢP CÁC TÀI LIỆU THÍ NGHIỆM ÉP NƯỚC VÀO HỐ KHOAN
|
1. Các tài liệu kỹ thuật
|
|
2. Đồ thị biến thiên áp lực (H) và lưu lượng (Q, l/ph) theo thời gian |
|
3. Đồ thị quan hệ lưu lượng quy đổi (Qo) với áp lực (Hm) (*) |
|
|
4. Các tài liệu tính toán |
|
5. Nhãn bản vẽ (theo quy định) |
(lập trên khổ giấy theo quy định hiện hành 210 x n x 297mm n=1,2,3…của 210mm).
Nội dung chi tiết của một số bảng trong bản tổng hợp:
Bảng 1. Các tài liệu kỹ thuật
1) Nút
2) Dụng cụ đo mực nước
3) Dụng cụ đo lưu lượng
4) Áp kế
5) Máy bơm
6) Động cơ
(*)
Bảng 4
CÁC TÀI LIỆU TÍNH TOÁN
|
Đoạn thí nghiệm |
Mực nước dưới đất ổn định (m) |
No cấp áp lực |
Áp lực trong đoạn (m) |
Lưu lượng nước tiêu hao (Q(l/ph) |
Lượng mất nước đơn vị q(l/ph/m) |
|||
|
Số hiệu đoạn thí nghiệm |
Độ sâu (m) |
Chiều dài (m) |
||||||
|
Cao độ tuyệt đối |
||||||||
|
từ |
đến |
|||||||
|
|
|
|
|
|
|
|
|
|
PHỤ LỤC 3
THÍ NGHIỆM LUGEON
Để nghiên cứu tính thấm nước của đá ở nền các công trình thủy công, lần đầu tiên, 1933, M.Lugeon đã đề xuất và áp dụng ép nước thí nghiệm vào hố khoan. Từ đó phương pháp này được dùng rộng rãi trong xây dựng thủy công. Nó được phát triển, bổ sung và thay đổi ít nhiều nhưng các điểm có tính nguyên lý vẫn được bảo tồn. Cho đến nay (Hội nghị đập lớn thế giới lần thứ XI năm 1985 ở Thụy Điển) phương pháp này vẫn được coi là một trong các phương pháp cơ bản để đánh giá đúng đắn tính thấm nước và hiệu quả của công tác phun xi măng trong đá [9].
Do tính phổ biến và tính đặc thù của nó, phương pháp này nhiều khi còn gọi là thí nghiệm Lugeon.
Theo Lugeon, mỗi thí nghiệm ép nước được tiến hành dưới áp lực 10 Kg/cm2 (tương đương 100m cột nước) giữ không đổi trong toàn quá trình thí nghiệm và kéo dài trong thời gian 10 phút, kết quả thí nghiệm sẽ tính được lưu lượng (nước) tiêu hao, theo đơn vị Lugeon. Đó là lưu lượng nước tiêu hao trong 1 phút trên 1m dài – đoạn hố khoan thí nghiệm dưới áp lực 100m nước, xác định theo công thức: QL = Q/L
Trong đó:
QL – lưu lượng nước tiêu hao (Lugeon);
Q – lưu lượng nước (l/ph) trong đoạn thí nghiệm, dưới áp lực 100m cột nước, kéo dài trong 10 phút;
L – chiều dài đoạn thí nghiệm.
Các thí nghiệm Lugeon thường tiến hành trong các hố khoan đường kính nhỏ (46 đến 76 mm).
Trong trường hợp chỉ thí nghiệm với áp lực nhỏ hơn 100m cột nước (để không gây ra hiện tượng đẩy trồi, biến dạng của các lớp đá) có thể dùng đêxi-lugeon, là lượng mất nước trên 1m đoạn thí nghiệm dưới áp lực 10m cột nước.
PHỤ LỤC 4
TÍNH TOÁN HỆ SỐ THẤM THEO KẾT QUẢ THÍ NGHIỆM ÉP NƯỚC

H=h+h’-Dh với h-cột nước áp lực tính từ áp kế tới mực nước ngầm khi đoạn thí nghiệm nằm trong đới bão hoà nước hoặc tới giữa đoạn thí nghiệm khi đoạn thí nghiệm nằm trong đới không bão hoà nước.
h’-áp lực chỉ trên áp kế, tính đổi ra mét cột nước (m);
Dh-tổn thất áp lực trong cột ống ép (xem 2.2.4) khi thí nghiệm không có cột nước dư trên miệng hố khoan thì h tính từ mực nước khống chế khi thí nghiệm tới mực nước ngầm hoặc tới giữa đoạn thí nghiệm tuỳ theo điều kiện như trên; và khi đó h’=0.
Q-lưu lượng nước tiêu hao ổn định trên toàn đoạn thí nghiệm (m3/s).
Tu=U-D+H
Với
U bề dầy đới không bão hòa nước (m);
D – khoảng cách từ mặt đất tới đáy hố khoan (m);
Cu – hệ số dẫn của đới không bão hòa nước, xác định theo đồ thị chính 2;
Cs – hệ số dẫn của đới bão hòa nước xác định theo đồ thị hình 3;
X – tỷ lệ phần trăm tầng bị bão hòa: X = (H/Tu)x100;
K – hệ số thấm, (m/s) (khi biểu thị bằng cm/s thì nhân với 100);
Sinh-l – hàm ngược của sin hypebolic
2. Theo lượng mất nước đơn vị (trên 1m chiều dài đoạn thí nghiệm) [9]
a) Theo q (l/ph/m). Đoạn thí nghiệm nằm trong đá bão hòa nước:
– Đối với đá macma (granit, diaba) k = 2,43q0,921 (6)
– Đối với đá cát – sét (cát kết, alơvolit) k = l,59q0,841 (7)
– Đối với đá cachonat (đá vôi, đôlômit) k = 2,74q0,908 (8)
(trong đó k – hệ số thấm m/ngày đêm)
Các công thức (6) đến (8) áp dụng trong khoảng các giá trị hệ số thấm từ 0,01 đến 10 m/ngày đêm và lượng mất nước đơn vị từ 0,01 đến 10 l/ph/m.
b) Theo QL, Lugeon (công thức gần đúng)
|
1. Cu đối với L/H=0,1 |
4. ——- 0,4 |
7. ——- 0,75 |
|
2. ——- 0,2 |
5. ——- 0,5 |
8. ——- 0,9 |
|
3. ——- 0,3 |
6. ——- 0,6 |
9. ——- 1,0 |
|
K = 1,3×10-5QL (9) |
|
trong đó: K-hệ số thấm tính bằng (m/ngày đêm); |
|
QL– lượng mất nước trên 1m đoạn thí nghiệm dưới áp lực 100m cột nước (Lugeon) |

Hình 2. Các hệ số dẫn để xác định hệ số thấm trong tầng không bão hoà khi đoạn thí nghiệm nằm trong một phần của tầng
Hình 3. Hệ số dẫn đối với chảy hình bán cầu khi đoạn thí nghiệm nằm trong một phần tầng bão hoà.
3. Phân định các đá theo mức độ thấm nước[7]
|
Mức độ thấm nước |
Lượng mất nước đơn vị, q (l/ph/m) |
Hệ số thấm Kt (m/ngày đêm) |
|
Thực tế không thấm nước |
<> |
<> |
|
Thấm nước yếu |
0,01-0,1 |
0,05-0,3 |
|
Thấm nước trung bình |
0,1-1,0 |
0,3-3 |
|
Thấm nước mạnh |
1-10 |
3-30 |
|
Thấm nước rất mạnh |
> 10 |
> 30 |
PHỤ LỤC 5
MỘT SỐ HÌNH THỨC BIẾN DẠNG THẤM
Dưới tác dụng áp suất cao (građien thấm lớn) khi ép nước thí nghiệm, trong chất nhét yếu của các khe nứt và bản thân đá trong địa khối có thể xảy ra các biến dạng thấm chủ yếu sau:
– Chất nhét bị nước xói rửa; hiện tượng xói trong (xói ngầm)
– Chất nhét bị dồn ép chặt lại trong khe nứt: hiện tượng ứ tắc.
– Làm nứt các phần liền khối của đá trong địa khối: hiện tượng đứt thuỷ lực.
Qua kết quả nghiên cứu, xói rửa bằng ép nước thí nghiệm (thí nghiệm theo chu trình) (3.2.3.1) sẽ thu được các đường cong Q=f(H) biểu thị biến dạng thấm của địa khối đá. Các dạng đường cong có thể gặp nêu ở hình 1.[5]
1. Chế độ chảy tầng: 1a- chế độ chảy tầng, ứ tắc dưới áp lực cao; 1b- chế độ chảy tầng, xói rửa dưới áp lực cao;
2. Ứ tắc dưới áp lực thấp: 2a- ứ tắc dưới áp lực thấp, và sau đó dưới áp lực cao; 2b- ứ tắc dưới áp lực thấp và sau đó xói rửa dưới áp lực cao.
3. Chế độ chảy rối
4. Xói rửa tiến triển
5. Các dạng khác: lần lượt ứ tắc và xói rửa.

Hình 1. Các đồ thị khác nhau của các kết quả thí nghiệm theo phương pháp Lugeon
PHỤ LỤC 6
THÍ NGHIỆM ÉP NƯỚC DÙNG HỆ BỐN NÚT
Để hướng dòng chảy theo một phương nhất định (vuông góc với trục hố khoan thí nghiệm), đã đề nghị (Louis, 1970) [10] dùng một hệ thống gồm bốn nút (hình l) để phân đoạn thí nghiệm thành ba đoạn nhỏ: hai đoạn nhỏ ở hai đầu đều dùng để khống chế hướng chảy của nước ở đoạn giữa; đoạn nhỏ giữa là đoạn thí nghiệm chính, ở đó nước chỉ chảy theo phương vuông góc với trục hố khoan hoàn toàn phù hợp với các giả thiết thấm nước trong TNEN.
Hình 1. Sơ đồ TNEN dùng bốn nút (Louis, 1970)
1 . Đoạn thí nghiệm; 2 – Nút (dài 0,80m); 3 – Phân đoạn giữa để đo (dài 2 đến 5m);
4 – Phân đoạn chặn dòng chảy ở hai đầu; 5 – Đường dòng chảy;
6 – Áp kế trong các hố khoan xung quanh.
Phải thừa nhận rằng phương pháp này đã đưa vào một giải pháp khoa học của vấn đề rất khó khăn về sự chảy nước trong môi trường nứt nẻ và về mặt này nó đáng được áp dụng.
Do những tốn kém lớn khi thực hiện một đoạn TNEN như thế nên nó chỉ được tiến hành với khối lượng hạn chế, khi cần tìm hiểu chính xác tính thấm nước trong nghiên cứu cho các công trình quan trọng.
PHỤ LỤC 7
THÍ NGHIỆM ĐỔ NƯỚC VÀO HỐ KHOAN
Đối với các đá yếu đá phong hóa mạnh – vừa, đất thấm nước không áp dụng được TNEN, phải dùng thí nghiệm đổ nước vào hố khoan để xác định chỉ tiêu thấm nước của chúng.
Phương pháp tính hệ số thấm theo tài liệu thí nghiệm đổ nước và thí nghiệm hút nước tương tự nhau. Khi tính hệ số thấm theo kết quả thí nghiệm đổ nước, có thể sử dụng các công thức tính hệ số thấm theo kết quả thí nghiệm hút nước bằng cách thay vào đó độ hạ mực nước bằng độ dâng mực nước (của thí nghiệm đổ nước) trong hố khoan [14]
Khi vách hố khoan không ổn định (như cát, cuội sỏi…) cần đặt ống lọc ở đoạn thí nghiệm trước khi thí nghiệm đổ nước.
Dưới đây nêu một số trường hợp phổ biến của thí nghiệm đổ nước vào hố khoan.
1. Thí nghiệm trong đất – đá chứa nước
1.1. Hố khoan hoàn chỉnh (hình l) – Công thức Dupuit.
Trong tầng chứa nước có áp (hình 1, a)

Hình 1. Thí nghiệm đổ nước ở hố khoan hoàn chỉnh
a. Tầng chứa nước có áp; b- Tầng chứa nước không áp
1- Mức nước áp lực; 2- Mức nước ngầm;
3- Phễu áp lực hình thành thí nghiệm đổ nước.
1.2. Hố khoan không hoàn chỉnh
1.2.1. Trong tầng chứa nước có áp chỉ thấm qua vách hố khoan
1. Đoạn thí nghiệm tiếp xúc mái hoặc đáy tầng chứa nước (hình 2)

Hình 4

Hình 5
Trong các công thức trên:
H – độ sâu của tầng chứa nước không áp;
M – bề dầy tầng chứa nước có áp;
h – cột nước áp lực thí nghiệm, bằng độ chênh cao từ mực nước trong hố khoan thí nghiệm đến mực nước dưới đất ổn định;
L – chiều dài đoạn thí nghiệm;
r – bán kính hố khoan;
R – bán kính ảnh hưởng
ho – độ chênh cao giữa mực nước trong hố khoan thí nghiệm tới đáy tầng chứa nước và tới đáy hố khoan thí nghiệm, lần lượt;
H – độ chênh cao từ đáy hố khoan đến mực nước dưới đất ổn định.
1.3. Thí nghiệm ở hố khoan nằm gần bồn nước.
Khi hố khoan thí nghiệm đổ nước nằm cách các bồn nước (sông, suối, ao, hồ…) một khoảng a, hệ số thấm tính theo các công thức dưới đây [15]
1.3.1. Hố khoan hoàn chỉnh. Công thức Forcheimer
– Trong tầng chứa nước có áp:

Q – lưu lượng nước ổn định đổ khi thí nghiệm, m3/ngđ;
h – chiều cao cột nước trong hố khoan thí nghiệm (m) (h không đổi).
Điều kiện áp dụng:
– Cột nước thí nghiệm nằm trong phạm vi ống lọc.
– 50 r £ h £ 200r và h <>
– Đáy ống lọc ở cách gương nước dưới đất một khoảng T > h.
PHỤ LỤC 8
TÍNH NĂNG KỸ THUẬT VÀ CÁC YÊU CẦU CƠ BẢN SỬ DỤNG CÁC DỤNG CỤ CHÍNH DÙNG TRONG THÍ NGHIỆM ÉP NƯỚC
1. Lưu lượng kế
Thường dùng lưu lượng kế cánh quạt/tua bin, rôtamét
1.1. Lưu lượng kế cánh quạt tua bin. Chi tiết chính của lưu lượng kế này là một cáNh quạt hoặc một tua bin. Khi cho nước chảy qua lưu lượng kế, cánh quạt/tuabin sẽ quay; số vòng quay được quy đổi thành lưu lượng nước, (chất lỏng) và biểu thị trên mặt số của lưu lượng kế. Lượng nước chảy qua lưu lượng kế trong một thời đoạn Dt = t2 – tl bằng hiệu các số đọc lượng nước tính đến thời điểm cuối (t2) và lượng nước tính đến thời điểm đầu (tl) Q = Q2 – Ql; và lưu lượng nước trong đơn vị thời gian ở thời đoạn đang xét bằng Qo = Q/Dt.
Các loại lưu lượng kế này được đặc trưng bằng các thông số chính sau:
1) Lưu lượng định mức là lưu lượng lớn nhất có thể cho qua lưu lượng kế mà vẫn đảm bảo nó làm việc lâu dài liên tục với tổn thất áp lực khi chảy qua nó không quá 1m cột nước.
2) Giới hạn đo dưới là lưu lượng nước qua lưu lượng kế mà các bộ phận của nó bắt đầu làm việc với sai số cho phép, giới hạn đo trên là lưu lượng lớn nhất chỉ được cho qua lưu lượng kế trong khoảng thời gian ngắn, tổng cộng không quá 1 giờ trong một ngày đêm.
3) Ngưỡng độ nhạy là giá trị lưu lượng qua lưu lượng kế mà các bộ phận của nó bắt đầu hoạt động liên tục.
4) Lưu lượng đặc trưng Qđt là lưu lượng qua lưu lượng kế chịu tổn thất áp lực bằng 10m cột nước.
Thông thường lưu lượng kế làm việc bình thường với lưu lượng bằng (10 đến 20%) Qđt; còn giới hạn đo trên chỉ dưới 70% Qđt.
1.2. Rôtamét (hay lưu lượng kế kiểu con quay) gồm một ống hình nón cụt trong đựng một phao (hình 1). Khi chất lỏng/khí qua ống sẽ tạo nên áp lực dưới Pl và trên P2 ở phao. Một lực tỷ lệ với (P2 – Pl) làm cho phao di chuyển từ dưới lên và để đi qua một lưu lượng theo khoảng hở giữa phao và thành ống. Mỗi lưu lượng sẽ tác dụng lên phao một lực nhất định làm cho nó di chuyển tới vị trí cân bằng mới. Lưu lượng này xác định theo công thức:

trong đó:
F – diện tích thiết diện hình vành khăn của khoảng hở giữa phao và thành ống, m2;
f – diện tích ngang lớn nhất của phao, m2;
d – tỷ trọng vật liệu làm phao (kg/m3);
dc – tỷ trọng chất lỏng chảy qua, (kg/m3);
v – thể tích của phao (m3);
a – hệ số lưu lượng, xác định bằng thực nghiệm khi định các vạch chia lưu lượng trên rôtamét;
g – gia tốc trọng lực (m/s2).
Khi đó, các rôtamét được đặt theo chiều thẳng đứng.
1.3. Hiệu chuẩn các lưu lượng kế. Các đặc trưng kỹ thuật theo các đại lượng đã nêu chỉ có ý nghĩa để lựa chọn loại lưu lượng kế thích hợp dùng cho thí nghiệm, chúng không đảm bảo độ chính xác thực của lưu lượng kế. Vì thế, trước khi dùng phải hiệu chuẩn các lưu lượng kế theo phương pháp sau:
Cho chạy qua lưu lượng kế lần lượt các lưu lượng bằng 0,3; 0,5; 0,8; 1 lưu lượng định mức; mỗi cấp lưu lượng trong một thời gian nhất định; nước qua lưu lượng kế cho chảy vào thùng đo lưu lượng. Ghi các số đọc trên lưu lượng kế Qk và lưu lượng trong thùng đo lưu lượng Qt. Lập quan hệ Qt = f(Qk), gọi là đường cong hiệu chuẩn của lưu lượng kế và dùng nó để xác định lưu lượng thực Qt trong quá trình thí nghiệm có dùng lưu lượng kế đã được tiêu chuẩn nêu trên.
1.4. Kiểm tra lưu lượng kế. Thực tế rất khó thực hiện đầy đủ các điều kiện sử dụng lưu lượng kế như đã quy định (xem điều 2.2.l.2), vì thế trước và sau một đợt thí nghiệm phải kiểm tra lưu lượng kế. Việc kiểm tra này tiến hành như hiệu chuẩn lưu lượng kế, nhưng chỉ làm với một cấp lưu lượng. Nếu các số liệu thu được khớp với các số liệu của đường cong hiệu chuẩn (l.3) thì tiếp tục sử dụng lưu lượng kế đang đùng, nếu không phải hiệu chuẩn lại như nêu ở 1.3 phụ lục này.
Hình 1. Sơ hoạ rôtamét
1. Ống hình nón đặt thẳng đứng
2. Phao; 3. Thang chia độ
4. Rãnh xiên ở phần trên
2. Dụng cụ đo áp lực cột nước thí nghiệm.
2.1. Dụng cụ đo mực nước trong hố khoan dùng trong trường hợp cột nước tác dụng nằm dưới mặt đất trong hố khoan.
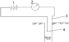
Thường dùng nhất là dụng cụ đo mực nước bằng điện (hình 2). Nó gồm: nguồn điện 1 (pin hoặc ắc quy), nối với một mili ampe kế 2 rồi nối với thân ống ép; đầu kia của nguồn nối với một cuộn dây dẫn điện có các vạch chia chiều dài. Đầu cuộn dây mang vật nặng 4 (thỏi chì…) bằng chất dẫn điện, để làm cho dây luôn duỗi thẳng khi đo. Vật nặng này được bọc bằng chất cách điện để tránh đóng mạch khi bất thường nó chạm vào thành ống. Ở tận cùng vật nặng xẻ một khe hẹp trên vỏ bọc của vật nặng. Do đó khi đầu vật nặng chạm vào mực nước trong ống thì mạch mới đóng.
Thường sản xuất dụng cụ xách tay sử dụng nguồn điện có điện áp tới 4,5V và mili ampe kế có các vạch chia từ 0 đến 5mA.
2.2. Áp kế – khi TNEN có áp lực dư đáng kể (cột nước áp lực cao hơn nhiều so với miệng hố khoan), phải dùng áp kế để đo phần áp lực dư này.
Mỗi áp kế kèm mã hiệu của nó có số chỉ đường kính và số chỉ cấp độ chính xác của nó. Cấp độ chính xác là giá trị, sai số cho phép cơ bản của áp kế. Ở bảng 1 dẫn một số áp kế có thể dùng trong TNEN với 2 cấp độ chính xác 1,5 và 2,5.
Khi chọn áp kế cần phải bảo đảm sao cho áp lực cần khống chế khi thí nghiệm không sai lệch quá 5%. Mặt khác áp suất cần đo phải nằm ở một phần ba giữa thang chia độ trên áp kế.
Hình 2. Sơ họa dụng cụ đo mực nước bằng điện
1- bộ pin; 2- mili ampe kế, 3 – cột ống; 4 – đầu tiếp xúc
Bảng 1
|
Trị số giới hạn của thang chia áp lực |
Đại lượng tuyệt đối của sai số cho phép Kg/cm2 (mét cột nước) với cấp độ chính xác của áp kế bằng: |
||||
|
Kg/cm2 |
Mét cột nước |
1,5 |
2,5 |
||
|
Kg/cm2 |
Mét cột nước |
Kg/cm2 |
Mét cột nước |
||
|
1 |
10 |
0,015 |
(0,15) |
0,025 |
(0,25) |
|
1,6 |
16 |
0,024 |
(0,24) |
0,040 |
(0,40) |
|
2,5 |
25 |
0,037 |
(0,37) |
0,063 |
(0,63) |
|
4 |
40 |
0,06 |
(0,6) |
0,10 |
(1,00) |
|
6 |
60 |
0,09 |
(0,90) |
0,15 |
(1,50) |
|
10 |
100 |
0,15 |
(1,50) |
0,25 |
(2,5) |
|
16 |
160 |
0,24 |
(2,40) |
0,40 |
(4,00) |
Thí dụ: Chọn áp kế để thí nghiệm với cột nước tác dụng bằng 10m. Độ sâu từ miệng hố khoan tới mực nước dưới đất là 2,7m. Áp kế đặt cao hơn miệng hố khoan 0,8m.
Với sai số cho phép 5%, độ chênh lệch áp lực cột nước được phép bằng l0 x (5 : 100) = 0,5m.
Áp lực cột nước dư cần đo bằng áp kế là: 10 – (2,7 + 0,8) = 6,5m
Số đọc được phép trên áp kế là 6,5 ± 0,5m cột nước.
Từ bảng 1 có thể chọn một trong các áp kế có thang chia giới hạn bằng l; l,6; 2,5 Kg/cm2 với cấp độ chính xác 1,5 hoặc 2,5.
Khi dùng thí nghiệm, phải để áp kế ở vị trí thẳng đứng. Áp kế được nối với ống ép (ống ba nhánh) qua một ống cong trong đựng đầy dầu nhờn để hạn chế ảnh hưởng giao động áp lực khi thí nghiệm.
3. Hiệu chỉnh cột ống ép
Việc hiệu chuẩn cột ống ép nhằm xác định tổn thất thủy đầu khi nước chảy trong đó. Nó được tiến hành theo sơ đồ hình 3.
Hình 3. Sơ đồ định chuẩn cột ống thép
Tại hai đầu cột ống cần định chuẩn đặt hai áp kế Ml và M2. Cho nước qua ống, theo số chỉ trên các áp kế đó xác định được tổn thất áp lực trong cột ống đó, và từ đó xác định lượng tổn thất áp lực trên lm dài của cột ống, h. Cho qua cột ống nhiều cấp lưu lượng khác nhau sẽ xác định được các giá trị h tương ứng. Lập đường cong quan hệ lưu lượng h (Q = f(h)) gọi là đường cong hiệu chuẩn tổn thất áp lực. Khi TNEN phải dùng đường cong này để hiệu chỉnh tổn thất cột nước thí nghiệm
Có một số trường hợp không cần hiệu chuẩn tổn thất áp lực trong cột ống ép như sau:
– Khi tổn thất không quá 5% cột nước áp lực thí nghiệm.
– Các ống mới dùng và có độ dài không lớn, như nêu ở bảng 2.
Bảng 2
|
Các ống mới |
Các điều kiện để không cần hiệu chuẩn |
||||
|
Đường kính ống (mm) |
Đường kính trong của khớp nối mm |
Lưu lượng nước, 1/ph không lớn hơn |
Chiều dài cột ống, m không lớn hơn |
Số lượng đầu nối không lớn hơn |
|
|
Ngoài |
Trong |
||||
|
73 |
65,5 |
62,5 |
100 |
30 |
10 |
|
|
|
|
60 |
200 |
65 |
|
50 |
39 |
22 |
15 |
10 |
3 |
|
|
|
|
10 |
50 |
33 |
|
42 |
32 |
16 |
5 |
50 |
17 |
4. Máy bơm và bể chứa nước
Để đưa nước vào hệ thống phân phối của bộ trang thiết bị TNEN, có thể dùng máy bơm, bể chứa nước và máy ép khí.
Máy bơm: thích dụng nhất là các máy bơm ly tâm vì nó tạo được áp lực đều. Cũng có thể dùng máy bơm piston tác dụng kép hoặc máy bơm hai piston tác dụng đơn. Trừ các máy bơm ly tâm, khi dùng các máy bơm khác cần có bộ điều chỉnh không khí
Cũng có thể tạo các bể chứa đủ lớn nằm cao hơn miệng hố khoan thí nghiệm một độ cao nào đó. Từ đây nước được đưa vào đoạn thí nghiệm của hố hoan bằng cách tự chảy. Phương thức này thích hợp khi thí nghiệm trong các đá thấm vừa – yếu.
TÀI LIỆU THAM KHẢO
1. Hướng dẫn xác định độ thấm nước của đá bằng phương pháp vào lỗ khoan P-656-75, do E.X.Karpusép lập. NXB “Energhia” Mátxcơva, 1978, Tiếng Nga.
2. Tiêu chuẩn Ấn Độ. Quy trình về thí nghiệm thấm tại thực địa. Phần II. Các thí nghiệm trong đá gốc. IS.5529 (phần II) 1973. Viện tiêu chuẩn Ấn Độ New Delhi, 1973. Tiếng Anh.
3. Thí nghiệm thấm ngoài trời. Jon Lâuvi và Philíp Giắctriô. Từ sách “Cẩm nang xây dựng nền” do Hanx.Ph.Uyntokoon và Hxai Iiang Phang xuất bản: Nhà xuất bản Công ty Van Noxtran Rainhôn 1975. Tiếng Anh.
4. Cơ học đá và các ứng dụng của nó. Gi.A. Talôbrơ. Xuất bản lần 2. NXB. Duynô. Paris 1967. Tiếng Pháp.
5. Phun (dung dịch) vào đất đá. Nguyên lý và phương pháp. H. Cambơrơ (Energhia) Mátxcơva, 1971. Tiếng Nga.
6. Hướng dẫn quan trắc động thái nước dưới đất HDTL B-l-75 Bộ Thủy lợi ban hành. Hà Nội 1976.
7. Quy phạm thiết kế nền công trình thủy công SNHIP 2.02.02.85 Xtrôlizđat Mátxcơva 1972. Tiếng Nga.
8. Thông tin nhanh. Năng lượng và điện khí hóa. Loạt thủy năng ở nước ngoài số 5 năm 1986 Mátxcơva. Tiếng Nga.
9. Chỉ dẫn về thiết kế vật liệu nước của các công trình thủy công ngầm BCH 045-72. Mátxcơva, 1973. Tiếng Nga.
10. Cơ học đá và nền các đập lớn. Fie lôngđơ. Uỷ ban đập lớn thế giới. Ban liên lạc quốc tế tiếng Pháp – Anh.
11. Quy trình xác định tính thấm nước của các nham thạch bằng phương pháp ép nước thí nghiệm vào lỗ khoan QTTL-B-2-74. Bộ Thủy lợi ban hành. 1975.
12. Quy trình kỹ thuật khoan máy của Bộ Thủy lợi QTTL 1-71 xuất bản năm 1971.
13. Địa chất và đập T III-A.A. Bôrôvoi chủ biên. NXB Năng lượng quốc gia. Mátxcơva – Lêningrat, 1963. Tiếng Nga.
14. Xkabalanovitr I.A. Tính toán địa chất thủy văn theo động lực học nước dưới đất NXB KHKT quốc gia các tài liệu về công tấc mỏ Mátxcơva 1960.
15. Cẩm nang của nhà địa chất thủy văn. Altopxki. M.E chủ biên. NXB KHKT quốc gia các tài liệu địa chất và bảo vệ lòng đất Mátxcơva 1962.
1 Từ đây về sau, dùng chữ “đá” để chỉ chung các đá cứng, nửa cứng ở nền công trình, bê tông cốt thép, đá xây… ở thân công trình. Chỉ ở những chỗ cần nêu riêng mới nhắc tách biệt từng loại cụ thể.
(*) Ghi chú: lưu lượng quy đổi (Qo) là lưu lượng nước tiêu hao trên 1m chiều dài của đoạn thí nghiêm Qo (l/ph)=f(H)


