Tiêu chuẩn ngành 52TCN–CTYT0041:2005

  • Loại văn bản: Tiêu chuẩn ngành
  • Số hiệu: 52TCN–CTYT0041:2005
  • Cơ quan ban hành: ***
  • Người ký: ***
  • Ngày ban hành: ...
  • Ngày hiệu lực: ...
  • Lĩnh vực: Xây dựng
  • Tình trạng: Không xác định
  • Ngày công báo: ...

Nội dung toàn văn Tiêu chuẩn ngành 52 TCN–CTYT 0041:2005 về tiêu chuẩn thiết kế – Bệnh viện quận, huyện


TIÊU CHUẨN NGÀNH                                                                                                                       

52 TCN – CTYT 0041 : 2005

TIÊU CHUẨN THIẾT KẾ – BỆNH VIỆN QUẬN, HUYỆN

1. Phạm vi áp dụng

1.1          Tiêu chuẩn được áp dụng khi lập, thẩm định dự án đầu tư xây dựng công trình, thiết kế xây dựng công trình, thiết kế xây dựng cải tạo Bệnh viện quận, huyện.

1.2          Có thể vận dụng khi xây dựng các cơ sở y tế ngang cấp thuộc các Bộ ngành, bệnh viện tuyến huyện và bệnh viện ngoài công lập có điều chỉnh theo từng quy mô cụ thể.

2. Tiêu chuẩn trích dẫn và căn cứ pháp lý

2.1.         Tiêu chuẩn Việt Nam: Phân cấp công trình xây dựng – Nguyên tắc chung TCVN 2748-1991.

2.2.         Tiêu chuẩn Việt Nam: Nhà và công trình công cộng – Nguyên tắc cơ bản để thiết kế TCVN 4319-1995.

2.3.         Tiêu chuẩn Việt Nam: Bệnh viện đa khoa – Yêu cầu thiết kế TCVN 4470-1995.

2.4.         Các tiêu chuẩn TCVN, TCXD hiện hành về yêu cầu kỹ thuật (chiếu sáng, thông gió, điện, nước, chất thải, PCCC, …) cho nhà và công trình công cộng.

2.5.         Tiêu chuẩn Việt Nam: An toàn bức xạ ion hoá tại cơ sở y tế TCVN 6561-1999.

2.6.         Nghị định số: 172/2004/NĐ-CP ngày 29 tháng 9 năm 2004 của Chính phủ quy định về hệ thống tổ chức y tế điạ phương.

2.7.         Quy định về Quy chế bệnh viện, ban hành kèm theo quyết định số 1895/QĐ-BYT ngày 19-9-1997 của Bộ trưởng bộ Y tế.

2.8.         Danh mục Trang thiết bị y tế của bệnh viện đa khoa huyện, ban hành kèm  theo quyết định số 437/QĐ-BYT ngày 20-2-2002 của Bộ trưởng bộ Y tế.

2.9.         Quy chế quản lý chất thải y tế ban hành kèm theo quyết định số 2575/1999 QĐ – BYT ngày 27/8/1999 của Bộ trưởng Bộ Y tế.

3. Quy định chung

3.2.         Bệnh viện quận, huyện cung cấp các dịch vụ khám – chữa bệnh đa khoa, chăm sóc sức khoẻ ban đầu cho cư dân trong địa bàn quận, huyện.

3.3.         Bệnh viện quận, huyện có các chức năng, nhiệm vụ chính sau:

1.     Thực hiện khám và chữa bệnh đa khoa: nội, ngoại, phụ, sản, nhi, răng hàm mặt, tai mũi họng, mắt, bệnh truyền nhiễm và y học cổ truyền (Chức năng, nhiệm vụ của bệnh viện đa khoa hạng III);

2.     Đảm nhiệm vai trò tuyến trên trực tiếp của y tế cơ sở (phòng khám đa khoa khu vực, trạm y tế cơ sở), tiếp nhận bệnh nhân từ tuyến cơ sở và chuyển tiếp bệnh nhân nặng lên tuyến trên (trong trường hợp cần thiết);

3.     Tư vấn, đào tạo nghiệp vụ và cập nhật thông tin y tế cho cán bộ tuyến cơ sở trong địa bàn;

3.4.         Bệnh viện quận, huyện được thiết kế theo các quy mô sau:

1.     Quy mô nhỏ (phục vụ quận, huyện có số dân nhỏ hơn 150 000 người):

Bệnh viện đa khoa hạng III; Quy mô từ 50 đến 100 giường bệnh.

2.     Quy mô lớn (phục vụ quận, huyện có số dân lớn hơn 150 000 người):

Bệnh viện đa khoa hạng III; Quy mô từ 150 đến 200 giường bệnh.

3.5.         Cơ cấu giường bệnh của các khoa nội trú trong Bệnh viện quận, huyện được quy định trong bảng 1.

Bảng 1;

Tên khoa

Số giường

Tỷ lệ

Quy mô nhỏ

Quy mô lớn

1.   Nội – Y học cổ truyền

17 đến 34

51 đến 68

34

2.     Ngoại

11 đến 22

33 đến 44

22

3.     Phụ – Sản

7 đến 14

21 đến 28

14

4.     Nhi

6 đến 12

18 đến 24

12

5.     Răng hàm mặt – Tai mũi họng – Mắt

3 đến 6

9 đến 12

6

6.     Truyền nhiễm

3 đến 6

9 đến 12

6

7.     Cấp cứu hồi sức

3 đến 6

9 đến 12

6

Tổng cộng

50 đến 100

150 đến 200

100%

 

3.6.         Cơ cấu khoa khám – chữa bệnh ngoại trú của Bệnh viện quận, huyện được quy định trong bảng 2.

Bảng 2.

Phân loại

Số chỗ khám bệnh

Ghi chú

Quy mô nhỏ

Quy mô lớn

Tỷ lệ (%)

1.  Nội

1 đến 3 chỗ

4 đến 5 chỗ

20

2 – 4 chỗ khám bỗ trí 01 phòng thủ thuật chữa bệnh

2.     Ngoại

1 đến 2 chỗ

3 đến 4 chỗ

15

2 chỗ khám bỗ trí 01 phòng thủ thuật chữa bệnh

3.  Sản

1 chỗ

2 chỗ

10

Đặt tại khoa phụ sản

4.  Phụ

1 chỗ

1 chỗ

6

5.  Nhi

1 chỗ

2 đến 3 chỗ

15

Kết hợp khám và chữa

6.  Răng hàm mặt

1 đến 2 chỗ

1 đến 2 chỗ

6

Kết hợp khám và chữa

7.  Tai mũi họng

1 chỗ

1 đến 2 chỗ

6

-nt-

8.  Mắt

1 chỗ

1 đến 2 chỗ

6

-nt-

9.  Truyền nhiễm

1 chỗ

1 đến 2 chỗ

6

Chỗ khám, chữa được cách ly

10.    Y học cổ truyền

1 chỗ

1 đến 2 chỗ

10

Đặt tại khoa Nội

Tổng cộng

10 – 13 chỗ

17 – 25 chỗ

100%

 

Ghi chú: chỗ khám là nơi khám bệnh của 01 bác sỹ/1ca.

3.7.         Các hạng mục công trình của Bệnh viện quận, huyện được quy định theo tiêu chuẩn TCVN 2748-1991 và TCXD 13-1991 với các nội dung sau:

          Cấp nhà và công trình: cấp II

          Độ bền vững: bậc II

4. Yêu cầu về khu đất xây dựng

            Khu đất xây dựng của Bệnh viện quận, huyện phải đảm bảo các yêu cầu sau:

4.1.         Có các điều kiện kỹ thuật hạ tầng tốt nhất của khu vực;

4.2.         Điều kiện môi trường phải đáp ứng tiêu chuẩn, quy định của công trình y tế;

4.3.         Vị trí phải dễ tiếp cận từ các khu dân cư trong địa bàn, gần đường giao thông chính, phù hợp với quy hoạch chung. Không ở trong khu vực có nguy cơ nguy hiểm do thiên tai và xử lý nền móng phức tạp.

4.4.          Diện tích, kích thước phải đủ để bố trí, xây dựng các hạng mục công trình, có dự trữ cho phát triển, mở rộng khi cần.

4.5.         Bán kính phục vụ từ 25 đến 30km.

5. Yêu cầu về mặt bằng tổng thể

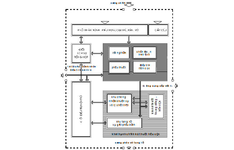
5.1.         Sơ đồ hoạt động của bệnh viện quận, huyện:

5.2.         Mặt bằng tổng thể của Bệnh viện quận, huyện gồm các khối công trình sau:

5.2.1.     Khoa Khám – chữa bệnh ngoại trú;

             Khu vực đón tiếp làm thủ tục.

             Khoa khám bệnh.

             Bộ phận cấp cứu ban đầu.(Lối vào riêng)

5.2.2.     Khối kỹ thuật nghiệp vụ;

             Khoa xét nghiệm.

             Khoa chẩn đoán hình ảnh.

             Đơn vị phẫu thuật.

             Khoa cấp cứu, chăm sóc tích cực.

             Khoa giải phẫu bệnh lý.

             Khoa dược.

             Khoa dinh dưỡng

             Khoa chống nhiễm khuẩn.

5.2.3.     Khối điều trị nội trú;

             Khoa nội

             Khoay học cổ truyền.

             Khoa ngoại.

             Khoa RHM

             Khoa TMH

             Khoa Mắt.

             Khoa truyền nhiễm.

             Khoa nhi.

             Khoa sản.

5.2.4.     Khối hành chính – hậu cần kỹ thuật;

             Hành chính.

             Nhà tang lễ.

             Khu kho, xưởng.

             Nhà xe, nhà thường trực, trạm xử lý nước, chất thải…

5.2.5.     Khối dịch vụ tổng hợp;

             Khu bán thuốc, dụng cụ y tế.

             Căng tin, giải khát, ăn uống.

             Dịch vụ bưu điện, hoa tươi…

             Khu nhà thăm thân.

5.3.         Tổng diện tích mặt bằng của khu đất xây dựng Bệnh viện quận, huyện được quy định trong bảng 3.

Bảng 3.

Quy mô

Diện tích khu đất

Diện tích tiêu chuẩn (m²/ giường bệnh)

Diện tích đất

 tối thiểu (ha)

1.       Quy mô nhỏ

100 – 120

0,5 – 1,2

2.       Quy mô lớn

70 – 90

1,2 – 2,0

5.4.         Diện tích chiếm đất của tất cả các khối công trình (mật độ xây dựng) không lớn hơn 35% tổng diện tích khu đất.

Chú thích:

– Tại các đô thị diện tích chiếm đất của công trình cho phép không lớn hơn 40% diện tích khu đất.

5.5.         Khoảng cách từ công trình tới chỉ giới đường đỏ, chỉ giới xây dựng được thiết kế theo tiêu chuẩn TCVN 4470-1995 và điều lệ quản lý quy hoạch chung.

5.6.         Diện tích cây xanh không nhỏ hơn 35% tổng diện tích khu đất.

5.7.         Hệ thống giao thông nội bộ trong Bệnh viện quận, huyện phải đảm bảo các yêu cầu sau:

5.7.1.     Các luồng giao thông không chồng chéo ( sạch – bẩn một chiều).

5.7.2.     Thuận tiện cho hoạt động của nhân viên, khách, bệnh nhân, dịch vụ hậu cần, vận chuyển rác và xác, phải có tối thiểu 2 cổng ra vào;

– Cổng chính dành cho bệnh nhân, CBCNV và khách, bố trí đường riêng cho cấp cứu 24h/ngày.

– Cổng phụ dành cho cung ứng vật tư, vận chuyển chất thải, kỹ thuật phụ trợ và phục vụ tang lễ .

5.7.3.     Đường nội bộ phải được thiết kế theo tiêu chuẩn dành cho xe cấp cứu, xe vận chuyển vật tư và xe chữa cháy (tới được tất cả các khu vực);

5.7.4.     Hệ thống hành lang, đường dốc, nhà cầu phải được thiết kế có mái che theo tiêu chuẩn dành cho người đi bộ, người khuyết tật, xe đẩy cáng, xe lăn và đảm bảo liên hệ thuận tiện giữa các khối công trình;

5.8.         Diện tích sân, đường nội bộ từ 25 đến  30% tổng diện tích khu đất.

5.9.         Bệnh viện quận, huyện phải có hàng rào bảo vệ xung quanh cao tối thiểu 1,8m.

6. Yêu cầu về giải pháp thiết kế các hạng mục công trình

6.1.         Yêu cầu chung

6.1.1.     Giải pháp thiết kế mặt bằng của Bệnh viện quận, huyện phải đảm bảo các yêu cầu sau:

  1. Phù hợp với công năng, thuận tiện cho hoạt động khám và chữa bệnh, chăm sóc sức khoẻ ban đầu;
  2. Dây chuyền hoạt động phải theo nguyên lý sạch – bẩn một chiều, riêng biệt;
  3. Đáp ứng yêu cầu môi trường sạch và an toàn vệ sinh phòng bệnh;
  4. Đáp ứng yêu cầu lắp đặt, sử dụng của các trang thiết bị trong danh mục của Bộ trưởng Bộ y tế ban hành.
  5. Đáp ứng yêu cầu cải tạo, nâng cấp và mở rộng khi cần thiết;

6.1.2.     Kích thước phòng

  1. Chiều cao bên trong phòng làm việc không thấp hơn: 3,0m.
  2. Chiều cao bên trong phòng phụ, hành lang không thấp hơn: 2,8m.
  3. Chiều rộng bên trong phòng làm việc theo yêu cầu sử dụng   

và lắp đặt thiết bị, một chiều không nhỏ hơn: 2,5m.

6.1.3.     Kích thước hành lang

1.     Chiều rộng của hành lang chính không nhỏ hơn:  3,0m.

2.     Chiều rộng của hành lang bên không nhỏ hơn: 2,1m.

3.     Chiều cao hành lang nhà cầu không thấp hơn: 2,8m

6.1.4.     Kích thước cửa đi

1.     Chiều cao của cửa đi không thấp hơn: 2,1m.

2.     Chiều rộng của cửa đi 1 cánh không nhỏ hơn: 0,9m.

3.     Chiều rộng của cửa đi 2 cánh không nhỏ hơn: 1,2m.

4.     Chiều rộng của cửa đi chính vào các phòng mổ, đỡ đẻ, cấp cứu và chăm sóc tích cực không nhỏ hơn 1,4 m (2 cánh)

6.1.5.     Kích thước cầu thang và đường dốc

Độ dốc của cầu thang tối đa: 50%.

Chiều rộng của mỗi vế thang không nhỏ hơn: 2,1m.

Chiều rộng của chiếu nghỉ cầu thang không nhỏ hơn: 2,4m

Độ dốc của đường dốc không được lớn hơn: 10%.

Chiều rộng của đường dốc không nhỏ hơn: 2,1m.

Chiều rộng của chiếu nghỉ đường dốc không nhỏ hơn: 2,4m.

Kích thước thang máy(cabin) phải đủ cho cáng bệnh nhân và 04 người; chiều dài rộng X dài không nhỏ hơn 1,1m X 2,3m.  

Chú thích:

          Tại lối ra vào chính phải có đường dốc dành cho người khuyết tật (chiều rộng không nhỏ hơn 1,2m).

6.2.         Yêu cầu đối với các hạng mục công trình

6.2.1.     Khoa Khám – chữa bệnh ngoại trú:

1.   Sơ đồ dây chuyền công năng khoa khám – chữa bệnh ngoại trú:

 

 

 

 

 

 

 

 

2.   Diện tích sử dụng của khoa khám – chữa bệnh ngoại trú được quy định trong bảng 4.

Bảng 4.

Tên khoa, phòng

Diện tích theo quy mô (m²)

Ghi chú

Quy mô nhỏ

Quy mô lớn

50 ¸100 giường

150 ¸ 200 giường

Khối đón tiếp:

82 ¸ 120

204 ¸ 260

Diện tích tối thiểu

1. Đón tiếp và phát số

40 ¸ 60

120 ¸ 140

Gồm sảnh đón tiếp, chỗ đợi lấy số

2. Thủ tục – thanh toán

12 ¸ 18

24 ¸ 36

Diện tích tối thiểu

3. Cung ứng thuốc

 12 ¸ 18

24 ¸ 36

– nt –

4. Vệ sinh

18 ¸ 24

36 ¸ 48

– nt –

Khoa khám – chữa bệnh ngoại trú:

126 ¸ 255

285 ¸ 355

 

5. Khám nội

9 ¸27

36 36 ¸ 45

Diện tích tối thiểu 9 m2/ chỗ

6. Thủ thuật nội

¸ 18

24

Diện tích tối thiểu

7. Khám ngoại

9 ¸ 27

27 ¸ 36

Diện tích tối thiểu 9 m2/ chỗ

8. Thủ thuật ngoại

¸ 18

24

Diện tích tối thiểu

9. Chuẩn bị dụng cụ

¸ 9

18

Diện tích tối thiểu 9 m2/ chỗ

10.  Khám nhi

12

24 ¸ 36

Diện tích tối thiểu 12 m2/ chỗ

11.  Bệnh truyền nhiễm

1212

12 ¸ 24

Diện tích tối thiểu 12 m2/ chỗ

12.  Răng hàm mặt

99

9 ¸ 18

– nt –

13.  Tai mũi họng

99

9 ¸ 18

– nt –

14.  Mắt

12

18 ¸ 24

Diện tích tối thiểu, có kết hợp chỗ do thị lực có chiều dài 6 m

15.  Trưởng khoa

1818

1212

12

Diện tích tối thiểu

16.  Hành chính và giao ban..

1818

24

– nt –

17.  Vệ sinh, thay quần áo nhân viên

18 ¸ 36

48 ¸ 52

Diện tích tối thiểu, nam/nữ

Tổng cộng

208 ¸ 375

489 ¸ 615

 

Tỷ lệ m2/ giường

4,1  ¸ 3,8

3,2 ¸ 3,0

Tính trung bình 3.5m2/giường

            Chú thích:

                 Khám – chữa Y học cổ truyền, thai, sản bố trí tại khoa Y học cổ truyền và khoa sản.

                 Số chỗ đợi (cho bệnh nhân và người nhà) tính bằng 20 đến 25% tổng số lượt khám trong ngày, quy định 1.6 m2/ chỗ.

                 Phòng thủ tục – thanh toán, căng tin và cung ứng thuốc phải được thiết kế kết hợp với phòng đợi lấy số trong không gian lớn.

                 Khu đón tiếp phải gần cổng và lối ra vào chính, liên hệ thuận tiện với khám và chữa bệnh ngoại trú.

                 Khoa Khám bệnh phải gần cổng chính, liên hệ thuận tiện với khối kỹ thuật nghiệp vụ

6.2.2.     Khối kỹ thuật nghiệp vụ.

1          Khối kỹ thuật nghiệp vụ gồm các bộ phận sau:

       Khoa Xét nghiệm.

       Khoa Chẩn đoán hình ảnh.

       Đơn vị Phẫu thuật.

       Khoa cấp cứu, chăm sóc tích cực.

       Khoa giải phẫu bệnh lý;

       Khoa dược;

       Khoa chống nhiễm khuẩn;

       Khoa dinh dưỡng;

2          Các bộ phận trong khối kỹ thuật nghiệp vụ phải liên hệ thuận tiện với nhau, với các khối khám – chữa bệnh ngoại trú, khối điều trị nội trú.

3          Sơ đồ dây chuyền công năng của khoa xét nghiệm:

 

 

 

 

 

 

 

 

 

4          Sơ đồ dây chuyền công năng của khoa chẩn đoán hình ảnh:

 

 

 

 

 

 

 

 

 

 

5          Sơ đồ dây chuyền công năng của đơn vị phẫu thuật:

 

 

 

 

 

 

 

 

 

 

6          Sơ đồ dây chuyền công năng của khoa cấp cứu hồi sức:

 

 

 

 

 

 

 

 

 

 

 

7          Sơ đồ dây chuyền công năng của khoa chống nhiễm khuẩn:

 

 

 

 

 

 

 

 

 

 

 

8          Diện tích sử dụng của các khoa, khối kỹ thuật nghiệp vụ được quy định trong bảng 5.

Bảng 5.

Tên khoa, phòng

Diện tích theo quy mô (m²)

Ghi chú

Quy mô nhỏ

Quy mô lớn

50 ¸100 giường

150  ¸ 200 giường

Khoa xét nghiệm 

 120  ¸191

234  ¸ 296

 

1.    Trực tiếp nhận, trả kết quả

12

18  ¸ 24

Diện tích tối thiểu

2.    Xét nghiệm

60  ¸ 80

120  ¸ 140

– nt –

3.    Rửa, tiệt trùng

12

12

18 ¸ 24

– nt –

4.    Kho

9

12 ¸ 18

5.    Hành chính giao ban

12 ¸ 18

24 ¸ 36

– nt –

6.    Trưởng khoa

12

18

– nt –

7.    Khu vệ sinh, thay quần áo nhân viên

12 ¸24

24 ¸ 36

– nt –

Khoa chẩn đoán hình ảnh

120 ¸ 147

162 ¸ 207

 

1.        Trực tiếp nhận, trả kết quả

18

24 ¸ 36

Diện tích tối thiểu

2.        Phòng X – Quang

24

24

– nt –

3.        Siêu âm

12  ¸ 18

27 ¸ 36

Diện tích tối thiểu 9 m2/ chỗ

4.        Tháo thụt

9

9

Diện tích tối thiểu

5.        Rửa phim

12  ¸ 18

 18 ¸ 24

Diện tích tối thiểu

6.        Kho

¸ 12

12 ¸ 18

– nt –

7.        Trưởng khoa

12

12

– nt –

8.        Khu vực nhận viên + điều khiển

12  ¸ 18

18  ¸ 24 

– nt –

9.        Vệ sinh, thay quần áo

12  ¸ 18

 18 ¸ 24

– nt –

Đơn vị phẫu thuật

186 ¸222

258 ¸342

 

1.        Phòng Mổ hữu trùng

36

36

Diện tích tối thiểu 36 m2/ phòng

2.        Phòng Mổ tổng hợp

36

36 ¸ 72

– nt –

3.        Dụng cụ vô khuẩn

12

12 ¸ 15

Diện tích tối thiểu

4.        Hồi tỉnh

12 ¸ 18

18 ¸ 27

– nt –

5.        Bán khử khuẩn

12  ¸ 18

18 ¸ 24

Diện tích tối thiểu 12 m2/ phòng

6.        Trưởng khoa

12

12

– nt –

7.        Hành chính giao ban hội chẩn

12 ¸ 18

24 ¸ 36

Diện tích tối thiểu

8.        Phẫu thuật viên

12 ¸ 18

24 ¸ 36

– nt –

9.        Kho

12

18 ¸ 24

Diện tích tối thiểu

10.     Trực, tiếp nhận

12 ¸ 18

24

– nt –

11.     Vệ sinh, thay đồ

18 ¸ 24

36

– nt –

Khoa cấp cứu hồi sức

150 ¸ 189

264 ¸ 288

 

A. Đơn vị Cấp cứu (Đặt tại khu khám)

1.        Cấp cứu

12 ¸18

36

 

2.        Trực cấp cứu

¸ 9

12

 

3.        Chuẩn bị dụng cụ

12

18

 

B. Đơn vị hồi sức

1.        Chăm sóc tích cực

48 ¸ 96

144 ¸ 192

Diện tích tối thiểu

2.        Thủ thuật

18

24

– nt –

3.        Trực theo dõi

18 ¸ 24

24 ¸ 36

– nt –

4.        Trưởng khoa

12

18

– nt –

5.        Bác sỹ

12

18

– nt –

6.        Y tá điều dưỡng

12

18 ¸ 24

– nt –

7.        Chuẩn bị dụng cụ

12 ¸ 18

18 ¸ 24

– nt –

8.        Hội chẩn, giao ban

12 ¸ 18

36

– nt –

9.        Thay đồ

18 ¸ 24

24

– nt –

10.     Kho

12

18

– nt –

Khoa giải phẫu bệnh lý

84 ¸ 90

114 ¸ 144

 

0.    Để xác

12 ¸18

24¸36

Diện tích tối thiểu

1.    Mổ xác

 

18

– nt –     

2.    Khâm liệm

18

18 ¸24

– nt –     

3.    Tang lễ

36

36¸48

– nt –     

4.    Chuẩn bị

18

18

– nt –     

Khoa dược

72 ¸ 129

150 ¸ 198

 

1.  Tiếp nhận

12

9

12¸18

Diện tích tối thiểu 12m2/p

2.  Cấp phát

12

12¸18

Diện tích tối thiểu

3.  Kiểm nghiệm

 

12¸18

– nt –     

4.  Kho dược

18¸24

36¸48

– nt –     

5.  Kho dụng cụ thiết bị

12

18

– nt –     

6.  Kho phụ 

¸12

18

– nt –     

7.  Hành chính + trưởng khoa

18

24¸36

– nt –     

8.  Vệ sinh

12¸18

18¸24

– nt –     

Khoa chống nhiễm khuẩn

147 ¸ 198

282 ¸ 336

 

1.        Tiếp nhận

12

18¸24

Diện tích tối thiểu

2.        Giặt là

18¸24

24¸36

– nt –     

3.        May vá, sửa chữa

9¸12

12¸18

– nt –     

4.        Kho đồ vảI sạch

12¸18

24

– nt –     

5.        Rửa

18¸24

36¸42

– nt –     

6.        Hấp, sấy tiệt trùng

18¸24

36

– nt –     

7.        Đóng gói

¸18

36

– nt –     

8.        Kho vô khuẩn

12

18

Diện tích tối thiểu

9.        Cấp phát

12

18¸24

– nt –     

10.     Hành chính + trưởng khoa

18

24¸36

– nt –     

11.     Vệ sinh, thay quần áo nhân viên

18¸24

36¸42

– nt –     

Khoa dinh dưỡng

126 ¸ 182

222 ¸ 292

 

1.     Tiếp nhận, gia công

12¸18

24

Diện tích tối thiểu

2.     Rửa, chuẩn bị

12¸18

24¸36

– nt –     

3.     Bếp, chế biến

24¸32

32¸48

– nt –     

4.     Soạn chia

¸18

24¸36

– nt –     

5.     Kho phụ

12

18¸24

– nt –     

6.     Ăn

36¸48

52¸64

– nt –     

7.     Hành chính

18

24

– nt –     

8.     Vệ sinh

12¸18

24¸36

– nt –     

Tổng cộng

985 ¸ 1348

1686 ¸ 2103

 

Tỷ lệ m2/ giường

19.7 ¸ 13.4

11.2 ¸10.5

Tính trung bình 12,7m2/giường

Chú thích:

       Labo vi sinh phải được bố trí riêng biệt, không làm ảnh hưởng tới các bộ phận khác trong khoa XN .

       Khoa Chẩn đoán hình ảnh ở tầng trệt, gần đơn vị Cấp cứu ban đầu và có hàng lang kết hợp chỗ đợi riêng.

       Mỗi phòng X – quang chỉ được phép đặt 01 máy chụp X – quang, giải pháp tường, trần, cửa phải tuân thủ quy định an toàn bức xạ ion hoá tại tiêu chuẩn TCVN 6561 – 1999.

       Đơn vị Phẫu thuật không bố trí giao thông xuyên qua, dễ dàng liên hệ với bệnh nhân cần phẫu thuật (gần khoa Ngoại, cấp cứu hồi sức và khoa Phụ – Sản) .

       Đơn vị Phẫu thuật phải có điều kiện vệ sinh ở mức độ cao nhất, được phân chia thành các khu (theo thứ tự tăng dần cấp độ sạch từ ngoài vào trong).

       Nhà Đại thể được bố trí cách ly, không gây ô nhiễm môi trường và ảnh hưởng đến các bộ phận khác, nhưng phải có giao thông thuận tiện cho vận chuyển xác, Phòng mổ xác đảm bảo vệ sinh phòng bệnh (cách ly, áp lực âm so với bên ngoài).

6.2.3.     Khối điều trị nội trú.

1.     Khối điều trị nội trú gồm các bộ phận sau:

       Khoa Nội, Y học cổ truyền

       Khoa Ngoại

       Khoa Phụ, sản

       Khoa Nhi

       Khoa Răng hàm mặt – Tai mũi họng – Mắt.

       Khoa Truyền nhiễm.

2.     Các khoa, phòng trong khối điều trị nội trú được thiết kế theo mô đun đơn nguyên bệnh phòng (ĐNBP) có từ 10 đến 35 giường. Mỗi mô đun ĐNBP gồm 2 khu: bệnh nhân, kỹ thuật phục vụ và nhân viên.

Chú thích:

       Các khoa có số giường (theo quy mô) không đủ số giường tối thiểu của ĐNBP, cho phép kết hợp từ 2 đến 3 khoa trong một ĐNBP (liên khoa).

       Khu bệnh nhân liên khoa phải có phòng bệnh nhân được phân loại riêng theo từng chuyên khoa.

3.     Sơ đồ dây chuyền hoạt động của đơn nguyên điều trị nội trú:

4.     Diện tích sử dụng của Khối điều trị nội trú được quy định trong bảng 6.       

Bảng 6.

Tên khoa, phòng

Diện tích theo quy mô(m²)

Ghi chú

Quy mô nhỏ

Quy mô lớn

50 ¸100 giường

150¸200 giường

Khoa nội, Khoa y học cổ truyền

309 ¸515

723 ¸964

 

A. Khu bệnh nhân

1.  Bệnh nhân thường

85 ¸195

279 ¸ 390

Diện tích tối thiểu 6.5 m2/giường

2.  Bệnh nhân cách ly

26

48 ¸ 52

– nt –       

1.   Sinh hoạt bệnh nhân

18 ¸ 24

36

diện tích tối thiểu

2.   Khu vệ sinh bệnh nhân

24 ¸ 36

36 ¸ 48

-nt-

B. Khu vực kỹ thuật phụ trợ và nhân viên

3.   Trực, tiếp nhận, hành chính

12 ¸ 18

24 ¸ 36

-nt-

4.   Thủ thuật nội khoa

 12 ¸ 24

36

-nt-

5.   Giao ban, hội chẩn

18

24 ¸ 36

-nt-

6.   Chuẩn bị dụng cụ, thuốc

 12 ¸ 18

24

-nt-

7.   Kho

12 ¸ 18

24 ¸ 36

-nt-

8.   Trưởng khoa

12

12

diện tích tối thiểu

9.   Phó khoa

 

12

-nt-

10. Bác sỹ

12 ¸ 24

36 ¸ 48

-nt-

11. Y tá điều dưỡng

 12 ¸ 18

24 ¸ 36

-nt-

12. Thay đồ nhân viên

18 ¸ 24

36 ¸ 48

-nt-

13. Điều trị YHCT

24 ¸ 36

48 ¸ 72

-nt-

14. Thuốc đông y

12

18 ¸ 24

-nt-

15.  Kho đông y

12

18

Diện tích tối thiểu

Khoa ngoại, RHM –

TMH – Mắt

280¸579

695 ¸ 940

 

A. Khu vực bệnh nhân

1.   Bệnh nhân thường

104 ¸ 325

337 ¸ 468

Diện tích tối thiểu 6.5m2/g

2.   Bệnh nhân cách ly

26

52

-nt-

3.   Sinh hoạt bệnh nhân

18 ¸ 24

36 ¸ 48

Diện tích tối thiểu

4.   Vệ sinh bệnh nhân

24 ¸ 36

48

-nt-

B. Khu vực kỹ thuật phụ trợ và nhân viên

1.   Trực, tiếp nhận, hành chính

12 ¸ 18

24 ¸ 36

-nt-

2.   Thủ thuật ngoại

12 ¸ 24

24 ¸ 36

-nt-

3.   Giao ban, hội chẩn

12 ¸ 18

24 ¸ 36

-nt-

4.     Chuẩn bị dụng cụ, thuốc

9 ¸12

24 ¸ 36

-nt-

5.   Kho

9 ¸12

18 ¸ 36

-nt-

6.   Trưởng khoa

12

12

 

7.   Phó khoa

¸12

12

-nt-

8.   Bác sỹ

12 ¸18

24 ¸ 36

Diện tích tối thiểu

9.   Y tá điều dưỡng

12 ¸18

24 ¸ 36

-nt-

10.              Thay đồ nhân viên

18 ¸ 24

36 ¸ 48

-nt-

Khoa truyền nhiễm

26 ¸ 52

79 ¸ 105

 

A. Khu vực bệnh nhân

1.     Bệnh nhân, cách ly đặc biệt

19 ¸ 40

58 ¸ 78

Diện tích tối thiểu 6.5m2/g

B. Khu vực kỹ thuật, phụ trợ và nhân viên

7 ¸12

21 ¸ 27

Diện tích tối thiểu 2.3m2/g

Khoa nhi, sản

318 ¸ 429

642 ¸ 790

 

1.      Bệnh nhân phụ khoa

12 ¸18

24 ¸ 36

Diện tích tối thiểu 12m2/p

2.      Sản phụ

16 ¸ 43

64 ¸ 74

-nt-

3.      Sản phụ cách ly

9 ¸18

24 ¸ 36

-nt-

4.      Trẻ sơ sinh

12

24 ¸ 36

-nt-

5.      Chờ đẻ

18

18 ¸ 36

-nt-

6.      Sinh hoạt bệnh nhân

36 ¸ 48

52 ¸ 64

Diện tích tối thiểu

7.      Trực, tiếp nhận hành chính

18 ¸ 24

36 ¸ 42

-nt-

8.      Thực hiện KHHGĐ

28

56

Diện tích tối thiểu 28m2/p

9.      Phòng đẻ

28

56

-nt-

10.   Khám sản

12

24

Diện tích tối thiểu 12m2/p

11.   Khám phụ khoa

12

24

-nt-

12.   Chuẩn bị dụng cụ

12 ¸18

24 ¸ 36

Diện tích tối thiểu

13.   Rửa tiệt trùng

18

36

-nt-

14.   Kho

12 ¸ 24

36 ¸ 48

-nt-

15.   Trưởng khoa

12

12

-nt-

16.   Phó khoa

¸ 12

12

 

17.   Bác sỹ

18 ¸ 24

36 ¸ 48

-nt-

18.   Y tá điều dưỡng

18

24 ¸ 36

-nt-

19.   Giao ban, hội chẩn

12 ¸18

24 ¸ 36

-nt-

20.   Vệ sinh, thay quần áo nhân viên.

18 ¸ 24

36

-nt-

Tổng cộng

948 ¸1575

2133 ¸ 2793

 

Tỷ lệ m2/giường

18.9 ¸15.7

14.3 ¸13.9

Tính trung bình 14m2/giường

Chú thích:

             Đơn nguyên bệnh phòng của các khoa trong khối đIều trị nội trú có từ 10 – 35 giường lưu. Trong trường hợp số giường lưu nhỏ hơn 15 giường cho phép bố trí liên khoa.

             Số giường lưu bệnh nhân cách ly từ 20-30% tổng số giường lưu của khoa.

             Khoa Ngoại nên bố trí gần với đơn vị phẫu thuật, phụ – sản và khu hồi sức cấp cứu .

             Phòng trẻ sơ sinh liền kề phòng sản phụ, có vách kính để quan sát.

             Khoa phụ – sản bố trí ở tầng trệt (có đường dốc cho xe đẩy) có hành lang kết hợp chỗ chờ khám và đợi của ngươì nhà sản phụ.

             ở quy mô lớn, khoa truyền nhiễm phải bố trí cách ly, đảm bảo vệ sinh phòng bệnh.

             Tuỳ theo cơ sở y tế, có thể bố trí vệ sinh trong phòng bệnh nhân.

6.2.4.     Khối hành chính – Hậu cần kỹ thuật

1.       Khối hành chính – hậu cần kỹ thuật gồm các bộ phận sau:

          Hành chính;

          Nhà kho;

          Xưởng sửa chữa;

          Nhà xe nhân viên;

          Nhà để ô tô;

          Nhà thường trực;

          Trạm xử lý nước thải;

          Trạm xử lý chất thải rắn;

2.       Diện tích làm việc của Khối hành chính – hậu cần kỹ thuật quy định trong bảng 7.

Bảng 7.

Khu vực, tên phòng

Diện tích theo quy mô (m²)

Ghi chú

Quy mô nhỏ

Quy mô lớn

50 ¸100 giường

150 ¸ 200 giường

Hành chính

230 ¸ 280

395 ¸ 480

 

1.  Văn thư – Tổng đài

18

18 ¸24

Diện tích tối thiểu

2.  Lưu trữ hồ sơ

18 ¸ 24

36 ¸ 48

 

3.  Tổ chức – Hành chính quản trị

12 ¸ 18

24¸36

– nt –

4.   Vật tư thiết bị

12 ¸ 18

18 ¸ 24

– nt –

5.  Tài vụ

12 ¸ 18

18 ¸ 24

– nt –

6.  Kế hoạch – nghiệp vụ

12 ¸ 18

24¸36

– nt –

7.  Phòng họp

60 ¸ 80

120 ¸140

Diện tích tối thiểu 0.8m2/p

8.  Thư viện

48 ¸ 54

60 ¸ 80

– nt –

9.  Giám đốc

24

24

Bao gồm cả trao dổi công tác

10.  Phó giám đốc

12

24

Diện tích tối thiểu

11.  Phó giám đốc

12

24

– nt –

12.  điều dưỡng trưởng

12 ¸ 15

18 ¸ 24

 

13.  phòng khách

18 ¸ 24

36 ¸ 48

– nt –

14.  Kho

9 ¸ 12

18 ¸24

– nt –

15.  Vệ sinh

18 ¸ 24

24 ¸ 36

Diện tích tối thiểu, nam nữ riêng

Kho chung

25 ¸ 50

75 ¸ 100

Không nhỏ hơn  0,5m² / giường lưu

Khu xưởng sửa chữa

20 ¸ 40

60 ¸ 80

Không nhỏ hơn  0,4m² / giường lưu

Nhà để xe nhân viên

70 ¸ 130

180 ¸ 210

Không nhỏ hơn  0,9m² / xe đạp, 2m² / xe máy

Các hạng mục còn lại

40 ¸ 70

90 ¸ 110

Nhà thường trực, trạm cấp điện, nước….

Tổng cộng

452 ¸ 634

885 ¸ 1094

 

Tỷ lệ m2/giường

9.04 ¸ 6.43

5.9 ¸ 5.47

Tính trung bình 5.5m2/giường

Chú thích:

Diện tích làm việc các bộ phận còn lại của khối hành chính – hậu cần kỹ thuật :

+      Nhà để xe ôtô (từ 1 đến 2 xe, tối thiểu 18m² / xe ôtô);

+      Bãi để xe của bệnh nhân, khách (có mái che);

+      Nhà thường trực, bảo vệ (từ 1 đến 2 phòng tối thiểu 9m² / phòng);

+      Trạm cấp điện (biến áp, máy phát điện dự phòng);

+      Trạm cấp nước (máy bơm, hệ thống xử lý nước sạch);

+      Trạm xử lý nước thải;

+      Trạm xử lý chất thải rắn;

3.       Khối hành chính – hậu cần kỹ thuật bố trí xa các khối công trình chính, không được làm ảnh hưởng hoạt động khám – chữa bệnh và phù hợp với quy hoạch tổng thể. Tổng diện tích làm việc của khối hành chính – hậu cần kỹ thuật không nhỏ hơn 5,5m²/giường lưu.

6.2.5.     Khối dịch vụ tổng hợp

1.     Khối dịch vụ tổng hợp gồm các bộ phận sau:

       Bán thuốc, dụng cụ y tế;

       Giải khát, ăn uống;

       Dịch vụ thông tin, hoa tươi…

       Nhà thăm thân bệnh nhân

2.     Khối dịch vụ tổng hợp chủ yếu là phục vụ người nhà bệnh nhân, diện tích sử dụng của được tính căn cứ vào số gường lưu, Tổng diện tích làm việc của khối dịch vụ tổng hợp không nhỏ hơn 3 m²/giường lưu.

6.2.6.     Diện tích các đơn vị của Bệnh viện quận, huyện được thống kê trong bảng 9.

Bảng 9.

Tên đơn vị

Diện tích sử dụng (m²)

Diện tích trung bình

(m²/giường)

Quy mô nhỏ

Quy mô lớn

1.    Khoa khám – chữa bệnh ngoại trú

208 ¸ 375

489 ¸ 615

4

2.    Kỹ thuật nghiệp vụ

985 ¸ 1348

1686 ¸ 2097

13

3.    Điều trị nội trú

948 ¸1575

2133 ¸ 2793

14

4.          Khối hành chính – hậu cần kỹ thuật

452 ¸ 634

885 ¸ 1094

6

5.          Dịch vụ tổng hợp

150 ¸ 300

450 ¸ 600

không nhỏ hơn 3m2/giường lưu.

Tổng cộng

2743 đến 4232

5643 đến 7199

40

 Chú thích:

1.     Tổng diện tích sàn gồm diện tích làm việc của các đơn vị, diện tích hành lang, cầu thang, phòng đệm và diện tích kết cấu.

2.     Tổng diện tích sàn được tính theo diện tích làm việc nhân với hệ số K (tỷ số diện tích sử dụng / diện tích sàn).

3.     Diện tích sàn trung bình của Bệnh viện quận, huyện từ 60 đến 65m² / giường bệnh.

          Hệ số K trung bình của từng khối tuỳ theo yêu cầu dây chuyền công năng nhưng không được lớn hơn 0,65.

7. Những yêu cầu về giải pháp kỹ thuật

7.1.         Kết cấu:

Kết cấu công trình phải đảm bảo độ bền vững, dễ thi công xây lắp và cải tạo khi cần thiết.(sử dụng khung bê tông cốt thép, khung thép)

7.2.         Yêu cầu về hoàn thiện công trình

7.2.1.     Sàn

1.     Bề mặt sàn phải phẳng, nhẵn, đảm bảo không trơn trượt và dễ cọ rửa.

2.     Bề mặt sàn của phòng chụp mổ, phòng X-quang phải chống tĩnh điện.

Chú thích:

– Các đường ống kỹ thuật gắn liền với sàn phải có nắp đậy kín bảo đảm vệ sinh, an toàn.

7.2.2.     Tường

1.     Bề mặt tường phải được quét sơn, quét vôi (đối với bề mặt tường ngoài trời) đảm bảo vệ sinh và mỹ quan.

2.     Bề mặt tường bên trong phòng có yêu cầu vệ sinh, cọ rửa thường xuyên phải được quét sơn, ốp gạch men (loại chống thấm và chống ăn mòn của hoá chất) tới độ cao tối thiểu 2,0 m so với mặt sàn.

Chú thích:

– Tường trong phòng mổ không được có khe, góc cạnh dễ bám bụi.

– Tường ngăn phụ trong phòng cho phép sử dụng vật liệu nhẹ, nhưng phải đảm bảo yêu cầu vệ sinh, bền vững.

3.     Tường bên trong phòng X-quang phải dùng vật liệu cản được tia xạ (trát vữa barit hoặc ốp chì lá) đảm bảo an toàn bức xạ Ion hoá theo TCVN 6561:1999.

4.     Tường bên trong khu vực hành lang có chuyển cáng, xe và giường đẩy phải gắn thanh chống va đập ở độ cao từ 0,7m đến 0,9m (tính từ sàn).

7.2.3.     Trần

1.     Bề mặt trần phải phẳng, nhẵn (không bám bụi) và có tính chất cách nhiệt, cách âm, chống thấm tốt.

2.     Kết cấu trần cho phép thiết kế liền với kết cấu sàn tầng trên hoặc có khung treo.

7.2.4.     Cửa đi

1.        Cửa đi phải có khuôn và cánh đồng bộ và đảm bảo kích thước theo yêu cầu sử dụng.

2.     Phòng mổ, phòng đỡ đẻ, phòng cấp cứu, phòng chăm sóc tích cực phải được thiết kế cửa hai cánh, bản lề mở hai chiều. Phòng X-quang phải được thiết kế cửa đẩy ngang có ray treo. Cửa thoát hiểm chính của các khối công trình và khu vực tập trung đông người phải được thiết kế mở ra phía ngoài.

3.     Cánh cửa cho phép thiết kế dạng panô kết hợp kính.

Chú thích:

– Cửa đi của phòng X-quang phải đảm bảo an toàn bức xạ Ion hoá.

7.2.5.     Cửa sổ

1.     Cửa sổ phải có khuôn và cánh đồng bộ (để ngăn gió lùa và đảm bảo vệ sinh), có hệ thống song sắt bảo vệ, lưới chống côn trùng xâm nhập.

2.     Cánh cửa thiết kế dạng panô hoặc kết hợp nan chớp, kính (để thông gió hoặc chiếu sáng tự nhiên).

7.2.6.     Nội và ngoại thất

1.     Thiết kế nội và ngoại thất phải đảm bảo yêu cầu sau:

           Đồng bộ với công nghệ, trang thiết bị và kết cấu chịu lực;

           Phù hợp tâm sinh lý của bệnh nhân, nhân viên.

           Bền vững và thuận tiện cho công tác bảo dưỡng, vệ sinh thường xuyên.               

2.     Cây xanh, sân vườn bên ngoài phải được thiết kế quy hoạch phù hợp với hình khối, chức năng sử dụng của công trình và gồm các bộ phận: sân đón tiếp, sân vườn đi dạo, dải cây xanh, thảm cỏ cách ly, vườn thuốc y học cổ truyền.

Chú thích:

          Trồng cây xanh, thảm cỏ ở những khoảng trống để tạo môi trường vi khi hậu, cách ly giữa khoa Truyền nhiễm, khoa tiệt khuẩn, Dinh dưỡng và nhà  Đại thể với các khối công trình khác.

          Không trồng các loại cây có nhựa độc, gai và có hoa quả thu hút côn trùng. Có khoảng chuyển tiếp rộng từ 1,2 đến 1,5m tại lối vào từ sân, vườn (được lát gạch, láng xi măng, … để không mang theo bụi, đất).

          Các ao, hồ tự nhiên và tạo cảnh không được dùng làm nơi chứa nước thải.

7.2.7.     Hình thức kiến trúc

1.     Bệnh viện quận, huyện phải có hình thức kiến trúc đáp ứng yêu cầu của công trình công cộng hiện đại phục vụ hoạt động chăm sóc sức khoẻ cho cư dân.

2.     Hình thức kiến trúc của Bệnh viện quận, huyện phải phù hợp với truyền thống của địa phương, quy hoạch chung, hài hoà với cảnh quan và các công trình xung quanh.

7.3.         Chiếu sáng tự nhiên và thông gió

Bệnh viện quận, huyện phải được thiết kế đảm bảo yêu cầu về chiếu sáng tự nhiên theo tiêu chuẩn TCXD 29-1991.

Phòng bệnh nhân thường, phòng nhân viên, phòng phụ phải được chiếu sáng và thông gió tự nhiên. Cửa sổ của các phòng chính phải mở ra hướng gió chủ đạo vào mùa hè, hướng không bị nắng nóng chiếu trực tiếp.

Chú thích:

          Cửa sổ mở ra hướng bị nắng nóng chiếu trực tiếp, gió lạnh vào mùa đông phải được thiết kế che nắng và ngăn gió lùa.

           Đảm bảo chiếu sáng tự nhiên cho công trình bố trí hành lang giữa phải có chiều dài không lớn hơn 20m (ánh sáng 1 phía). Hành lang giữa dài hơn 40m phải được chiếu sáng từ 2 phía và có khoang lấy sáng (không được nhỏ hơn 3m) cách đầu hồi từ 20 đến 25m.

1.     Diện tích của cửa sổ chiếu sáng tự nhiên phải đảm bảo quy định sau:

          Đối với phòng bệnh nhân, nhân viên không nhỏ hơn 20% diện tích sàn.

          Đối với các phòng phụ trợ không nhỏ hơn 15% diện tích sàn.

2.      Các phòng có môi trường dễ nhiễm khuẩn (labo xét nghiệm, rửa hấp tiệt khuẩn, để xác, khâm liệm) phải được cách ly riêng, áp lực âm (-) so với xung quanh.

3.     Các phòng kỹ thuật chuyên ngành phải đảm bảo yêu cầu phòng sạch được quy định trong bảng 10

Bảng 10

Tên phòng

Nhiệt độ (oC)

Độ ẩm

(%)

Số lần luân chuyển không khí tối thiểu (lần/h)

áp suất không khí so với bên ngoàI

1.    Phòng mổ, phòng đỡ đẻ,phòngthủ thuật KHHGĐ

21 – 24

£ 70

5 – 10

(+)

2.    Phòng hồi sức

21 – 24

£ 70

5 – 10

(+)

3.    Phòng hồi tỉnh

21 – 24

£ 80

3 – 5

(0)

4.    Labo xét nghiệm

21 – 24

£ 80

3 – 5

(0)

7.4.         Yêu cầu về phòng cháy, chữa cháy và chống sét

7.4.1.     Bệnh viện quận, huyện được thiết kế theo quy định công trình có độ chịu lửa bậc II.

7.4.2.     Bệnh viện quận, huyện phải được thiết kế đảm bảo các quy định về phòng cháy, chữa cháy theo tiêu chuẩn TCVN 2622-1995.

7.4.3.     Bệnh viện quận, huyện phải có hệ thống chống sét theo tiêu chuẩn TCXD 47-1984.

7.4.4.     Bệnh viện quận, huyện phải được tiếp địa, chống tĩnh điện toàn bộ hệ thống.

7.5.         Cấp điện         

7.5.1.     Hệ thống cấp điện phải được thiết kế đồng bộ, hoạt động 24h/ngày, đủ công suất vận hành thiết bị và chiếu sáng nhân tạo theo tiêu chuẩn TCXD 16-1986.

7.5.2.     Hệ thống cấp điện dự phòng sự cố đảm bảo từ 50 đến 60% phụ tải.

7.5.3.     Hệ thống cấp điện phải được thiết kế theo tiêu chuẩn, quy phạm hiện hành:

             Đường dây dẫn điện từ trạm biến áp tới công trình dùng cáp ngầm hoặc treo trên không tuỳ theo điều kiện kinh tế, kỹ thuật.

             Đường dây dẫn bên trong công trình dùng loại ruột đồng vỏ PVC 2 lớp được bố trí trong hộp kỹ thuật (nên ngầm bên trong kết cấu), bố trí cầu dao, automat tự ngắt tại từng phòng để đảm bảo an toàn.

7.6.         Cấp nước và thoát nước.

7.6.1.     Cấp nước

1.     Hệ thống cấp nước 24h/ngày theo tiêu chuẩn TCXD 18-1991 và đảm bảo tiêu chuẩn chất lượng nước của Bộ Y tế theo quyết định số 505 BYT/QĐ ngày 13-4-1992.

2.     Các phòng kỹ thuật nghiệp vụ (labo xét nghiệm, mổ, đỡ đẻ, thủ thuật KHHGĐ) phải có hệ thống lọc nước vô trùng, đảm bảo chất lượng.

3.     Hệ thống bể chứa, đài nước phải đáp ứng các yêu cầu sử dụng trong 36h và chữa cháy theo TCVN 2622-1995.

4.     Tiêu chuẩn cấp nước cho Bệnh viện quận, huyện phục vụ khám – chữa bệnh, sinh hoạt, phụ trợ tính trung bình 1.000 lít/ giường lưu/ ngày (Lượng nước nóng ở 65 oC bằng 20%).

7.6.2.     Thoát nước

Thoát nước mặt

Hệ thống thoát nước mặt được thiết kế tự chảy, cống thu gom (kết hợp rãnh có nắp đậy) theo tiêu chuẩn TCXD 19-1991 .

Nước thải

Nước thải sinh hoạt, nước thải nhiễm khuẩn phải được thu gom, xử lý trước khi chảy vào hệ thống chung.

Hệ thống xử lý nước thải phải được thiết kế đảm bảo chất lượng nước thải theo chuẩn TCVN 1945-1995 trước khi chảy vào hệ thống thoát nước của khu vực.

7.7.         Chất thải

a.             chất thải rắn

Bệnh viện quận, huyện phảI có nơI tập trung các chất thải rắn riêng được phân loạI, xử lý tuân thủ theo quy định chung của quy chế quản lý chất thảI y tế ban hành kèm theo Quyết định số 2575/1999/QĐ-BYT ngày 27/8/1999 của Bộ trưởng bộ Y tế.

b.            Khí thải           

Hệ thống thu gom và xử lý khí thải độc hại phải được thiết kế đảm bảo quy định trong các tiêu chuẩn hiện hành, không gây ô nhiễm môi trường.

7.8.         Thông tin, liên lạc

Hệ thống thông tin liên lạc nội bộ phải được thiết kế đồng bộ, và kết nối với bên ngoài để phục vụ các hoạt động chuyên môn.

Hệ thống thông tin liên lạc gồm:

       Hệ thống điện thoại , fax, internet (nội bộ và công cộng);

       Hệ thống truyền thanh, truyền hình nội bộ, hướng dẫn thoát hiểm (tại khu đón tiếp, khoa khám bệnh, đơn vị Phẫu thuật và hồi sức);

       Hệ thống tín hiệu báo cháy, gọi nhân viên (tại phòng bệnh nhân);

7.9.         Hệ thống khí y tế

Hệ thống khí y tế gồm các bộ phận sau:

       Cung cấp ô – xy đến giường bệnh nhân và phòng mổ.

       Cung cấp khí nén đến các phòng có thiết bị chạy bằng khí nén (tiêu chuẩn áp lực 4 bars – 7 bars).

       Cung cấp khí hút (VACCUM) đến các phòng bệnh nhân và phòng mổ (tiêu chuẩn áp lực hút từ 200 mmHg – 700 mmHg)

Yêu cầu kỹ thuật:

       Khí Oxy, khí nén, khí hút phải được thiết kế theo hệ thống trung tâm đảm bảo yêu cầu an toàn phòng chống cháy nổ.

       Thiết bị, phụ kiện dùng cho trung tâm khí y tế được quy định tại tiêu chuẩn EN 737-3 và NAF (Mỹ)…


PHỤ LỤC

(Thông tin tham khảo)

MẪU THIẾT KẾ

Quy mô 50 giường :

             mẫu số 01

             mẫu số 02

             mẫu số 03 (dùng cho vùng có lũ lụt)

Quy mô 100 giường :

             mẫu số 01

             mẫu số 02

             mẫu số 03 (dùng cho vùng có lũ lụt)

Quy mô 150 giường :

             mẫu số 01

             mẫu số 02

Quy mô 200 giường :

             mẫu số 01

             mẫu số 02


QUY MÔ 50 GIƯỜNG

MẪU SỐ 01

Mặt bằng tổng thể

 

QUY MÔ 50 GIƯỜNG

MẪU SỐ 01

Phối cảnh


QUY MÔ 50 GIƯỜNG

MẪU SỐ 02

Mặt bằng tổng thể

 

QUY MÔ 50 GIƯỜNG

MẪU SỐ 02

Phối cảnh


QUY MÔ 50 GIƯỜNG

MẪU SỐ 03 – DÙNG CHO VÙNG CÓ LŨ LỤT

Mặt bằng tổng thể


QUY MÔ 50 GIƯỜNG

MẪU SỐ 03 – DÙNG CHO VÙNG CÓ LŨ LỤT

Phối cảnh tổng thể

 

Phối cảnh góc


QUY MÔ 100 GIƯỜNG

MẪU SỐ 01

Mặt bằng tổng thể

 

QUY MÔ 100 GIƯỜNG

MẪU SỐ 01

Phối cảnh


QUY MÔ 100 GIƯỜNG

MẪU SỐ 02

Mặt bằng tổng thể

 

QUY MÔ 100 GIƯỜNG

MẪU SỐ 02

Phối cảnh


QUY MÔ 100 GIƯỜNG

MẪU SỐ 03 – DÙNG CHO VÙNG CÓ LŨ LỤT

Mặt bằng tổng thể

 

QUY MÔ 100 GIƯỜNG

MẪU SỐ 03 – DÙNG CHO VÙNG CÓ LŨ LỤT

Phối cảnh


QUY MÔ 150 GIƯỜNG

MẪU SỐ 01

Mặt bằng tổng thể

 

QUY MÔ 150 GIƯỜNG

MẪU SỐ 01

Phối cảnh


QUY MÔ 150 GIƯỜNG

MẪU SỐ 02

Mặt bằng tổng thể

 

QUY MÔ 150 GIƯỜNG

MẪU SỐ 02

Phối cảnh


QUY MÔ 200 GIƯỜNG

MẪU SỐ 01

Mặt bằng tổng thể

 

QUY MÔ 200 GIƯỜNG

MẪU SỐ 01

Phối cảnh


QUY MÔ 200 GIƯỜNG

MẪU SỐ 02

Mặt bằng tổng thể

 

QUY MÔ 200 GIƯỜNG

MẪU SỐ 02

Phối cảnh


MỤC LỤC

TIÊU CHUẨN THIẾT KẾ – BỆNH VIỆN QUẬN, HUYỆN

TCN – CTYT 0041 : 2005

Tiêu chuẩn thiết kế

1. Phạm vi áp dụng                                                                                                       

2. Tiêu chuẩn trích dẫn                                                                                                  

3. Quy định chung                                                                                                         

4. Yêu cầu về khu đất xây dựng                                                                                    

5. Yêu cầu về mặt bằng tổng thể                                                                                   

6. Yêu cầu về giải pháp thiết kế các hạng mục công trình                                               

7. Yêu cầu về giải pháp kỹ thuật                                                                                    

Phụ lục  – mẫu thiết kế                                                                                                         

Quy mô 50 giường :                                                                                                    

Mẫu số 01                                                                                                        

Mẫu số 02

Mẫu số 03(vùng có lũ lụt)                                                                                  

Quy mô 100 giường :                                                                                                   

Mẫu số 01                                                                                                        

Mẫu số 02                                                                                                        

Mẫu số 03(vùng có lũ lụt)                                                                                  

Quy mô 150 giường :                                                                                                   

Mẫu số 01                                                                                                        

Mẫu số 02                                                                                                        

Quy mô 200 giường :                                                                                                   

Mẫu số 01                                                                                                        

Mẫu số 02                                                                                                        

 

TIÊU CHUẨN NGÀNH Y TẾ

52TCN – CTYT 0041 : 2005

 

Ban biên tập

 

TS.

Trần Chí Liêm

Ths.

Dương Văn Tỉnh

Ths.

Nguyễn Chiến Thắng

TS.

Nguyễn Trọng Quỳnh

Ths.

Phạm Ngọc Sơn

KTS.

Nguyễn Thanh Toàn

KTS.

Hoàng Tiến Hưng

KTS.

Đỗ Xuân Tùng

KTS.

Nguyễn Duy Đản

KTS.

Trần Hồng Quân

 

Leave a Reply

Your email address will not be published. Required fields are marked *