Tiêu chuẩn Việt Nam TCVN2100-1:2007

  • Loại văn bản: Tiêu chuẩn Việt Nam
  • Số hiệu: TCVN2100-1:2007
  • Cơ quan ban hành: ***
  • Người ký: ***
  • Ngày ban hành: ...
  • Ngày hiệu lực: ...
  • Lĩnh vực: Xây dựng
  • Tình trạng: Không xác định
  • Ngày công báo: ...
  • Số công báo: Hết hiệu lực

Tiêu chuẩn quốc gia TCVN 2100-1:2007 về Sơn và vecni – Phép thử biến dạng nhanh (độ bền va đập) đã được thay thế bởi Tiêu chuẩn quốc gia TCVN 2100-1:2013 (ISO 6272-1:2011) về Sơn và vecni – Phép thử biến dạng nhanh (độ bền va đập) – Phần 1: Phép thử tải trọng rơi, mũi ấn có diện tích lớn .

Nội dung toàn văn Tiêu chuẩn quốc gia TCVN 2100-1:2007 về Sơn và vecni – Phép thử biến dạng nhanh (độ bền va đập)


TIÊU CHUẨN QUỐC GIA

TCVN 2100-1 : 2007

ISO 6272-1 : 2002

SƠN VÀ VECNI – PHÉP THỬ BIẾN DẠNG NHANH (ĐỘ BỀN VA ĐẬP) – PHẦN 1: PHÉP THỬ TẢI TRỌNG RƠI, VẾT LÕM CÓ DIỆN TÍCH LỚN

Paints and varnishes – Rapid-deformation (impact resistance) tests – Part 1: Falling-weight test, large-area indenter

Lời nói đầu

TCVN 2100-1 : 2007 và TCVN 2100-2 : 2007 thay thế TCVN 2100 : 1993.

TCVN 2100-1 : 2007 hoàn toàn tương đương với ISO 6272-1 : 2002.

TCVN 21001 : 2007 do Tiểu Ban kỹ thuật Tiêu chuẩn TCVN/TC35/SC9 Sơn và vecni – Phương pháp th biên soạn, Tổng cục Tiêu chuẩn Đo lường Chất lượng đ nghị, Bộ Khoa học và Công nghệ công bố.

TCVN 2100 : 2007 với tên chung Sơn và vecni – Phép th biến dạng nhanh (độ bn va đập), bao gm các phn sau:

TCVN 2100-1 : 2007 (ISO 6272-1 : 2002) Phần 1: Phép thử tải trọng rơi, vết lõm có diện tích lớn;

TCVN 2100-2 : 2007 (ISO 6272-2 : 2002) Phn 2: Phép thử tải trọng rơi, vết lõm có diện tích nhỏ.

 

TCVN 2100-1 : 2007

SƠN VÀ VECNI – PHÉP THỬ BIẾN DẠNG NHANH (ĐỘ BỀN VA ĐẬP) – PHẦN 1: PHÉP THỬ TẢI TRỌNG RƠI, VẾT LÕM CÓ DIỆN TÍCH LỚN

Paints and varnishes – Rapid-deformation (impact resistance) tests – Part 1: Falling-weight test, large-area indenter

CẢNH BÁO – Tiêu chuẩn này không đ cập đến tất cả các vn đề an toàn ln quan khi sử dụng. Người sử dụng tiêu chuẩn phải có trách nhiệm thiết lập các bin pháp an toàn và bảo vệ sức khỏe phù hợp với các qui đnh pháp lý hiện hành.

1. Phạm vi áp dụng

Tiêu chuẩn này qui định phương pháp đánh giá độ bền của màng sơn khô, vecni hay sản phẩm liên quan bị rạn nt hoặc bong khỏi nền khi bị biến dạng do tải trọng rơi, với vết lõm hình cầu có đường kính 20 mm, rơi ở điu kiện tiêu chuẩn.

CHÚ THÍCH Thuật ngữ “độ bn va đập được nêu trên tựa đề của tiêu chuẩn này, nhưng một đặc tính quan trọng của thiết bị là nó làm biến dạng nhanh chứ không phải va đập thực.

Có th áp dụng phương pháp được mô t

Hoặc phép thử đạt/không đạt, phép thử đang được thực hiện từ một độ cao rơi với một khối lượng xác định, để phép thử phù hợp với yêu cầu kỹ thuật cụ thể;

Hoặc phép thử phân loại, để xác định khối lượng nhỏ nhất và/hoặc độ cao rơi mà lớp sơn bị rạn nứt hoặc bị bong khỏi nền do gia tăng dần dần độ cao rơi và/hoặc khối lượng.

2. Tài liệu viện dẫn

Các tài liệu viện dẫn sau đây là rất cần thiết khi áp dụng tiêu chuẩn này. Đối với các tài liệu viện dẫn ghi năm ban hành thì áp dụng bản được nêu. Đối với các tài liệu viện dẫn không ghi năm ban hành thì áp dụng phiên bản mới nhất, bao gồm cả các bn sửa đổi (nếu có).

TCVN 2090 : 2007 (ISO 15528 : 2000) Sơn, vecni và nguyên liệu cho sơn và vecni – Lấy mẫu.

TCVN 5669 : 2007 (ISO 1513 : 1992) Sơn và vecni – Kiểm tra và chuẩn bị mẫu thử.

TCVN 5670 : 2007 (ISO 1514 : 2004) Sơn và vecni – Tấm chuẩn để thử.

TCVN 5668 (ISO 3270) Sơn, vecni và nguyên liệu của chúng – Nhiệt độ và độ ẩm để điều hòa và thử nghiệm.

ISO 2808 Paints and varnishes – Determination of film thickness (Sơn và vecni – Xác định độ dày màng).

3. Thông tin bổ sung qui định

Đi với áp dụng cụ thể, phương pháp thử qui định trong tiêu chuẩn này cần được hoàn thiện bằng các thông tin bổ sung. Các điều khoản của thông tin bổ sung cho trong Phụ lục A.

4. Thiết bị, dụng cụ

Các thiết bị, dụng cụ và đồ thủy tinh thông thường trong phòng thử nghiệm, cùng với các thiết bị dụng cụ sau.

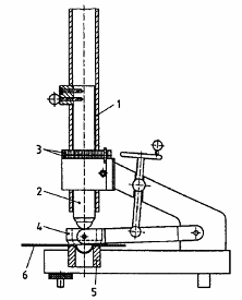
4.1. Thiết b rơi ti trọng, bao gồm các bộ phận từ 4.1.1 đến 4.1.7.

4.1.1. Giá đỡ, có khối lượng đủ để đỡ khuôn (4.1.5).

4.1.2. Tải trọng chính (xem Hình 1), đu có dạng hình cầu với đường kính (20 ± 0,3) mm, tổng khối lượng (1 000 ± 1) g.

4.1.3. Tải trọng phụ, có thể được thêm vào tải trọng chính để tăng tính chuẩn xác của phép thử. Khối lượng của mỗi tải trọng là (1 000 ± 1) g hoặc (2 000 ± 2) g, và tổng tải trọng có thể là 1 kg, 2 kg, 3 kg hoặc 4 kg.

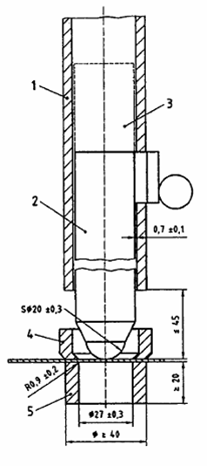
4.1.4. Ống định hướng thẳng đứng (xem Hình 1 và 2), để hướng cho tải trọng chính (4.1.2) rơi vuông góc vi tấm thử. ng định hướng có vạch chia theo milimét để ch rõ khoảng cách trên b mặt của tấm thử.

Để tránh ma sát quá mức và đảm bảo định hướng chính xác, độ chênh lệch giữa bán kính trong của ống định hướng và bán kính ngoài của ti trọng rơi phải là (0,7 ± 0,1) mm và khoảng cách giữa phần đáy của ống định hướng và mt trên của tấm thử không được lớn hơn 45 mm.

4.1.5. Khuôn (xem Hình 1), có dạng hình khuyên với đường kính trong (27 ± 0,3) mm. Mép trong phía trên của hình khuyên phải tròn, có bán kính độ cong là (0,9 ± 0,2) mm. Chiều cao tối thiểu của hình khuyên phải là 20 mm.

4.1.6. Kẹp (xem Hình 1 và 2), để đỡ tấm thử đúng vị trí. Đường kính trong tại đáy phải giống như đường kính ca khuôn [(27 ± 0,3) mm], tuy nhiên quan trọng là phải đảm bảo rằng đu của tải trọng chính có thể di chuyển dễ dàng qua kẹp.

4.1.7. Bộ phận hãm (xem Hình 2), có chiu dày khác nhau, để giới hạn độ sâu vết lõm của tải trọng rơi.

4.2. Kính phóng đại, giữ bằng tay, có độ phóng đại x 10 lần.

Kích thước tính bằng milimét

CHÚ DN

1. Ống định hướng

2. Tải trọng chính

3. Tải trọng phụ

4. Kẹp

5. Khuôn

Hình 1 – Kích thước qui định của thiết b rơi tải trọng

CHÚ DN

1. Ống định hướng

2. Tải trọng rơi

3. Bộ phận hãm

4. Kẹp

5. Khuôn

6. Tấm thử

Hình 2 – Mặt bên của thiết bị rơi tải trọng

5. Lấy mẫu

Lấy mẫu đại diện của vật liệu sơn cn thử (hoặc từng sn phẩm trong trường hợp hệ sơn đa lp) theo TCVN 2090 : 2007.

Kiểm tra và chuẩn bị từng mẫu để thử theo TCVN 5669 : 2007.

6. Tấm thử

6.1. Nền

Trừ khi có qui định khác, nền phải bằng kim loại, phù hợp với các yêu cầu trong TCVN 5670 : 2007.

Các tấm phải phẳng, không bị vặn xoắn và dày ít nhất 0,25 mm. Kích thước phải đủ để phép thử được thực hiện ít nhất tại năm vị trí khác nhau, các vị trí cách nhau không ít hơn 40 mm và không nhỏ hơn 20 mm tính từ cạnh của tấm thử.

Đo chiều dày chính xác đến 0,01 mm.

6.2. Chuẩn bị và sơn

Trừ khi có qui định khác, chuẩn bị từng tấm thử theo TCVN 5670 : 2007 và sau đó sơn tấm thử theo phương pháp qui định cho sản phẩm hoặc hệ sản phẩm cần thử.

6.3. Làm khô

Làm khô tự nhiên (hoặc sấy) và để tấm mẫu thử đạt theo yêu cu thời gian và điều kiện thử nghiệm (nếu cần áp dụng).

6.4. Chiu dày sơn

Xác định chiu dày của lớp sơn đã khô, tính bằng micromet, bằng một trong những qui trình qui định trong ISO 2808. Đo tại vị trí thực hiện phép thử, hoặc càng gần vị trí thực hiện phép thử càng tốt.

Ch sử dụng tấm thử có chiu dày màng không sai lệch trên 10 % so với chiu dày màng xác định hoặc theo thỏa thuận.

7. Cách tiến hành

7.1. Qui định chung

Trừ khi có qui định khác, ngay trước khi thử, điu hòa tấm thử ở nhiệt độ (27 ± 2) °C và độ ẩm tương đối (70 ± 5) % hoặc nhiệt độ (23 ± 2) °C và độ ẩm tương đối (50 ± 5) % trong thời gian ít nhất 16 h.

Đặt thiết bị lên bề mặt vững chắc (ví dụ, bê tông, thép hoc đá).

Thực hiện phép thử nhiệt độ (27 ± 2) °C và độ ẩm tương đối (70 ± 5) % hoặc nhiệt độ (23 ± 2) °C và độ ẩm tương đối (50 ± 5) %, trừ khi có thỏa thuận khác, (xem thêm TCVN 5668).

7.2. Phép thử đạt/không đạt (sử dụng Khối lượng qui đnh)

Đảm bảo ống định hướng (4.1.4) thẳng đứng. Gắn tải trọng phụ, nếu cn, vào tải trọng chính để đạt được tải trọng cần thiết.

Điều chnh độ cao của tải trọng tới điểm thả theo yêu cu (sử dụng vạch chia trên ống định hướng) và khóa đúng vị trí. Nếu cần, lắp bộ phận hãm (4.1.7) với tổng chiều dày đủ để gii hạn độ sâu vết lõm theo thỏa thun của các bên liên quan hoặc theo qui định khác. Đặt tấm thử (xem điu 6) vào khuôn (4.1.5), để mặt sơn hướng lên trên hoặc úp xuống, như qui định [xem Phụ lục A, điều h)]. Giữ tấm thử đúng vị trí bằng kẹp. Thả tải trọng (4.1.2) và để cho ti trọng rơi xuống tấm thử.

Kiểm tra lớp sơn bằng kính phóng đại (4.2).

Báo cáo lớp sơn trên tấm thử có bị rạn nứt hay bị bong ra khỏi nền và nn có bị rạn nứt hay không.

Lp lại bốn lần phép thử các vị trí khác nhau, tổng cộng năm lần rơi. Báo cáo lớp sơn đạt nếu tại ít nhất bốn vị trí thử không thấy có vết rạn nứt hoặc bong sơn khỏi nền.

7.3. Phép thử phân loại (để xác đnh độ cao rơi tối thiểu và khối lượng gây ra rạn nứt hoặc bong sơn)

7.3.1. Đảm bảo ống định hướng (4.1.4) thẳng đứng. Điều chỉnh độ cao của tải trọng chính (4.1.2) đến vị trí phép thử có thể đạt và khóa vị trí. Đặt tấm thử (xem điu 6) vào khuôn (4.1.5), với b mặt sơn hướng lên hoặc úp xuống, như qui định [xem Phụ lục A, điu h)]. Giữ tấm thử đúng vị trí bằng kẹp. Thả tải trọng (4.1.2) để cho tải trọng rơi xuống tấm thử.

7.3.2. Lấy tấm thử ra khỏi thiết bị và kiểm tra vùng bị biến dạng bằng kính phóng đại (4.2) tìm lớp sơn rạn nứt và/hoặc bị bong khỏi nền. Nếu không có hiện tượng rạn nứt và/hoặc bong sơn, lặp lại qui trình ở độ cao lớn hơn kế tiếp cho đến khi nhìn thấy vết rạn nứt và/hoặc bong sơn, độ cao gia tăng là 25 mm, hoặc bội số của 25 mm. Ghi lại độ cao tại đó vết rạn nứt và/hoặc bong sơn xuất hiện ln đu tiên.

Nếu không thấy vết rạn nứt và/hoặc bong sơn khi tải trọng rơi từ độ cao ti đa cho phép, lặp lại thao tác (bắt đu tại độ cao thấp nhất) thêm tải trọng phụ, tổng tải trọng là 2 kg.

Nếu không thấy vết rạn nứt và/hoặc bong sơn, lặp lại thao tác (bắt đầu tại độ cao thấp nhất) thêm tải trọng phụ nữa, tổng ti trọng là 3 kg. Nếu cần, tiếp tục thêm tải trọng phụ để khối lượng tải trọng tối đa là 4 kg.

7.3.3. Ngay khi quan sát được vết rạn nứt và/hoc bong sơn, thực hiện qui trình sau. Thả khối lượng thích hợp và để nó rơi xuống tấm thử năm ln tại các vị trí khác nhau từ các độ cao sau: độ cao mà ở đó vết rạn nứt và/hoặc bong sơn được thấy đầu tiên như mô tả trong 7.3.2: th ở độ cao cao hơn 25 mm; và thả ở độ cao thấp hơn 25 mm so vi độ cao này. Thử ngẫu nhiên, tuy nhiên lưu ý không thực hiện liên tiếp các phép thử từ cùng một độ cao trên một tấm thử.

7.3.4. Kiểm tra các vùng liên quan của lớp sơn bằng kính phóng đại (4.2) để tìm vết rạn nứt và/hoặc bong sơn khỏi nền và lập bng tất cả 15 kết qu đạt hoặc không đạt. Báo cáo kết quả cuối cùng của phép thử bao gm sự kết hợp khối lượng/độ cao mà các kết quả chuyển từ phần lớn đạt sang phần lớn không đạt.

7.3.5. Nếu không thể xác lập được điểm cuối, lặp lại qui trình 7.3.3 và 7.3.4, lấy tất cả ba độ cao cao hơn hoặc thấp hơn 25 mm để đảm bảo rằng kết quả cuối cùng của phép thử nằm trong dãy độ cao được thử.

8. Độ chụm

Hiện nay không có sẵn dữ liệu độ chụm.

9. Báo cáo thử nghiệm

Báo cáo phải có ít nhất các thông tin sau:

a) tất c chi tiết cần thiết để nhận biết sản phẩm được thử;

b) viện dẫn tiêu chuẩn này;

c) các điều trong thông tin bổ sung được đề cập trong Phụ lục A;

d) viện dẫn tiêu chuẩn quốc tế hoặc tiêu chuẩn quốc gia, yêu cầu kỹ thuật của sản phẩm hoặc các tài liệu khác cung cấp thông tin liên quan trong c);

e) khối lượng của tải trọng rơi;

f) kết quả thử như trong 7.2 hoặc 7.3, bao gm bộ phận hãm (nóitổng chiều dày) được sử dụng để giới hạn độ sâu mà tải trọng rơi gây ra;

g) bất kỳ sai khác vi phương pháp thử qui định;

h) ngày tháng thử nghiệm.

 

PHỤ LỤC A

(qui định)

THÔNG TIN BỔ SUNG QUI ĐỊNH

Các điều khoản của thông tin bổ sung được liệt kê trong phụ lục này phải được cung cấp thích hợp để phép thử có thể thực hiện được.

Thông tin cần thiết nên được thỏa thuận giữa các bên liên quan và có thể có nguồn gốc từ một phn hoặc hoàn toàn, từ tiêu chuẩn quốc tế hoặc quốc gia hoặc các tài liệu khác liên quan đến sản phẩm được thử.

a) Độ dày và cách chuẩn bị bề mặt của nền.

b) Phương pháp phủ lp sơn thử lên nền, bao gồm thời gian và điu kiện làm khô giữa các lp sơn trong trường hợp hệ sơn đa lớp.

c) Thời gian và các điều kiện làm khô (hoặc sấy) và thời gian đủ để tấm mẫu đạt theo yêu cầu thử nghiệm (nếu cần) của sơn trước khi thử.

d) Độ dày, tính bằng micromet, của lớp sơn khô và phương pháp đo được sử dụng theo ISO 2808, và đó là sơn đơn lớp hay hệ sơn đa lớp.

e) Qui trình đã thực hiện, có nghĩa là phép thử đạt/không đạt hoặc phép thử phân loại.

f) Khối lượng của tải trọng rơi.

g) Độ cao, nếu thích hợp, từ đó tải trọng được thả rơi.

h) Ti trọng rơi trên b mặt đã sơn của tấm thử hoặc trên mặt đối diện, hoặc cả hai.

i) Có hay không có sử dụng bộ phận hãm để giới hạn độ sâu mà tải trọng rơi gây ra.

Leave a Reply

Your email address will not be published. Required fields are marked *