Tiêu chuẩn Việt Nam TCVN4787:2009

  • Loại văn bản: Tiêu chuẩn Việt Nam
  • Số hiệu: TCVN4787:2009
  • Cơ quan ban hành: ***
  • Người ký: ***
  • Ngày ban hành: ...
  • Ngày hiệu lực: ...
  • Lĩnh vực: Xây dựng
  • Tình trạng: Không xác định
  • Ngày công báo: ...
  • Số công báo: Còn hiệu lực

Nội dung toàn văn Tiêu chuẩn quốc gia TCVN 4787:2009 (EN 196-7 : 2007) về Xi măng – Phương pháp lấy mẫu và chuẩn bị mẫu thử


TIÊU CHUẨN QUỐC GIA

TCVN 4787 : 2009

XI MĂNG  – PHƯƠNG PHÁP LẤY MẪU VÀ CHUẨN BỊ MẪU THỬ

Methods od testing cement – Part 7: Methods of talking and preparing samples of cement.

Lời nói đầu

TCVN 4787 : 2009 thay thế TCVN 4787 : 2001

TCVN 4787 : 2009 hoàn toàn tương đương với EN 196-7 : 2007 Methods of testing cement – Part 7: Methods of talking and preparing samples of cement.

TCVN 4787 : 2009 do Ban kỹ thuật tiêu chuẩn quốc gia TCVN/TC74 Xi măng – Vôi biên soạn, Tổng cục Tiêu chuẩn Đo lường Chất lượng đề nghị, Bộ Khoa học và Công nghệ công bố.

Lời giới thiệu

Bộ tiêu chuẩn Châu Âu EN 196 gồm có các phần sau:

EN 196-1:2005 Methods of testing cement – Part 1: Determination of strength (Phương pháp thử xi măng – Phần 1: Xác định độ bền).

EN 196-2:2005 Methods of testing cement – Part 2: Chemical analysis of cement (Phương pháp thử xi măng – Phần 2: Phân tích hóa học xi măng).

EN 196-3:2005+A1:2008 Methods of testing cement – Part 3: Determination of setting times and soundness (Phương pháp thử xi măng – Phần 3: Xác định thời gian đông kết và độ ổn định).

EN 196-5:2005 Methods of testing cement – Part 5: Pozzolanicity test for pozzolanic cement (Phương pháp thử xi măng – Phần 5: Thử nghiệm đặc tính pudolan đối với xi măng pudolan)

EN 196-6:1989 Methods of testing cement – Part 6: Determination of fineness (Phương pháp thử xi măng – Phần 6: Xác định độ mịn).

EN 196-7:2007 Methods of testing cement – Part 7: Methods of talking and preparing samples of cement (Phương pháp thử xi măng – Phần 7: Phương pháp lấy mẫu và chuẩn bị mẫu thử xi măng).

EN 196-8:2003 Methods of testing cement – Part 8: Heat of hydration – Solution method (Phương pháp thử xi măng – Phần 8: Xác định nhiệt thủy hóa bằng phương pháp hòa tan).

EN 196-9:2003 Methods of testing cement – Part 9: Heat of hydration – Semi-adiabatic method (Phương pháp thử xi măng – Phần 9: Xác định nhiệt thủy hóa bằng phương pháp đoạn nhiệt).

EN 196-10:2006 Methods of testing cement – Part 10: Determination of the water-soluble chromium (VI) content of cement (Phương pháp thử xi măng – Phần 10: Xác định thành phần crôm (VI) tan trong nước).

Trong bộ tiêu chuẩn EN trên có hai tiêu chuẩn đã được chấp nhận thành TCVN là EN 196-7:2007 (TCVN 4787:2009) và EN 196-6:1989 (TCVN 4340:2003).

Các TCVN khác về thử nghiệm xi măng được xây dựng trên cơ sở chấp nhận ISO tương ứng.

 

XI MĂNG  – PHƯƠNG PHÁP LẤY MẪU VÀ CHUẨN BỊ MẪU THỬ

Methods od testing cement – Part 7: Methods of talking and preparing samples of cement.

1. Phạm vi áp dụng

Tiêu chuẩn này quy định thiết bị sử dụng, phương pháp và quy trình để lấy mẫu xi măng đại diện cho lô hàng thử nghiệm, nhằm đánh giá chất lượng xi măng trước, trong hoặc sau khi giao nhận.

Tiêu chuẩn này chỉ áp dụng đối với các mẫu xi măng sau:

a) theo yêu cầu đánh giá chứng nhận xi măng phù hợp với tiêu chuẩn ở mọi thời điểm; hoặc

b) theo yêu cầu kiểm tra khi giao nhận hoặc một lô xi măng so với tiêu chuẩn, các điều khoản trong hợp đồng hoặc các yêu cầu kỹ thuật theo đơn đặt hàng.

Tiêu chuẩn này cũng áp dụng cho việc lấy mẫu tất cả các loại xi măng quy định trong tiêu chuẩn quốc gia, bao gồm:

a) xi măng chứa trong silô;

b) xi măng đựng trong bao, hộp, thùng hoặc các loại bao chứa khác;

c) xi măng rời được vận chuyển trong các phương tiện đường bộ, trong các vagon tàu hỏa, tàu thủy v.v…

CHÚ THÍCH: Theo thỏa thuận giữa các bên, các yêu cầu của tiêu chuẩn này được áp dụng để kiểm tra nghiệm thu đối với các loại chất kết dính thủy lực mà chưa có tiêu chuẩn.

2. Tài liệu viện dẫn

Không áp dụng.

3. Thuật ngữ và định nghĩa

Tiêu chuẩn này sử dụng các thuật ngữ và định nghĩa sau:

3.1. Đơn đặt hàng (order)

Lượng xi măng theo từng yêu cầu đơn lẻ gửi đến nhà sản xuất, phân xưởng sản xuất, kho hàng hoặc trung tâm phân phối. Một đơn đặt hàng có thể gồm một hoặc nhiều vận đơn phân bổ trong một khoảng thời gian.

3.2. Đợt giao hàng (consignment)

Lượng xi măng do một nhà sản xuất , phân xưởng sản xuất, kho hàng hoặc trung tâm phân phối, giao theo đơn đặt hàng tại một thời điểm xác định. Một đợt giao hàng có thể bao gồm một hoặc nhiều lô hàng.

3.3. Lô (lot)

Lượng xi măng được sản xuất trong cùng một điều kiện được coi là đồng nhất.

CHÚ THÍCH: Sau khi thử nghiệm theo quy định, lượng xi măng của một lô được coi là phù hợp hoặc không phù hợp với tiêu chuẩn, với các điều khoản của một hợp đồng hoặc với yêu cầu kỹ thuật theo đơn đặt hàng.

3.4. Mẫu đơn (increment)

Lượng xi măng được lấy từng lần một bằng dụng cụ lấy mẫu.

3.5. Mẫu (sample)

Lượng xi măng được lấy ngẫu nhiên hoặc theo một kế hoạch lấy mẫu, từ một lượng xi măng lớn (chứa trong silô, kho xi măng bao, vagon, xe tải v.v…) hoặc từ một lô xác định dự kiến sẽ thử nghiệm. Một mẫu có thể gồm một hoặc nhiều mẫu đơn.

3.6. Mẫu cục bộ (spot sample)

Mẫu được lấy trong khoảng thời gian ngắn và tại một điểm cố định từ một lượng xi măng lớn hơn, dự kiến sẽ thử nghiệm. Mẫu cục bộ có thể nhận được từ tổ hợp của một hoặc nhiều mẫu đơn lấy liên tiếp.

3.7. Mẫu gộp (composite sample)

Hỗn hợp đồng nhất của các mẫu cục bộ được lấy:

a) tại nhiều điểm khác nhau; hoặc

b) ở nhiều thời điểm khác nhau;

từ một lượng lớn xi măng như nhau; nhận được bằng cách trộn đều các mẫu cục bộ và được rút gọn, nếu cần.

3.8. Mẫu phòng thử nghiệm (laboratory sample)

Mẫu nhận được sau khi trộn kỹ và rút gọn, nếu cần, từ mẫu lớn hơn (mẫu cục bộ hoặc mẫu gộp) và dự định sẽ tiến hành các phép thử trong phòng thử nghiệm.

3.9. Mẫu để thử nghiệm lại (sample for retest)

Mẫu được giữ để có thể thử nghiệm tiếp trong trường hợp kết quả thử trên mẫu phòng thử nghiệm có nghi ngờ hoặc tranh chấp.

3.10. Mẫu lưu (retained sample)

Mẫu được lấy một cách hệ thống từ các nhà cung cấp thường xuyên (ví dụ cho một công trình lớn), có mặt của các bên liên quan, nếu cần, và mẫu này được lưu để thử nghiệm trong trường hợp có nghi ngờ, tranh chấp hoặc có vấn đề phát sinh.

CHÚ THÍCH: Các định nghĩa 3.1, 3.2, 3.3 và 3.10 chỉ có ý nghĩa trong trường hợp kiểm tra khi giao nhận hàng của nhà cung cấp.

4. Quy định chung

4.1. Mục đích

Mục đích của việc lấy mẫu là để nhận được từ một lượng xi măng lớn (chứa trong silô, kho xi măng bao, xe tải v.v… hoặc từ một lô xác định) một hoặc nhiều lượng nhỏ hơn mà đại diện của các bên liên quan xác nhận là đại diện cho lượng xi măng sẽ được đánh giá chất lượng.

4.2. Thiết bị, dụng cụ

Các thiết bị sử dụng, phương pháp tiến hành và các điều cần chú ý có thể khác nhau tùy theo cách lắp đặt thiết bị và tình huống lấy mẫu.

4.3. Đại diện

Trong trường hợp giao nhận từ nhà cung cấp, việc lấy mẫu được tiến hành với sự có mặt của đại diện nhà sản xuất (hoặc bên bán) và khách hàng (hoặc bên mua). Nếu vắng mặt một trong các đại diện, mặc dù không cản trở việc lấy mẫu nhưng phải được ghi vào biên bản lấy mẫu (xem Điều 10).

Thông thường mẫu được lấy trước hoặc trong khi chất hàng hoặc dỡ hàng. Tuy nhiên, nếu cần thì có thể lấy mẫu sau khi chất hàng hoặc dỡ hàng nhưng không chậm hơn 24h. Trong trường hợp lấy mẫu sau khi chất hàng hoặc dỡ hàng thì kết quả kiểm tra phải được báo cáo rõ.

CHÚ THÍCH: Vì nhiều lý do khác nhau, nếu lấy mẫu chậm trễ thì xi măng để thử không thể đại diện cho sản phẩm tại thời điểm chất hàng hoặc dỡ hàng.

Trong mọi trường hợp, thời gian lấy mẫu phải được ghi lại trong biên bản lấy mẫu (xem Điều 10). Nếu mẫu được lấy sau khi chất hàng hoặc dỡ hàng thì phải nêu ra ngay trong điều khoản đầu tiên của biên bản lấy mẫu.

5. Thiết bị, dụng cụ lấy mẫu

Các thiết bị, dụng cụ lấy mẫu rất đa dạng và tình huống lấy mẫu rất khác nhau. Do đó không thể quy định một loại thiết bị chuẩn trong khi các thiết bị khác vẫn phù hợp. Tiêu chuẩn này chỉ đưa ra ví dụ về dụng cụ lấy mẫu đơn giản thường được sử dụng và được coi là phù hợp, như nêu trong Phụ lục A. Thiết bị này là loại cầm tay (gáo, ống, dụng cụ lấy mẫu hình xoắn vít v.v…) hoặc loại lắp đặt cố định (dụng cụ tháo mẫu hình xoắn vít hoặc lắp cố định vào bồn chứa).

Việc lựa chọn và sử dụng thiết bị phải theo các yêu cầu sau:

a) được các bên thống nhất chọn;

b) được làm bằng vật liệu không bị ăn mòn, không gây phản ứng với xi măng;

c) luôn sạch và sẵn sàng để sử dụng ngay. Sau mỗi thao tác lấy mẫu (xem chú thích) phải làm sạch thiết bị lấy mẫu. Đồng thời cũng phải đảm bảo thiết bị không bị dính dầu mỡ từ các thiết bị khác.

CHÚ THÍCH: Tuy nhiên không cần phải làm sạch thiết bị sau mỗi lần lấy mẫu đơn liên tiếp từ cùng một loại xi măng sẽ làm mẫu thử.

6. Quy trình lấy mẫu

6.1. Quy định chung

Thiết bị phù hợp nhất cho mỗi trường hợp lấy mẫu phải được lựa chọn tùy theo tình huống lấy mẫu.

6.2. Lấy mẫu từ các bao, thùng và các vật chứa kích thước nhỏ

Nếu xi măng được chưa trong các bao, thùng và vật chứa nhỏ thì mẫu xi măng phải bao gồm từ một hoặc nhiều bao, thùng hoặc vật chứa được lấy ngẫu nhiên từ các khối xi măng đủ lớn để đáp ứng yêu cầu nêu tại 8.1.

6.3. Lấy mẫu từ các vật chứa lớn và phương tiện vận chuyển xi măng rời (sau khi chất hoặc trước khi dỡ hàng)

Dù sử dụng thiết bị dụng cụ gì để lấy mẫu cũng phải tránh lấy mẫu ở lớp trên cùng hoặc dưới đáy của khối xi măng, chiều dày lớp xi măng này không nhỏ hơn 15 cm.

Khi lấy mẫu cần chú ý đến các điều sau:

a) không lấy mẫu tại môi trường bụi bẩn hoặc ô nhiễm;

b) số lượng mẫu cần lấy phải phù hợp để có được khối lượng mẫu theo đoạn hai của Điều 8.1;

c) chuyển mẫu đã lấy vào vật chứa khô, sạch và kín khí trước khi tiến hành các thao tác như mô tả trong Điều 8.

CHÚ THÍCH: Thiết bị lấy mẫu mô tả trong tiêu chuẩn này (xem Phụ lục A) không được phép sử dụng để lấy mẫu trong quá trình dỡ hàng.

6.4. Lấy mẫu trong quá trình chất hàng vào phương tiện vận chuyển xi măng rời hoặc vào silô

Chỉ tiến hành lấy mẫu nếu đã có sẵn thiết bị thích hợp và nếu xi măng được coi là ở trạng thái đồng đều. Áp dụng các điều khoản 6.3 a), b) và c) khi lấy mẫu.

6.5. Lấy mẫu từ silô

Khi lấy mẫu từ silô phải bỏ đi một lượng xi măng thích hợp để loại bỏ các hạt cứng hoặc xi măng khác bị trộn lẫn trong hệ thống phân phối. Khối lượng xi măng loại bỏ do đại diện của nhà sản xuất có mặt trong quá trình lấy mẫu quyết định. Lượng xi măng cần thiết quy định trong 8.1 phải được gom vào vật chứa khô và sạch.

7. Tần suất lấy mẫu và lựa chọn loại mẫu

Tần suất lấy mẫu và việc lựa chọn loại mẫu (mẫu cục bộ hoặc mẫu gộp) phụ thuộc vào các điều khoản ghi trong:

– hợp đồng giữa nhà cung cấp và khách hàng;

– tiêu chuẩn quốc gia.

8. Cỡ mẫu và chuẩn bị mẫu

8.1. Cỡ mẫu được lấy

Mỗi mẫu phòng thử nghiệm (hoặc mẫu để thử nghiệm lại hoặc mẫu lưu) phải có lượng đủ để thực hiện mỗi phép thử hai lần.

CHÚ THÍCH: Tóm lại, các mẫu phòng thử nghiệm có khối lượng 5 kg là đủ, nhưng cũng có thể cần nhiều hơn để đổ đầy vật chứa quy định trong 9.2.

Tổng lượng mẫu (mẫu cục bộ hoặc mẫu gộp) cần lấy phải lớn hơn quy định ở trên hoặc ít nhất là bằng khối lượng cần thiết cung cấp cho tất cả các phòng thử nghiệm liên quan. Sử dụng thiết bị theo Điều 5 và quy trình theo Điều 6 để lấy mẫu.

Mẫu cục bộ do nhà sản xuất lấy để thử nghiệm tại một phòng thử nghiệm thì có thể không cần thiết phải làm đồng nhất theo quy trình nêu trong 8.2 và 8.3.

8.2. Đồng nhất mẫu

8.2.1. Yêu cầu chung

Ngay sau khi nhận được mẫu lấy theo 8.1, mẫu phải được làm đồng nhất kỹ (tốt nhất là trong phòng thử nghiệm) bằng các thiết bị, dụng cụ sạch và khô đảm bảo không phản ứng với xi măng.

Sử dụng máy trộn để làm đồng nhất mẫu là tốt nhất, nếu có sẵn.

Nếu không có sẵn máy trộn thì áp dụng quy trình trộn mẫu như sau:

Đổ lượng mẫu cần làm đồng nhất (xem đoạn hai của 8.1) lên nền khô sạch (hoặc tấm nhựa) và dùng xẻng trộn kỹ.

Quy trình này chỉ sử dụng trong điều kiện:

a) độ ẩm tương đối của môi trường không lớn hơn 85%;

b) không có các nguy cơ như gió, mưa hoặc bụi bẩn ảnh hưởng đến mẫu.

Dù lựa chọn quy trình trộn nào thì cũng phải kiểm tra xác nhận hiệu quả trộn (xem 8.2.2) và phải tiến hành trộn càng nhanh càng tốt để giảm thiểu sự tiếp xúc của xi măng trong không khí.

8.2.2. Kiểm tra xác nhận hiệu quả quy trình đồng nhất

Chuẩn bị một lượng xi măng như nhau của hai loại xi măng có các tính chất cơ lý khác nhau (ví dụ: độ mịn theo TCVN 4030:2003 và màu sắc tùy chọn).

CHÚ THÍCH: Để có được các thông tin ban đầu, có thể so sánh màu sắc của các mẫu nhỏ này trước khi lựa chọn hai loại xi măng có màu sắc khác biệt này.

Sử dụng một trong hai phương pháp mô tả trong 8.2.1 để trộn mẫu và ghi lại thời gian bắt đầu và kết thúc thao tác trộn. Ngay sau khi kết thúc việc trộn, lấy 15 mẫu nhỏ, mỗi mẫu từ 12 g đến 20 g từ các điểm phân bố đồng đều trong toàn khối để tiến hành kiểm tra xác nhận tính đồng nhất.

Xác định ba lần đặc tính đã chọn trên từng mẫu nhỏ này.

Sự đồng nhất được coi là đạt khi phân tích phương sai cho thấy chênh lệch trên 15 mẫu nhỏ là không đáng kể.

Trong trường hợp kết quả không đạt yêu cầu, phải tiến hành điều chỉnh các thao tác để nhận được sự đồng nhất, ví dụ có thể tăng thời gian trộn.

Đối với mỗi quy trình trộn, việc kiểm tra xác nhận sự đồng nhất phải được thực hiện chỉ một lần tại thời điểm lựa chọn quy trình và phải lưu giữ toàn bộ thông tin liên quan đến kết quả đạt yêu cầu.

8.3. Phân chia mẫu đã đồng nhất

Ngay sau khi kết thúc quá trình đồng nhất mẫu (xem 8.2), mẫu được phân chia theo số lượng phòng thử nghiệm yêu cầu hoặc để lưu, theo một trong hai quy trình sau:

a) trong trường hợp sử dụng máy trộn, mẫu đã đồng nhất được đổ trực tiếp vào tất cả các vật chứa theo số lượng yêu cầu;

b) trong trường hợp không có sẵn máy trộn thì số lượng mẫu phòng thử nghiệm hoặc mẫu lưu cần thiết phải được chuẩn bị hoặc bằng dụng cụ chia mẫu hoặc bằng cách sau khi chia tư, dùng một xẻng nhỏ lấy lần lượt từ mỗi phần một lượng mẫu khoảng 0,5 kg cho vào vật chứa đã được chuẩn bị sẵn để chứa mẫu phòng thử nghiệm (hoặc mẫu lưu). Tiến hành liên tục thao tác này cho đến khi đủ lượng mẫu cần thiết (như chỉ ra trong Chú thích ở đoạn đầu tiên của 8.1) đối với từng vật chứa.

Mẫu phòng thử nghiệm được chuẩn bị từ từ bằng việc phân bố liên tục lượng mẫu lấy bằng xẻng nhỏ, như sau.

Đổ lần lượt vào từng vật chứa mẫu phòng thử nghiệm X,Y, Z v.v… theo trình tự sau:

đầu tiên lấy một xẻng đầy từ phần A,

sau đó một xẻng đầy từ phần B,

tiếp theo là một xẻng đầy từ phần C,

và sau đó một xẻng đầy từ phần D,

Cách làm như vậy được gọi là một trình tự phân bố mẫu; lặp lại trình tự này nhiều lần cho đến khi đạt được lượng mẫu cần thiết như chỉ ra trong Chú thích ở đoạn đầu tiên của 8.1 (xem Hình 1, ví dụ đối với mẫu 50 kg).

Mỗi mẫu phòng thử nghiệm (hoặc mẫu lưu) phải được bao gói theo Điều 9 và phân phối ngay, tránh để chậm trễ. Sau đó các phòng thử nghiệm phải có trách nhiệm bảo quản, chuẩn bị, xử lý mẫu theo cách phù hợp cho từng phép thử sau này.

CHÚ THÍCH: Từ thời điểm này, các công việc tiếp theo của phòng thử nghiệm được quy đinh trong các Tiêu chuẩn thử nghiệm xi măng.

Hình 1 – Phân chia mẫu phòng thử nghiệm

8.4. Vật lạ trong mẫu thử

Trong quá trình phân chia mẫu, trong mọi trường hợp, nếu xuất hiện vật lạ trong mẫu thử phải ghi lại điều đó trong biên bản lấy mẫu (Điều 10).

Việc loại bỏ vật lạ khỏi mẫu thử chỉ được tiến hành khi có sự đồng thuận của các bên liên quan.

9. Bao gói và bảo quản mẫu

9.1. Nguyên tắc

Việc bao gói mẫu cũng như phương pháp bảo quản mẫu phải đảm bảo cho mẫu luôn giữ được các đặc tính của xi măng.

9.2. Vật chứa mẫu

Mẫu phải được bao gói, vận chuyển và bảo quản trong bao bì, thùng chứa hoặc vật chứa cứng. Vật liệu của vật chứa phải đảm bảo không phản ứng với xi măng và không bị ăn mòn. Vật chứa mẫu phải khô, kín (đối với không khí và ẩm) và sạch. Với ý nghĩa đó, vật liệu dùng để bao gói xi măng phải đảm bảo không ảnh hưởng đến mẫu thử.

Để giảm thiểu sự tiếp xúc với không khí, tốt nhất là mẫu thử được đổ đầy có thể và nắp được đóng kín (gắn xi hoặc bằng cách tương tự).

CHÚ THÍCH: Cần chú ý rằng bao gói mẫu dù kín khí nhưng trong một thời gian dài cũng không đảm bảo tránh được một lượng ẩm nhất định, mức độ cho phép có thể tùy thuộc vào các chỉ tiêu của xi măng.

Nếu vật liệu là nhựa thì bao bì hoặc thùng chứa chỉ được sử dụng dưới điều kiện sau:

a) tấm nhựa dùng làm vật chứa mẫu phải dày ít nhất 100 µm;

b) vật liệu nhựa phải đảm bảo cho xi măng không bị “thấm khí” cho dù vật liệu bị hao hụt hoặc do kết quả của việc xử lý bề mặt. Do đó, để tránh nguy cơ trên phải sử dụng các biện pháp thích hợp để kiểm tra;

c) cần có biện pháp gắn kín, nếu cần.

9.3. Điều kiện bảo quản

Mẫu thử được bảo quản ở nhiệt độ không cao hơn 30 oC trước khi tiến hành thử nghiệm.

9.4. Nhận dạng mẫu thử

Để tránh nhầm lẫn, vật chứa mẫu (bao hoặc thùng) phải được đánh dấu rõ ràng và bền lâu tại ít nhất một vị trí. Nếu chỉ có một dấu hiệu duy nhất, thì dấu hiệu nhận biết này phải nằm ở phần chính của vật chứa, không phải trên phần nắp.

9.5. Niêm phong mẫu thử

Nếu cần thiết, theo hợp đồng mua bán hoặc quy định khác thì vật chứa phải được niêm phong. Niêm phong phải chắc chắn để tránh người không có trách nhiệm mở ra.

10. Biên bản lấy mẫu

10.1. Quy định chung

Biên bản lấy mẫu đối với từng mẫu phải do người thực hiện lấy mẫu thiết lập. Bản sao phải được gửi kèm theo mẫu phòng thử nghiệm (hoặc mẫu lưu) hoặc cho vào phong bì và đặt vào bên trong vật chứa mẫu, nếu cần.

10.2. Các thông tin cần thiết

10.2.1. Các thông tin bắt buộc

Biên bản lấy mẫu phải có các thông tin bắt buộc sau:

a) tên và địa chỉ của tổ chức chịu trách nhiệm lấy mẫu;

b) tên và địa chỉ của khách hàng (trong trường hợp giao nhận);

c) ký hiệu đầy đủ về loại xi măng theo quy định của tiêu chuẩn quốc gia;

d) đặc điểm quá trình lấy mẫu;

e) địa điểm và thời gian lấy mẫu;

f) loại mẫu (mẫu cục bộ hoặc mẫu gộp của “n” mẫu cục bộ;

g) dấu hiệu nhận dạng trên vật chứa mẫu;

h) các nhận xét, cụ thể là:

– sự có mặt của vật lạ;

– môi trường tại vị trí lấy mẫu có thể ảnh hưởng đến chất lượng mẫu, ví dụ điều kiện vận chuyển;

– tất cả các thông tin cho phép nhận dạng chính xác hơn về xi măng được lấy mẫu, ví dụ số lô.

10.2.2. Các thông tin bổ sung

Nếu không có quy định của các bên thì báo cáo lấy mẫu gồm nội dung sau:

a) định nghĩa lô, khối lượng tương đối của lô xi măng và loại kho chứa xi măng lấy mẫu.

Ví dụ: kho chứa xi măng bao, 3 000 tấn.

b) loại vật chứa mẫu phòng thử nghiệm được sử dụng.

10.3. Xác nhận biên bản

Biên bản lấy mẫu và các bản sao phải được đại diện của các bên và/hoặc người làm chứng do các bên chỉ định có mặt khi lấy mẫu ký xác nhận.

10.4. Gửi biên bản

Các bản sao của biên bản phải được gửi ngay không chậm trễ đến các bên liên quan. Cụ thể, xem 10.1

 

Phụ lục A

(tham khảo)

Các ví dụ về thiết bị, dụng cụ lấy mẫu thông dụng

CHÚ DẪN

L = 100 cm đến 200 cm

Hình A.1 – Mô tả ống lấy mẫu

Kích thước tương đối của gáo:

Đường kính 20cm, chiều sâu 15 cm; chiều dài tay cầm 180 cm.

Hình A.2 – Mô tả gáo lấy mẫu thông dụng

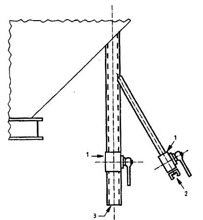
CHÚ DẪN.

1          Ống, đường kính khoảng 6 cm;

2          Cánh xoắn vít;

3          Điểm cuối của cánh xoắn hoạt động khi xi măng vào;

4          Máng tháo xi măng;

5          Động cơ điện

Hình A.3 – Mô tả thiết bị lấy mẫu cơ học loại xoắn vít (tổng chiều dài khoảng 200 cm).

CHÚ DẪN

1 Ống;

2 Cánh xoắn vít;

3 Cửa xi măng vào;

4 Máng tháo xi măng;

5 Tay quay (hoặc tay quay sử dụng môtơ điện).

Hình A.4 – Sơ đồ thiết bị lấy mẫu cơ học loại xoắn vít được lắp cố định

CHÚ DẪN

1          Van xoáy 1/4 vòng;

2          Ống lấy khí có đầu bằng cao su (áp suất 3 bar);

3          Máng tháo xi măng.

Hình A.5 – Sơ đồ thiết bị lấy mẫu

 

THƯ MỤC TÀI LIỆU THAM KHẢO

[1] TCVN 6910-6 (ISO 5725-6), Độ chính xác (độ đúng và độ chụm) của phương pháp đo và kết quả đo – Phần 6: Sử dụng các giá trị độ chính xác trong thực tế.

[2] TCVN 4340, Xi măng – Phương pháp xác định độ mịn.

[3] EN 197-2, Cement – Conformity evaluation (Xi măng – Đánh giá sự phù hợp).

 

MỤC LỤC

Lời nói đầu

Lời giới thiệu

1. Phạm vi áp dụng

2. Tài liệu viện dẫn

3. Thuật ngữ và định nghĩa

4. Quy định chung

5. Thiết bị, dụng cụ mấy mẫu

6. Quy trình lấy mẫu

7. Tần suất lấy mẫu và lựa chọn loại mẫu

8. Cỡ mẫu và chuẩn bị mẫu

9. Bao gói và bảo quản mẫu

10. Biên bản lấy mẫu

Phụ lục A (tham khảo) – Các ví dụ về thiết bị, dụng cụ lấy mẫu thông thường

Thư mục tài liệu tham khảo

Leave a Reply

Your email address will not be published. Required fields are marked *