Nội dung toàn văn Tiêu chuẩn Việt Nam TCVN 6070:2005 về Xi măng – Phương pháp xác định nhiệt thuỷ hoá do Bộ Khoa học và Công nghệ ban hành
TIÊU CHUẨN VIỆT NAM
TCVN 6070 : 2005
XI MĂNG – PHƯƠNG PHÁP XÁC ĐỊNH NHIỆT THỦY HÓA
Hydraulic cement – Test method for heat of hydration
Lời nói đầu
TCVN 6070 : 2005 thay thế cho TCVN 6070 : 1995.
TCVN 6070 : 2005 do Ban kỹ thuật TCVN/TC74 Xi măng – Vôi hoàn thiện trên cơ sở dự thảo của Viện Vật liệu xây dựng, Bộ Xây dựng đề nghị, Tổng cục Tiêu chuẩn Đo lường Chất lượng xét duyệt, Bộ Khoa học và Công nghệ ban hành.
XI MĂNG – PHƯƠNG PHÁP XÁC ĐỊNH NHIỆT THỦY HÓA
Hydraulic cement – Test method for heat of hydration
1. Phạm vi áp dụng
Tiêu chuẩn này quy định phương pháp xác định nhiệt thủy hóa của các loại xi măng.
2. Tài liệu viện dẫn
TCVN 141 : 1998 Xi măng – Phương pháp phân tích hóa học.
TCVN 4787 : 2001 Xi măng – Phương pháp lấy mẫu và chuẩn bị mẫu.
TCVN 4851 : 1989 (ISO 3696 : 1987) Nước dùng để phân tích trong phòng thí nghiệm – Yêu cầu kỹ thuật và phương pháp thử.
TCVN 6017 : 1995 Xi măng – Phương pháp thử xác định thời gian đông kết và độ ổn định thể tích.
3. Nguyên tắc
Nhiệt thủy hóa của xi măng được xác định bằng cách đo nhiệt hòa tan của xi măng khô (Q0) và của xi măng thủy hóa sau n ngày (Qn) (thường đo sau 7, 28 ngày). Hiệu số (Q0 – Qn) là nhiệt thủy hóa của xi măng sau thời gian thủy hóa n ngày.
CHÚ THÍCH: Kết quả của phương pháp này sẽ kém chính xác nếu một số thành phần của xi măng không hòa tan trong axit nitric/axit flohydric.
4. Thiết bị và dụng cụ
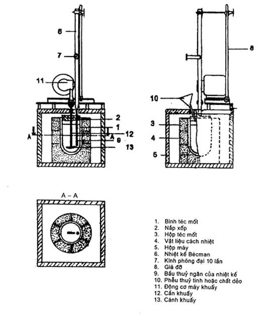
4.1. Thiết bị đo nhiệt lượng (Hình 1)
4.1.1. Nhiệt lượng kế (1) là một bình téc mốt, đường kính từ 75 mm đến 85 mm, dung tích từ 550 ml đến 600 ml, có nắp đậy bằng vật liệu xốp (2) được đặt trong một hộp cách nhiệt còn gọi là hộp téc mốt (3).

Hình 1 – Mô tả thiết bị đo nhiệt lượng
Thành trong của bình téc mốt phải được tráng một lớp vật liệu bền axit flohydric (HF) (thường sử dụng parafin hoặc nhựa phenolic đóng rắn). Lớp tráng phải được kiểm tra trước khi thử mẫu, nếu có vết xước phải tráng lại.
4.1.2. Hộp téc mốt (3) bằng gỗ để giữ bình téc mốt. Giữ bình và hộp có lớp lót cách nhiệt bằng bông hoặc vật liệu cách nhiệt khác dày ít nhất 25 mm (4). Hộp téc mốt được đặt trong hộp máy bằng gỗ (5) kích thước 25 cm x 25 cm x 25 cm để tăng thêm khả năng cách nhiệt cho bình téc mốt.
4.1.3. Nhiệt kế Bécman (6) với độ chia nhỏ nhất 0,01 °C, phạm vi đo từ 0 °C đến 5 °C hoặc 6 °C, gắn kèm kính phóng đại 10 lần (7) được giữ bằng giá đỡ (8). Phần bầu thủy ngân của nhiệt kế (9) phải tráng vật liệu bền axit flohydric (HF).
4.1.4. Phễu (10) làm bằng thủy tinh hoặc chất dẻo. Cuống phễu dài ít nhất 6 cm, đường kính trong của cuống phễu ít nhất 5 mm.
4.1.5. Động cơ máy khuấy (11) có thể điều chỉnh ở tốc độ từ 300 đến 400 vòng/phút. Cần khuấy (12) có đường kính 6 mm. Cần khuấy và cánh khuấy (13) làm bằng thủy tinh hoặc chất dẻo được tráng parafin.
4.2. Thiết bị, dụng cụ
– Thùng cách ẩm;
– Thùng dưỡng hộ mẫu theo TCVN 6017 : 1995;
– Tủ sấy, có bộ phận điều chỉnh nhiệt độ 100 °C ± 5 °C;
– Lò nung 1000 °C;
– Cân kỹ thuật có độ chính xác tới 0,1 g;
– Cân phân tích có độ chính xác tới 0,001 g;
– Sàng có kích thước lỗ 0,2 mm và 0,85 mm;
– Chén sấy, chén nung dung tích 30 ml;
– Bình hút ẩm;
– Bình thủy tinh 10 lít;
– Bình định mức 1 000 ml;
– Ống đong 10 ml và 500 ml;
– Pipét 50 ml;
– Đũa thủy tinh;
– Lọ thủy tinh dung tích 10 ml;
– Đồng hồ bấm giây;
– Cối, chày, bằng sứ hoặc bằng đồng;
– Bát sứ và thìa sứ;
– Túi PE hai lớp, dung tích từ 15 ml đến 20 ml;
– Chổi lông nhỏ;
– Thìa nhỏ bằng thép không gỉ.
5. Hóa chất và vật liệu
5.1. Kẽm oxit (ZnO), tinh khiết phân tích (TKPT);
5.2. Axit nitric (HNO3), dung dịch nồng độ 2N (g = 1,42 kg/l);
5.3. Axit flohydric (HF), dung dịch 38 % – 40 %;
5.4. Vật liệu bền axit flohydric, thường dùng parafin;
5.5. Axêtôn;
5.6. Nước phân tích theo TCVN 4851 : 1989, hoặc nước có độ tinh khiết tương đương.
6. Chuẩn bị thử
6.1. Xử lý kẽm oxit (ZnO) để xác định nhiệt dung của nhiệt lượng kế (hằng số máy)
Cân 30 g kẽm oxit (5.1), nung 1 giờ ở nhiệt độ từ 900 °C đến 950 °C, để nguội trong bình hút ẩm và nghiền nhỏ qua sàng 0,2 mm. Sau đó cân khoảng 6 g, nung lại ở nhiệt độ từ 900 °C đến 950 °C trong khoảng 5 phút, để nguội trong bình hút ẩm không ít hơn 2,5 giờ và không nhiều hơn 5 giờ, sau đó dùng cân phân tích cân chính xác 5,000 g để xác định nhiệt dung của nhiệt lượng kế.
6.2. Chuẩn bị dung dịch axit nitric (HNO3 – 2N)
Pha loãng 140 ml axit nitric (5.2) với 860 ml nước cất để được 1000 ml dung dịch axit nitric. Mỗi lần chuẩn bị từ 8 lít đến 10 lít.
6.3. Chuẩn bị mẫu xi măng khô và chế tạo xi măng thủy hóa n ngày
Để xác định nhiệt thủy hóa cần khoảng 500 g xi măng đã được chuẩn bị theo TCVN 4787 : 2001. Mẫu xi măng được gói riêng theo đúng qui cách và được bảo quản trong thùng cách ẩm.
Dùng cân kỹ thuật khoảng 100 g, chính xác đến 0,1 g mẫu xi măng, cho vào bát sứ đã được lau sạch bằng vải ẩm. Dùng bay làm thành hộc ở giữa, đổ 40 ml nước cất vào, trộn đều hỗn hợp xi măng và nước trong 4 phút. Dùng thìa xúc hồ xi măng vào hai túi PE, mỗi túi hai lớp, sao cho khi buộc túi khoảng trống còn lại trong túi không quá 2 ml. Sau đó đặt mẫu vào thùng dưỡng hộ và bảo quản ở nhiệt độ 27 °C ± 2 °C đến các tuổi cần thử.
6.4. Kiểm tra khả năng cách nhiệt của bình téc mốt
6.4.1. Bình téc mốt được coi là có độ cách nhiệt đạt yêu cầu nếu mức giảm nhiệt độ sau 30 phút không lớn hơn 0,001 °C/phút.
6.4.2. Xác định khả năng cách nhiệt bình téc mốt: Đổ 400 ml nước nóng có nhiệt độ từ 45 °C đến 50 °C vào bình. Đậy nắp bình. Ghi nhiệt độ trên nhiệt kế Bécman ngay sau khi đổ nước vào bình téc mốt (T1) và nhiệt độ sau 30 phút (T30).
6.4.3. Mức giảm nhiệt độ của bình (fT) được tính bằng phút -1, theo công thức:
…(1)
trong đó:
T1 là nhiệt độ ban đầu của nước trong bình téc mốt, tính bằng °C;
T30 là nhiệt độ của nước trong bình téc mốt sau 30 phút, tính bằng °C;
TPTN là nhiệt độ phòng thí nghiệm, tính bằng °C;
30 là thời gian thí nghiệm, tính bằng phút.
7. Tiến hành thử
7.1. Xác định nhiệt dung của nhiệt lượng kế
7.1.1. Trước khi thử nghiệm một giờ, dụng cụ thí nghiệm và các bình hóa chất được đặt tại bàn thí nghiệm để nhiệt độ của chúng bằng nhiệt độ trong phòng thí nghiệm (27 °C ± 2 °C).
Đổ 390 ml ± 1 ml axit nitric (chuẩn bị theo 6.2) vào bình téc mốt, thêm 10 ml ± 0,1 ml axit flohydric (5.3) vào bình (dùng ống đong bằng plastic) đã chỉnh vạch múc 10 ml. Khuấy sơ bộ hỗn hợp axit bằng đũa thủy tinh (đã tráng parafin). Kiểm tra không để cánh khuấy chạm vào bầu thủy ngân của nhiệt kế, cuống phễu, thành hoặc đáy bình. Bắt đầu cho máy khuấy hoạt động.
7.1.2. Đọc nhiệt độ trên nhiệt kế Bécman qua kính phóng đại. chính xác đến 0,001 °C tại thời điểm khi bắt đầu khuấy (T0) và sau 5 phút khuấy (T5).
Ngay sau khi ghi T5, đổ 5 g mẫu kẽm oxit (ZnO) (đã chuẩn bị theo 6.1) qua phễu trong 30 giây. Dùng chổi lông gạt hết các hạt bám quanh thành, cuống phễu xuống bình téc mốt. Ghi nhiệt độ sau 25 phút khuấy (T25) và 30 phút khuấy (T30).
CHÚ THÍCH: Nhiệt dung của nhiệt lượng kế cần xác định lại khi có một trong các thay đổi sau:
a) thay mới nhiệt kế, cánh khuấy hoặc bình téc mốt;
b) thay mới lớp vật liệu cách nhiệt của hộp téc mốt;
c) tráng lớp bảo vệ mới cho nhiệt kế, cánh khuấy hoặc bình téc mốt;
d) khi sử dụng lô axit mới.
7.2. Xác định nhiệt hòa tan của xi măng
7.2.1. Xác định nhiệt hòa tan của xi măng khô
7.2.1.1. Dùng cân phân tích cân 2,000 g xi măng, đặt trong bình hút ẩm tại bàn thí nghiệm để nhiệt độ của mẫu ngang bằng nhiệt độ phòng thí nghiệm.
7.2.1.2. Tiến hành thử mẫu như trình tự điều 7.1. Trong đó thay kẽm oxit bằng xi măng khô.
7.2.1.3. Xác định hàm lượng mất khi nung của xi măng khô (MKN0), hàm lượng anhydric sulfuric (SO3) trước nung (Strn)và sau nung (Ssn) theo TCVN 141 : 1998.
7.2.2. Xác định nhiệt hòa tan của xi măng đã thủy hóa
7.2.2.1. Mỗi tuổi thử lấy một mẫu xi măng thủy hóa ở trong thùng bảo quản mẫu (chuẩn bị theo 6.3), bỏ vỏ bọc, đập nghiền bằng cối đồng cho mẫu thử lọt hoàn toàn qua sàng 0,85 mm. Tiến hành nghiền, sàng nhanh để tránh hiện tượng cacbonat hóa và bay hơi. Dùng cân phân tích cân 2,800 g mẫu đã nghiền và đựng trong bình hút ẩm có nắp kín đặt tại bàn thí nghiệm để nhiệt độ của mẫu ngang bằng nhiệt độ phòng thí nghiệm.
7.2.2.2. Tiến hành thử mẫu theo trình tự 7.1. Trong đó thay kẽm oxit bằng xi măng đã thủy hóa.
7.2.2.3. Xác định hàm lượng mất khi nung của xi măng thủy hóa n ngày (MKNn), hàm lượng anhydric sulfuric (SO3) trước nung (Strn) và sau nung (Ssn) theo TCVN 141 : 1998.
CHÚ THÍCH:
1) Nếu khi xác định nhiệt hòa tan của mẫu xi măng thủy hóa 28 ngày gặp sự cố và phải thử lại trên mẫu lưu vào những ngày sau. Nhiệt hòa tan Q28 được cộng thêm 20 kJ/kg cho mỗi ngày nếu thử lại mẫu sau ngày thủy hóa thử 28, nhưng không được chậm quá 4 ngày so với thời hạn này.
Nếu khi xác định nhiệt hòa tan của mẫu xi măng thủy hóa 7 ngày gặp sự cố và phải làm lại mẫu thử, tức là chế tạo lại mẫu xi măng thủy hóa theo 6.3.
2) Để xác định chính xác hàm lượng anhydric sulfuric (SO3) ở các tuổi khác nhau, các mẫu xi măng sau khi sàng và nghiền nhỏ (chuẩn bị như 6.3) được cho vào lọ thủy tinh dung tích 10 ml và đổ axêtôn vào để đình chỉ thủy hóa mẫu ở các tuổi cần thử.
8. Tính kết quả
8.1. Nhiệt dung của nhiệt lượng kế (Ck), tính bằng kJ/°C, theo công thức:
(2)
trong đó:
m là khối lượng mẫu thử ZnO, tính bằng kg;
1072 là hệ số nhiệt hòa tan của ZnO ở 30 °C, tính bằng kJ/kg;
0,4(30 – T) là giá trị điều chỉnh nhiệt hòa tan của ZnO theo nhiệt độ, trong đó: T được tính bằng tổng của nhiệt độ dung môi trước khi hòa tan (Tdm) và mức tăng nhiệt độ của giai đoạn hòa tan (DTdc). Khi nhiệt độ của dung môi bằng nhiệt độ phòng thí nghiệm (TPTN) thì
T = TPTN + DTdc
DTdc được tính theo công thức:
DTdc = (T25 – T5) + 4(T25 – T30) (3)
trong đó:
T25 là nhiệt độ tại thời điểm cuối của giai đoạn hòa tan sau 25 phút khuấy, tính bằng °C;
T5 là nhiệt độ của dung môi hòa tan sau 5 phút khuấy, tính bằng °C;
T30 là nhiệt độ tại thời điểm cuối của giai đoạn hòa tan sau 30 phút khuấy, tính bằng °C.
Nhiệt dung của nhiệt lượng kế (Ck) là trung bình cộng của hai kết quả xác định song song không lệch nhau quá 5 %, lấy chính xác tới 0,1 kJ/°C.
8.2. Nhiệt hòa tan của xi măng khô (Q0), tính bằng kJ/kg, theo công thức:
… (4)
trong đó:
Ck, DTdc là các giá trị được tính theo công thức (2) và (3);
0,8 là nhiệt dung riêng của xi măng khô, tính bằng kJ/kg.°C;
M0 là khối lượng mẫu xi măng sau nung, tính bằng kg, theo công thức sau:
… (5)
trong đó:
m0 là khối lượng mẫu xi măng khô, tính bằng kg;
MKN0 là hàm lượng mất khi nung của mẫu xi măng khô, tính bằng %, xác định theo TCVN 141:1998;
G0 Phần khối lượng tăng thêm do ôxi hóa SO2 thành SO3 trong quá trình xác định hàm lượng mất khi nung, được xác định như sau:
G0 = 0,8(SSn – STrn) … (6)
trong đó:
SSn là hàm lượng SO3 của mẫu xi măng sau khi nung, tính bằng %, xác định theo TCVN 141:1988;
STrn là hàm lượng SO3 của mẫu xi măng trước khi nung, tính bằng %, xác định theo TCVN 141:1988;
0,8 là hệ số tính chuyển từ SO2 thành SO3.
Nhiệt hòa tan của xi măng khô (Q0) là trung bình cộng của hai kết quả xác định song song không lệch nhau quá 20kJ/kg, lấy chính xác tới 0,1 kJ/kg.
8.3. Nhiệt hòa tan của xi măng thủy hóa n ngày (Qn), tính bằng kJ/kg, theo công thức:
… (7)
trong đó:
Ck, DTdc là giá trị được tính theo công thức (2) và (3);
1,7 là nhiệt dung riêng của xi măng thủy hóa n ngày, tính bằng kJ/kg.°C;
Mn là khối lượng mẫu xi măng đã thủy hóa sau nung, tính bằng kg, theo công thức sau:
… (8)
trong đó:
mn là khối lượng mẫu xi măng thủy hóa n ngày, tính bằng kg;
MKNn là hàm lượng mất khi nung của xi măng thủy hóa n ngày, tính bằng %, xác định theo TCVN 141:1998;
Gn là giá trị được xác định theo công thức (6), đối với xi măng thủy hóa n ngày.
Nhiệt hòa tan của xi măng thủy hóa n ngày (Qn) là trung bình cộng của hai kết quả xác định song song, không lệch nhau quá 20 kJ/kg, lấy chính xác tới 0,1 kJ/kg.
8.4. Nhiệt thủy hóa của xi măng (Hn) tính bằng kJ/kg, theo công thức:
Hn = Q0 – Qn … (9)
trong đó:
Q0 là nhiệt hòa tan của xi măng khô, tính bằng kJ/kg;
Qn là nhiệt hòa tan của xi măng thủy hóa n ngày, tính bằng kJ/kg.
Kết quả nhiệt thủy hóa (Hn) của xi măng được lấy chính xác tới 0,1 kJ/kg.
9. Báo cáo thử nghiệm
Báo cáo thử nghiệm phải đầy đủ các thông tin sau:
a) viện dẫn tiêu chuẩn này;
b) mô tả mẫu thử;
c) các giá trị nhiệt hòa tan Q0, Q7 và H28;
d) các giá trị nhiệt thủy hóa H7 và H28;
e) các nhận xét khác trong quá trình thử, nếu cần.
Các giá trị ghi ở điều 9.c) và 9.d) có thể được trình bày theo Bảng 1.
Bảng 1 – Kết quả tính toán nhiệt hòa tan và nhiệt thủy hóa
|
Số thứ tự mẫu thử |
Q0 |
Q7 |
Q28 |
H7 |
H28 |
|
1 |
…… |
…… |
…… |
…… |
…… |
|
2 |
…… |
…… |
…… |
…… |
…… |
|
…… |
…… |
…… |
…… |
…… |
…… |
|
n |
…… |
…… |
…… |
…… |
…… |
|
Q0 : Nhiệt hòa tan của xi măng khô; Q7, Q28 : Nhiệt hòa tan của xi măng thủy hóa 7 hoặc 28 ngày; H7, H28 : Nhiệt thủy hóa của xi măng ở 7 hoặc 28 ngày. |
|||||


