Nội dung toàn văn Tiêu chuẩn quốc gia TCVN 6305-1:2007 (ISO 6182-1 : 2004) về Phòng cháy chữa cháy – Hệ thống Sprinkler tự động – Phần 1: Yêu cầu và phương pháp thử đối với Sprinkler
TIÊU CHUẨN QUỐC GIA
TCVN 6305-1: 2007
ISO 6182-1 : 2004
PHÒNG CHÁY CHỮA CHÁY – HỆ THỐNG SPRINKLER TỰ ĐỘNG – PHẦN 1 : YÊU CẦU VÀ PHƯƠNG PHÁP THỬ ĐỐI VỚI SPRINKLER
Fire protection – Automatic sprinkler systems – Part 1: Requirements and test methods for sprinklers
Lời nói đầu
TCVN 6305-1: 2007 thay thế TCVN 6305-1 : 1997 (ISO 6182-1 : 1993).
TCVN 6305-1: 2007 hoàn toàn tương đương với ISO 6182-1 : 2004.
TCVN 6305-1: 2007 do Ban kỹ thuật tiêu chuẩn TCVN/TC 21 Thiết bị phòng cháy chữa cháy biên soạn, Tổng cục Tiêu chuẩn Đo lường Chất lượng đề nghị, Bộ Khoa học và Công nghệ công bố.
TCVN 6305 (ISSO 6182) Phòng cháy chữa cháy – Hệ thống sprinkler tự động bao gồm 5 phần sau:
– TCVN 6305-1: 2007 (ISO 6182-1 : 2004) – Phần 1 : Yêu cầu và phương pháp thử đối với Sprinkler;
– TCVN 6305-2: 2007 (ISO 6182-2 : 2005) – Phần 2 : Yêu cầu và phương pháp thử đối với van báo động kiểu ớt, bình làm trễ và chuông nước;
– TCVN 6305-3: 2007 (ISO 6182-3 : 2005) – Phần 3 : Yêu cầu và phương pháp thử đối với van ống khô;
– TCVN 6305-7: 2006 (ISO 6182-7 : 2004) – Phần 7 : Yêu cầu và phương pháp thử đối với đầu phun nhanh ngăn chặn sớm;
– TCVN 6305-11: 2006 (ISO 6182-11 : 2004) – Phần 11 : Yêu cầu và phương pháp thử đối với giá treo ống.
PHÒNG CHÁY CHỮA CHÁY – HỆ THỐNG SPRINKLER TỰ ĐỘNG – PHẦN 1 : YÊU CẦU VÀ PHƯƠNG PHÁP THỬ ĐỐI VỚI SPRINKLER
Fire protection – Automatic sprinkler systems – Part 1: Requirements and test methods for sprinklers
1 Phạm vi áp dụng
Tiêu chuẩn này qui định các đặc tính, phương pháp thử và ghi nhãn đối với sprinkler thông thường, sprinkler phun sương, sprinkler phun sương thẳng và sprinkler bên vách. Tiêu chuẩn này không áp dụng cho các sprinkler có nhiều miệng phun.
2 Tài liệu viện dẫn
Các tài liệu dưới đây là rất cần thiết đối với việc áp dụng tiêu chuẩn này. Đối với tài liệu có ghi năm công bố, áp dụng phiên bản được nêu. Đối với tài liệu không có năm công bố, áp dụng phiên bản mới nhất (kể cả các sửa đổi).
TCVN 7705 (ISO 49), Phụ tùng ống bằng gang dẻo được làm ren theo ISO 7-1.
ISO 7-1 : 1982, Pipe threads where pressure-tight joints are made on the threads – Part 1: Dimensios, toleraces and designation (Ren ống cho mối nối kín áp bằng ghép ren – Phần 1: Ký hiệu, kích thước và dung sai).
ISO 65, Carbon steel suitable tubes for screwing in accordance with ISO 7-1 (Ống thép cacbon dùng cho mối ghép ren theo ISO 7-1).
PPP-B-640D : 1969, Federal Sprecification for Boxes, Fiberboard, Comugated, Triple-Wall (Đặc tính kỹ thuật toàn liên bang đối với hộp, ván sợi ép, tường lượn sóng, tường ba lớp).
3 Thuật ngữ và định nghĩa
Tiêu chuẩn này áp dụng các thuật ngữ và định nghĩa sau.
3.1 Các thuật ngữ chung
3.1.1
Sprinkler (Sprinkler)
Cơ cấu nhạy cảm nhiệt được thiết kế để tác động ở một nhiệt độ xác định trước bằng cách tự động xả luồng nước và phân bố luồng nước theo đặc tuyến và số lượng qui định trên một diện tích thiết kế.
3.1.2
Hệ số dẫn C (conductivity factor)
Giá trị độ dẫn giữa phần tử phản ứng nhiệt của sprinkler và phụ tùng nối.
CHÚ THÍCH Hệ số dẫn được tính theo đơn vị (m/s)0,5.
3.1.3
Chỉ số thời gian phản ứng, RTI (response time index)
Giá trị độ nhạy cảm của sprinkler
RTI = ![]()
trong đó
t là hằng số thời gian của phần tử phản ứng nhiệt, tính bằng giây;
u là tốc độ khí, tính bằng mét trên giây
CHÚ THÍCH 1 Chỉ số thời gian phản ứng được tính theo đơn vị (m.s)0,5.
CHÚ THÍCH 2 Có thể sử dụng RTI kết hợp với hệ số dẫn C để dự tính khả năng phản ứng của sprinkler trong môi trường cháy được xác định theo các yếu tố nhiệt độ và tốc độ khí thay đổi theo thời gian.
3.1.4
Hướng chuẩn (standard orientation)
Hướng tạo ra thời gian phản ứng ngắn nhất với đường trục miệng vào của sprinkler vuông góc với luồng không khí.
CHÚ THÍCH Trong trường hợp các phần tử phản ứng nhiệt đối xứng, hướng chuẩn là hướng mà luồng không khí vuông góc với cả đường trục của luồng nước và mặt phẳng của tay khung kẹp; Trong trường hợp các phần tử phản ứng nhiệt không đối xứng, hướng chuẩn là hướng mà luồng không khí vuông góc với cả đường trục luồng nước và mặt phẳng của tay khung kẹp, đồng thời phải tạo ra phản ứng ngắn nhất.
3.1.5
Hướng trường hợp xấu nhất (worst-case orientation)
Hướng tạo ra thời gian phản ứng dài nhất với đường trục miệng vào của sprinkler vuông góc với luồng không khí.
3.1.6
Tải trọng lắp ráp (assembly load)
Lực tác dụng lên thân sprinkler tại áp suất thủy lực 0 MPa (0 bar) tại đường vào của sprinkler.
3.1.7
Tải trọng thiết kế (design load)
Lực tác dụng lên bộ phận mở tại tải trọng làm việc của sprinkler.
3.1.8
Tải trọng làm việc (service load)
Lực tổng hợp tác dụng lên thân sprinkler do tải trọng lắp ráp của sprinkler và lực tương đương với áp suất thủy lực 1,2 MPa (12 bar) tại đường vào của sprinkler.
3.1.9
Độ bền thiết kế trung bình (average design strength)
Độ bền thiết kế (dọc trục) trung bình thấp nhất của bầu thủy tinh do nhà cung cấp qui định và đảm bảo đối với lô bất kỳ gồm 50 bầu thủy tinh.
3.2 Các loại sprinkler theo kiểu phần tử phản ứng nhiệt
3.2.1
Sprinkler có phần tử dễ cháy (fusible element sprinkler)
Sprinkler được mở ra do sự tác động của nhiệt tới bộ phận nóng chảy.
3.2.2
Sprinkler có bầu thủy tinh (glass bulb sprinkler)
Sprinkler được mở ra do sự tác động của nhiệt làm giãn nở chất lỏng chứa trong bầu thủy tinh và làm tăng áp suất gây ra vỡ bầu thủy tinh.
3.3 Các loại sprinkler theo kiểu phân bố nước
3.3.1
Sprinkler thông thường, C (conventional sprinkler)
Sprinkler phân bố nước theo dạng hình cầu hướng xuống dưới và được lắp ở trần nhà để bảo vệ cho một diện tích xác định sao cho 40 % đến 60 % tổng lượng nước hướng xuống dưới lúc ban đầu.
3.3.2
Sprinkler phun sương, S (spray sprinkler)
Sprinkler phân bố nước theo hình paraboloit hướng xuống dưới để bảo vệ cho một diện tích xác định sao cho 80 % đến 100 % tổng lượng nước hướng xuống dưới lúc ban đầu.
3.3.3
Sprinkler phun sương phẳng, F (flat spray sprinkler)
Sprinkler phân bố nước theo hình paraboloit hướng xuống dưới để bảo vệ cho một diện tích xác định sao cho 60 % đến 80 % tổng lượng nước hướng xuống dưới lúc ban đầu.
3.3.4
Sprinkler bên vách, W (sidewall sprinkler)
Sprinkler phân bố nước một phía (nửa paraboloit) trên một diện tích bảo vệ xác định.
3.4 Các loại sprinkler theo vị trí
3.4.1
Sprinkler hướng lên trên, U (upright sprinkler)
Sprinkler được lắp đặt sao cho luồng nước hướng đi lên dội vào tấm phân tán đối diện.
3.4.2
Sprinkler hướng xuống dưới, P (pendent sprinkler)
Sprinkler được lắp đặt sao cho luồng nước phun xuống dưới dội vào tấm phân tán đối diện.
3.4.3
Sprinkler nằm ngang, H (horizontal sprinkler)
Sprinkler được lắp đặt sao cho luồng nước hướng theo chiều ngang dội vào tấm phân tán đối diện.
3.5 Các loại sprinkler đặc biệt
3.5.1
Sprinkler khô hướng lên trên (dry upright sprinkler)
Thiết bị gồm một sprinkler được lắp hướng lên trên tại đầu ra phần kéo dài của một ống xả nước thẳng đứng chuyên dùng có nút bịt kín tại đầu mút đường vào để phòng ngừa nước chảy vào ống xả nước thẳng đứng tới khi nước được xả ra do sự vận hành của sprinkler.
3.5.2
Sprinkler khô hướng xuống dưới (dry pendent sprinkler)
Thiết bị gồm một sprinkler được lắp đặt hướng xuống dưới tại đầu ra phần kéo dài của một ống chuyên dùng hướng xuống dưới có nút bịt kín tại đầu mút đường vào để phòng ngừa nước chảy vào ống hướng xuống dưới này tới khi nước được xả ra do sự vận hành của sprinkler.
3.5.3
Sprinkler trần (flush sprinkler)
Sprinkler có toàn bộ hoặc một phần thân, bao gồm cả phần ren ở chuôi được lắp ráp phía trên mặt phẳng dưới của trần nhưng một phần hoặc toàn bộ phần tử phản ứng nhiệt lắp ở phía dưới mặt phẳng dưới của trần (nhà).
3.5.4
Sprinkler lắp chìm (recessed sprinkler)
Sprinkler mà toàn bộ hoặc một phần thân không bao gồm phần ren ở chuôi được lắp ráp chìm.
3.5.5
Sprinkler lắp chìm có nắp đậy (concealed sprinkler)
Sprinkler mà toàn bộ hoặc một phần thân không bao gồm phần ren ở chuôi được lắp ráp chìm có nắp đậy.
3.5.6
Sprinkler mở/đóng, o/o (on/off sprinkler)
Sprinkler mở lặp lại do tác động của nhiệt và đóng kín nếu phần tử nhạy cảm nhiệt nguội tới một nhiệt độ xác định trước.
3.5.7
Sprinkler hướng xuống dưới có nhiều miệng phun, MO (multiple-orifice pendent sprinkler)
Sprinkler có hai hoặc nhiều miệng phun trên đường ra được bố trí để phân bố nước hướng xuống dưới với đặc tính và số lượng qui định để bảo vệ cho một diện tích xác định.
3.5.8
Sprinkler được phủ bảo vệ (coated sprinkler)
Sprinkler được phủ lớp bảo vệ chống ăn mòn tại nhà máy chế tạo.
3.5.9
Sprinkler có bộ phận chắn nước (sprinkler with water shield)
Sprinkler sử dụng trong các giàn hoặc dưới mạng lưới để hở, được trang bị bộ phận chắn nước lắp đặt phía trên phần tử phản ứng nhiệt để bảo vệ cho phần tử này không bị nước do sprinkler xả ra bắn vào.
3.5.10
Sprinkler có vùng bao phủ mở rộng (estended-coverage sprinkler)
Sprinkler có diện tích bao phủ qui định lớn hơn diện tích bao phủ của sprinkler thông thường, sprinkler phun sương, sprinkler phun sương phẳng hoặc sprinkler bên vách.
3.6 Các loại sprinkler theo độ nhạy
3.6.1
Sprinkler phản ứng nhanh (fast-response sprinkler)
Sprinkler có chỉ số thời gian phản ứng (RTI) nhỏ hơn hoặc bằng 50 (m.s)0,5 và hệ số dẫn (C) nhỏ hơn hoặc bằng 1,0 (m/s)0,5.
Xem Hình 1
3.6.2
Sprinkler phản ứng đặc biệt (special-response sprinkler)
Sprinkler có chỉ số thời gian phản ứng trung bình (RTI) ở trong khoảng từ 50 (m.s)0,5 đến 80 (m.s)0,5 và hệ số dẫn (C) nhỏ hơn hoặc bằng 1,0 (m/s)0,5.
Xem Hình 1
3.6.3 Sprinkler phản ứng tiêu chuẩn (standard-response sprinkler)
Sprinkler có chỉ số thời gian phản ứng (RTI) ở trong khoảng từ 80 (m.s)0,5 đến 350 (m.s)0,5 và hệ số dẫn (C) không vượt quá 2,0 (m/s)0,5.
Xem Hình 1

CHÚ DẪN:
1 Sprinkler phản ứng tiêu chuẩn
2 Sprinkler phản ứng đặc biệt
3 Sprinkler phản ứng nhanh
Hình 1 – Các giới hạn của RTI và C đối với định hướng chuẩn
4 Tính ổn định của sản phẩm
4.1 Chương trình kiểm soát chất lượng
Nhà sản xuất có trách nhiệm thực hiện chương trình kiểm soát chất lượng để bảo đảm cho sản phẩm thường xuyên đáp ứng được các yêu cầu của tiêu chuẩn này tương tự như chương trình kiểm soát đối với mẫu thử ban đầu (gốc).
4.2 Thử chống rò rỉ
Mỗi sprinkler được sản xuất ra phải vượt qua phép thử chống rò rỉ ở áp suất tương đương với áp suất thủy tĩnh ít nhất là 3 MPa (30 bar) trong thời gian ít nhất là 2 s.
5 Lắp ráp sản phẩm
Tất cả các sprinkler phải được thiết kế và chế tạo đảm bảo sao cho không thể dễ dàng điều chỉnh, tháo dỡ hoặc lắp ráp lại.
6 Yêu cầu
6.1 Kích thước
Kích thước của sprinkler phải phù hợp với Bảng 1.
Bảng 1 – Các yêu cầu về kích thước
|
Đường kính danh nghĩa của miệng phun mm |
Cỡ ren danh nghĩa inches |
|
10 |
3/8 |
|
15 |
½ |
|
20 |
3/4 |
6.1.1 Cỡ miệng phun
6.1.1.1 Tất cả các sprinkler phải có kết cấu sao cho một bi cầu đường kính 8 mm có thể lọt qua từng lỗ dẫn nước trong sprinkler, ngoại trừ các qui định trong 6.1.1.2.
6.1.1.2 Có thể sử dụng các sprinkler có miệng phun đường kính danh nghĩa 6 mm, 8 mm hoặc 9 mm hoặc các sprinkler có nhiều lỗ dẫn nước đã được chấp nhận sử dụng.
Có thể chấp nhận các sprinkler tự động có miệng phun 6 mm hoặc 8 mm và sử dụng các sprinkler cùng với bộ lọc trong hệ thống hoặc trong mỗi sprinkler thì cũng có thể sử dụng viên bi cầu đường kính 5 mm để kiểm tra cỡ kích thước của từng lỗ dẫn nước.
Có thể chấp nhận các sprinkler có nhiều lỗ dẫn nước và sử dụng các sprinkler cùng với bộ lọc trong hệ thống hoặc trong mỗi sprinkler thì cũng có thể sử dụng viên bi cầu đường kính 3 mm để kiểm tra cỡ kích thước của từng lỗ dẫn nước.
6.1.2 Cỡ ren danh nghĩa
6.1.2.1 Cỡ ren danh nghĩa phải thích hợp với phụ tùng được cắt ren phù hợp với ISO 7-1. Kích thước của tất cả các chi tiết nối ren cần phù hợp với các tiêu chuẩn nhà nước tương ứng hoặc các tiêu chuẩn quốc tế tương ứng nếu được áp dụng.
6.1.2.2 Có thể chấp nhận sử dụng ren 1/2 in cho các sprinkler có các miệng phun với đường kính danh nghĩa 6 mm, 8 mm, 9 mm, 10 mm và 20 mm.
6.1.2.3 Các sprinkler đặc biệt như các sprinkler khô và sprinkler trần có thể có các cỡ ren lớn hơn.
6.2 Nhiệt độ làm việc danh nghĩa (xem 7.7.1)
6.2.1 Nhiệt độ làm việc danh nghĩa của các sprinkler có bầu thủy tinh phải phù hợp với Bảng 2.
6.2.2 Nhiệt độ làm việc danh nghĩa của tất cả các sprinkler khác phải do nhà sản xuất qui định trước và được kiểm tra phù hợp với 6.3 và phải được xác định theo 7.7.1. Các phạm vi nhiệt độ làm việc danh nghĩa đối với các sprinkler này phải phù hợp với Bảng 2.
6.2.3 Nhiệt độ làm việc danh nghĩa được ghi nhãn trên sprinkler phải là nhiệt độ được xác định khi thử nghiệm sprinkler theo 7.7.1 có tính đến yêu cầu trong 6.3.
6.3 Nhiệt độ làm việc (xem 7.7.1)
Sprinkler phải vận hành trong phạm vi nhiệt độ
I ± (0,035I + 0,62)oC
trong đó I là nhiệt độ làm việc danh nghĩa
Bảng 2 – Nhiệt độ làm việc danh nghĩa
|
Sprinkler có bầu thủy tinh |
|
|
Nhiệt độ làm việc danh nghĩa, I oC |
Mã màu chất lỏng |
|
57 |
Da cam (orange) |
|
68 |
Đỏ (red) |
|
79 |
Vàng (yellow) |
|
93 |
Xanh lá cây (green) |
|
107 |
Xanh lá cây (green) |
|
121 |
Xanh da trời (blue) |
|
141 |
Xanh da trời (blue) |
|
163 |
Hoa cà (mauve) |
|
182 |
Hoa cà (mauve) |
|
204 |
Đen (black) |
|
227 |
Đen (black) |
|
260 |
Đen (black) |
|
343 |
Đen (black) |
|
Sprinkler có phần tử dễ chảy |
|
|
Phạm vi nhiệt độ làm việc danh nghĩa, I oC |
Mã màu thanh giữ |
|
57 đến 77 |
Không màu (uncoloured) |
|
80 đến 107 |
Trắng (white) |
|
121 đến 149 |
Xanh da trời (blue) |
|
163 đến 191 |
Đỏ (red) |
|
204 đến 246 |
Xanh lá cây (green) |
|
260 đến 302 |
Da cam (orange) |
|
320 đến 343 |
Da cam (orange) |
6.4 Lưu lượng và phân bố nước
6.4.1 Hằng số lưu lượng (xem 7.11)
Hằng số lưu lượng, K, của sprinkler được tính toán theo công thức:
![]()
trong đó
p là áp suất, tính bằng megapascal
p là lưu lượng, tính bằng lít trên phút
Hằng số K đối với các sprinkler theo tiêu chuẩn này phải phù hợp với Bảng 3 khi được xác định theo phương pháp thử cho trong 7.11.
Bảng 3 – Hằng số lưu lượng
|
Đường kính danh nghĩa miệng phun mm |
K |
K cho các sprinkler khô |
|
10 |
57 ± 3 |
57 ± 5 |
|
15 |
80 ± 4 |
80 ± 6 |
|
20 |
115 ± 6 |
115 ± 9 |
6.4.2 Phân bố nước (xem 7.12)
Để xác định được vùng che phủ theo yêu cầu của diện tích bảo vệ xác định, sprinkler phải đạt thử nghiệm qui định trong 7.12.
6.5 Thực hiện chức năng (xem 7.6)
6.5.1 Khi thử theo 7.6.1 đến 7.6.5, sprinkler phải mở và trong vòng 5 s khi phần tử phản ứng nhiệt nhả ra, sprinkler phải vận hành tốt phù hợp với 6.4.1. Bất cứ mọi cặn lắng nào của các bộ phận nhả cũng phải được làm sạch trong 60 s có sự nhả ra của phần tử phản ứng nhiệt đối với các sprinkler phản ứng tiêu chuẩn và trong 10 s đối với các sprinkler phản ứng đặc biệt và phản ứng nhanh; Mặt khác, sprinkler phải tuân thủ 6.4.2.
6.5.2 Bộ phận hướng dòng và các chi tiết đỡ của nó không được có hư hỏng đáng kể do phép thử chức năng qui định trong 7.6.6 và phải phù hợp với yêu cầu của 6.4.2.
CHÚ THÍCH Trong nhiều trường hợp, kiểm tra sprinkler bằng mắt cũng đủ khả năng xác định được sự phù hợp với yêu cầu của 6.5.1 và 6.5.2.
6.5.3 Sprinkler mở/đóng phải được bật ở vị trí đóng hoàn toàn hoặc mở hoàn toàn. Không cho phép có vị trí trung gian, vị trí mở một phần. Sau sự vận hành ban đầu, cho phép có sự rò rỉ không vượt quá 20 ml/min ở vị trí đóng kín (xem 7.27.10).
6.6 Tải trọng làm việc và độ bền của thân sprinkler (xem 7.4)
6.6.1 Thân sprinkler không được có độ giãn dài dư lớn hơn 0,2 % giữa các điểm chịu tải của thân sprinkler sau khi chịu tác dụng của tải trọng bằng hai lần tải trọng làm việc được đo theo 7.4.
6.6.2 Nhà sản xuất phải qui định tải trọng làm việc trung bình và giới hạn trên của tải trọng làm việc.
6.7 Độ bền của phần tử phản ứng nhiệt (xem 7.10)
6.7.1 Khi thử theo 7.10.1, các phần tử bầu thủy tinh phải
a) có độ bền thiết kế trung bình tối thiểu phải bằng sáu lần tải trọng làm việc trung bình, và
b) có giới hạn dưới của dung sai độ bền thiết kế (LTL) trên đường cong phân bố độ bền tối thiểu phải bằng hai lần giới hạn trên dung sai (UTL) của đường cong phân bố tải trọng làm việc dựa trên tính toán với độ tin cậy (Y) 0,99 đối với 99 % mẫu thử (P) và với phân bố chuẩn hoặc phân bố Gauss, trừ khi các phân bố khác tỏ ra thích hợp hơn cho chế tạo các yếu tố kết cấu (xem Hình 2).
6.7.2 Phải thiết kế phần tử phản ứng nhiệt dễ chảy trong phạm vi nhiệt độ bình thường để
a) chịu được tải trọng bằng 15 lần tải trọng thiết kế tương ứng với tải trọng làm việc lớn nhất được đo theo 7.4 trong khoảng thời gian 100 h khi thử phù hợp với 7.10.2.1, hoặc
b) chứng minh khả năng chịu được tải trọng thiết kế khi được thử phù hợp với 7.10.2.2.

CHÚ DẪN:
1 tải trọng làm việc trung bình
2 đường cong tải trọng làm việc
3 UTL
4 LTL
5 độ bền thiết kế trung bình
6 đường cong độ bền thiết kế
Hình 2 – Đường cong độ bền
6.8 Khả năng chống rò rỉ và độ bền thủy tĩnh (xem 7.5)
6.8.1 Sprinkler không được có bất kỳ dấu hiệu rò rỉ nào khi được thử theo 7.5.1.
6.8.2 Sprinkler không bị phá hủy, bất cứ chi tiết hoặc bộ phận nào của sprinkler cũng không được vận hành hoặc bị long ra khi được thử theo 7.5.2.
6.9 Khả năng chịu nhiệt (xem 7.8)
6.9.1 Sprinkler có bầu thủy tinh
Không được có hư hỏng đối với bộ phận bần thủy tinh khi sprinkler được thử theo 7.8.1.
6.9.2 Sprinkler không được phủ bảo vệ
Sprinkler phải chịu được tác động của nhiệt độ môi trường tăng lên mà không có dấu hiệu bị yếu đi hoặc hư hỏng khi được thử theo 7.8.2.
6.9.3 Sprinkler được phủ bảo vệ
Ngoài việc đáp ứng yêu cầu trong 6.9.2 như đối với sprinkler không được phủ bảo vệ, sprinkler được phủ bảo vệ phải chịu được tác động của nhiệt độ môi trường tăng lên mà không có dấu hiệu bị suy giảm hoặc hư hỏng lớp phủ khi được thử theo 7.8.3.
6.10 Sự thay đổi nhiệt độ đột ngột (xem 7.9)
Sprinkler có bầu thủy tinh không được hư hỏng khi được thử theo 7.9. Sự vận hành không được xem là hư hỏng.
6.11 Sự ăn mòn
6.11.1 Ăn mòn do ứng suất (xem 7.13.1)
Khi thử theo 7.13.1, mỗi sprinkler không được có các vết nứt, sự tách lớp hoặc các hư hỏng có thể ảnh hưởng tới khả năng đáp ứng các yêu cầu khác của sprinkler.
6.11.2 Ăn mòn do sunfua dioxit (xem 7.13.2)
Các sprinkler được phủ bảo vệ và không được phủ bảo vệ phải chịu được sunfua đioxit đã bão hòa với hơi nước khi được thử theo 7.13.2. Sau khi chịu tác động của môi trường ăn mòn do sunfua dioxit, các sprinkler phải được thử về chức năng (vận hành) ở 0,035 MPa (0,35 bar) phù hợp với 6.5.1 và phải đáp ứng các yêu cầu về sự tăng nhiệt động lực học trong 6.14.3 hoặc 6.24 đối với sprinkler lắp chìm có nắp đậy, sprinkler trần hoặc sprinkler lắp chìm.
6.11.3 Ăn mòn do phun sương có muối (xem 7.13.3)
Các sprinkler được phủ bảo vệ và không được phủ bảo vệ phải chịu được sương có muối khi được thử theo 7.13.3. Sau khi phơi trong môi trường ăn mòn do sương có muối, các sprinkler phải được thử về chức năng (vận hành) ở 0,035 MPa (0,35 bar) phù hợp với 6.5.1 và phải đáp ứng các yêu cầu về sự tăng nhiệt động lực học trong 6.14.3 hoặc 6.24 đối với sprinkler lắp chìm có nắp đậy, sprinkler trần hoặc sprinkler lắp chìm.
6.11.4 Tác động của không khí ẩm (xem 7.13.4)
Sprinkler phải chịu được tác động của không khí ẩm khi được thử theo 7.13.4. Sau khi phơi trong không khí ẩm, sprinkler phải được thử về chức năng (vận hành) ở 0,035 MPa (0,35 bar) phù hợp với 6.5.1 và phải đáp ứng các yêu cầu về sự tăng nhiệt động lực học trong 6.14.3 hoặc 6.24 đối với sprinkler lắp chìm có nắp đậy, sprinkler trần hoặc sprinkler lắp chìm.
6.12 Sprinkler được phủ bảo vệ (xem 7.8.3)
6.12.1 Tác động của sự tăng nhiệt độ môi trường
Ngoài việc đáp ứng yêu cầu trong 6.9.2 như đối với sprinkler không được phủ bảo vệ, sprinkler được phủ bảo vệ phải chịu được tác động của sự tăng nhiệt độ môi trường mà không có dấu hiệu bị suy giảm hoặc hư hỏng lớp phủ khi được thử theo phương pháp qui định trong 7.8.3.
6.12.2 Sự bay hơi của sáp và bitum (xem 7.14.1)
Sáp và bitum dùng để phủ bảo vệ cho sprinkler không được chứa chất dễ bay hơi với số lượng đủ để gây ra sự co ngót, đông cứng, rạn nứt hoặc tạo thành vảy của lớp phủ được dùng. Sự giảm khối lượng không được vượt quá 5% khối lượng của mẫu thử ban đầu khi thử theo 7.14.1.
6.12.3 Khả năng chịu nhiệt độ thấp (xem 7.14.2)
Tất cả các lớp phủ được dùng cho sprinkler không được rạn nứt hoặc tạo thành vảy khi chịu tác động của nhiệt độ thấp theo 7.14.2.
6.12.4 Khả năng chịu nhiệt độ cao
Sprinkler được phủ bảo vệ phải đáp ứng yêu cầu của 6.9.3.
6.13 Va đập thủy lực (xem 7.16)
Sprinkler không được rò rỉ trong hoặc sau khi tăng áp suất được mô tả trong 7.16. Sau khi thử theo 7.16, sprinkler không được có dấu hiệu hư hỏng cơ học, phải đáp ứng yêu cầu của 6.8.1 và phải vận hành khi được thử về chức năng theo các yêu cầu của 6.5.1 ở mức áp suất 0,035 MPa (0,35 bar).
6.14 Sự tăng nhiệt động lực học (xem 7.7.2)
6.14.1 Hướng chuẩn
Sprinkler phản ứng tiêu chuẩn, sprinkler phản ứng đặc biệt và sprinkler phản ứng nhanh phải đáp ứng các giới hạn RTI và C chỉ dẫn trên Hình 1, khi được thử trong hướng chuẩn phù hợp với 7.7.2. Hướng trường hợp xấu nhất thường được xác định bằng kiểm tra bằng mắt. Các giá trị tính toán lớn nhất và nhỏ nhất của RTI khi sử dụng C cho các sprinkler phản ứng nhanh và phản ứng tiêu chuẩn phải nằm trong các giới hạn của loại sprinkler tương ứng chỉ dẫn trên Hình 1. Các sprinkler phản ứng đặc biệt phải có giá trị trung bình của RTI được tính toán khi sử dụng C ở trong khoảng từ 50 đến 80 và không có giá trị nào nhỏ hơn 40 hoặc lớn hơn 100.
6.14.2 Hướng có dịch chuyển
Khi được thử ở dịch chuyển góc phù hợp với 7.7.2.1.1 đến 7.7.2.1.4, mỗi giá trị RTI tính toán có sử dụng C không được vượt quá 600 % hoặc 250 % của giá trị RTI trung bình trong hướng chuẩn, lấy giá trị nào nhỏ hơn.
6.14.3 RTI sau thử ăn mòn
Sau thử ăn mòn theo 6.11.2, 6.11.3 và 6.11.4, sprinkler phải được thử trong định chuẩn phù hợp với 7.7.2.1 để xác định RTI sau ăn mòn. Không có giá trị nào của RTI sau ăn mòn được vượt qua các giới hạn chỉ dẫn trên Hình 1 đối với loại sprinkler tương ứng. Ngoài ra, giá trị RTI trung bình không được vượt quá 130 % giá trị trung bình trước thử ăn mòn. Tất cả các giá trị RTI sau thử ăn mòn phải được tính toán như trong 7.7.2.3 khi sử dụng hệ số dẫn (C) trước thử ăn mòn.
6.15 Độ bền chịu nhiệt (xem 7.15)
Sprinkler mở nhanh phải chịu được nhiệt độ cao khi được thử theo 7.15. Sau khi chịu tác động của nhiệt độ cao, sprinkler không được có biến dạng nhìn thấy được hoặc nứt vỡ.
6.16 Độ bền chịu rung (xem 7.17)
Sprinkler phải có khả năng chịu được ảnh hưởng của rung và không bị hư hỏng khi được thử theo 7.17. Sau thử rung theo 7.17,sprinkler không được có hư hỏng nhìn thấy được, phải đáp ứng các yêu cầu trong 6.8.1 và phải vận hành khi được thử về chức năng theo các yêu cầu trong 6.5.1 ở áp suất 0,035 MPa (0,35 bar).
6.17 Độ bền chịu va đập (xem 7.18)
6.17.1 Sprinkler thông thường, sprinkler phun sương và sprinkler được che chắn nước phải có đủ độ bền để chịu được va đập do sự điều khiển, vận hành, vận chuyển và lắp đặt mà không làm giảm đi tính năng làm việc hoặc độ tin cậy. Sau thử va đập theo 7.18.1, các sprinkler không được gãy vỡ hoặc biến dạng, phải đáp ứng yêu cầu trong 6.8.1 và phải vận hành khi được thử về chức năng theo các yêu cầu trong 6.5.1 ở áp suất 0,035 MPa (0,35 bar).
6.17.2 Bộ phận che chắn nước của sprinkler được che chắn nước không được bị cắt ra hoặc bị uốn cong tới mức đủ để cản trở sự vận hành của sprinkler do kết quả thử va đập nêu trong 7.18.2.
6.18 Hiệu suất chữa cháy cũi gỗ (xem 7.19)
6.18.1 Tất cả các sprinkler có đường kính danh nghĩa của miệng phun 15 mm và 20 mm, trừ sprinkler bên vách, sprinkler phun sương phẳng và sprinkler thông thường, phải kiểm soát được đám cháy cũi gỗ khi được thử theo 7.19. Ví dụ, đối với các sprinkler khô, phải sử dụng chiều dài ngắn nhất được chế tạo cho phép thử này.
6.18.2 Nhiệt độ không khí tại các vị trí đặt các cặp nhiệt điện phải được giảm đi tới nhiệt độ cao hơn nhiệt độ môi trường xung quanh tối đa là 275 oC trong 5 min phun nước đầu tiên.
6.18.3 Nhiệt độ không khí trung bình tại các cặp nhiệt điện không được cao hơn nhiệt độ môi trường xung quanh quá 275 oC đối với bất kỳ khoảng thời gian liên tục 3 min trong thời gian thử còn lại.
6.18.4 Nhiệt độ trung bình đối với khoảng thời gian từ lúc nhiệt độ trần giảm xuống nhiệt độ cao hơn nhiệt độ môi trường xung quanh tối đa là 275 oC tới lúc kết thúc phép thử phải được tính toán bằng cách so sánh diện tích ở dưới đường cong được xác định bởi các nhiệt độ trần đã ghi lại với diện tích bên dưới đường thẳng được vẽ ở điểm nhiệt độ cao hơn nhiệt độ môi trường xung quanh 275 oC. Diện tích bên dưới đường cong của các nhiệt độ trần được ghi lại phải là diện tích nhỏ hơn trong hai diện tích đã nêu.
6.18.5 Sự mất mát khối lượng của cũi gỗ không được vượt quá 20 %.
6.19 Sự xả trễ (xem 7.20)
Sprinkler phun sương hướng lên trên và hướng xuống dưới không được ngăn cản hoạt động của các sprinkler tiếp giáp khi được thử theo 7.20.
6.20 Khả năng chống rò rỉ trong 30 ngày (xem 7.21)
Sprinkler không được rò rỉ, móp méo hoặc có hư hỏng cơ khí khác khi chịu tác dụng của áp suất nước đến 2 MPa (20 bar) trong 30 ngày. Trong quá trình thử này và kiểm tra sau đó, các sprinkler phải đáp ứng các yêu cầu trong 7.21.
6.21 Độ bền chịu chân không (xem 7.22)
Sprinkler không được móp méo, hư hỏng cơ khí hoặc rò rỉ sau khi được thử theo 7.22.
6.22 Góc bảo vệ che chắn nước (xem 7.23)
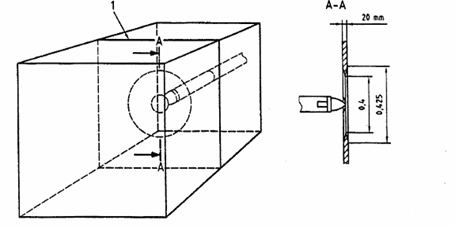
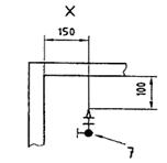
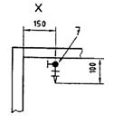
Bộ phận chắn nước phải tạo ra góc bảo vệ 45 o hoặc nhỏ hơn cho phần tử phản ứng nhiệt để tránh nước từ bộ phận chắn nước được xả ra từ sprinkler ở trên cao (xem Hình 3) va đập hoặc chảy vào phần tử phản ứng nhiệt. Sự tuân theo yêu cầu này phải được xác định phù hợp với 7.23.
6.23 Chuyển động quay của bộ phận chắn nước (xem 7.24)
Chuyển động quay của bộ phận chắn nước không được làm thay đổi tải trọng làm việc của sprinkler khi được đánh giá theo 7.24.

CHÚ DẪN
1 bộ phận chắn nước
2 góc bảo vệ
Hình 3 – Góc bảo vệ
6.24 Phản ứng nhiệt của sprinkler lắp chìm có nắp đậy, sprinkler trần và sprinkler lắp chìm (xem 7.25)
6.24.1 Sprinkler lắp chìm có nắp đậy, sprinkler trần và sprinkler lắp chìm phải đáp ứng các yêu cầu trong 6.24.2 hoặc 6.24.3.
6.24.2 Khi thử theo 7.25.1, sprinkler lắp chìm có nắp đậy, sprinkler trần và sprinkler lắp chìm phải vận hành sao cho thời gian phản ứng trung bình của ba mẫu thử ở điều kiện đã qui định không được vượt quá thời gian phản ứng lớn nhất theo lý thuyết được tính toán với việc sử dụng thông tin sau:
a) 3 min, 51 s (3,85 min) đối với sprinkler có nhiệt độ danh định không vượt quá 77 oC;
b) 3 min, 9 s (3,15 min) đối với sprinkler có nhiệt độ danh định từ 79 oC đến 107 oC.
6.24.3 Khi thử theo 7.25.2, sprinkler lắp chìm có nắp đậy, sprinkler trần và sprinkler lắp chìm phải vận hành sao cho thời gian phản ứng trung bình và sai lệch chuẩn không có sự xê dịch tạo ra các giới hạn dung sai theo tính toán thống kê (xem Phụ lục B) với độ tin cậy 95 % các sprinkler được thử không vượt quá các giới hạn dung sai thống kê sau:
a) các giá trị RTI và C theo Bảng 4;
b) nhiệt độ và tốc độ khí theo Bảng 5 – đối với các sprinkler phản ứng tiêu chuẩn và phản ứng đặc biệt thì sử dụng các điều kiện thử 1 đến 9; Đối với sprinkler phản ứng nhanh thì sử dụng các điều kiện 1 đến 6;
c) giới hạn trên của nhiệt độ cho phép của sprinkler theo Bảng 6.3.
d) nhiệt độ môi trường xung quanh trong quá trình thử xem Phụ lục E cho các tính toán mẫu.
Bảng 4 – Tổ hợp của RTI và C lớn nhất cho phép
|
Phản ứng của sprinkler |
RTI (m.s)0,5 |
C (m.s)0,5 |
Góc dịch chuyển độ (o) |
|
Tiêu chuẩn |
350 |
1,0 |
0 |
|
Tiêu chuẩn |
250 |
2,0 |
0 |
|
Tiêu chuẩn |
600 |
5,0 |
15 |
|
Đặc biệt |
80 |
1,0 |
0 |
|
Đặc biệt |
200 |
2,5 |
20 |
|
Nhanh |
50 |
0,8 |
0 |
|
Nhanh |
30 |
1,0 |
0 |
|
Nhanh |
125 |
2,0 |
25 |
Bảng 5 – Các điều kiện của thiết bị thử tăng nhiệt động lực học đối với các sprinkler được che đậy, trần và hốc tường
|
Điều kiện thử |
Nhiệt độ khí oC |
Tốc độ khí m/s |
Độ chân không Pa (mm Hg) a |
|
1 |
128 |
1,0 |
0,933 (0,007) |
|
2 |
128 |
2,6 |
0,933 (0,007) |
|
3 |
128 |
3,5 |
0,933 (0,007) |
|
4 |
197 |
1,0 |
1,333 (0,010) |
|
5 |
197 |
2,6 |
1,333 (0,010) |
|
6 |
197 |
3,5 |
1,333 (0,010) |
|
7 |
290 |
1,0 |
1,733 (0,013) |
|
8 |
290 |
2,6 |
1,733 (0,013) |
|
9 |
290 |
3,5 |
1,733 (0,013) |
|
a Milimet thủy ngân. Không nên sử dụng đơn vị này, 1 mm Hg = 133,3224 Pa |
|||
6.25 Chu trình vận hành của sprinkler mở/đóng (xem 7.26)
6.25.1 Chu trình vận hành của sprinkler mở/đóng bao gồm vận hành từ vị trí đóng tới vị trí mở hoàn toàn và lại trở về vị trí đóng. Đối với một sprinkler mở/đóng không cho phép có vị trí mở một phần. Với 1000 chu trình vận hành, sprinkler phải tuân thủ các yêu cầu trong 6.8.1 và lượng rò rỉ không vượt quá 20 ml/min.
6.25.2 Sprinkler mở/đóng, sau khi ngâm 14 ngày trong nước cất ở nhiệt độ từ 95 oC đến 100 oC, phải vận hành 1000 chu trình khi được thử theo 7.26.1. Sự tuân theo các yêu cầu qui định thường được xác định bằng quan sát bằng mắt.
6.25.3 Sprinkler mở/đóng không được có dấu hiệu bị tắc nghẽn khi được vận hành 1000 chu trình theo 7.26.1 và sử dụng nước bị nhiễm bẩn phù hợp với 7.26.2. Ngay sau khi hoàn thành 1000 chu trình, sprinkler phải tuân thủ theo các yêu cầu trong 6.8.1 với lượng rò rỉ không vượt quá 20 ml/min.
6.26 Thử chữa cháy đống vật liệu giấy đối với sprinkler mở/đóng (xem 7.27)
Khi được thử theo 7.27, sprinkler mở/đóng phải
a) hạn chế tổn thất khối lượng của khối cactông gợn sóng (xem 7.27.6 đến 7.27.8) trong thời gian 45 min từ khi bắt đầu thử không được vượt quá 50 %;
b) làm cho nhiệt độ trần của mỗi cặp nhiệt điện được giảm tới nhiệt độ cao hơn nhiệt độ môi trường xung quanh tối đa là 295 oC trong thời gian 5 min sau khi bắt đầu xả nước;
c) làm cho
1) nhiệt độ trần của mỗi cặp nhiệt điện không cao hơn nhiệt độ môi trường xung quanh quá 295oC trong thời gian quá ba phút liên tiếp, và
2) nhiệt độ trung bình không cao hơn nhiệt độ môi trường xung quanh quá 295 oC từ khi nhiệt độ bắt đầu giảm tới giá trị cao hơn nhiệt độ môi trường tối đa là 295 oC tới khi kết thúc phép thử, và
d) không duy trì ở vị trí trung gian, sự tuân theo các yêu cầu qui định thường được xác định bằng quan sát bằng mắt.
6.27 Khả năng chịu nhiệt độ cao đối với sprinkler mở/đóng (xem 7.28)
Sau khi được xử lý theo 7.28.1, độ thay đổi của hệ số xả trung bình của sprinkler mở/đóng không được vượt quá 10 % so với sprinkler không được xử lý.
6.28 Độ bền chịu nhiệt độ thấp (xem 7.29)
Sprinkler phải chịu được nhiệt độ thấp khi thử theo 7.29. Sau khi chịu tác động của nhiệt độ thấp, sprinkler có thể có hư hỏng nhìn thấy được, có thể có rò rỉ hoặc có thể không có hư hỏng. Sprinkler không có hư hỏng nhìn thấy phải tuân theo 6.8 và phải đáp ứng các yêu cầu trong 6.3.1.
7 Phương pháp thử
7.1 Yêu cầu chung
Phải thực hiện các thử nghiệm sau đây đối với mỗi loại sprinkler.
Trước khi thử, phải đệ trình các bản vẽ chính xác của các chi tiết và bộ phận lắp cùng với các đặc tính kỹ thuật thích hợp (sử dụng các đơn vị đo lường quốc tế SI). Phải tiến hành các thử nghiệm ở nhiệt độ phòng (20 ± 5) oC trừ trường hợp đã qui định ở nhiệt độ khác. Sprinkler phải được thử với tất cả các chi tiết thành phần theo yêu cầu của thiết kế và lắp đặt. Chương trình thử có tính chất hướng dẫn được minh họa trên Hình 4.
Nếu không có qui định khác, phải áp dụng các dung sai cho trong Phụ lục E.
7.2 Kiểm tra sơ bộ
Phải kiểm tra kết cấu để bảo đảm sự phù hợp với các yêu cầu của điều 4 và 5.
7.3 Kiểm tra bằng mắt
Trước khi thử, phải kiểm tra các sprinkler bằng mắt theo các điểm sau:
a) ghi nhãn;
b) sự phù hợp của sprinkler với bản vẽ và yêu cầu kiểm tra của nhà sản xuất;
c) Khuyết tật nhận thấy được.

a) Chương trình thử cho các sprinkler có một cỡ miệng phun và phạm vi kích thước
|
|
|
|
b) Sprinkler cho môi trường có ăn mòn bao gồm cả sprinkler được phủ bảo vệ |
c) Sprinkler được chắn nước |
|
|
|
|
|
d) Sprinkler lắp chìm có nắp đậy Sprinkler trần hoặc Sprinkler lắp chìm |
e) Sprinkler có vùng bao phủ mở rộng |
f) Sprinkler mở/đóng |
CHÚ DẪN
Số chương trình thử
O Số lượng sprinkler yêu cầu
Số chương trình thử
|
1 kiểm tra sơ bộ (7.2) |
22 độ bền chịu nhiệt (7.15) |
|
2 kiểm tra bằng mắt (7.3) |
23 va đập thủy lực (7.16) |
|
3 độ bền của thân (7.4) |
24 rung (7.17) |
|
4 thử khả năng chống rò rỉ và độ bền thủy tĩnh (7.5) |
25 va đập (7.18) |
|
5 thử chức năng (7.6) |
26 Thử chữa cháy cũi gỗ (7.19) |
|
6 nhiệt độ làm việc (7.7) |
27 sự xả trễ (7.20) |
|
7 tăng nhiệt động lực học (7.7.2) |
28 rò rỉ trong 30 ngày (7.21) |
|
8 hệ số dẫn (7.7.2.2) |
29 thử chân không (7.22) |
|
9 khả năng chịu nhiệt (7.8.1) |
30 chuyển động quay của bộ phận chắn nước (7.24) |
|
10 khả năng chịu nhiệt (7.8.2) |
31 phản ứng nhiệt của sprinkler lắp chìm có nắp đậy, sprinkler trần và sprinkler lắp chìm (7.24) |
|
11 khả năng chịu nhiệt của sprinkler được phủ bảo vệ (7.8.3) |
32 phản ứng nhiệt của sprinkler có vùng bao phủ mở rộng (7.25) |
|
12 sự thay đổi nhiệt độ đột ngột (sốc nhiệt) (7.9) |
33 thử chữa cháy của sprinkler có vùng bao phủ mở rộng (7.26) |
|
13 lưu lượng nước (7.11) |
34 làm ướt tường (7.27) |
|
14 phân bố nước (7.12) |
35 chu trình vận hành của sprinkler mở/đóng (7.26) |
|
15 ăn mòn do ứng suất (7.13.1) |
36 thử chữa cháy đống vật liệu giấy của sprinkler mở/đóng (7.27) |
|
16 ăn mòn do sunfua đioxit (7.13.2) |
37 khả năng chịu nhiệt độ cao của sprinkler mở/đóng (7.28) |
|
17 ăn mòn do sunfua đioxit của sprinkler được phủ bảo vệ (7.13.2) |
38 độ bền của phần tử nhả (7.9) |
|
18 sương có muối (7.13.3) |
|
|
19 sương có muối, phủ bảo vệ (7.13.3.2) |
|
|
20 không khí ẩm (7.13.4) |
|
|
21 nhiệt độ thấp của sprinkler được phủ bảo vệ (7.14.2) |
|
|
a yêu cầu 50 sprinkler có bầu thủy tinh hoặc 10 sprinkler có phần tử dễ chảy b yêu cầu 55 sprinkler có bầu thủy tinh hoặc 10 sprinkler có phần tử dễ chảy Cần có các sprinkler bổ sung và các phép thử cho b) đến f) |
|
Hình 4 – Các chương trình thử sprinkler
7.4 Tải trọng làm việc và thử độ bền của thân sprinkler (xem 6.6)
7.4.1 Phải đo tải trọng làm việc đối với ít nhất là 10 sprinkler bằng cách lắp đặt cẩn thận từng sprinkler lên máy thử kéo/nén ở nhiệt độ phòng và tác dụng lực tương đương với áp suất thủy lực 1,2 MPa (12 bar) tại cửa nạp.
Bằng cách khác, có thể xác định tải trọng làm việc bằng cách đo tải trọng lắp ráp và cộng với giá trị tính toán hoặc đo được của lực tương đương với áp suất thủy tĩnh 1,2 MPa (12 bar) tại cửa nạp.
7.4.2 Dùng đồng hồ chỉ báo có sai lệch của số đọc chính xác đến 0,01 mm để đo sự thay đổi chiều dài của sprinkler giữa các điểm chịu tải của thân sprinkler. Phải tránh hoặc phải tính đến dịch chuyển chuôi có ren của sprinkler trong ống lót có ren của máy thử.
7.4.3 Giảm áp suất thủy lực và tháo phần tử phản ứng nhiệt của sprinkler bằng phương pháp thích hợp. Khi sprinkler nguội đến nhiệt độ phòng, dùng đồng hồ chỉ báo để thực hiện phép đo thứ hai.
7.4.3.1 Đặt tải trọng cơ học tăng dần vào sprinkler với tốc độ không vượt quá 500 N/min tới khi số chỉ thị của đồng hồ tại đầu mút có sai lệch của sprinkler trở về giá trị ban đầu đạt được bằng tải trọng thủy tĩnh. Ghi lại tải trọng cơ học cần thiết để đạt tới như tải trọng làm việc.
7.4.3.2 Tăng dần tải trọng tác dụng với tốc độ không vượt quá 500 N/min tới khi đạt được giá trị bằng hai lần tải trọng làm việc trung bình. Duy trì tải trọng này trong (15 ± 5) s.
7.4.3.3 Dỡ bỏ tải trọng và so sánh độ giãn dài dư với yêu cầu của 6.6.1.
7.5 Thử khả năng chống rò rỉ và độ bền thủy tĩnh (xem 6.8)
7.5.1 Cho 20 sprinkler chịu tác dụng của áp suất nước 3 MPa (30 bar). Tăng áp suất từ 0 MPa đến 3 MPa (0 bar đến 30 bar) với tốc độ (0,1 ± 0,03) MPa/s [ (1 + 0,3) bar/s], duy trì áp suất ở 3 MPa (30 bar) trong thời gian 3 min và sau đó cho phép giảm tới 0. Sau khi áp suất đã giảm tới 0 lại tăng áp suất lên 0,05 MPa (0,5 bar) trong khoảng thời gian không lớn hơn 5 s. Duy trì áp suất này trong 15 s và sau đó lại tăng áp suất lên đến 1 MPa (10bar) với tốc độ tăng (0,1 ± 0,03) MPa/s [ (1 ± 0,25) bar/s] và duy trì áp suất này trong 15 s. Mỗi sprinkler phải đáp ứng yêu cầu của 6.8.1.
7.5.2 Theo sau phép thử 7.5.1, phải cho 20 sprinkler chịu tác dụng của áp suất nước 4,8 MPa (48 bar). Đổ đầy nước ở (20 ± 5) oC vào miệng sprinkler và cho sprinkler thông hơi với không khí. Tăng áp suất đến 4,8 MPa (48 bar) với tốc độ không vượt quá 2,0 MPa/min (20 bar/min). Duy trì áp suất mức 4,8 MPa (48 bar) trong 1 min. Sprinkler phải đáp ứng các yêu cầu 6.8.2.
7.6 Thử về chức năng (xem 6.5.1)
7.6.1 Sprinkler có nhiệt độ mở nhỏ hơn 78 oC, bao gồm cả sprinkler khô có thể chứa được trong thiết bị thử, phải được nung nóng trong lò. Trong khi được nung nóng, các sprinkler phải chịu tác dụng của từng áp suất nước qui định trong 7.6.3 tại miệng vào của chúng. Lò nung được chỉ dẫn trên Hình 5. Nhiệt độ của lò phải được tăng đến (400 ± 20) oC trong 3 min ở khu vực đặt sprinkler.
7.6.2 Sprinkler có nhiệt độ nhả cao hơn và sprinkler khô phải được nung nóng bằng nguồn nhiệt thích hợp. Tiếp tục nung nóng cho đến khi sprinkler hoạt động.
7.6.3 Tiến hành thử 8 sprinkler cho mỗi vị trí lắp đặt thông thường và tại mỗi một trong các áp suất sau (tổng số là 24 sprinkler):
– 0,035 MPa (0,35 bar) cho tất cả các sprinkler khác với sprinkler khô hướng lên trên, hoặc 0,050 MPa (0,5 bar) cho các sprinkler khô hướng lên trên;
– 0,35 MPa (3,5 bar);
– 1,2 MPa (12 bar).
Áp suất phun thành dòng ít nhất phải bằng 75 % áp suất làm việc ban đầu. Nhiệt độ lò phải được đo ở khu vực đặt sprinkler.
7.6.4 Nếu xảy ra sự lắng cặn ở bất cứ mức áp suất và vị trí lắp đặt nào thì phải tiến hành thử thêm 24 sprinkler nữa ở các vị trí và áp suất đó. Tổng số sprinkler ở đó xảy ra sự lắng cặn không được vượt quá 1 trong số 32 sprinkler được thử tại áp suất và vị trí lắp đặt đó.
7.6.5 Hiện tượng lắng cặn được xem là đã xảy ra khi một hoặc nhiều thành phần được thải ra bắn vào bộ phận kết cấu hướng dòng làm cho sự phân bố nước không đáp ứng yêu cầu của 6.4.2 sau khoảng thời gian qui định trong 6.5.1.
7.6.6 Để kiểm tra độ bền của bộ phận hướng dòng, tiến hành thử chức năng đối với 3 sprinkler cho mỗi vị trí lắp đặt thông thường với áp suất 1,2 MPa (12 bar). Cho nước chảy ở áp suất 1,2 MPa (12 bar) trong thời gian 15 min.
Kích thước tính bằng milimét

CHÚ DẪN
|
1 các lỗ thông gió của lò |
5 đầu nối ren với sprinkler |
|
2 ống đo |
6 ống tháo được cho sprinkler hướng lên trên |
|
3 cửa sổ |
7 nguồn nhiệt |
|
4 cửa ra vào |
8 xả nước |
Hình 5 – Lò thử điển hình cho thử chức năng
7.7 Thử nhiệt độ làm việc (xem 6.3)
7.7.1 Thử vận hành tĩnh
Nung nóng 15 sprinkler có bầu thủy tinh hoặc 10 sprinkler có phần tử dễ chảy từ nhiệt độ (20 ± 5) oC tới nhiệt độ thấp hơn nhiệt độ làm việc danh nghĩa
oC. Tốc độ tăng nhiệt độ không được vượt quá 20 oC/min và nhiệt độ phải được duy trì trong 10 min. Sau đó lại tăng nhiệt độ lên với tốc độ (0,5 ± 0,1) oC/min tới khi sprinkler hoạt động (vận hành).
Nhiệt độ làm việc danh nghĩa phải được xác định với thiết bị có độ chính xác ± 0,25 % trị số nhiệt độ danh nghĩa.
Phép thử phải được tiến hành trong bể chất lỏng. Sprinkler có nhiệt độ làm việc danh nghĩa £ 80oC phải được thử trong bể nước đã khử chất khoáng. Sprinkler có phần tử phản ứng nhiệt làm việc ở nhiệt độ cao hơn phải được thử trong bể dầu thực vật, glycerine hoặc dầu tổng hợp.
Sprinkler phải được đặt trong bể chất lỏng ở vị trí thẳng đứng và được nhúng chìm hoàn toàn với lớp chất lỏng phủ lên trên dầy
mm. Vùng thử được định vị bên dưới bề mặt chất lỏng, ở mức tâm hình học của bầu thủy tinh hoặc phần tử dễ chảy. Nếu có thể thực hiện được thì vùng thử phải ở bên dưới bề mặt chất lỏng và cách mức bề mặt chất lỏng không nhỏ hơn (40 ± 5) mm. Sai lệch nhiệt độ trong vùng thử phải ở trong khoảng ± 0,25 oC.
Sự phá vỡ bất cứ một bầu thủy tinh nào trong quá trình tăng nhiệt độ qui định sẽ tạo ra hoạt động của sprinkler. Sự phá vỡ một phần của bầu thủy tinh không dẫn đến hoạt động của sprinkler thì phải thực hiện một phép thử chức năng bổ sung (xem 6.5.1).
Ví dụ về một bể chất lỏng tiêu chuẩn được giới thiệu trên Hình 6. Sử dụng dụng cụ đo nhiệt độ trong phòng thí nghiệm được hiệu chuẩn cho độ sâu nhúng chìm 40 mm để xác định nhiệt độ chất lỏng trong các thử nghiệm ở bể và nhiệt độ làm việc. Bầu nhiệt kế phải được giữ ở mức cùng với các bộ phận làm việc của sprinkler bằng một giá đỡ. Để kiểm soát nhiệt độ trong bể có thể sử dụng cặp nhiệt điện PT100 DIN EN 60751.

a) Bộ phận lắp đặt cho 10 đến 15 sprinkler

b) Vòng đỡ cho 50 sprinkler có bầu thủy tinh
CHÚ DẪN
|
1 bộ phận khuấy tốc độ 150 Vg/min |
7 bình thủy tinh tiêu chuẩn |
|
2 nhiệt kế được hiệu chuẩn cho độ sâu nhúng chìm 40 mm (1,6) và PT – 100 |
8 bình khử ẩm f 250 (10) dung tích chất lỏng xấp xỉ 7 I |
|
3 mức chất lỏng |
9 bộ sấy nóng nhúng chìm |
|
4 vòng đỡ 10 sprinkler 3/4 “hoặc 15 sprinkler 1/2” |
10 các bầu thủy tinh |
|
5 1 cánh kép 100 mm x 20 mm (3,9 x 8) |
11 vòng đỡ 50 bầu thủy tinh |
|
6 lưới sàng |
|
Hình 6 – Bể chất lỏng
7.7.2 Thử tăng nhiệt động lực học (Xem 6.14)
7.7.2.1 Thử làm nguội đột ngột
7.7.2.1.1 Thực hiện 10 phép thử làm nguội đột ngột khi dùng một trị số nhiệt độ danh nghĩa ở hướng chuẩn và hướng trường hợp xấu nhất. Tiến hành thử làm nguội đột ngột thêm 10 mẫu thử ở hướng có dịch chuyển như qui định trong 7.7.2.1.2 đến 7.7.2.1.4. Phải tính toán RTI theo 7.7.2.3 và 7.7.2.4 cho mỗi hướng. Đối với tất cả các trị số nhiệt độ danh nghĩa còn lại, phải tiến hành thử 10 mẫu thử cho mỗi trị số nhiệt độ danh nghĩa theo hướng chuẩn.
Thử làm nguội đột ngột được tiến hành bằng cách dùng giá đỡ sprinkler bằng đồng thau được thiết kế sao cho sự tăng nhiệt độ của giá đỡ hoặc của nước (khi đo bởi một cặp nhiệt điện, nhiệt tiêu tán và hấp thụ vào giá đỡ theo hướng tỏa tròn ra ngoài cách đường kính vòng chân ren trong không quá 8 mm hoặc bởi một cặp nhiệt điện được định vị trong nước tại tâm miệng vào của sprinkler) không được vượt quá 2 oC trong thời gian thử làm nguội đột ngột riêng biệt đến khi thời gian phản ứng 55 s. Nếu thời gian phản ứng lớn hơn 55 s thì nhiệt độ của giá đỡ hoặc của nước tính bằng oC không được tăng quá 0,036 lần thời gian phản ứng tính bằng giây đối với khoảng thời gian của một phép thử làm nguội đột ngột riêng biệt.
Dùng 1 đến 1,5 lớp bọc bằng vật liệu bịt kín PTFE để bọc vào ren của sprinkler được thử. Sprinkler phải được vặn ren vào giá đỡ với momen xoắn (15 ± 3) Nm. Mỗi sprinkler phải được lắp vào nắp che của khoang thử dạng ống và được lưu giữ trong một phòng trong thời gian không ít hơn 30 min để cho phép sprinkler và nắp che đạt tới nhiệt độ môi trường xung quanh. Trước khi thử, đưa ít nhất là 25 ml nước đã được ổn định hóa đến nhiệt độ môi trường xung quanh vào miệng của sprinkler.
Tất cả các sprinkler phải được thử với đầu vào của mỗi mẫu thử được nối với nguồn có áp suất 0,05 MPa (0,5bar).
Để đánh giá các sprinkler khô phải sử dụng chiều dài chế tạo ngắn nhất.
Để đo được thời gian phản ứng, phải sử dụng thiết bị đo thời gian có độ chính xác ± 0,01 s với các cơ cấu đo thích hợp để đo thời gian từ khi sprinkler được làm nguội đột ngột trong ống thử tới khi nó hoạt động.
Phải sử dụng ống thử có điều kiện lưu lượng không khí và nhiệt độ tại khoang thử (vị trí sprinkler) được lựa chọn trong phạm vi các điều kiện thích hợp được cho trong Bảng 6. Để giảm thiểu sự thay đổi bức xạ giữa cảm biến và các đường giới hạn dòng khí, khoang thử của thiết bị phải được thiết kế để hạn chế các ảnh hưởng bức xạ trong khoảng ± 3 % các giá trị tính toán của RTI.
Phải lựa chọn các điều kiện của ống thử để hạn chế sai sót lớn nhất cho trước của thiết bị đến 3%.
Phạm vi các điều kiện làm việc cho phép của ống thử được giới thiệu trong Bảng 6. Điều kiện làm việc đã lựa chọn phải được duy trì trong khoảng thời gian thử như đã qui định trong các chú thích a và b cuối Bảng 6.
CHÚ THÍCH Phương pháp được kiến nghị để xác định các ảnh hưởng bức xạ là tiến hành các phép thử làm nguội đột ngột so sánh trên mẫu thử kim loại bôi đen (độ phát xạ cao) và mẫu thử kim loại được đánh bóng (độ phát xạ thấp).
Bảng 6 – Phạm vi các điều kiện thử làm nguội đột ngột ở khoang thử (vị trí lắp sprinkler)
|
Dải nhiệt độ không khí a |
Dải tốc độ b |
|||||
|
Nhiệt độ làm việc danh nghĩa |
Sprinkler phản ứng tiêu chuẩn |
Sprinkler phản ứng đặc biệt |
Sprinkler phản ứng nhanh |
Sprinkler phản ứng tiêu chuẩn |
Sprinkler phản ứng đặc biệt |
Sprinkler phản ứng nhanh |
|
oC |
oC |
oC |
oC |
m/s |
m/s |
m/s |
|
55 đến 77 |
191 đến 203 |
129 đến 141 |
129 đến 141 |
2,4 đến 2,6 |
2,4 đến 2,6 |
1,65 đến 1,85 |
|
79 đến 107 |
282 đến 300 |
191 đến 203 |
191 đến 203 |
2,4 đến 2,6 |
2,4 đến 2,6 |
1,65 đến 1,85 |
|
121 đến 149 |
382 đến 432 |
282 đến 300 |
282 đến 300 |
2,4 đến 2,6 |
2,4 đến 2,6 |
1,65 đến 1,85 |
|
163 đến 191 |
382 đến 432 |
382 đến 432 |
382 đến 432 |
3,4 đến 3,6 |
2,4 đến 2,6 |
1,65 đến 1,85 |
|
a Nhiệt độ không khí đã lựa chọn phải được ghi nhận và duy trì không đổi trong khoang thử trong suốt quá trình thử với độ chính xác ± 1 oC cho dải nhiệt độ không khí 129 oC đến 141 oC trong khoang thử và ± 2 oC cho tất cả các nhiệt độ không khí khác. b Tốc độ không khí đã lựa chọn phải được ghi nhận và duy trì trong suốt quá trình thử với độ chính xác ± 0,03 m/s cho các tốc độ 1,65 m/s đến 1,85 m/s và 2,4 m/s đến 2,6 m/s và ± 0,04 m/s cho các tốc độ 3,4 m/s đến 3,6 m/s. |
||||||
7.7.2.1.2 Các sprinkler phản ứng tiêu chuẩn phải được thử ở dịch chuyển góc 15o so với hướng trường hợp xấu nhất.
7.7.2.1.3 Các sprinkler phản ứng đặc biệt phải được thử ở dịch chuyển góc 20o so với hướng trường hợp xấu nhất.
7.7.2.1.4 Các sprinkler phản ứng nhanh phải được thử ở dịch chuyển góc 25o so với hướng trường hợp xấu nhất.
7.7.2.1.5 RTI được tính toán theo qui định trong 7.7.2.3 và 7.7.2.4 cho hướng thích hợp.
7.7.2.1.6 Nếu một kết cấu sprinkler chịu tác dụng của nhiều trị số nhiệt độ thì hướng trường hợp xấu nhất và hệ số C phải được xác định bằng thử nghiệm chỉ ở một trị số nhiệt độ.
7.7.2.2 Xác định hệ số dẫn (C)
7.7.2.2.1 Yêu cầu chung
Phải xác định hệ số dẫn (C) bằng phép thử làm nguội đột ngột kéo dài (xem 7.7.2.2.2) hoặc phép thử chịu tác động nghiêng kéo dài (xem 7.7.2.2.3).
7.7.2.2.2 Thử làm nguội đột ngột kéo dài
Thử làm nguội đột ngột kéo dài là quá trình thử lặp lại để xác định C và có thể cần đến 20 mẫu sprinkler. Phải sử dụng một mẫu sprinkler mới cho mỗi phép thử trong công đoạn thử này nếu mẫu không hoạt động trong quá trình thử làm nguội đột ngột kéo dài.
Dùng 1 đến 1,5 lớp bọc bằng vật liệu bịt kín PTFE để bọc vào ren của sprinkler được thử. Sprinkler phải được vặn ren vào giá đỡ với momen xoắn (15 ± 3) Nm. Mỗi sprinkler được lắp trên nắp che của đoạn ống thử và được giữ trong phòng điều hòa để cho phép sprinkler và nắp che đạt tới nhiệt độ môi trường xung quanh trong khoảng thời gian không ít hơn 30 min.
Trước khi thử phải nạp vào miệng vào của sprinkler ít nhất là 25 ml nước đã được điều hòa tới nhiệt độ môi trường xung quanh.
Tất cả các sprinkler phải được thử với miệng vào của mỗi mẫu được nối với nguồn có áp suất 0,05 MPa (0,5 bar).
Phải tiến hành thử với các sprinkler khô có chiều dài chế tạo ngắn nhất.
Phải sử dụng thiết bị đo thời gian có độ chính xác đến ± 0,01 s với các bộ phận đo thích hợp để xác định thời gian từ khi sprinkler được làm nguội đột ngột trong ống thử đến khi sprinkler hoạt động và được dùng làm thời gian phản ứng.
Nhiệt độ của giá đỡ phải được duy trì ở (20 ± 0,5) oC trong thời gian của mỗi phép thử. Tốc độ không khí trong đoạn ống thử ở vị trí sprinkler phải duy trì với sai số ± 2 % tốc độ đã lựa chọn. Nhiệt độ không khí phải được lựa chọn và duy trì trong quá trình thử theo qui định trong Bảng 7.
Phạm vi các điều kiện làm việc cho phép của ống thử được giới thiệu trong Bảng 7. Điều kiện làm việc đã lựa chọn phải được duy trì trong thời gian thử với dung sai qui định trong Bảng 7.
Bảng 7 – Phạm vi các điều kiện thử để xác định hệ số dẫn (C) ở khoang thử (vị trí sprinkler)
Nhiệt độ tính bằng độ C (oC)
|
Nhiệt độ làm việc danh nghĩa |
Nhiệt độ không khí |
Độ chênh lệch lớn nhất giữa nhiệt độ không khí trong quá trình thử với nhiệt độ đã lựa chọn |
|
57 |
85 đến 91 |
± 1,0 |
|
58 đến 77 |
124 đến 130 |
± 1,5 |
|
79 đến 107 |
193 đến 201 |
± 3,0 |
|
121 đến 149 |
287 đến 295 |
± 4,5 |
|
163 đến 191 |
402 đến 412 |
± 6,0 |
Để xác định C, sprinkler phải được nhúng ngập trong luồng không khí thử ở các tốc độ không khí khác nhau trong thời gian tối đa là 15 min. Lựa chọn các tốc độ sao cho sự hoạt động (vận hành) diễn ra giữa hai tốc độ thử liên tiếp. Đó là hai tốc độ được xác lập để quá trình hoạt động không diễn ra ở tốc độ thấp hơn (uL) trong thời gian 15 min thử. Sự hoạt động phải diễn ra ở tốc độ cao hơn (uH) tiếp sau trong giới hạn 15 min. Nếu sprinkler không vận hành ở tốc độ cao nhất thì lựa chọn nhiệt độ không khí theo Bảng 7 cho phạm vi nhiệt độ cao hơn tiếp sau.
Nếu C được xác định nhỏ hơn 0,5 (m/s)0,5 thì giả định giá trị C bằng 0,25 (m/s)0,5 để tính toán các giá trị RTI.
Việc lựa chọn tốc độ thử phải bảo đảm cho:
(uM/uL)0,5 £ 1,1
Giá trị C theo thử nghiệm là giá trị trung bình của các giá trị được tính toán ở hai tốc độ theo phương trình sau:
C = (DTg/DTea – 1) u0,5
trong đó
DTg là nhiệt độ khí (không khí) thực tế trừ đi nhiệt độ giá đỡ (Tm), tính bằng oC (xem 7.7.1 và 7.7.2.1);
DTea là nhiệt độ làm việc trung bình của thùng chất lỏng trừ đi nhiệt độ giá đỡ, tính bằng oC (xem 7.7.1 và 7.7.2.1);
u là tốc độ không khí thực tế trong đoạn thử, tính bằng mét trên giây.
Giá trị C của sprinkler được xác định bằng phương pháp lặp lại và xếp nhóm cùng loại diễn ra ba lần và tính toán giá trị trung bình số học của ba giá trị C. Giá trị C này của sprinkler được dùng để tính toán tất cả các giá trị RTI định hướng chuẩn cho việc xác định sự phù hợp với 6.14.
Tính toán mẫu được giới thiệu trong C.1.
7.7.2.2.3 Thử chịu tác động nghiêng kéo dài
Thử chịu tác động nghiêng kéo dài để xác định thông số C phải được tiến hành trong đoạn thử của ống hút gió và với các yêu cầu về nhiệt độ trong giá đỡ sprinkler như đã qui định cho phép thử tăng nhiệt động lực học. Việc xử lý điều hòa ban đầu các sprinkler là không cần thiết.
Phải tiến hành thử 10 mẫu cho mỗi loại sprinkler, tất cả các sprinkler được định vị theo hướng chuẩn. Lúc bắt đầu thử làm nguội đột ngột các sprinkler trong luồng không khí có tốc độ không đổi 1 m/s ± 10 % và nhiệt độ không khí ở nhiệt độ làm việc danh nghĩa của sprinkler.
Nhiệt độ không khí sau đó phải được tăng lên với tốc độ (1 ± 0,25) oC/min tới khi sprinkler hoạt động. Phải kiểm soát nhiệt độ, tốc độ không khí và nhiệt độ giá đỡ từ khi bắt đầu việc nâng nhiệt độ này và phải đo và ghi lại các nhiệt độ và tốc độ này khi sprinkler hoạt động.
Giá trị C được xác định là giá trị trung bình của 10 giá trị thử khi sử dụng cùng một phương trình như trong 7.7.2.2.2:
C = (DTg/DTea – 1) u0,5
Phương pháp này thích hợp cho các sprinkler với tất cả các nhiệt độ làm việc danh nghĩa.
7.7.2.3 Tính toán giá trị RTI
Phương trình dùng để xác định RTI như sau:
![]()
trong đó
tr là thời gian phản ứng của sprinkler, tính bằng giây;
u là tốc độ không khí thực tế trong đoạn thử của ống thử theo Bảng 6, tính bằng mét trên giây;
DTea là nhiệt độ làm việc trung bình bể chất lỏng của sprinkler trừ đi nhiệt độ môi trường xung quanh, tính bằng oC (xem 7.7.2.1);
DTg là nhiệt độ không khí thực tế trong đoạn thử trừ đi nhiệt độ môi trường xung quanh tính bằng oC;
C là hệ số dẫn được xác định trong 7.7.2.2.
Tính toán mẫu được giới thiệu trong C.2.1.
7.7.2.4 Xác định RTI cho hướng trường hợp xấu nhất
Việc tính toán RTI cho hướng trường hợp xấu nhất cần đến hệ số dẫn C cho hướng trường hợp xấu nhất, hệ số này lớn hơn hệ số C cho hướng chuẩn bởi một số nhân. Số nhân này bằng tỷ số của RTI trung bình cho hướng trường hợp xấu nhất và RTI trung bình cho hướng chuẩn. Vì vậy biểu thức của phép thử làm nguội đột ngột sẽ phù hợp với RTI trong hướng trường hợp xấu nhất và có thể được giải theo cách lặp lại (gần đúng dần).
Tính toán mẫu được giới thiệu trong C.2.2.
Trong trường hợp các sprinkler phản ứng nhanh, nếu không tìm được lời giải cho RTI trong hướng trường hợp xấu nhất thì phải lặp lại thử nghiệm làm nguội đột ngột trong hướng trường hợp xấu nhất khi sử dụng các điều kiện thử làm nguội đột ngột trong các cột có tên gọi “Sprinkler có phản ứng đặc biệt” của Bảng 6.
7.8 Thử khả năng chịu nhiệt (xem 6.9)
7.8.1 Sprinkler có bầu thủy tinh (xem 6.9.1)
Nung nóng bốn sprinkler có bầu thủy tinh với nhiệt độ mở (làm việc) danh nghĩa £ 80 oC trong bể nước đã khử chất khoáng từ nhiệt độ (20 ± 5) oC tới nhiệt độ thấp hơn nhiệt độ làm việc danh nghĩa (20 ± 2) oC. Tốc độ tăng nhiệt độ không được vượt quá 20 oC/min. Sprinkler có phần tử mở làm việc ở nhiệt độ cao hơn phải được thử trong glycerine, dầu thực vật hoặc dầu tổng hợp.
Nhiệt độ trên, sau đó phải được tăng lên với tốc độ 1 oC/min đến nhiệt độ mà bọt khí biến mất hoặc đến nhiệt độ thấp hơn giới hạn dưới của phạm vi dung sai nhiệt độ làm việc 5 oC, lấy nhiệt độ nào thấp hơn. Lấy sprinkler ra khỏi bể chất lỏng và làm nguội trong không khí cho đến khi bọt khí lại được tạo ra. Trong thời gian làm nguội, đầu nhọn của bầu thủy tinh (đầu mút bịt kín) phải hướng xuống dưới.
Phép thử này phải được thực hiện bốn lần cho từng sprinkler.
7.8.2 Sprinkler không được phủ bảo vệ (xem 6.9.2)
Cho 12 sprinkler không được phủ bảo vệ chịu tác động trong thời gian 90 ngày của nhiệt độ môi trường cao có trị số thấp hơn nhiệt độ làm việc danh nghĩa 11 oC hoặc của nhiệt độ cho trong Bảng 7, lấy trị số nhiệt độ nào thấp hơn nhưng không được nhỏ hơn 49 oC. Nếu tải trọng làm việc phụ thuộc vào áp suất làm việc thì phải thử các sprinkler ở áp suất 1,2 MPa (12 bar). Sau khi chịu tác động, bốn sprinkler phải tuân theo các yêu cầu trong 6.8.1 và 6.14.3, bốn sprinkler phải tuân theo các yêu cầu trong 6.5.1 [hai ở áp suất 0,35 MPa (3,5 bar) và hai ở áp suất 1 MPa (10 bar)] và hai sprinkler phải tuân theo các yêu cầu trong 6.3. Nếu một sprinkler không đạt yêu cầu của một phép thử thì phải tiến hành thử tám sprinkler bổ sung thêm như đã qui định ở trên đối với phép thử không đạt yêu cầu này. Toàn bộ tám sprinkler phải qua được thử nghiệm.
7.8.3 Sprinkler được phủ bảo vệ (xem 6.9.3)
Ngoài phép thử như trong 7.8.2 đối với sprinkler không được phủ bảo vệ, tiến hành thử 12 sprinkler được phủ bảo vệ theo 7.8.2 với nhiệt độ qui định trong Bảng 8 cho các sprinkler được phủ bảo vệ.
Tiến hành thử trong 90 ngày. Trong thời gian này cứ 7 ngày một lần phải lấy các sprinkler ra khỏi lò nung và làm nguội từ 2 h đến 4 h. Sau thời gian làm nguội, các mẫu phải được kiểm tra. Sau 90 ngày chịu tác động, bốn mẫu sprinkler phải tuân theo các yêu cầu trong 6.8.1, bốn mẫu sprinkler phải tuân theo các yêu cầu trong 6.5.1 [hai ở áp suất 0,35 MPa (3,5 bar) và hai ở áp suất 1 MPa (10 bar)] và bốn sprinkler phải tuân theo các yêu cầu trong 6.3. Nếu một sprinkler không đạt yêu cầu của một phép thử thì phải tiến hành thử tám sprinkler bổ sung thêm như đã qui định ở trên đối với phép thử không đạt yêu cầu này. Toàn bộ tám sprinkler phải qua được thử nghiệm.
Bảng 8 – Nhiệt độ thử đối với các sprinkler được phủ và không được phủ bảo vệ
Nhiệt độ tính bằng oC
|
Nhiệt độ làm việc danh nghĩa |
Nhiệt độ thử sprinkler không được phủ bảo vệ |
Nhiệt độ thử sprinkler được phủ bảo vệ |
|
57 đến 60 |
49 |
49 |
|
61 đến 77 |
52 |
52 |
|
78 đến 107 |
79 |
79 |
|
108 đến 149 |
121 |
121 |
|
150 đến 191 |
149 |
149 |
|
192 đến 246 |
191 |
191 |
|
247 đến 302 |
246 |
246 |
|
303 đến 343 |
302 |
302 |
7.9 Thử thay đổi nhiệt độ đột ngột (sốc nhiệt độ) đối với sprinkler có bầu thủy tinh (xem 6.10)
7.9.1 Trước khi bắt đầu thử, điều hòa ít nhất là năm sprinkler ở nhiệt độ (20 ± 5) oC trong thời gian ít nhất là 30 min.
7.9.2 Sprinkler có nhiệt độ làm việc danh nghĩa nhỏ hơn hoặc bằng 80 oC phải được thử trong bể nước đã khử chất khoáng. Sprinkler có phần tử mở làm việc ở nhiệt độ cao hơn phải được thử trong bể glycerine, dầu thực vật hoặc dầu tổng hợp. Nhiệt độ của bể phải thấp hơn nhiệt độ giới hạn dưới của phạm vi dung sai nhiệt độ làm việc của sprinkler (10 ± 5) oC. Sau 5 min, phải lấy các sprinkler ra khỏi bể và lập tức ngâm chúng vào bể chất lỏng khác (nước đã khử chất khoáng), với đầu bịt kín của bầu thủy tinh hướng xuống dưới, ở nhiệt độ (10 ± 5) oC. Sau đó tiến hành thử sprinkler theo 6.5.1.
7.10 Thử độ bền của phần tử nhả (xem 6.7)
7.10.1 Yêu cầu chung
Phải định vị một cách riêng biệt ít nhất là 55 bầu thủy tinh có cùng một kết cấu cho mỗi loại bầu trong đồ gá thử có sử dụng các bộ phận tựa (đỡ) sprinkler. Sau đó mỗi bầu thủy tinh phải chịu tác dụng của một lực tăng dần đều với tốc độ (250 ± 25) N/s trên máy thử tới khi bầu thuỷ tinh bị phá hủy.
Phải tiến hành mỗi thử nghiệm với bầu thủy tinh được lắp trên các bộ phận tựa mới. Các bộ phận tựa có thể được gia cố ở bên ngoài hoặc được chế tạo từ thép đã tôi cứng (độ cứng Rockwell C 44 ± 6) phù hợp với đặc tính kỹ thuật của nhà sản xuất sprinkler để ngăn ngừa sự đổ gục xuống nhưng không cản trở sự phá hủy bầu thủy tinh. Ghi lại lực ép vỡ đối với mỗi bầu thủy tinh.
Sử dụng 50 kết quả độ bền thấp nhất đo được của bầu thủy tinh, tính toán độ bền trung bình và giới hạn dưới của dung sai (LTL) đối với độ bền của bầu thủy tinh (xem Phụ lục C). Sử dụng các giá trị tải trọng làm việc ghi được trong 7.4.1, tính toán giới hạn trên của dung sai (UTL) đối với tải trọng làm việc cho phần tử nhả của sprinkler (xem Phụ lục B). Kiểm tra sự tuân thủ theo 6.7.1.
7.10.2 Phần tử dễ chảy
7.10.2.1 Xác định sự tuân thủ các yêu cầu trong 6.7.2 a) bằng cách cho ít nhất là 10 mẫu thử chịu tác dụng của tải trọng bằng 15 lần tải trọng thiết kế lớn nhất trong 100 h. Không được sử dụng các hư hỏng không bình thường, nghĩa là các hư hỏng không có liên quan tới việc đánh giá vật liệu dễ chảy.
7.10.2.2 Xác định sự tuân thủ các yêu cầu trong 6.7.2 b) bằng cách cho các phần tử phản ứng nhiệt dễ chảy chịu tác dụng của các tải trọng vượt quá tải trọng thiết kế lớn nhất Ld, tải sẽ gây ra hư hỏng trong và sau 1000 h (xem Phụ lục C). Phải cho ít nhất là 10 mẫu thử chịu tác dụng của các tải trọng khác nhau tới 15 lần tải trọng thiết kế lớn nhất. Loại bỏ các hư hỏng không bình thường. Vẽ đường cong hồi qui logarit đầy đủ bằng phương pháp bình phương nhỏ nhất, và từ tính toán này, tải trọng ở 1 h, Lo và tải trọng ở 1000 h, LM có quan hệ theo bất đẳng thức sau:
Ld £ 1,02 LM2/Lo
trong đó Lo là tải trọng ở 1 h.
7.10.2.3 Phải tiến hành các phép thử trong 7.10.2.1 và 7.10.2.2 ở nhiệt độ môi trường xung quanh (20 ± 3) oC.
7.11 Thử lưu lượng nước (xem 6.4.1)
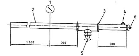
Lắp sprinkler với áp kế trên ống cung cấp như chỉ dẫn Hình 7. Phải thử bốn sprinkler. Có thể tháo tay khung kép và bộ phận hướng dòng ra khỏi sprinkler để dễ dàng cho thử nghiệm, trừ trường hợp các sprinkler mở/đóng. Các chi tiết hoặc bộ phận của sprinkler mở/đóng như bộ phận hướng dòng chỉ có thể được tháo ra với điều kiện là chúng không ảnh hưởng đến chức năng của van điều chỉnh lưu lượng nước. Đường thông nước của sprinkler mở/đóng phải được mở ra do tác động của nhiệt đến phần tử nhạy cảm nhiệt. Phải đo lưu lượng nước ở áp suất 0,05 MPa đến 0,65 MPa (0,5 bar đến 6,5 bar) với mức tăng từng 0,1 MPa (1 bar). Trong một loạt các phép thử, áp suất phải được tăng lên từng giá trị một, trong khi trong một loạt các phép thử khác, áp suất phải được giảm đi từ 0,65 MPa (6,5 bar) từng giá trị một. Phải tính toán hệ số K cho từng áp suất sau và hệ số K phải được lấy là giá trị trung bình đối với mỗi loạt các số chỉ báo. Mỗi hệ số K tính toán và hệ số K trung bình đối với mỗi loạt các số chỉ báo phải nằm trong các giới hạn qui định trong 6.4.1. Trong quá trình thử, các áp suất phải được hiệu chỉnh đối với các chênh lệch độ cao giữa áp kế và miệng ra của sprinkler.
Phải thử nghiệm các sprinkler khô được chế tạo với các chiều dài ngắn nhất và dài nhất.

CHÚ DẪN
1 áp kế
2 ống thép, đường kính trong danh nghĩa 40 mm, khối lượng trung bình (theo ISO 65)
3 phụ tùng nối ống 10 mm, 15 mm, 20 mm, 25 mm, hoặc 32 mm (theo TCVN 7705(ISO 49)
4 van xả không khí
5 sprinkler
6 nút hoặc nắp có phụ tùng nối cho các đầu nối G hoặc E
Độ chính xác: áp kế ± 2 %; máy cân ± 1 %
Hình 7 – Thiết bị thử lưu lượng nước
7.12 Thử phân bố nước
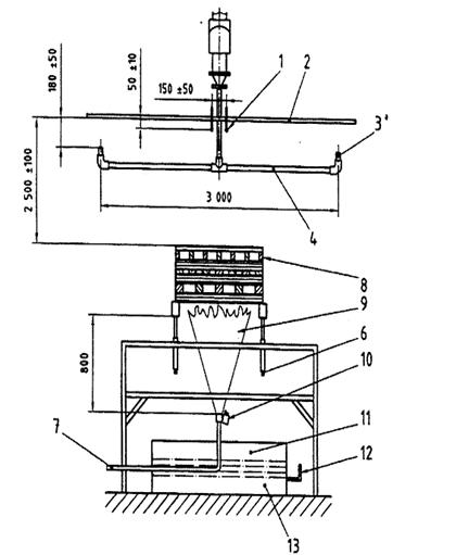
7.12.1 Sprinkler khác với loại sprinkler bên vách
Lắp đặt trong một phòng thử có các kích thước nhỏ nhất 7 m x 7 m bốn sprinkler thuộc cùng một loại và cùng một cỡ miệng phun, được bố trí theo hình vuông trên đường ống được chuẩn bị cho mục đích thử này. Việc bố trí đường ống và các thùng chứa được chỉ dẫn trên các Hình 8 đến Hình 11. Các tay khung kẹp của sprinkler phải song song với ống cung cấp. Phải thử các sprinkler khô được chế tạo với chiều dài ngắn nhất.
Khoảng cách giữa trần và tấm phân bố của sprinkler hướng lên trên phải là 50 mm. Trong trường hợp sprinkler hướng xuống dưới, khoảng cách phải là 275 mm.
Sprinkler trần, sprinkler lắp chìm có nắp đậy và sprinkler lắp chìm phải được lắp vào rãnh trong trần giả có kích thước không nhỏ hơn 6 m x 6 m và được bố trí đối xứng trong phòng thử. Sprinkler phải được lắp trực tiếp vào đường ống nằm ngang bằng nối ống chữ “T” hoặc nối ống khuỷu hoặc đoạn nối chuyển tiếp có cỡ kích thước danh nghĩa 25 mm, chiều dài vượt quá 150 mm.
Kích thước của bề mặt được che phủ và mật độ che phủ đối với mỗi một trong ba cỡ kích thước danh nghĩa của miệng phun phải theo chỉ dẫn trong Bảng 9.
Kích thước tính bằng mét

CHÚ DẪN
1 các khay thu nước (0,5 m x 0,5 m)
a đường kính lỗ danh nghĩa là 25 mm
b dòng nước
c đường kính lỗ danh nghĩa là 65 mm
Hình 8 – Sơ đồ bố trí phòng thu gom phân bố nước – Diện tích đo được: 20,25 m 2
Kích thước tính bằng mét

CHÚ DẪN
a đường kính lỗ danh nghĩa là 25 mm
b dòng nước
c ống có đường kính lỗ danh nghĩa 65 mm theo BS 1387
Hình 9 – Sơ đồ bố trí phòng thu gom phân bố nước – Diện tích đo được: 12,25 m 2
Kích thước tính bằng mét

CHÚ DẪN
a đường kính lỗ danh nghĩa là 25 mm
b dòng nước
c ống có đường kính lỗ danh nghĩa 65 mm theo BS 1387
Hình 10 – Sơ đồ bố trí phòng thu gom phân bố nước – Diện tích đo được: 9 m 2
Kích thước tính bằng mét

CHÚ DẪN
a đường kính lỗ danh nghĩa là 25 mm
b dòng nước
c ống có đường kính lỗ danh nghĩa 65 mm theo BS 1387
Hình 11 – Sơ đồ bố trí phòng thu gom phân bố nước – Diện tích đo được: 9 m 2
Sự phân bố nước trong diện tích được bảo vệ giữa bốn sprinkler được đo bằng các thùng đo hình vuông có cạnh 500 m. Khoảng cách giữa trần và cạnh trên của các thùng đo là 2,7 m. Phải bố trí các thùng đo ở giữa phòng, bên dưới bốn sprinkler. Số lượng các thùng đo với lượng nước trong mỗi thùng nhỏ hơn 50 % lượng phủ nước cho trong Bảng 9 không được vượt quá giá trị qui định trong cột 6 của Bảng 9.
Bảng 9 – Sự phân bố nước
|
Đường kính danh nghĩa của miệng phun |
Lượng phủ nước |
Lưu lượng cho một sprinkler |
Diện tích bảo vệ |
Khoảng cách sprinkler |
Số lượng thùng đo cho phép với lượng nước giới hạn dưới |
|
mm |
mm/min |
l/min |
m2 |
m |
|
|
10 |
2,5 |
50,6 |
20,25 |
4,5 |
8 |
|
15 |
5,0 |
61,3 |
12,25 |
3,5 |
5 |
|
20 |
15,0 |
135,0 |
9,00 |
3,0 |
4 |
|
|
10,0 |
90,0 |
9,00 |
3,0 |
4 |
|
|
30,0 |
187,5 |
6,25 |
2,5 |
3 |
7.12.2 Sprinkler bên vách (xem 6.4.2)
Lắp đặt trong một phòng thử có các kích thước nhỏ nhất 7 m x 7 m hai sprinkler bên vách cùng loại và cùng cỡ miệng phun dọc theo một tường phòng và cách nhau 3 m, trên đường ống được chuẩn bị cho thử nghiệm. Đường ống, các sprinkler và thùng đo (chứa) riêng có cạnh 500 mm được bố trí theo chỉ dẫn trên Hình 13 và 14.
Khoảng cách giữa trần và bộ phận hướng dòng của mỗi sprinkler phải là 100 mm (xem Hình 13).
Đo sự phân bố nước trên diện tích qui định giữa hai sprinkler bên vách bằng 36 thùng đo vuông có cạnh 500 mm. Khoảng cách giữa trần và cạnh trên của các thùng đo phải là 2,14 m.
Phải bố trí 36 thùng đo ở trung tâm, giữa và bên dưới hai sprinkler như chỉ dẫn trên các Hình 12 và 13. Hàng đầu tiên mang 36 thùng đo phải được đặt song song và cách tường phía sau các sprinkler 600 mm. Một hàng sáu thùng đo bổ sung thêm phải được đặt trên sàn liền kề với tường giữa hai sprinkler bên vách để thu gom nước va đập vào tường. Bề mặt tường phải được phủ bằng vật liệu không xốp. Nước phải được hướng từ vật liệu không xốp vào hàng thùng đo trên sàn, liền kề với tường (xem các Hình 12 và 13).
Phải đặt một tấm chắn phía trên hàng thùng đo này để ngăn ngừa sự va đập trực tiếp của nước từ các sprinkler.
Tổng lượng nước thu gom trong các thùng đo này ít nhất phải bằng 3,5 % tổng lượng nước được xả ra từ các sprinkler trong quá trình thử.
Đối với các sprinkler bên vách có đường kính danh nghĩa miệng phun 15 mm hoặc nhỏ hơn thì lưu lượng nước phải là 57 l/min cho mỗi sprinkler. Tốc độ thu gom nước trung bình trong các thùng đo không được nhỏ hơn 2 mm/min và tốc độ thu gom nước nhỏ nhất trong bất cứ thùng đo nào phải là 1,2 mm/min.
Đối với các sprinkler bên vách có đường kính danh nghĩa miệng phun 20 mm thì lưu lượng nước cho mỗi sprinkler phải là 78 l/min. Tốc độ thu gom nước trung bình trong các thùng đo không được nhỏ hơn 2,8 mm/min và tốc độ thu gom nước nhỏ nhất trong bất cứ thùng đo nào phải là 1,2 mm/min.
Xả nước 10 min trong quá trình thử này.
Các sprinkler bên vách phải làm ướt diện tích có đường biên cong phía trên các thùng đo trên một tường nhẵn phía sau các sprinkler (xem Hình 13).
Toàn bộ diện tích bao bởi đường cong phải được làm ướt hoàn toàn. Đỉnh của dạng đường cong phải cách mỗi bộ phận hướng dòng của sprinkler tối đa là 1,22 m.
Kích thước tính bằng milimét

CHÚ DẪN
1 thùng đo (chứa) vuông có cạnh 500 mm
2 tường sau
a đường kính danh nghĩa của ống là 25 mm.
b dòng nước
Hình 12 – Hình chiếu bằng của phòng thu gom phân bố nước bên vách
Kích thước tính bằng milimét
|
|
|
||
|
|
|
|
|
|
a) Hướng lên trên |
b) Nằm ngang |
c) Hướng xuống dưới |
|
CHÚ DẪN
1 trần
2 tường sau
3 tấm che
4 nối ống chữ T
5 đường tiếp xúc với nước tường sau
6 sprinkler (cần có 2)
7 khuỷu nối góc chuyển tiếp 90 o
8 diện tích được làm ướt
9 thùng đo (chứa) vuông cạnh 500 mm.
CHÚ THÍCH đường kính danh nghĩa của ống là 25 mm.
Hình 13 – Lắp đặt sprinkler bên vách cho thử nghiệm phân bố nước
7.12.3 Phân bố nước phía trên và phía dưới bộ phận hướng dòng
Sự xả nước của sprinkler xuống dưới từ các bộ phận hướng dòng phải
– đạt từ 40 % đến 60 % đối với các sprinkler thông thường;
– đạt từ 80 % đến 100 % đối với các sprinkler phun sương.
Phải lắp đặt sprinkler nằm ngang trong giá thử với các đặc điểm quan trọng được chỉ dẫn trên Hình 14.
Bộ phận hướng dòng phải được định vị trong thiết bị sao cho đường phân chia lý thuyết giữa hai thể tích thu gom nước cắt đường trục của sprinkler tại một điểm mà ở đó bụi nước di chuyển hầu như song song với mặt phẳng của vách ngăn.
Phải thử các sprinkler theo các điều kiện lưu lượng cho trong Bảng 10.
Bảng 10 – Điều kiện lưu lượng
|
Đường kính danh nghĩa miệng phun mm |
Lưu lượng nước l/min |
|
10 |
50,6 |
|
15 |
61,3 |
|
20 |
90,0 |
Kích thước tính bằng mét

CHÚ DẪN
1 Vách ngăn
Hình 14 – Thiết bị để xác định sự phân bố nước phía trên và phía dưới bộ phận hướng dòng
7.13 Thử ăn mòn (xem 6.11)
7.13.1 Thử ăn mòn do ứng suất trong dung dịch amoni ngậm nước (xem 6.11.1)
Phải thử năm sprinkler trong dung dịch amoni ngậm nước. Đầu vào của mỗi mẫu thử phải được bịt kín bằng nắp đậy không bị phản ứng (ví dụ: nắp chất dẻo).
Tẩy dầu mỡ các mẫu thử và sau đó cho chịu tác động trong 10 ngày bởi hỗn hợp amoni – không khí ẩm trong bình chứa thủy tinh có thể tích (0,02 ± 0,01) m3.
Duy trì dung dịch amoni ngậm nước có mật độ 0,94 g/ cm3 ở phần đáy của bình chứa, cách đáy của các mẫu thử khoảng 40 mm. Thể tích của dung dịch amoni ngậm nước tương đương với 0,01 ml/m3 của thể tích bình chứa sẽ cho nồng độ môi trường xấp xỉ như sau: 35 % amoni, 5 % hơi nước và 60 % không khí.
Hỗn hợp amoni – không khí ẩm phải được duy trì càng sát áp suất khí quyển càng tốt và giữ ở nhiệt độ (34 ± 2) oC. Phải thông khí cho khoang thông qua ống mao dẫn để tránh sự tăng dần của áp suất. Các mẫu thử phải được che chắn tránh sự chảy nhỏ giọt của chất ngưng tụ. Phải đặt bình chứa thủy tinh vào trong một vỏ bọc được nung nóng đồng đều để tránh sự ngưng tụ trên mẫu thử.
Sau khi cho chịu tác động, xúc rửa và làm khô các sprinkler và tiến hành kiểm tra một cách chi tiết. Nếu có vết rạn nứt, tách lớp hoặc hư hỏng của bất cứ bộ phận vận hành nào được phát hiện ra thì sprinkler phải được thử khả năng chịu rò rỉ ở áp suất 1,2 MPa (12 bar) trong 1 min và thử về chức năng ở áp suất 0,035 MPa (0,35 bar), xem 6.8 và 6.5.1.
Sprinkler có biểu hiện rạn nứt, tách lớp hoặc hư hỏng của bất cứ bộ phận không vận hành nào không được có dấu hiệu tách rời ra của các bộ phận đã được gắn chặt cố định khi được thử ở áp suất dòng chảy 1,2 MPa (12 bar) trong thời gian 30 min.
7.13.2 Thử ăn mòn do sunfua dioxit (xem 6.11.2)
Tiến hành thử ăn mòn sunfua dioxit 10 sprinkler được phủ bảo vệ và 10 sprinkler không được phủ bảo vệ như sau. Để đánh giá các sprinkler khô, phải sử dụng chiều dài được chế tạo ngắn nhất. Phải đổ đầy nước vào lỗ nạp của mỗi mẫu thử và bịt kín lỗ nạp bằng nắp không bị phản ứng (ví dụ: nắp chất dẻo).
Thiết bị thử gồm có một bình 5 l (thay cho bình 5 l có thể sử dụng bình có các dung tích khác đến 15 l với điều kiện là lượng hóa chất cho dưới đây được tăng lên theo tỷ lệ) làm bằng thủy tinh chịu nhiệt có nắp chống ăn mòn với hình dạng sao cho ngăn ngừa được nước ngưng tụ nhỏ giọt vào sprinkler. Bình được đốt nóng bằng điện ở dưới đáy và phải có ống xoắn làm nguội xung quanh các thành bên. Đặt một cảm biến nhiệt độ ở giữa cách đáy bình 160 mm ± 20 mm để điều chỉnh sự đốt nóng sao cho nhiệt độ trong bình thủy tinh là 45 oC ± 3 oC. Trong quá trình thử, nước chảy qua ống xoắn làm nguội với tốc độ đủ để giữ nhiệt độ nước được xả thấp hơn 30 oC. Sự kết hợp giữa đốt nóng và làm nguội này tạo ra sự ngưng tụ trên bề mặt của sprinkler. Các mẫu thử phải được che chắn để tránh sự nhỏ giọt của nước ngưng.
Treo các sprinkler được thử ở vị trí lắp ráp thông thường của chúng phía dưới nắp, bên trong bình. Các sprinkler không được phủ bảo vệ phải chịu tác động của môi trường sunfua dioxit trong 8 ngày. Các sprinkler được phủ bảo vệ phải chịu tác động của môi trường sunfua dioxit trong 16 ngày. Môi trường sunfua dioxit được tạo ra bằng cách hòa tan 20 g natri thiosunfat (Na2S2O3. 5H2O) tinh thể trong 500 ml nước.
Phép thử phải kéo dài trong một chu kỳ 8 ngày đối với các sprinkler không được phủ bảo vệ hoặc hai chu kỳ 8 ngày đối với các sprinkler được phủ bảo vệ.
Ít nhất là 6 ngày trong mỗi khoảng thời gian 8 ngày, phải bổ sung thêm vào môi trường thử với tần suất không đổi mỗi lần 20 ml axit sunfuaric loãng trong tổng số 156 ml H2SO4 thông thường được pha loãng với 844 ml nước. Sau 8 ngày, các sprinkler phải được lấy ra khỏi bình. Qui trình này được lặp lại cho khoảng thời gian 8 ngày thứ hai đối với các sprinkler được phủ bảo vệ sau khi bình đã được tháo hết môi trường ăn mòn và được làm sạch.
Sau toàn bộ thời gian 8 ngày đối với sprinkler không được phủ bảo vệ hoặc 16 ngày đối với sprinkler được phủ bảo vệ phải lấy các mẫu thử ra khỏi bình và làm khô trong thời gian 4 ngày đến 7 ngày ở nhiệt độ không vượt quá 35 oC với độ ẩm tương đối không lớn hơn 70 %.
Sau giai đoạn làm khô, phải thử về chức năng đối với 5 sprinkler ở áp suất 0,035 MPa (0,35 bar) phù hợp với 6.5.1 và thử tăng nhiệt động lực học đối với 5 sprinkler theo 6.14.2.
7.13.3 Thử ăn mòn do sương muối (xem 6.11.3)
7.13.3.1 Sprinkler dùng cho môi trường bình thường
Cho 10 sprinkler chịu tác động của sương muối trong buồng thử phun sương muối. Để đánh giá các sprinkler khô, phải sử dụng sprinkler có chiều dài chế tạo ngắn nhất. Đổ đầy nước vào lỗ nạp của mỗi mẫu thử và bịt kín bằng nắp đậy không bị phản ứng (ví dụ: nắp chất dẻo).
Trong quá trình chịu tác động của môi trường ăn mòn, miệng nạp có ren phải được bịt kín bằng nắp đậy không bị phản ứng sau khi sprinkler đã được nạp đầy nước đã khử ion. Dung dịch muối phải là dung dịch natri clorua 20 % theo khối lượng trong nước cất. Độ pH phải ở trong khoảng từ 6,5 đến 7,2 và mật độ trong khoảng từ 1,126 g/ml đến 1,157 g/ml khi đã phun sương mù ở 35oC. Phải có phương tiện thích hợp để kiểm soát môi trường trong buồng thử. Các mẫu thử phải được đỡ ở vị trí làm việc bình thường của chúng và chịu tác động của sương muối trong buồng thử có thể tích ít nhất là 0,43 m3, trong đó vùng chịu tác động của sương muối phải được duy trì ở nhiệt độ (35 ± 2) oC. Phải ghi lại nhiệt độ ít nhất là một lần trong ngày, ít nhất là cách nhau 7 h (trừ những ngày cuối tuần và ngày nghỉ, khi buồng thử thường không được mở). Dung dịch muối phải được cung cấp từ bình chứa tuần hoàn khép kín thông qua các vòi phun hút khí ở áp suất từ 0,07 MPa (0,7 bar) đến 0,17 MPa (1,7 bar). Dung dịch muối chảy từ các mẫu thử phải được thu gom và không được trở về bình chứa để tuần hoàn lại. Phải che chắn các mẫu thử tránh sự nhỏ giọt của nước ngưng.
Phải thu gom sương có muối chảy ra từ mẫu thử ít nhất là tại hai điểm trong vùng chịu tác động để xác định mức độ tác động và nồng độ muối. Sương muối phải bảo đảm sao cho với mỗi diện tích thu gom 80 cm2 phải thu được từ 1 ml đến 2 ml dung dịch trong 1 h trong khoảng thời gian 16 h và nồng độ muối phải là (20 ± 1) % theo khối lượng.
Sprinkler chịu được tác động của sương có muối trong thời gian 10 ngày. Sau thời gian này, phải lấy các sprinkler ra khỏi buồng sương muối và làm khô trong thời gian từ 4 đến 7 ngày ở nhiệt độ không vượt quá (20 ± 5) oC trong môi trường có độ ẩm tương đối không lớn hơn 70 %. Sau giai đoạn làm khô, phải tiến hành thử về chức năng đối với 5 sprinkler ở áp suất 0,035 MPa (0,35 bar), phù hợp với 6.5.1 và thử tăng nhiệt động lực học 5 sprinkler theo 6.14.2.
7.13.3.2 Sprinkler dùng cho môi trường ăn mòn
Sprinkler dùng trong môi trường ăn mòn phải chịu được các phép thử qui định trong 7.13.3.1 với thời gian chịu tác động của sương muối từ 10 đến 30 ngày.
7.13.3.3 Thử chịu tác động của không khí ẩm (xem 6.11.4)
Cho 10 sprinkler chịu tác động của môi trường nhiệt độ độ ẩm cao với độ ẩm tương đối 99% ± 2% và nhiệt độ 95 oC ± 4 oC. Để đánh giá các sprinkler khô, phải sử dụng chiều dài được chế tạo ngắn nhất.
Phải lắp đặt các sprinkler trên ống góp chứa nước đã khử ion. Đặt toàn bộ ống góp vào môi trường có độ ẩm và nhiệt độ cao trong thời gian 90 ngày. Sau thời gian này, phải lấy các sprinkler ra khỏi môi trường có độ ẩm và nhiệt độ cao và làm khô trong thời gian từ 4 đến 7 ngày ở độ ẩm tương đối không lớn hơn 70 %. Sau giai đoạn làm khô, năm sprinkler phải đáp ứng các yêu cầu về chức năng trong 6.5.1 ở áp suất 0,05 MPa (0,5 bar) và năm sprinkler phải được thử tăng nhiệt động lực học (xem 6.14.2).
Theo lựa chọn của nhà sản xuất, có thể cung cấp các mẫu bổ sung thêm cho phép thử này để sớm có được bằng chứng về hư hỏng. Các mẫu bổ sung có thể được lấy ra khỏi buồng thử vào các khoảng thời gian 30 ngày của quá trình thử.
7.14 Thử nghiệm lớp phủ của sprinkler
7.14.1 Thử tính bay hơi (xem 6.12.2)
Đặt một mẫu thử 50 cm3 sáp hoặc bitum vào trong bình chứa hình trụ bằng kim loại hoặc thủy tinh có đáy phẳng, đường kính trong 55 mm và chiều cao bên trong 35 mm. Bình chứa không có nắp được đặt trong lò nung có nhiệt độ môi trường không đổi, được điều khiển tự động bằng điện, có tuần hoàn không khí. Phải điều chỉnh nhiệt độ trong lò thấp hơn nhiệt độ mở (làm việc) danh nghĩa của sprinkler là 16 oC nhưng ở nhiệt độ không thấp hơn 50 oC. Phải cân mẫu thử trước và sau 90 ngày chịu tác động để xác định mọi hao hụt của chất bay hơi, mẫu thử phải đáp ứng các yêu cầu trong 6.12.2.
7.14.2 Thử nhiệt độ thấp (xem 6.12.3)
Thử năm sprinkler đã được phủ bảo vệ bằng các phương pháp chế tạo thông thường như sáp, bitum hoặc lớp phủ kim loại ở nhiệt độ -10 oC trong thời gian 24 h. Lấy các mẫu thử sprinkler khỏi buồng thử nhiệt độ thấp và đưa mẫu trở về nhiệt độ môi trường xung quanh bình thường trong thời gian ít nhất là 30 min trước khi kiểm tra lớp phủ theo các yêu cầu trong 6.12.3.
7.15 Thử độ bền chịu nhiệt (xem 6.15)
Nung nóng một thân sprinkler trong lò nung ở nhiệt độ 800 oC trong thời gian 15 min, với sprinkler ở vị trí lắp đặt thông thường của nó. Sau đó lấy thân sprinkler ra, giữ thân sprinkler bằng miệng vào có ren của nó rồi nhúng chìm nhanh vào bể nước ở nhiệt độ xấp xỉ 15 oC. Thân sprinkler phải đáp ứng các yêu cầu trong 6.15.
7.16 Thử va đập thủy lực (xem 6.13)
7.16.1 Nối năm sprinkler ở vị trí làm việc bình thường của chúng với thiết bị thử. Sau khi làm sạch hết không khí khỏi sprinkler và thiết bị thử, tạo ra 3000 chu kỳ thay đổi áp suất từ (0,4 ± 0,05) MPa [(4 ± 0,5) bar] đến (3,0 ± 0,1) MPa [(30 ± 1) bar]. Áp suất phải được tăng lên từ 4 bar đến 30 bar với tốc độ (10 ± 1,0) MPa/s [(100 ± 10) bar/s]. Ít nhất phải tạo ra 30 chu kỳ áp suất trong 1 min. Phải đo áp suất bằng bộ chuyển đổi áp điện.
7.16.2 Kiểm tra bằng mắt sự rò rỉ của mỗi sprinkler trong quá trình thử. Sau khi thử, mỗi sprinkler phải đáp ứng các yêu cầu về khả năng chống rò rỉ trong 6.8.1 và yêu cầu về chức năng trong 6.5.1 ở áp suất 0,035 MPa (0,35 bar).
7.17 Thử rung (xem 6.16)
7.17.1 Cố định năm sprinkler theo phương thẳng đứng vào bàn rung và cho chịu tác động của rung hình sin ở nhiệt độ phòng. Hướng của rung phải nằm dọc theo đường trục của ren nối ống. Khi thử các sprinkler khô thì chúng phải có chiều dài chế tạo dài nhất.
7.17.2 Các sprinkler phải được rung liên tục từ 5 Hz đến 40 Hz ở tốc độ 5 min/octa và biên độ 1 mm (1/2 giá trị đỉnh tới đỉnh). Nếu phát hiện ra một hoặc nhiều điểm cộng hưởng thì sau khi đạt tới 40 Hz, các sprinkler phải được rung tại mỗi một trong số các tần số cộng hưởng này trong 120 h cho mỗi số điểm cộng hưởng. Nếu không phát hiện ra các điểm cộng hưởng thì phải tiếp tục rung từ 5 Hz đến 40 Hz trong 120 h.
7.17.3 Sau khi rung, mỗi sprinkler phải đáp ứng các yêu cầu về khả năng chống rò rỉ trong 6.8.1 và các yêu cầu về chức năng trong 6.5.1 ở áp suất 0,035 MPa (0,35 bar).
7.18 Thử va đập (xem 6.17)
7.18.1 Tiến hành thử va đập năm sprinkler không thuộc loại sprinkler khô bằng cách thả rơi một vật nặng (tải trọng) lên đầu mút bộ phận hưởng dòng của sprinkler, dọc theo đường tâm của đường dẫn nước. Sprinkler có trang bị nắp che được tháo ra khi đã lắp đặt xong sprinkler, phải được thử va đập cùng với nắp ở vị trí lắp. Động năng của vật nặng rơi tại điểm va đập phải tương đương với động năng của vật nặng bằng trọng lượng của sprinkler được thử rơi từ độ cao 1 m (xem Hình 15).
Đối với sprinkler có bộ phận chắn nước, vật nặng rơi phải có trọng lượng tương đương với trọng lượng của sprinkler được thử không có bộ phận chắn nước. Phải ngăn ngừa được sự va đập nhiều hơn một lần của vật nặng rơi trên mỗi mẫu thử. Sau khi thử va đập, mỗi sprinkler phải đáp ứng các yêu cầu trong 6.17.1.
7.18.2 Đánh giá tính toàn vẹn của bộ phận chắn nước gắn vào sprinkler bằng cách cho sprinkler đã được lắp ráp hoàn chỉnh rơi từ độ cao 1 m xuống bề mặt bê tông sao cho bộ phận chắn nước va đập với sàn theo một góc xấp xỉ bằng 45 o (xem 6.17.2).
Kích thước tính bằng milimét

CHÚ DẪN
1 ống thép không hàn kéo nguội
2 vật nặng (tải trọng)
3 chốt cài
4 giá treo điều chỉnh được (2)
5 ụ đỡ cứng vững
6 bệ đỡ sprinkler
a chiều dài được xác định (chiều dài hoặc trọng lượng yêu cầu)
b thép được gia công tinh nguội
Hình 15 – Thiết bị thử va đập
7.19 Thử hiệu suất chữa cháy cũi gỗ (xem 6.18)
7.19.1 Cũi gỗ thử chữa cháy
7.19.1.1 Phép thử được tiến hành với việc sử dụng cũi gồm các thanh gỗ đã được xẻ ra của loại thông Pinus Sylvestris hoặc loại bách Picea excelsa.
Mỗi cũi gỗ gồm có hai thanh có kích thước danh nghĩa 100 mm x 150 mm x 2400 mm, 13 thanh có các kích thước danh nghĩa 100 mm x 100 mm x 1200 mm và 28 thanh có các kích thước danh nghĩa 50 mm x 100 mm x 1200 mm. Độ ẩm trung bình của gỗ phải ở trong khoảng từ 6 % đến 14 % (xem Hình 16).
Các thanh gỗ trên phải được đặt nằm, cách đều nhau và tạo thành cũi hình vuông diện tích 1200 mm x 1200 mm, chiều cao 600 mm, được đỡ bởi hai xà gỗ dài 2400 mm, tiết diện 100 mm x 150 mm. Phải xác định và ghi lại tổng khối lượng của các thanh trong cũi gỗ
Các xà của cũi gỗ phải được gá đặt tựa trên một khung thép chữ U lắp đặt trên các ống đỡ điều chỉnh được. Khung thép phải đủ lớn để bắc giữ được thùng thép như qui định trong 7.19.1.3.
Kích thước tính bằng milimét

Hình 16 – Cũi gỗ thử chữa cháy
7.19.1.2 Cung cấp nhiên liệu n-heptan hoặc nhiên liệu tương đương đủ dùng trong 30 min và họng phun phải được gắn vào cụm lắp ráp như chỉ dẫn trên Hình 16. Phải tạo ra sương mù dạng côn rỗng có góc xấp xỉ 75o khi phun nhiên liệu với tốc độ 0,063 l/s. Để phòng ngừa lửa tắt, phải đặt bộ đánh lửa cạnh họng phun. Đó có thể là một hộp hình trụ có chứa một phần heptan.
CHÚ THÍCH Họng phun sẵn có trên thị trường. Kết cấu chi tiết của họng phun theo ISO/TC 21.
7.19.1.3 Thùng thép phải có kích thước 1800 mm x 2400 mm x 300 mm (độ sâu) được chế tạo từ thép tấm có chiều dầy không nhỏ hơn 5,4 mm. Các góc phía trên phải được gia cố bằng đai thép liên tục. Thùng phải làm kín đối với chất lỏng và trước khi thử phải được chứa nước tới chiều sâu 100 mm. Thùng phải được trang bị phương tiện xả nước để duy trì mức nước ở 100 mm.
7.19.2 Lắp đặt sprinkler
7.19.2.1 Đặt bốn sprinkler mở thuộc cùng một loại và cùng một cỡ miệng phun phía dưới phần không có vật cản của trần nhà với diện tích nhỏ nhất 5000 mm x 5000 mm. Các sprinkler phải được lắp trên một kết cấu ống hình vuông, được chế tạo cân bằng (xem Hình 17) với khoảng cách giữa các sprinkler trên mỗi cạnh là 3000 mm. Khoảng cách giữa trần và đỉnh cũi gỗ (2500 ± 100) mm. Khoảng cách giữa các bộ phận hướng dòng của các sprinkler hướng lên trên và trần phải là (180 ± 50) mm và đối với các sprinkler hướng xuống dưới thì khoảng cách này phải là (250 ± 50) mm.
CHÚ THÍCH Có thể sử dụng các sprinkler đóng kín với trị số nhiệt độ danh nghĩa 77 oC hoặc nhỏ hơn với điều kiện là chúng hoạt động trong thời gian mồi lửa 70 s.
7.19.2.2 Sprinkler trần,sprinkler lắp chìm có nắp đậy và sprinkler lắp chìm phải được lắp đặt ở vị trí rãnh (chỗ lõm) lớn nhất trong trần giả có kích thước không nhỏ hơn 6 m x 6 m và được bố trí đối xứng trong phòng thử.
7.19.2.3 Đặt hai cặp nhiệt điện cách nhau 150 mm phía dưới trần và cách trần 50 mm tại tâm của hình vuông được tạo thành bởi các sprinkler. Đỉnh của cặp nhiệt điện phải quay lên trên để tránh tạo thành nước nhỏ giọt.
7.19.2.4 Các tay khung kẹp của sprinkler phải hướng song song với đường ống.
7.19.3 Phòng thử
Phòng thử phải được thông gió tự nhiên và phải có diện tích nhỏ nhất là 144 m2, không có kích thước nào của sàn nhỏ hơn 12 m. Cho phép phòng thử có diện tích sàn không nhỏ hơn 100 m2 và không có kích thước nào của sàn nhỏ hơn 10 m với điều kiện là các giá trị hiệu chuẩn có thể so sánh được. Độ cao của trần phải đủ để thích ứng với cụm lắp ráp như chỉ dẫn trên Hình 17. Tổng diện tích cửa không khí vào phòng thử không được nhỏ hơn 1 m2. Phải có biện pháp dự phòng bằng thông khí hoặc bằng kích thước phòng thử để rút hoặc làm tiêu tan khói.
Các phòng thử phải được hiệu chuẩn so với không ít hơn hai phòng thử hoạt động khác.
7.19.4 Tiến hành thử
7.19.4.1 Tiến hành hai thử nghiệm, mỗi thử nghiệm kéo dài trong 30 min. Đối với mỗi thử nghiệm, đặt một cũi gỗ mới ở trung tâm phòng thử. Cũi gỗ được cung cấp n-heptan ở nhiệt độ trong khoảng từ 5 oC đến 25 oC trong thời gian 30 min. Phải bảo đảm sự cháy liên tục của n-heptan bằng ngọn lửa mồi hoặc bộ đánh lửa đặt cách họng phun 50 mm.
7.19.4.2 Tổng lưu lượng của bốn sprinkler có miệng phun 15 mm phải là
l/min đối với lần thử thứ nhất và
l/min đối với lần thử thứ hai. Tổng lưu lượng của bốn sprinkler có miệng phun 20 mm phải là
l/min đối với lần thử thứ nhất và
l/min đối với lần thử thứ hai.
7.19.4.3 Phải cho nhiên liệu phun ra đồng thời với việc mồi lửa. Khi đã được mồi lửa phải khởi động thiết bị đo thời gian và nhiệt độ thử.
Đối với các sprinkler mở, phải bắt đầu dùng đến nước sau thời gian cháy tự do ít nhất là 1 min hoặc sau khi nhiệt độ trần đạt tới 760 oC, chọn trường hợp nào xảy ra sau.
7.19.4.4 Sau khoảng thời gian 30 min, phép thử phải được dừng lại và cũi gỗ phải được dập tắt hoàn toàn trong 1 min. Sau đó cũi gỗ phải được sấy khô trong lò và được cân.
Nếu cũi gỗ không thể sấy khô trong lò được thì phải được phơi khô trong một tuần trên một diện tích có mái che. Giá trị khối lượng của cũi đo được trước khi thử (độ ẩm từ 6 % đến 12 %) và sau khi sấy khô phải được hiệu chỉnh tới giá trị độ ẩm 0 % trước khi thực hiện các tính toán xác định sự tuân thủ yêu cầu về hao hụt khối lượng (xem 6.18).
Kích thước tính bằng milimét

|
CHÚ DẪN 1 cặp nhiệt điện 2 trần 3 sprinkler 4 ống cỡ 25 mm 5 ống cỡ 40 mm 6 giá đỡ ống điều chỉnh được 7 đường ống cung cấp nhiên liệu 8 cũi gỗ 9 ngọn lửa n-heptan 10 bộ mồi lửa (đánh lửa) 11 nước 12 ống trần 13 thùng thép |
|
a Bốn sprinkler được bố trí cách đều trên kết cấu ống hình vuông với khoảng cách giữa các sprinkler trên mỗi cạnh 3000 mm.
Hình 17 – Thử hiệu suất chữa cháy cũi gỗ
7.20 Thử xả trễ (xem 6.19)
7.20.1 Khi xả nước ở áp suất làm việc 0,69 MPa (6,9 bar), một sprinkler phun sương mở hướng lên trên hoặc hướng xuống dưới không được ngăn cản hoạt động của một sprinkler tự động có nhiệt độ làm việc danh nghĩa từ 57 oC đến 77 oC thuộc cùng một loại và cùng một phản ứng được đặt cách nhau 183 m trên đường ống liền kề trong cùng một mặt phẳng nằm ngang.
7.20.2 Lắp đặt một sprinkler phun sương tự động hướng lên trên hoặc hướng xuống dưới có nhiệt độ mở (làm việc) danh nghĩa từ 57 oC đến 77 oC trên đường ống cách (tâm đến tâm) một sprinkler mở thứ hai thuộc cùng một loại 1,83 m. Các sprinkler phải ở trên các đường ống song song tách biệt, với các tay khung kẹp song song với ống và các bộ phận hướng dòng của sprinkler được bố trí bên dưới cách trần phẳng 560 mm. Nước phải được xả từ sprinkler mở ở áp suất làm việc 0,69 MPa (6,9 bar). Sau khi đã tạo thành dòng nước, sprinkler tự động phải chịu tác động của nhiệt và ngọn lửa từ một thùng vuông có cạnh 305 mm, sâu 102 mm chứa 0,47 l heptan. Đỉnh của thùng phải ở bên dưới và cách phần tử phản ứng nhiệt 152 mm.
7.20.3 Phép thử phải được lặp lại với tay khung của sprinkler vuông góc với đường ống.
7.20.4 Định vị các bộ phận hướng dòng của sprinkler ở bên dưới và cách trần phẳng 152 mm rồi lặp lại cả hai phép thử.
7.20.5 Trong toàn bộ bốn điều kiện thử, sprinkler tự động thuộc loại đã nêu trên (hướng lên trên hoặc hướng xuống dưới) phải hoạt động trước khi heptan được đốt cháy hết.
7.21 Thử rò rỉ trong 30 ngày (xem 6.20)
7.21.1 Lắp đặt năm sprinkler trên đường ống chứa đầy nước được duy trì ở áp suất không thay đổi là 2 MPa (20 bar) trong 30 ngày ở nhiệt độ môi trường xung quanh (20 ± 5) oC.
7.21.2 Ít nhất là hằng tuần, các sprinkler phải được kiểm tra bằng mắt về sự rò rỉ. Sau khi hoàn thành phép thử trong 30 ngày này, tất cả các mẫu thử phải đáp ứng yêu cầu về khả năng chống rò rỉ quy định trong 6.8.1. Kiểm tra tất cả các mẫu thử để xác minh rằng không có bằng chứng về sự móp méo biến dạng hoặc hư hỏng cơ học khác.
7.22 Thử chân không (xem 6.21)
Cho ba sprinkler chịu tác động của chân không tăng dần đến 61328 Pa (460 mmHg1)) tại miệng vào của sprinkler trong 1 min ở nhiệt độ môi trường xung quanh (20 ± 5) oC. Sau phép thử này phải kiểm tra mỗi mẫu để xác minh rằng không xảy ra sự móp méo biến dạng hoặc hư hỏng cơ học và các mẫu thử đáp ứng yêu cầu về khả năng chống rò rỉ qui định trong 6.8.1.
7.23 Góc bảo vệ chắn nước (xem 6.22)
Kiểm tra góc bảo vệ theo 6.22, đo góc giữa mặt phẳng của bộ phận chắn nước tại cạnh (mép) ngoài của nó tới đầu mút của phần tử dễ chảy hoặc bầu thủy tinh với việc quay cơ cấu tay đòn tạo ra góc đối diện lớn nhất (xem Hình 3).
Đối với sprinkler có thanh truyền và đòn thì đây là cạnh ngoài cùng và thấp nhất của thanh truyền hoặc đòn được đo với cụm thanh truyền và đòn quay góc 90 o về phía mặt phẳng tay khung kẹp.
Đối với sprinkler có trục đỡ (thanh chống) hoặc bầu thủy tinh thì nếu một đường vẽ từ mép (cạnh) của mặt tựa dưới của bầu thủy tinh, thay vì đầu mút của bầu thủy tinh, tạo ra một góc lớn hơn thì góc lớn hơn này phải là góc bảo vệ cho sprinkler.
7.24 Thử chuyển động quay của bộ phận chắn nước (xem 6.23)
7.24.1 Bộ phận chắn nước của mỗi một trong ba sprinkler không được quay khi chịu tác dụng của momen xoắn đến 4,0 N.m. Momen xoắn phải được tác dụng chậm và êm.
7.24.2 Nếu bộ phận chắn nước quay với momen xoắn nhỏ hơn 4,0 N.m, thì nó phải quay 360 o và phải kiểm tra sprinkler về sự thay đổi của tải trọng làm việc. Nếu việc quan sát bằng mắt chuyển động quay của bộ phận chắn cho thấy có sự thay đổi trong tải trọng làm việc từ năm mẫu thử phải có các bộ phận được quay hai vòng và xác định tải trọng làm việc trung bình. Tải trọng làm việc trung bình không được thay đổi lớn hơn ± 10 %.
7.25 Thử phản ứng nhiệt độ đối với sprinkler lắp chìm có nắp đậy,sprinkler trần và sprinkler lắp chìm (xem 6.24).
7.25.1 Tiến hành thử ba mẫu khi sử dụng các điều kiện thử và định hướng được xác định từ các tính toán theo 6.24 và Phụ lục E.
a) Ít nhất phải thử 10 sprinkler cho mỗi loại sprinkler lắp chìm có nắp đậy, sprinkler trần và sprinkler lắp chìm theo nhóm gồm năm sprinkler và các sprinkler phải hoạt động trong các giới hạn dung sai quy định trong 6.24 khi được lắp đặt trên trần có độ cao 2,4 m ở giữa một phòng 4,6 m x 4,6 m và chịu tác động của nhiệt từ một bếp lò cát đặt trên sàn trong một góc phòng (xem Hình 18).
Mỗi sprinkler phải được nạp đầy nước (20 ± 5) oC. Phải lắp các sprinkler ở vị trí rãnh (hốc) lớn nhất. Sprinkler lắp chìm có nắp đậy, sprinkler trần và sprinkler lắp chìm phải được lắp đặt và thử sao cho không ngăn cản dòng không khí đi qua lỗ khóa.
Hoặc
b) Có thể là, mỗi sprinkler được thử phải được bọc 1 đến 1,5 lớp bọc bằng vật liệu bịt kín PTFE vào phần ren của sprinkler. Sprinkler phải được vặn ren vào giá đỡ với momen xoắn (15 ± 3) N.m. Mỗi sprinkler phải được lắp vào nắp che của đoạn thử dạng ống và được giữ trong phòng trong thời gian không ít hơn 30 min để cho phép sprinkler đạt tới nhiệt độ môi trường xung quanh. Sprinkler phải được lắp đặt sao cho phần tử nhạy cảm (phản ứng) nhiệt độ của sprinkler nhô ra ít nhất (theo sự cho phép của kết cấu sprinkler) vào dòng khí mỏng của thiết bị tăng nhiệt động lực học (xem Hình 19). Các định hướng theo Bảng 4 phải dựa trên cơ sở như khi sprinkler không phải là sprinkler lắp chìm có nắp đậy, sprinkler trần hoặc sprinkler lắp chìm.
7.25.2 Bếp lò cát là thiết bị có kích thước 30 cm x 30 cm x 30 cm cao (xem Hình 20) với lưu lượng khí tự nhiên hoặc khí mêtan 9,6 m3/h đối với các sprinkler có nhiệt độ làm việc danh nghĩa 77 oC. Đối với các sprinkler có nhiệt độ làm việc danh nghĩa 79 oC đến 107 oC thì lưu lượng của khí tự nhiên hoặc khí mêtan là 26 m3/h. Khí tự nhiên hoặc khí mêtan phải có năng suất tỏa nhiệt (37600 ± 1000) kJ/m3. Có thể sử dụng các khí có nhiệt hàm cao hơn với điều kiện là có thể đạt được năng suất tỏa nhiệt tương đương bằng cách điều chỉnh lưu lượng.
Phép thử phản ứng phải được bắt đầu khi nhiệt độ môi trường ở trung tâm phòng, bên dưới và cách trần 254 mm đo được là
a) (31 ± 1) oC đối với các sprinkler có nhiệt độ làm việc danh nghĩa không vượt quá 77 oC, hoặc
b) (49 ± 1,7) oC đối với các sprinkler có nhiệt độ làm việc danh nghĩa từ 79 oC đến 107 oC.
Có thể là tất cả các sprinkler phải được thử với miệng vào của mỗi mẫu thử nối với nguồn áp suất 0,05 MPa (0,5 bar).
Ghi lại thời gian hoạt động (vận hành) của mỗi sprinkler.
Kích thước tính bằng milimét

CHÚ DẪN
1 các vị trí của sprinkler bên vách
2 các vị trí của sprinkler hướng xuống dưới
a kích thước điển hình
b đối với nội dung chi tiết của bếp lò cát, xem Hình 20.
Hình 18 – Hình chiếu bằng của phòng thử phản ứng nhiệt của sprinkler lắp chìm có nắp đậy, sprinkler trần và sprinkler lắp chìm
Kích thước tính bằng milimét

CHÚ DẪN
1 các lỗ (cửa) chênh áp
2 lỗ (cửa) chân không
3 khung thép (3,038 mm ± 0,20 mm)
4 đai ốc hãm ở vị trí khóa
5 đai ốc hãm được hàn vào phía trong rào che
6 tay cầm
7 rào che vuông dầy 0,40 mm
8 trục ren f 32 mm x 146 mm dài – một đầu ren dùng cho phụ tùng nối ống mềm dẫn không khí, đầu ren kia dùng để nối với sprinkler
9 lỗ lắp đặt sprinkler trong Marinite â (xem chú thích)
10 đệm dầy 2,5 mm, rộng 25,4 mm (4 cạnh)
11 các vít đầu thùng (khay) được gia công trong Marinite â dùng để kẹp chặt khung thép Marinite â của thân rào che.
CHÚ THÍCH Marinite â là tên thương mại của sản phẩm do công ty vật liệu ENZ cung cấp. Thông tin này thuận tiện cho người sử dụng tiêu chuẩn này và không phải là nội dung của tiêu chuẩn sản phẩm. Có thể sử dụng các sản phẩm tương đương nếu chúng có thể dẫn đến cùng một kết quả.
a Marinite â 1,9 cm
Hình 19 – Tấm thử tăng nhiệt động lực học đối với sprinkler không được che đậy, sprinkler trần và sprinkler lắp chìm
Kích thước tính bằng milimét

CHÚ DẪN
1 ống có kích thước danh nghĩa f 25 mm
2 ống có kích thước danh nghĩa f 40 mm
3 cát
Vật liệu:
– hộp thép tấm hàn
– đường ống thép và phụ tùng nối ống với 12 lỗ f 6,35
– cát xây.
Hình 20 – Chi tiết về bếp lò cát
7.25.3 Phòng phải được thiết kế bằng gỗ dán có chiều dầy danh nghĩa 1,2 cm. Trần phải được làm bằng sàn thép cán mỏng có chiều dầy danh nghĩa 1 mm. Có thể lắp tấm phủ tường bằng vật liệu không cháy được ở góc phòng có bếp lò cát.
Phải tiến hành hai lần thử với năm sprinkler cho mỗi lần thử. Mỗi sprinkler đã nạp đầy nước ở nhiệt độ phòng được định vị cách nhau 15 cm, ở giữa trần và trên một cung tròn có bán kính 3,2 m được vẽ với tâm là góc phòng có đặt bếp lò cát, xem Hình 18.
Để đánh giá các sprinkler khô, phải sử dụng chiều dài được chế tạo ngắn nhất.
7.25.4 Trước khi lắp đặt các mẫu thử sprinkler cần làm nóng tường và trần của hộp che thử bằng cách đưa chúng và bếp lò vào hoạt động ở lưu lượng 26 m3/h trong 10 min.
Phải sử dụng thiết bị đo thời gian với độ chính xác đến ± 0,01 s có các cơ cấu đo thích hợp cho phép đọc thời gian từ khi sprinkler được nhúng vào bộ phận thử dạng ống (ống thử) tới khi nó hoạt động để xác định thời gian phản ứng.
7.25.5 Ngay khi sprinkler được nhúng vào thiết bị tăng nhiệt động lực học, phải tạo ra chân không (như đã cho trong Bảng 5) và duy trì chân không trong suốt thời gian thử còn lại.
7.26 Chu trình vận hành của sprinkler mở/đóng (xem 6.25)
7.26.1 Lắp đặt một sprinkler trên đồ gá thử và cung cấp nước cho sprinkler ở áp suất (2,75 ± 0,5) bar. Cho sprinkler chịu tác động của nhiệt tới khi vận hành và đạt được vị trí mở hoàn toàn. Sau đó ngừng tác động nhiệt và phần tử nhạy cảm (phản ứng) nhiệt được phép nguội đi tới khi sprinkler được đóng kín. Quy trình này phải được lặp lại tới khi hoàn thành số lượng chu trình thử nghiệm quy định. Khoảng thời gian giữa mỗi lần đóng kín mẫu thử và lặp lại tác động của nhiệt không được lớn hơn 60 s.
7.26.2 Nước sử dụng trong chu trình quy định trong 6.25.2 phải bao gồm 60 l nước máy được hòa trộn với 1,58 kg chất nhiễm bẩn đã qua sàng như quy định trong Bảng 11. Dung dịch phải được khuấy liên tục trong quá trình thử.
Bảng 11 – Chất nhiễm bẩn dùng cho thử chu trình nước nhiễm bẩn
|
Ký hiệu của sàng a |
Kích thước danh nghĩa lỗ sàng mm |
Khối lượng chất nhiễm bẩn ± 5% |
||
|
Chất vẩy ống |
Đất phù xa |
Cát |
||
|
No 25 |
0,706 |
– |
456 |
200 |
|
No 50 |
0,297 |
82 |
82 |
327 |
|
No 100 |
0,150 |
84 |
6 |
89 |
|
No 200 |
0,074 |
81 |
– |
21 |
|
No 325 |
0,043 |
153 |
– |
3 |
|
Tổng |
400 |
544 |
640 |
|
|
a Các ký hiệu của sàng tương ứng với các ký hiệu quy định trong đặc tính kỹ thuật tiêu chuẩn của sàng lưới dây thép cho mục đích thử nghiệm ASTM E11-87. Sàng Cenco- Meinzer có các cỡ lỗ sàng 25, 50, 100, 200 và 325 tương ứng với ký hiệu số trong bảng tuân theo ASTM E11-87. |
||||
7.27 Thử chữa cháy đống vật liệu giấy đối với sprinkler mở/đóng (xem 6.5.3 và 6.262))
7.27.1 Phòng thử phải có kích thước không nhỏ hơn 18 m x 18 m và có trần cao xấp xỉ 5 m. Phòng thử phải được thông hơi và có phương tiện để thải nước xả ra từ sprinkler, xem Hình 21.
7.27.2 Phải lắp đặt ít nhất là 18 sprinkler thành mạng lưới sprinkler gồm các ống nối có cỡ kích thước nhỏ nhất là 40 mm. Mạng lưới sprinkler phải tạo ra khoảng cách giữa các sprinkler 3 m x 3 m. Các bộ phận hướng dòng của sprinkler phải được định vị bên dưới trần 250 mm ± 50 mm đối với các sprinkler hướng xuống dưới và 180 mm ± 50 mm đối với các sprinkler hướng lên trên.
7.27.3 Phải ghi lại nhiệt độ bằng ít nhất là 24 cặp nhiệt điện được định vị gần trần. Sau cặp nhiệt điện được đánh từ 1 đến 6 trên Hình 21 phải được định vị bên dưới và cách trần 50 mm ngay phía trên các sprinkler và ít nhất phải lắp một cặp nhiệt điện bên cạnh phần tử nhạy cảm (phản ứng) nhiệt của mỗi sprinkler.
7.27.4 Phải điều chỉnh sự cung cấp nước cho hệ thống sprinkler để tạo ra lưu lượng trung bình 6,6 l /min/m2 diện tích sàn đối với các sprinkler có miệng phun 15 mm khi tất cả các sprinkler đang vận hành.
7.27.5 Phải giám sát liên tục lưu lượng nước xả của các sprinkler để có thể điều chỉnh được lưu lượng khi cần thiết sao cho đạt được lưu lượng nước xả trung bình như quy định trong 7.27.4.
7.27.6 Đống vật liệu giấy gồm có ít nhất là 30 khối cactông sóng ba lớp được đặt trên các giá kê và được xếp thành đống với ít nhất là ba khối cactông theo chiều rộng, năm khối cactông theo chiều dài và hai khối cactông theo chiều cao. Xem Hình 22. Phải duy trì khoảng hở 150 mm giữa tất cả các chồng khối cactông.
7.27.7 Mỗi khối cactông phải có kích thước 1,1 m x 1,1 m x 1,1 m và phải tuân theo các yêu cầu đối với các tấm cactông sóng sợi ép, ba lớp, rãnh “AAA” kiểu E, loại 2 phù hợp với điều kiện kỹ thuật của chính phủ Hoa Kỳ PPP – B – 640 D. Khoảng cách từ mặt trong của thành bên trong đến mặt ngoài của thành bên ngoài là 12,7 mm. Phải đặt một khối cactông 1,0 m x 1,0 m x 1,0 m tuân theo các yêu cầu trên ngoại trừ kích thước toàn bộ bên trong mỗi khối cactông lớn hơn.
7.27.8 Để đạt được tính ổn định về kết cấu trong phép thử này, phải đặt hai chi tiết bằng thép dầy 1,5 mm, các chiều cao 1,3 m và 0,9 m chéo nhau trong mỗi khối cactông bên trong. Mỗi chi tiết đỡ phải có một rãnh rộng 2 mm, dài 0,5 m ở giữa để dễ dàng lắp với chi tiết bắt chéo kia.
7.27.9 Nguồn đốt cháy, đối với phép thử gồm có 0,7 kg giấy vụn được đặt trên sàn, trong không gian ở giữa khối cactông thứ nhất và thứ hai thuộc hàng giữa và được đốt cháy. Xem Hình 22.
7.27.10 Trong quá trinh thử phải kiểm tra để bảo đảm sprinkler đáp ứng các yêu cầu trong 6.5.3.
7.27.11 Phép thử phải được tiếp tục tới khi đám cháy được dập tắt hoặc kéo dài trong thời gian 45 min.
7.27.12 Tại thời điểm hoàn thành việc xả nước, nếu ngọn lửa trong các khối cactông chưa được dập tắt hết thì phải dập tắt lửa một cách cẩn thận để ngăn ngừa sự phá hủy thêm. Phải kiểm tra các khối cactông bằng mắt để xác định sự tuân thủ các yêu cầu quy định trong 6.26. Nếu không xác định được rõ ràng có ít hơn 50 %, các khối cactông bị phá hủy thì các khối cactông phải được:
a) sấy khô trong lò và cân lại để có thể so sánh khối lượng của các khối cactông này với khối lượng của các khối cactông chưa bị biến đổi, hoặc
b) cân lại sau 7 ngày kể từ khi thử, nếu không thể sấy khô trong lò được để có thể so sánh khối lượng của các khối cactông với khối lượng của các khối cactông mới. Trong thời gian 7 ngày, phải lưu giữ khối cactông trong khoang có nhiệt độ (25 ± 5) oC và độ ẩm tương đối không vượt quá 70 %.
Kích thước tính bằng milimét

CHÚ DẪN
các cặp nhiệt điện b
O các vị trí của sprinkler
1 cửa được đóng kín
2 đường ống 100 mm
3 các cửa trượt
4 cửa thông gió 2,4 m x 2,4 m
5 rãnh (mảng) trên sàn
6 đường ống 40 mm nối các sprinkler
7 các khối cactông xếp thành đống (xem Hình 22)
a Các kích thước điển hình
b Được định vị bên dưới cách trần 50 mm, ở phía trên các sprinkler, trên đường ống nhánh ở giữa.
Hình 21 – Hình chiếu bằng của phòng thử chữa cháy của sprinkler mở/đóng
Kích thước tính bằng milimét

Hình 22 – Sự xếp đặt các khối cactông
CHÚ DẪN
1 giấy cụm (điểm bắt cháy)
7.28 Thử khả năng chịu nhiệt độ cao đối với sprinkler mở/đóng (xem 6.27)
7.28.1 Cho năm sprinkler chịu tác động của nhiệt độ trong lò không khí tuần hoàn được nung nóng trước ở nhiệt độ 540 oC trong thời gian 1 h. Sau đó lấy các sprinkler ra khỏi lò và làm nguội các sprinkler ít nhất là trong 3 h ở nhiệt độ phòng. Các sprinkler phải duy trì được vị trí lắp đặt quy định của chúng trong toàn bộ thời gian chịu tác động của nhiệt độ.
7.28.2 Sau khi làm nguội, các sprinkler phải được thử lưu lượng nước quy định trong 6.4.1 để xác định sự tuân thủ các yêu cầu trong 6.27.
7.29 Thử độ bền chịu nhiệt độ thấp (xem 6.28)
Năm mẫu thử phải được lắp ghép từng mẫu một với đầu của ống thép có đường kính danh nghĩa 5 mm, chiều dài 100 mm thông qua phụ tùng nối ống thích hợp. Phải lắp một khớp nối ống vào đầu đối diện của mỗi ống. Sau đó mỗi cụm lắp được nạp đầy nước và bịt kín bằng nút ống. Cho các cụm lắp chịu tác động của nhiệt độ (- 30 ± 5) oC trong thời gian 24 h.
8 Ghi nhãn
8.1 Sprinklers
8.1.1 Mỗi sprinkler tuân theo các yêu cầu của tiêu chuẩn này phải được ghi nhãn như sau:
a) nhãn hiệu hoặc tên nhà sản xuất;
b) ký hiệu model;
c) dấu hiệu nhận biết nhà máy chế tạo nếu nhà sản xuất có nhiều hơn một cơ sở chế tạo sprinkler;
d) ký hiệu phần tử nhả nếu có nhiều hơn một kiểu;
e) chữ viết tắt của loại sprinkler và vị trí lắp đặt (xem điều 3);
f) năm chế tạo danh nghĩa có bao gồm ba tháng cuối của năm trước và sáu tháng của năm tiếp theo;
g) nhiệt độ làm việc danh nghĩa.
8.1.2 Các khoản từ a) đến g) của 8.1.1 phải được ghi nhãn bền lâu trên các bộ phận không hoạt động trừ các sprinkler có phần tử dễ chảy, có thể ghi nhãn bền lâu các khoản f) hoặc g) trên phần tử dễ chảy.
8.1.3 Các sprinkler có ren 1/2 inch với cỡ kích thước danh nghĩa của miệng phun khác 15 mm phải có đường kính danh nghĩa của miệng phun được đúc hoặc dập trên một chi tiết hoặc bộ phận không hoạt động của sprinkler. Ngoài ra, phần kéo dài của thanh kim loại dài (10 ± 2) mm đường kính (5 ± 2) mm phải nhô ra ngoài bộ phận hướng dòng.
8.1.4 Đối với các bộ phận hướng dòng của các sprinkler bên vách không nằm ngang phải chỉ rõ định hướng của chúng so với hướng của dòng chảy. Nếu sử dụng mũi tên thì phải kèm theo mũi tên từ “flow” (“dòng chảy”). Các sprinkler bên vách nằm ngang phải có từ “top” (“đỉnh”) trên bộ phận hướng dòng để chỉ định hướng của chúng.
8.1.5 Phải ghi nhãn các chữ viết tắt hoặc tổ hợp các chữ viết tắt sau trên chi tiết hoặc bộ phận không hoạt động của sprinkler.
|
CUP |
sprinkler thông thường hướng lên trên hoặc xuống dưới |
|
EC |
sprinkler có vùng bao phủ mở rộng |
|
FR |
sprinkler phản ứng nhanh |
|
IR |
sprinkler phản ứng đặc biệt (trung gian) |
|
FSU |
sprinkler phun sương phẳng hướng lên trên |
|
FSP |
sprinkler phun sương phẳng hướng xuống dưới |
|
O/O |
sprinkler mở/đóng |
|
SU hoặc SSU |
sprinkler phun sương phẳng hướng lên trên |
|
SP hoặc SSP |
sprinkler phun sương phẳng hướng xuống dưới |
|
WU |
sprinkler bên vách xuống dưới |
|
WUP |
sprinkler bên vách hướng lên trên xuống dưới |
|
WH |
sprinkler bên vách nằm ngang |
8.5.1 Không cần có nhãn bổ sung cho các sprinkler sau:
a) lắp chìm có nắp đậy;
b) trần;
c) lắp chìm;
d) khô hướng lên trên;
e) khô hướng xuống dưới;
f) có bộ phận chắn nước.
8.1.6 Ngoại trừ các sprinkler được mạ và phủ bảo vệ, phạm vi nhiệt độ làm việc danh nghĩa phải được ghi mã màu trên sprinkler để nhận biết trị số nhiệt độ làm việc danh nghĩa. Đối với các sprinkler có phần tử dễ chảy, mã màu này phải nhìn thấy được trên tay khung kẹp giữ thăng bằng cho tấm phân bố và đối với các sprinkler có bầu thủy tinh, mã màu được chỉ thị bởi màu chất lỏng trong các bầu thủy tinh. Mã màu phải phù hợp với Bảng 2. Trong các quốc gia cần có mã màu cho tay khung kẹp các sprinkler có bầu thủy tinh thì phải dùng mã màu cho các sprinkler có phần tử dễ chảy.
8.1.7 Các sprinkler sử dụng các bầu thủy tinh từ nhiều nhà cung cấp phải có nhãn bền lâu trên chi tiết hoặc bộ phận không hoạt động của sprinkler để nhận biết nhà cung cấp bầu thủy tinh dùng cho các sprinkler này.
8.2 Thân hộp của sprinkler và tấm che của sprinkler lắp chìm có nắp đậy
8.2.1 Thân hộp đặt chìm và tấm che của sprinkler lắp chìm có nắp đậy phải được ghi nhãn để sử dụng với các sprinkler tương ứng, trừ khi thân hộp là bộ phận không tháo ra được của sprinkler.
8.2.2 Tấm che của sprinkler lắp chìm có nắp đậy phải được ghi nhãn bền lâu với các từ “không sơn” trên bề mặt ngoài.
Phụ lục A
(tham khảo)
Phân tích phép thử độ bền đối với các phần tử nhả
A.1 Công thức cho trong 7.10.2 dựa trên cơ sở các phần tử dễ chảy không dễ bị hư hỏng do các ứng suất rão trong khoảng thời gian làm việc hợp lý. Như vậy, khoảng thời gian 876 600 h (100 năm) chỉ được lựa chọn như một giá trị thống kê với hệ số an toàn rất lớn, và không có ý nghĩa quan trọng nào khác như nhiều hệ số điều chỉnh tuổi thọ hiệu dụng của sprinkler.
A.2 Tác dụng các tải trọng gây ra hư hỏng do rão và không phải do ứng suất biến dạng cao không cần thiết lúc ban đầu và ghi lại các thời gian. Yêu cầu đã cho gần đúng với phép ngoại suy đường cong lôgarit đầy đủ hồi qui bằng các phân tích sau.
A.3 Sử dụng số liệu quan trắc được để xác định theo phương pháp bình phương tối thiểu tải trọng ở 1 h, Lo và tải trọng 1000 h, LM. Như vậy khi vẽ trên giấy lôgarit, độ dốc của đường thẳng được xác định bởi LM và Lo phải lớn hơn hoặc bằng độ dốc được xác định bởi tải trọng thiết kế lớn nhất ở 100 năm, Ld hoặc Lo hoặc
(ln LM – ln Lo)/ln 1000 ³ (ln Ld – ln Lo)/ln 876 600
Từ đó suy ra
ln LM ³ (ln Ld – ln Lo)
+ ln Lo
³ 0,504 8 (ln Ld – ln Lo) + ln Lo
³ 0,504 8 (ln Ld – ln Lo) + ln Lo (1- 0,504 8)
³ 0,504 8 ln Ld + 0,495 2 ln Lo
Với sai số xấp xỉ 1 %, công thức được tính toán gần đúng bằng
ln LM ³ 0,5 (ln Ld – ln Lo)
hoặc có sự bù trừ sai số
LM ³ 0,99 (Ld – Lo)0,5
hoặc
LM £ 1,02 LM 2/Lo
Phụ lục B
(tham khảo)
Phương pháp tính toán giới hạn dung sai
B.1 Phương pháp tính toán để xác định sự tuân theo các yêu cầu về giới hạn dung sai quy định trong 6.24 và 6.25 được mô tả dưới đây.
B.2 Ghi lại thời gian hoạt động của mẫu thử ở dạng số thập phân.
B.3 Tính toán giá trị trung bình và sai lệch chuẩn không có sự xê dịch.
Sai lệch chuẩn không có sự xê dịch của mẫu thử (s) được tính toán theo công thức:

trong đó
x là thời gian hoạt động trung bình của mẫu thử;
xi là thời gian hoạt động của mỗi mẫu được thử;
n là số các mẫu được thử.
B.4 Xác định K, trong đó K là hệ số được chọn từ Bảng B.1.
B.5 Hoàn thành các bước so sánh với các yêu cầu quy định trong 6.24 và 6.25 phù hợp với Bảng B.1.
B.6 Các giới hạn dung sai theo thống kê được rút ra từ các phép thử phản ứng nhiệt đối với một sprinkler có RTI xấp xỉ bằng 350 (m.s) 0,5 sẵn có trên thị trường.
Bảng B.1 – Các hệ số K đối với các giới hạn dung sai một phía cho phân bố chuẩn
|
n |
K cho phép thử phản ứng các loại sprinkler lắp trên trần (bao gồm sprinkler lắp chìm có nắp đậy, sprinkler trần và sprinkler lắp chìm, xem 6.24) |
|
Y = 0,95 |
|
|
P = 0,99 |
|
|
(99 % mẫu) |
|
|
10 |
3,981 |
|
11 |
3,852 |
|
12 |
3,747 |
|
13 |
3,659 |
|
14 |
3,585 |
|
15 |
3,520 |
|
|
|
|
16 |
3,463 |
|
17 |
3,415 |
|
18 |
3,370 |
|
19 |
3,331 |
|
20 |
3,295 |
|
|
|
|
21 |
3,262 |
|
22 |
3,233 |
|
23 |
3,206 |
|
24 |
3,181 |
|
25 |
3,158 |
|
|
|
|
30 |
3,064 |
|
35 |
2,994 |
|
40 |
2,941 |
|
45 |
2,897 |
|
50 |
2,863 |
Bảng B.2 – Phiếu ghi giới hạn dung sai cho phép thử phản ứng của các loại sprinkler trần {bao gồm sprinkler lắp chìm có nắp đậy, sprinkler trần và sprinkler lắp chìm (xem 6.24)}
|
Thời gian hoạt động |
|||
|
Phút; giây |
Phút (thập phân) |
Phút; giây |
Phút (thập phân) |
|
|
|
|
|
|
x là thời gian hoạt động trung bình của sprinkler mẫu, tính bằng phút; s là sai lệch chuẩn không có sự xê dịch của mẫu thử, tính toán bằng phút; n là cỡ (số lượng) mẫu thử; K là hệ số theo Bảng B.1 đối với Y = 0,95 và P = 0,99; TLtol là giới hạn dung sai = X + K.S, tính bằng phút; Số liệu của mẫu thử được chấp nhận nếu Ltol £ 3,85 min đối với các sprinkler có trị số nhiệt độ danh nghĩa không vượt quá 77 oC; Ltol £ 3,15 min đối với các sprinkler có trị số nhiệt độ danh nghĩa từ 79 oC đến 107 oC. |
|||
Phụ lục C
(tham khảo)
Sự phản ứng của sprinkler – Tính toán mẫu
C.1 Tính toán hệ số C
Nhiệt độ làm việc trung bình của sprinkler thu được từ các phép thử cho trong 7.7.1 là 72 oC. Các phép thử theo trình tự được tiến hành theo quy định. Trong phép thử đầu tiên UL = 0,288 m/s và Tm = 20,3 oC. Nhiệt độ không khí thực tế là 125 oC. Sự hoạt động không xảy ra trong 15 min. Trong phép thử thứ hai UH = 0,342 m/s và Tm = 20 oC, nhiệt độ không khí thực tế là 127 oC. Sự hoạt động xảy ra ở 350 s.
(UH/UL)0,5 = (0,342/0,288)0,5 £ 1,1
Do đó:
CL = [(125 – 20,3)/(72 – 20,3) – 1] (0,288)0,5
CL = 0,55 (m/s)0,5
CH = [(127 – 20)/(72 – 20) – 1] (0,342)0,5
CH = 0,62 (m/s)0,5
C = 0,5 (0,55 + 0,62) = 0,59 (m/s)0,5
C.2 Tính toán RTI
C.2.1 Ví dụ 1
Giả sử thời gian phản ứng trong phép thử nhúng chìm (tr) bằng 30,1 s đối với một sprinkler phản ứng tiêu chuẩn, giả sử
a) nhiệt độ làm việc trung bình của bể chất lỏng của sprinkler là 72 oC;
b) nhiệt độ môi trường xung quanh là 20 oC;
c) nhiệt độ không khí thực tế trong khoang thử là 197 oC;
d) tốc độ không khí thực tế trong khoang thử là 2,56 m/s, và
e) hệ số dẫn đối với sprinkler này đã được xác định theo 7.7.1.3 là 0,59 (m/s)0,5
RTI = ![]()
RTI = 128(m.s)0,5
C.2.2 Ví dụ 2
Liên quan đến 7.7.2.4, giả sử thời gian phản ứng trong hướng trường hợp xấu nhất là 45,2 s. Giá trị RTI này được ký hiệu RTIwc
RTIwc = ![]()
Lời giải lặp lại là
RTIwc = 185 (m.s)0,5
Phụ lục D
(quy định)
Dung sai
Trừ khi có quy định khác, phải áp dụng dung sai cho trong Bảng D.1.
Bảng D.1 – Dung sai
|
Thông số |
Dung sai |
|
|
Góc |
± 2 o |
|
|
Tần số (Hz) |
± 5 % giá trị |
|
|
Chiều dài |
± 2 % giá trị |
|
|
Thể tích |
± 5 % giá trị |
|
|
Áp suất |
± 3 % giá trị |
|
|
Nhiệt độ |
± 5 % giá trị |
|
|
Thời gian |
|
Giây |
|
|
Phút |
|
|
|
Giờ |
|
|
|
Ngày |
|
Phụ lục E
(tham khảo)
Phản ứng nhiệt – Tính toán mẫu
Ví dụ về đặc tính của sprinkler
|
– Phản ứng: |
tiêu chuẩn |
|
– Trị số nhiệt độ danh nghĩa: |
57 oC |
|
– Phần tử hoạt động: |
Bầu thủy tinh |
|
– Ví dụ về nhiệt độ môi trường phòng: |
20 oC |
Theo Bảng 4, các giá trị lớn nhất của RTI và C là
|
RTI = 350 (m.s) 0,5 |
C = 1,0 (m/s) 0,5 |
Hướng: chuẩn |
|
RTI = 250 (m.s) 0,5 |
C = 2,0 (m/s) 0,5 |
Hướng: chuẩn |
|
RTI = 600 (m.s) 0,5 |
C = 5,0 (m/s) 0,5 |
Hướng: dịch chuyển 15 o |
Theo 6.3, nhiệt độ giới hạn trên lớn nhất đối với sprinkler (trong ví dụ là 60 oC).
Tính toán thời gian phản ứng lý thuyết khi sử dụng phương trình cho trong 7.7.2.3, được giải đối với tr (thời gian phản ứng lý thuyết) được cho trong Bảng E.1.
Theo Bảng E.1, điều kiện thử 9 tạo ra các kết quả sau đối với sprinkler (trong) ví dụ:
|
Điều kiện thử 9 |
RTI = 350 (m.s) 0,5 |
C = 1,0 (m/s) 0,5 |
tr = 34,3 s |
|
Điều kiện thử 9 |
RTI = 250 (m.s) 0,5 |
C = 2,0 (m/s) 0,5 |
tr = 26,0 s |
|
Điều kiện thử 9 |
RTI = 600 (m.s) 0,5 |
C = 5,0 (m/s) 0,5 |
tr = 77,4 s |
Vì chỉ sử dụng các thời gian phản ứng lý thuyết lớn nhất nên điều kiện thử 9 được thực hiện đối với các sprinkler (trong) ví dụ theo hướng chuẩn (được phép có thời gian phản ứng lớn nhất 34,3 s) và đối với các sprinkler (trong) ví dụ theo hướng có dịch chuyển (được phép có thời gian phản ứng lớn nhất 77,4 s).
Bảng E.2 giới thiệu tóm tắt về sprinkler (trong) ví dụ
Bảng E.1 – Thời gian phản ứng lý thuyết
|
Điều kiện thử (theo Bảng 5) |
RTI (Theo Bảng 4) (m.s)0,5 |
C (Theo Bảng 4) (m.s)0,5 |
Thời gian phản ứng lý thuyết tr s |
|
1 |
350 |
1,0 |
236,2 |
|
1 |
250 |
2,0 |
Không hoạt động |
|
1 |
600 |
5,0 |
Không hoạt động |
|
2 |
350 |
1,0 |
122,8 |
|
2 |
250 |
2,0 |
122,5 |
|
2 |
600 |
5,0 |
Không hoạt động |
|
3 |
350 |
1,0 |
102,4 |
|
3 |
250 |
2,0 |
93,3 |
|
3 |
600 |
5,0 |
Không hoạt động |
|
4 |
350 |
1,0 |
105,2 |
|
4 |
250 |
2,0 |
94,4 |
|
4 |
600 |
5,0 |
Không hoạt động |
|
5 |
350 |
1,0 |
61,1 |
|
5 |
250 |
2,0 |
48,8 |
|
5 |
600 |
5,0 |
237,2 |
|
6 |
350 |
1,0 |
51,9 |
|
6 |
250 |
2,0 |
40,7 |
|
6 |
600 |
5,0 |
154,7 |
|
7 |
350 |
1,0 |
67,5 |
|
7 |
250 |
2,0 |
54,5 |
|
7 |
600 |
5,0 |
321,9 |
|
8 |
350 |
1,0 |
40,2 |
|
8 |
250 |
2,0 |
30,7 |
|
8 |
600 |
5,0 |
96,9 |
|
9 |
350 |
1,0 |
34,3 |
|
9 |
250 |
2,0 |
26,0 |
|
9 |
600 |
5,0 |
77,4 |
Bảng E.2 – Bảng tóm tắt về các thời gian phản ứng lớn nhất đối với sprinkler ví dụ
|
Điều kiện thử (theo Bảng 5) |
Định hướng (theo Bảng 4) |
Thời gian phản ứng lý thuyết lớn nhất s |
|
1 a |
Chuẩn |
Không hoạt động |
|
1 a |
Dịch chuyển |
Không hoạt động |
|
2 |
Chuẩn |
122,7 |
|
2 a |
Dịch chuyển |
Không hoạt động |
|
3 |
Chuẩn |
102,4 |
|
3 a |
Dịch chuyển |
Không hoạt động |
|
4 |
Chuẩn |
105,2 |
|
4 a |
Dịch chuyển |
Không hoạt động |
|
5 |
Chuẩn |
61,1 |
|
5 |
Dịch chuyển |
237,2 |
|
6 |
Chuẩn |
51,9 |
|
6 |
Dịch chuyển |
154,7 |
|
7 |
Chuẩn |
67,5 |
|
7 |
Dịch chuyển |
321,9 |
|
8 |
Chuẩn |
40,2 |
|
8 |
Dịch chuyển |
96,9 |
|
9 |
Chuẩn |
34,3 |
|
9 |
Dịch chuyển |
77,4 |
|
a Chỉ ra rằng không cần thực hiện điều kiện thử và hướng đối với sprinkler ví dụ. |
||
1) Milimét thủy ngân. Đây là đơn vị không chính thức 1 mmHg = 133,3224 Pa.
2) Các yêu cầu bổ sung đang được ISO soạn thảo.











