Nội dung toàn văn Tiêu chuẩn quốc gia TCVN 6477:2011 về Gạch bê tông
TIÊU CHUẨN QUỐC GIA
TCVN 6477 : 2011
GẠCH BÊ TÔNG
Concrete brick
Lời nói đầu
TCVN 6477:2011 thay thế TCVN 6477:1999 .
TCVN 6477:2011 do Viện Vật liệu xây dựng – Bộ Xây dựng biên soạn, Bộ Xây dựng đề nghị, Tổng cục Tiêu chuẩn Đo lường Chất lượng thẩm định, Bộ Khoa học và Công nghệ công bố.
GẠCH BÊ TÔNG
Concrete brick
1. Phạm vi áp dụng
Tiêu chuẩn này áp dụng cho gạch bê tông được sản xuất từ hỗn hợp bê tông cứng dùng cho các công trình xây dựng.
2. Tài liệu viện dẫn
Các tài liệu viện dẫn sau đây là cần thiết để áp dụng tiêu chuẩn này. Đối với các tài liệu viện dẫn ghi năm công bố thì áp dụng bản được nêu. Đối với các tài liệu viện dẫn không ghi năm công bố thì áp dụng phiên bản mới nhất, bao gồm cả các sửa đổi, bổ sung (nếu có).
TCVN 2682 : 2009 Xi măng poóc lăng – Yêu cầu kỹ thuật.
TCVN 6260 : 2009 Xi măng poóc lăng hỗn hợp – Yêu cầu kỹ thuật.
TCVN 6355 – 4 : 2009 Gạch xây – Phương pháp thử – Phần 4: Xác định độ hút nước.
TCVN 7572 – 6 : 2006 Cốt liệu cho bê tông và vữa – Xác định khối lượng thể tích xốp và độ hổng.
3. Phân loại, kích thước và ký hiệu quy ước
3.1. Phân loại
3.1.1. Theo kích thước
3.1.1.1. Gạch tiêu chuẩn (TC): có kích thước cơ bản theo Bảng 1.
3.1.1.2. Gạch dị hình (DH): có kích thước khác kích thước cơ bản, dùng để hoàn chỉnh một khối xây (gạch nửa, gạch xây góc v.v.).
3.1.2. Theo mục đích sử dụng
3.1.2.1. Gạch thường (T): bề mặt có màu sắc tự nhiên của bê tông.
3.1.2.2. Gạch trang trí (TT): có thêm lớp nhẵn bóng hoặc nhám sùi với màu sắc trang trí khác nhau.
3.1.3. Theo cường độ nén
Theo cường độ nén phân ra các loại: M3,5; M5,0; M7,5; M10,0; M15,0; M20,0.
3.2. Hình dáng cơ bản
Gạch tiêu chuẩn có một số hình dáng cơ bản như hình 1.

Hình 1 – Một số hình dạng cơ bản của gạch tiêu chuẩn
3.3. Kích thước
3.3.1. Kích thước cơ bản và sai lệch kích thước được qui định ở Bảng 1.
Bảng 1 – Sai lệch kích thước
Đơn vị tính bằng milimét
|
Loại kích thước |
Mức |
Sai lệch kích thước, không lớn hơn |
|
Chiều rộng, không nhỏ hơn |
100 |
± 2 |
|
Chiều dài, không lớn hơn |
400 |
± 2 |
|
Chiều cao, không lớn hơn |
200 |
± 3 |
3.2.2. Khuyến khích sản xuất các loại gạch có kích thước thông dụng như Bảng 2.
Bảng 2 – Một số kích thước thông dụng
Đơn vị tính bằng milimét
|
Chiều dài |
Chiều rộng |
Chiều cao |
|
400 |
220 |
200 |
|
400 |
200 |
200 |
|
400 |
150 |
200 |
|
400 |
100 |
200 |
|
390 |
220 |
200 |
|
390 |
190 |
190 |
|
390 |
100 |
190 |
|
390 |
150 |
190 |
|
240 |
115 |
190 |
|
240 |
115 |
90 |
|
220 |
105 |
65 |
|
CHÚ THÍCH: Theo yêu cầu của khách hàng, có thể sản xuất các loại gạch có kích thước khác quy định trên hoặc có các quy định khác. |
||
3.2.3. Độ dày của các thành viên gạch ở vị trí nhỏ nhất không nhỏ hơn 20 mm.
3.3. Ký hiệu quy ước
Ký hiệu quy ước cho gạch bê tông được ghi theo thứ tự sau: loại-mác-chiều rộng-số hiệu tiêu chuẩn.
Ví dụ: gạch tiêu chuẩn, mác 10, chiều rộng 200 được ký hiệu như sau:
Gạch bê tông TC-M10-200-TCVN 6477 : 2011
4. Yêu cầu kỹ thuật
4.1. Độ rỗng viên gạch không lớn hơn 65% và khối lượng viên không lớn hơn 20 kg.
4.2. Màu sắc của gạch trang trí trong cùng một lô phải đồng đều.
4.3. Khuyết tật ngoại quan cho phép quy định tại Bảng 3.
Bảng 3 – Khuyết tật ngoại quan cho phép
|
Loại khuyết tật |
Mức cho phép |
|
|
Gạch thường |
Gạch trang trí |
|
|
Độ cong vênh trên bề mặt viên gạch, mm, không lớn hơn |
3 |
1 |
|
Số vết sứt vỡ các góc cạnh sâu từ 5 mm đến 10 mm, dài từ 10 mm đến 15 mm, không lớn hơn |
4 |
2 |
|
Số vết nứt có chiều dài không quá 20 mm, không lớn hơn |
1 |
0 |
4.4. Cường độ nén và độ hút nước được quy định ở Bảng 4.
Bảng 4 – Quy định cường độ nén và độ hút nước
|
Mác gạch |
Cường độ nén, MPa, không nhỏ hơn |
Độ hút nước, %, không lớn hơn |
|
M3,5 |
3,5 |
14 |
|
M5,0 |
5,0 |
|
|
M7,5 |
7,5 |
|
|
M10,0 |
10,0 |
12 |
|
M15,0 |
15,0 |
|
|
M20,0 |
20,0 |
4.5. Độ thấm nước của gạch xây tường không trát không lớn hơn 350 ml/m2.h.
5. Phương pháp thử
5.1. Lấy mẫu
Mẫu thử được lấy theo từng lộ. Lô là số lượng gạch cùng loại, cùng kích thước và màu sắc được sản xuất với cùng loại hỗn hợp phối liệu và trong một khoảng thời gian liên tục. Cỡ lô thông thường không lớn hơn 30 000 viên với gạch có kích thước tương đương với thể tích lớn hơn 10 L/viên và 60 000 viên với các trường hợp khác còn lại.
Lấy 10 viên bất kỳ ở các vị trí khác nhau trong lô sao cho các mẫu đại diện cho toàn lô đó. Những viên bị hư hại do quá trình vận chuyển không được lấy dùng làm mẫu thử.
5.2. Kiểm tra kích thước, màu sắc và khuyết tật ngoại quan
Kiểm tra kích thước ngoại quan trên toàn bộ số mẫu lấy ra theo 5.1.
5.2.1. Dùng thước lá đo các chiều viên gạch, chính xác tới 1 mm. Kết quả là giá trị trung bình cộng của 4 lần đo ở 4 cạnh thuộc về chiều đó.
5.2.2. Độ đồng đều màu sắc mặt viên gạch được xác định bằng cách để mẫu có màu chuẩn ở giữa các viên mẫu khác. Quan sát bằng mắt thường ở khoảng cách 1,5 m.
5.2.3. Độ cong vênh là khe hở lớn nhất tạo thành khi ép sát cạnh của thước lá lên bề mặt mặt viên gạch cần kiểm tra.
5.2.4. Số vết nứt được đếm và quan sát bằng mắt thường. Dùng thước lá đo chiều dài vết nứt, chính xác đến 1 mm.
5.3. Xác định các chỉ tiêu cơ lý
Các chỉ tiêu cơ lý được xác định khi mẫu đã đủ 28 ngày kể từ ngày sản xuất.
5.3.1. Xác định cường độ nén
5.3.1.1. Dụng cụ và thiết bị
– thước lá có vạch chia đến 1 mm;
– tấm kính để là phẳng bề mặt vữa trát mẫu;
– bay, chảo trộn hồ xi măng;
– máy nén có thang lực thích hợp để khi nén, tải trọng phá hủy nằm trong khoảng từ 20% đến 80 % tải trọng lớn nhất của máy. Không được nén mẫu ngoài thang lực trên.
5.3.1.2. Chuẩn bị mẫu
Mẫu thử nén là 3 viên gạch nguyên được lấy theo 5.1.
Dùng xi măng theo TCVN 6260 : 2009 hoặc TCVN 2682 : 2009 và nước để trộn hồ xi măng có độ dẻo tiêu chuẩn.
Mặt chịu nén của viên gạch là mặt chịu lực chính khi xây. Trát hồ xi măng lên hai mặt chịu nén.
Dùng tấm kính để là phẳng hồ xi măng sao cho không còn vết lõm và bọt khí. Chiều dày lớp hồ xi măng không lớn hơn 3 mm. Hai mặt trát phải phẳng và song song nhau.
Sau khi trát, mẫu được đặt trong phòng thí nghiệm không ít hơn 72 h rồi đem thử. Khi nén, mẫu được thử ở trạng thái ẩm tự nhiên.
Khi cần thử nhanh, có thể dùng xi măng nhôm loại AC40 hoặc thạch cao khan để trát mặt mẫu. Sau đó mẫu được đặt trong phòng thí nghiệm không ít hơn 16 h rồi đem thử.
GHI CHÚ: Có thể sử dụng mẫu sau khi xác định độ rỗng theo 5.3.2 hoặc độ hút nước theo 5.3.4 làm mẫu thử nén.
5.3.1.3. Cách tiến hành
Đo các kích thước của mẫu thử chuẩn bị theo 5.3.1.2 chính xác tới 1 mm. Cách đo như 5.2.1. Đặt mẫu thử lên thớt dưới của máy nén, tâm mẫu thử trùng với tâm thớt nén. Thực hiện gia tải cho đến khi mẫu bị phá hủy đến xác định giá trị lực nén lớn nhất. Tốc độ tăng tải phải đều và bằng (0,6 ± 0,2) N/mm2.s.
5.3.1.4. Đánh giá kết quả
Cường độ nén (R) được tính bằng MPa theo công thức:
trong đó:
Pmax là lực nén lớn nhất khi phá hủy mẫu, tính bằng N;
S là giá trị trung bình cộng toàn bộ diện tích 2 mặt nén (kể cả phần diện tích của lỗ rỗng), tính bằng mm2;
K hệ số hình dạng được cho ở Bảng 5.
Bảng 5 – Hệ số hình dạng K theo kích thước mẫu
Đơn vị tính bằng milimét
|
Chiều cao |
Chiều rộng |
||||
|
50 |
100 |
150 |
200 |
≥ 250 |
|
|
40 |
0,80 |
0,70 |
– |
– |
– |
|
50 |
0,85 |
0,75 |
0,70 |
– |
– |
|
65 |
0,95 |
0,85 |
0,75 |
0,70 |
0,65 |
|
100 |
1,15 |
1,00 |
0,90 |
0,80 |
0,75 |
|
150 |
1,30 |
1,20 |
1,10 |
1,00 |
0,95 |
|
200 |
1,45 |
1,35 |
1,25 |
1,15 |
1,10 |
|
≥ 250 |
1,55 |
1,45 |
1,35 |
1,25 |
1,15 |
|
CHÚ THÍCH: Chiều cao mẫu được tính sau khi đã làm phẳng mặt. Đối với mẫu có kích thước khác trong bảng sẽ được tính nội suy (Xem Phụ lục A). |
|||||
Kết quả được tính như sau: tính giá trị trung bình các kết quả thử. Loại bỏ giá trị có sai lệch lớn hơn 15 % so với giá trị trung bình. Kết quả cuối cùng là giá trị trung bình cộng của các giá trị hợp lệ còn lại, chính xác đến 0,1 MPa. Trường hợp giá trị lớn nhất và nhỏ nhất lệch quá 15% so với cường độ nén của viên mẫu trung bình thì bỏ cả hai kết quả đó. Kết quả cường độ nén của tổ mẫu chính là cường độ nén của một viên mẫu còn lại.
5.3.2. Xác định độ rỗng
5.3.2.1. Nguyên tắc
Tính tổng thể tích viên gạch. Dùng cát đổ vào các lỗ rỗng để xác định tổng thể tích phần rỗng. Từ đó xác định tỷ lệ % thể tích phần rỗng so với tổng thể tích viên gạch.
5.3.2.2. Dụng cụ và vật liệu thử
– Cân kỹ thuật, chính xác tới 1 g;
– Thước đo có độ chia đến 1 mm;
– Cát khô.
5.3.2.3. Cách tiến hành
Mẫu thử là 3 viên gạch nguyên được lấy theo 5.1.
Đo kích thước chiều dài, rộng, cao của mẫu thử. Trị số đo mỗi chiều là giá trị trung bình cộng của 4 cạnh cùng chiều đó.
Đổ cát vào các phần rộng của mẫu thử. Đối với các phần rỗng ở đầu mẫu thử cần áp sát các miếng kính vào để tạo thành lỗ rỗng. Cát phải rơi tự nhiên theo phương thẳng đứng. Miệng phễu đổ cát cách miệng lỗ rỗng 10 cm. Cân lượng cát ở toàn bộ các phần rỗng của mẫu thử.
CHÚ THÍCH: Trong quá trình thử không được rung hoặc lắc mẫu thử làm cho cát chặt lại.
5.3.2.4. Đánh giá kết quả
Độ rỗng mẫu thử (gr), tính bằng %, theo công thức:
trong đó:
l, b, h là chiều dài, rộng, cao của mẫu thử, tính bằng cm;
Vr là thể tích phần lỗ rỗng, tính bằng cm3, theo công thức:
trong đó:
mc là khối lượng cát trong các lỗ rỗng, tính bằng gam;
rc là khối lượng thể tích của cát, xác định theo TCVN 7572-6:2006 , tính bằng g/cm3.
Kết quả độ rỗng là giá trị trung bình cộng của 3 mẫu thử, chính xác tới 0,1%.
5.3.3. Xác định độ thấm nước
5.3.3.1. Nguyên tắc
Đổ nước vào một mặt mẫu thử được đặt trong nước, xác định thể tích nước thấm qua mẫu trong một đơn vị thời gian và diện tích mẫu thử.
5.3.3.2. Thiết bị
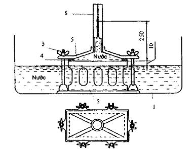
Thiết bị thử độ thấm nước (Hình 2) được chế tạo bằng tôn tráng kẽm hoặc đồng lá. Các mối hàn và các bu lông chốt phải đủ chắc để nước không rò ra ngoài. Ống đo nước có đường kính từ (35 ÷ 45) mm và có vạch chia độ chính xác tới 2 ml.
5.3.3.3. Chuẩn bị mẫu
Số lượng mẫu thử là 3 viên gạch nguyên và mặt thử của mẫu là mặt ngoài của tường khi xây. Dùng hồ xi măng trải một lớp rộng (15 ± 3) mm, dày (2 ± 1) mm theo các cạnh mẫu thử. Lấy miếng kính để là phẳng hồ xi măng.
Sau khi trát, mẫu thử được để trong phòng thí nghiệm không ít hơn 3 h.
Ngâm mẫu vào nước sạch (24 ± 2) h. Các viên phải cách nhau và cách thành bể không ít hơn 50 mm. Mặt nước cao hơn mặt mẫu thử không ít hơn 20 mm.

|
1 – Khay nước |
4 – Đệm cao su |
|
2 – Mẫu thử |
5 – Phễu nước |
|
3 – Bu lông hãm |
6 – Ống đo nước |
Hình 2 – Sơ đồ thiết bị thử độ thấm nước
5.3.3.4. Cách tiến hành
Vớt mẫu ra và đo phần diện tích tiếp xúc với mặt thấm nước.
Cặp chặt thiết bị vào mẫu thử (Hình 2) và kiểm tra sự rò rỉ của nước ở các điểm tiếp xúc. Nếu còn rò rỉ, phải xử lý lại.
Đặt mẫu thử vào nước sao cho bề mặt mẫu thử cao hơn mặt nước (10 ± 2) mm.
Đổ nước vào ống chia độ đến mức cao hơn mặt mẫu thử (250 ± 2) mm.
Sau (120 ± 5) min, đo thể tích nước thấm qua mẫu trong ống chia độ.
5.3.3.5. Đánh giá kết quả
Độ thấm nước (H) được tính bằng ml/m2.h, theo công thức:
trong đó:
V thể tích nước thấm qua mẫu, tính bằng ml;
S diện tích mặt mẫu tiếp xúc với nước, tính bằng m2;
T thời gian nước thấm qua, tính bằng h.
Kết quả độ thấm nước là giá trị trung bình cộng của 3 mẫu thử, chính xác tới 1 ml/m2.h.
5.3.4. Xác định độ hút nước theo TCVN 6355 – 4: 2009
CHÚ THÍCH: Có thể sử dụng các mẫu sau khi xác định độ thấm nước theo 5.3.3 để xác định độ hút nước.
6. Ghi nhãn, bảo quản và vận chuyển
6.1. Ghi nhãn
Gạch trong lô phải có ký hiệu của cơ sở sản xuất. Số gạch có ký hiệu không ít hơn 50 % số gạch trong lô.
Khi xuất xưởng, phải có giấy chứng nhận sự phù hợp của lô gạch đó đối với những yêu cầu của tiêu chuẩn này.
6.2. Bảo quản và vận chuyển
Gạch được xếp thành kiêu, ngay ngắn theo từng lô.
Gạch được vận chuyển bằng mọi phương tiện và được chèn cẩn thận đảm bảo gạch không bị sứt vỡ. Không ném, đổ đống khi bốc dỡ, vận chuyển.
PHỤ LỤC A
(Tham khảo)
NỘI SUY HỆ SỐ HÌNH DẠNG
A.1. Nguyên tắc
– Phải giữ nguyên một kích thước chuẩn của một chiều theo bảng hệ số, chiều rộng hoặc chiều cao.
– Lựa chọn hai giá trị chuẩn trong bảng của chiều cần nội suy ứng với giá trị chuẩn của chiều còn lại đã cố định sao cho kích thước cần nội suy nằm giữa hai kích thước chuẩn.
– Nội suy giá trị hệ số ứng với kích thước chuẩn của một chiều đã cố định cho kích thước chiều còn lại dựa vào giá trị của hai kích thước chuẩn cùng nhiều. Coi quan hệ giữa hệ số hình dạng và kích thước của chiều còn lại trong khoảng cần nội suy là đường thẳng.
– Đối với mẫu có cả chiều rộng và chiều cao có giá trị nằm giữa hai giá trị chiều rộng, chiều cao cho trong bảng. Cần phải tiến hành nội suy hệ số kích thước một chiều ứng với hai giá trị chuẩn của chiều còn lại sao cho kích thước của chiều còn lại nằm giữa hai kích thước chuẩn của chiều đó. Sau đó nội suy giá trị của hệ số kích thước dựa vào hai giá trị nội suy trước và lấy kích thước của chiều nội suy trước làm chuẩn.
A.2. Ví dụ: Tính hệ số hình dạng cho mẫu có kích thước 390 x 190 x 190 mm.
Mẫu có chiều rộng 190 mm, chiều cao 190 mm. Cả hai kích thước này đều không có trong bảng hệ số (Bảng 5). Ta chọn hai kích thước chuẩn của mỗi chiều cần nội suy là 150 mm và 200 mm.
Bước 1: Cố định một chiều, ở đây là chiều rộng.
Bước 2: Tiến hành nội suy hệ số của mẫu có chiều cao 190 mm, chiều rộng lần lượt là 150 mm và 200 mm. Ở chiều rộng 150 mm: chiều cao 150 mm hệ số 1,1; chiều cao 200 mm hệ số 1,25.
Biểu đồ 1: Xác định hệ số mẫu có chiều rộng 150 mm, chiều cao 190 mm

Ta tính được hệ số của mẫu có chiều rộng 150 mm, chiều cao 190 mm là 1,22.
Ở chiều rộng 200 mm: chiều cao 150 mm hệ số 1,00; chiều cao 200 mm hệ số 1,15.
Ta xác định được hệ số của mẫu có chiều rộng 200 mm, chiều cao 190 mm là 1,12.
Biểu đồ 2: Xác định hệ số mẫu có chiều rộng 200 mm, chiều cao 190 mm

Bước 3: Nội suy xác định hệ số của mẫu có chiều cao 190 mm, chiều rộng 190mm.
Biểu đồ 3: Xác định hệ số mẫu có chiều cao 190 mm, chiều rộng 190 mm

Ta xác định được hệ số của mẫu có chiều cao 190 mm, chiều rộng 190 mm là 1,14.


