Nội dung toàn văn Tiêu chuẩn quốc gia TCVN 6591-4:2008 (ISO 8536-4 : 2007) về Thiết bị truyền dịch dùng trong y tế – Phần 4: Bộ dây truyền dịch dùng một lần, dẫn truyền bằng trọng lực
TIÊU CHUẨN QUỐC GIA
TCVN 6591-4 : 2008
ISO 8536-4 : 2007
THIẾT BỊ TRUYỀN DỊCH DÙNG TRONG Y TẾ – PHẦN 4: BỘ DÂY TRUYỀN DỊCH DÙNG MỘT LẦN, DẪN TRUYỀN BẰNG TRỌNG LỰC
Infusion equipment for medical use – Part 4: Infusion sets for single use, gravity feed
Lời nói đầu
TCVN 6591-4:2008 thay thế TCVN 6591-4:2000.
TCVN 6591-4:2008 hoàn toàn tương đương với ISO 8536-4:2007.
TCVN 6591-4:2008 do Tiểu ban kỹ thuật tiêu chuẩn quốc gia TCVN/TC210/SC2 Trang thiết bị y tế biên soạn, Tổng cục Tiêu chuẩn Đo lường Chất lượng đề nghị, Bộ Khoa học và Công nghệ công bố.
Bộ tiêu chuẩn TCVN 6591 (ISO 8536) Thiết bị truyền dịch dùng trong y tế, gồm các tiêu chuẩn sau:
– TCVN 6591-1:2008 (ISO 8536-1:2006) Phần 1: Chai thủy tinh chứa dịch truyền
– TCVN 6591-2:2008 (ISO 8536-2:2001) Phần 2: Nút chai chứa dịch truyền
– TCVN 6591-3:2008 (ISO 8536-3:1999) Phần 3: Nắp nhôm dùng cho chai chứa dịch truyền
– TCVN 6591-4:2008 (ISO 8536-4:2007) Phần 4: Bộ dây truyền dịch dùng một lần, dẫn truyền bằng trọng lực
– TCVN 6591-5:2008 (ISO 8536-5:2004) Phần 5: Bộ buret truyền dịch dùng một lần, dẫn truyền bằng trọng lực Bộ tiêu chuẩn ISO 8536 Infusion equipment for medical use, còn các phần sau:
– Part 6: Freeze drying closures for infusion bottles
– Part 7: Caps made of aluminium-plastics combinations for infusion bottles
– Part 8: Infusion equipment for use with pressure infusion apparatus
– Part 9: Fluid lines for use with pressure infusion equipment
– Part 10: Accessories for fluid lines for use with pressure infusion equipment
– Part 11: Infusion filters for use with pressure infusion equipment
– Part 12: Check valves
THIẾT BỊ TRUYỀN DỊCH DÙNG TRONG Y TẾ – PHẦN 4: BỘ DÂY TRUYỀN DỊCH DÙNG MỘT LẦN, DẪN TRUYỀN BẰNG TRỌNG LỰC
Infusion equipment for medical use – Part 4: Infusion sets for single use, gravity feed
1. Phạm vi áp dụng
Tiêu chuẩn này quy định các yêu cầu kỹ thuật cho bộ dây truyền dịch dùng một lần, dẫn truyền bằng trọng lực dùng trong y tế, đảm bảo phù hợp với chai chứa dịch truyền và thiết bị truyền tĩnh mạch.
Mục tiêu thứ hai của tiêu chuẩn này là cung cấp các hướng dẫn kỹ thuật liên quan đến chất lượng và tính năng của vật liệu sử dụng cho bộ dây truyền dịch và đưa ra ký hiệu quy ước cho các bộ phận của bộ dây truyền dịch.
Ở một số nước, dược điển quốc gia hoặc quy chuẩn quốc gia khác có tính pháp lý và được ưu tiên hơn tiêu chuẩn này.
2. Tài liệu viện dẫn
Các tài liệu viện dẫn sau đây là cần thiết khi áp dụng tiêu chuẩn này. Đối với các tài liệu viện dẫn ghi năm công bố thì áp dụng bản được nêu. Đối với các tài liệu viện dẫn không ghi năm công bố thì áp dụng bản mới nhất, bao gồm cả bản sửa đổi (nếu có).
TCVN 4851:1989 (ISO 3696:1987), Nước dùng để phân tích trong phòng thí nghiệm — Yêu cầu kỹ thuật và phương pháp thử
TCVN 6916-1 (ISO 15223-1), Trang thiết bị y tế — Ký hiệu sử dụng với nhãn trang thiết bị y tế, ghi nhãn và cung cấp thông tin — Phần 1: Yêu cầu chung
ISO 594-1, Conical fittings with a 6 % (Luer) taper for syringes, needles and certain other medical equipment — Part 1: General requirements (Đầu nối hình có độ côn 6% cho bơm tiêm, kim tiêm và một số thiết bị y tế khác — Phần 1: Yêu cầu chung)
ISO 594-2, Conical fittings with 6 % (Luer) taper for syringes, needles and certain other medical equipment — Part 2: Lock fittings (Đầu nối hình có độ côn 6% cho bơm tiêm, kim tiêm và một số thiết bị y tế khác — Phần 2: Lắp ráp khóa)
ISO 7864, Sterile hypodermic needles for single use (Kim tiêm dưới da vô khuẩn dùng một lần)
ISO 14644-1:1999, Cleanrooms and associated controlled environments — Part 1: Classification of air cleanliness (Phòng sạch và môi trường kiểm soát liên quan – Phần 1: Phân loại độ sạch không khí)
3 Yêu cầu chung
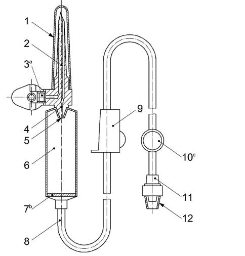
3.1 Các thuật ngữ sử dụng cho các bộ phận của bộ dây truyền dịch và của đầu thông khí riêng được ghi trong Hình 1, 2 và 3. Những hình này minh họa các ví dụ về hình dạng của các bộ dây truyền dịch và đầu thông khí; sử dụng các hình dạng khác nhau đều có kết quả tương tự. Bộ dây truyền dịch như minh họa trong Hình 2 được sử dụng với túi nhựa mềm. Bộ dây truyền dịch như minh họa trong Hình 2 sử dụng với đầu thông khí riêng như minh họa trong Hình 3, hoặc bộ dây truyền dịch như minh họa trong Hình 1 được sử dụng với chai cứng.

CHÚ DẪN
|
1 |
nắp bảo vệ kim xuyên qua nút; |
7 |
bộ lọc dịch |
|
2 |
kim xuyên qua nút |
8 |
ống dẫn |
|
3 |
đầu thông khí có bộ lọc khí và nắp bật |
9 |
bộ điều chỉnh lưu lượng |
|
4 |
ống dẫn dịch |
10 |
vị trí bơm bổ sung |
|
5 |
ống nhỏ giọt |
11 |
đầu nối hình côn đực |
|
6 |
bầu nhỏ giọt |
12 |
nắp bảo vệ đầu nối hình côn đực |
|
a |
Nắp bật của đầu thông khí thì tuỳ chọn. |
|
|
b Bộ lọc dịch có thể được bố trí ở vị trí khác, tốt nhất là gần đường vào cơ thể bệnh nhân. Nói chung, bộ lọc dịch có kích thước lỗ danh nghĩa là 15 µm.
c Vị trí bơm bổ sung thì tuỳ chọn.
Hình 1 — Ví dụ về bộ dây truyền dịch có đầu thông khí

CHÚ DẪN
|
1 |
nắp bảo vệ kim xuyên qua nút; |
7 |
ống dẫn |
|
2 |
kim xuyên qua nút |
8 |
bộ điều chỉnh lưu lượng |
|
3 |
ống dẫn dịch |
9 |
vị trí bơm bổ sung |
|
4 |
ống nhỏ giọt |
10 |
đầu nối hình côn đực |
|
5 |
bầu nhỏ giọt |
11 |
nắp bảo vệ đầu nối hình côn đực |
|
6 |
bộ lọc dịch |
|
|
a Bộ lọc dịch có thể được bố trí ở vị trí khác, ví dụ tốt nhất là gần đường vào cơ thể bệnh nhân. Nói chung, bộ lọc dịch có kích thước lỗ danh nghĩa là 15 µm.
b Vị trí bơm bổ sung thì tuỳ chọn.
Hình 2 — Ví dụ về bộ dây truyền dịch không có đầu thông khí

CHÚ DẪN
|
1 |
nắp bảo vệ |
4 kẹp |
|
2 |
kim xuyên qua nút hoặc kim |
5 đầu thông khí có bộ lọc khí |
|
3 |
ống dẫn |
|
a Thiết kế khác được chấp nhận nếu khía cạnh an toàn tương tự được đảm bảo.
Hình 3 — Ví dụ về một đầu thông khí
3.2 Bộ dây truyền dịch phải có nắp bảo vệ để bảo quản vô khuẩn cho các phần bên trong của bộ dây đến khi được sử dụng. Đầu thông khí phải có nắp bảo vệ bọc ngoài kim xuyên qua nút hoặc kim.
4 Ký hiệu quy ước
4.1 Bộ dây truyền dịch
Bộ dây truyền dịch phù hợp với yêu cầu quy định trong tiêu chuẩn này có ký hiệu quy ước bằng các từ mô tả, tiếp theo viện dẫn tiêu chuẩn này, chữ IS, và chữ G:
Bộ dây truyền dịch TCVN 6954-4 (ISO 8536-4) — IS — G
4.2 Đầu thông khí
Đầu thông khí phù hợp với yêu cầu quy định trong tiêu chuẩn này có ký hiệu quy ước bằng các từ mô tả, tiếp theo viện dẫn tiêu chuẩn này và chữ AD:
Đầu thông khí TCVN 6954-4 (ISO 8536-4) — IS — AD
5 Vật liệu
Loại vật liệu sản xuất bộ dây truyền dịch và các bộ phận của nó (như mô tả trong Điều 3) phải phù hợp với các yêu cầu quy định trong Điều 6. Khi các bộ phận của bộ dây truyền dịch tiếp xúc với dung dịch, phải phù hợp với các yêu cầu quy định trong Điều 7 và 8.
6 Yêu cầu vật lý
6.1 Nhiễm bẩn dạng hạt
Bộ dây truyền dịch phải được sản xuất trong điều kiện mà sự nhiễm bẩn dạng hạt thấp nhất. Tất cả các bộ phận ở bề mặt đường dẫn dịch phải trơn nhẵn và sạch. Khi thử theo quy định trong A.1, số lượng hạt không được vượt quá giới hạn chỉ số nhiễm bẩn.
6.2 Rò rỉ
Khi thử phù hợp với A.2, bộ dây truyền dịch phải không có dấu hiệu rò rỉ khí.
6.3 Độ bền kéo
Khi thử như quy định trong A.3, bộ dây truyền dịch, không bao gồm nắp bảo vệ, phải chịu được một lực kéo tĩnh không nhỏ hơn 15 N trong 15 s.
6.4 Kim xuyên qua nút
Kích thước của kim xuyên qua nút phải phù hợp với kích thước được đưa ra trong Hình 4.
CHÚ THÍCH Kích thước bằng 15 mm trong Hình 4 là số đo tham khảo. Mặt cắt ngang của kim xuyên qua nút tại chỗ này là một vòng tròn.
Kim xuyên qua nút phải có khả năng chọc thủng và thâm nhập được vào nút của chai chứa dịch chưa bị chọc thủng trước. Không có lõi xuất hiện trong quy trình này.
Kích thước tính bằng milimét

Hình 4 — Kích thước của kim xuyên qua nút
6.5 Đầu thông khí
Đầu thông khí phải phù hợp với 3.2 và 8.2.
Đầu thông khí phải có bộ lọc khí để ngăn vi sinh vật xâm nhập vào trong chai qua kim được cắm vào.
Đầu thông khí tách riêng hoặc gắn liền với kim xuyên qua nút.
Khi đầu thông khí được cắm vào chai chứa dịch truyền cứng, không khí được nhận vào chai phải không được lẫn với chất lỏng chảy ra.
Bộ lọc khí phải được điều chỉnh thích hợp sao cho toàn bộ không khí qua đó vào chai cứng và sao cho lưu lượng của dịch không bị giảm lớn hơn 20 % lưu lượng từ chai được thông khí tự do khi thử theo A.4.
6.6 Ống dẫn
Ống dẫn được làm bằng vật liệu mềm, trong suốt hoặc trong mờ để dễ phát hiện bọt khí đi qua mặt phân cách giữa không khí và nước khi quan sát bằng mắt thường hoặc đeo kính.
Chiều dài ống dẫn từ đầu nút đến bầu nhỏ giọt phải không ngắn hơn 1 500 mm, gồm cả vị trí bơm bổ sung, nếu có, và đầu nối hình côn đực.
6.7 Bộ lọc dịch
Bộ dây truyền dịch phải có một bộ lọc dịch.
Khi thử theo A.5, số lượng hạt latex bị giữ lại trong bộ lọc phải không nhỏ hơn 80 %.
6.8 Bầu nhỏ giọt và ống nhỏ giọt
Bầu nhỏ giọt cho phép theo dõi liên tục sự rơi xuống của các giọt. Chất lỏng chảy xuống bầu nhỏ giọt xuyên qua ống nhỏ giọt vào trong bầu. Khoảng cách giữa đầu ống nhỏ giọt và đầu ra của bầu chứa không nhỏ hơn 40 mm, hoặc khoảng cách giữa đầu ống nhỏ giọt và bộ lọc không nhỏ hơn 20 mm. Khoảng cách giữa thành của bầu nhỏ giọt đến đầu ống nhỏ giọt không gần hơn 5 mm. Ống nhỏ giọt sẽ nhỏ 20 giọt hoặc 60 giọt nước cất ở (23 ± 2) oC, tốc độ chảy là (50 ± 10) giọt/min, tương đương với thể tích (1 ± 0,1) ml hoặc khối lượng (1 ± 0,1) g. Bầu nhỏ giọt phải giúp cho quá trình chuẩn bị tiếp dịch được dễ dàng.
6.9 Bộ điều chỉnh lưu lượng
Bộ điều chỉnh lưu lượng phải điều chỉnh được lưu lượng của dịch truyền từ không đến cực đại. Bộ điều chỉnh lưu lượng cần có khả năng sử dụng liên tục suốt quá trình truyền nếu ống dẫn không bị hỏng. Không có phản ứng độc hại giữa bộ điều chỉnh lưu lượng và ống dẫn do tiếp xúc với nhau khi cất giữ.
6.10 Tốc độ chảy của dịch truyền
Bộ dây truyền dịch phải cho chảy được không dưới 1 000 ml dung dịch natri clorua [nồng độ theo khối lượng p(NaCl) = 9 g/l] trong 10 min dưới cột áp tĩnh là 1 m.
6.11 Vị trí bơm bổ sung
Khi tiến hành bơm bổ sung, vị trí bơm bổ sung tự bịt kín phải liền lại khi thử theo Phụ lục A.6 và có không nhiều hơn một giọt nước bị rò rỉ ra. Vị trí bơm bổ sung phải đặt gần đầu nối hình côn đực.
6.12 Đầu nối hình côn đực
Đầu cuối của ống dẫn sẽ tận cùng bằng đầu nối hình côn đực theo ISO 594-1 hoặc ISO 594-2. Tốt nhất nên lắp khoá Luer theo ISO 594-2.
6.13 Nắp bảo vệ
Các nắp bảo vệ ở phần cuối của bộ dây truyền dịch sẽ bảo quản vô khuẩn cho kim xuyên qua nút, đầu nối hình côn đực và phần phía trong của bộ dây truyền dịch. Các nắp bảo vệ phải lắp chắc chắn nhưng dễ tháo mở.
7 Yêu cầu hóa học
7.1 Chất khử (oxi hóa)
Khi thử theo B.2, tổng lượng dung dịch permanganat kali [c(KMnO4) = 0,002 mol/l] được sử dụng không quá 2,0 ml.
7.2 Ion kim loại
Phần dung dịch chiết chứa không lớn hơn 1 µg/ml tổng các chất bari, crom, đồng, chì và thiếc, và không lớn hơn 0,1 µg/ml cadimi, khi xác định bằng phương pháp quang phổ hấp thụ nguyên tử (AAS) hoặc phương pháp tương đương.
Khi thử theo B.3, cường độ màu tạo ra trong dung dịch thử không vượt quá so với màu sắc của dung dịch chuẩn đối chứng có nồng độ p(Pb2+) = 1 µg/ml.
7.3 Chuẩn độ axit hoặc kiềm
Khi thử theo B.4, không quá 1 ml dung dịch chuẩn dùng để chỉ thị chuyển thành màu xám.
7.4 Chất cặn trong quá trình bay hơi
Khi thử theo B.5, tổng lượng cặn khô phải không vượt quá 5 mg.
7.5 Sự hấp thụ tia cực tím của dung dịch chiết
Khi thử theo B.6, dung dịch chiết S1 phải có độ hấp thụ không lớn hơn 0,1.
8 Yêu cầu sinh học
8.1 Quy định chung
Bộ dây truyền dịch phải được đánh giá tính tương thích sinh học theo hướng dẫn trong C.2.
8.2 Vô khuẩn
Bộ dây truyền dịch và/hoặc đầu thông khí trong mỗi đơn vị bao gói phải được tiệt khuẩn theo quy trình được quy định [xem ISO 17665, TCVN 7392 (ISO 11135) và TCVN 7393 (ISO 11137)].
8.3 Gây sốt
Bộ dây truyền dịch và/hoặc đầu thông khí phải được đánh giá là không có chất gây sốt theo phép thử phù hợp và kết quả cho thấy bộ dây truyền dịch không có chất gây sốt. Hướng dẫn thử nghiệm gây sốt được đưa ra trong C.1.
8.4 Tan huyết
Bộ dây truyền dịch phải được đánh giá là không có thành phần tan huyết và kết quả cho thấy bộ dây truyền dịch không có phản ứng tan huyết. Hướng dẫn thử nghiệm thành phần tan huyết được đưa ra trong TCVN 7391-4 (ISO 10993-4).
8.5 Tính độc
Các vật liệu phải được đánh giá về tính độc bằng cách thực hiện thử nghiệm phù hợp và kết quả thử phải cho thấy không có độc tố. Hướng dẫn thử tính độc được đưa ra trong TCVN 7391-1 (ISO 10993-1).
9 Ghi nhãn
9.1 Bao gói đơn vị
Bao gói đơn vị phải được ghi nhãn với thông tin tối thiểu sau:
a) mô tả nguyên văn nội dung, bao gồm cả các từ “Dẫn truyền bằng trọng lực”;
b) chỉ rõ bộ dây truyền dịch vô khuẩn, sử dụng ký hiệu đồ họa theo TCVN 6916-1 (ISO 15223-1);
c) chỉ rõ bộ dây truyền dịch không có chất gây sốt, hoặc bộ dây truyền dịch không nội độc tố do vi khuẩn;
d) chỉ rõ bộ dây truyền dịch chỉ dùng một lần, hoặc dùng từ tương đương, hoặc dùng ký hiệu đồ họa theo TCVN 6916-1 (ISO 15223-1);
e) hướng dẫn sử dụng, bao gồm cả cảnh báo, ví dụ về nắp bảo vệ bị tách rời ra;
CHÚ THÍCH Hướng dẫn sử dụng có thể được gắn kèm.
f) ký hiệu lô, thêm vào đầu bằng từ LOT, hoặc sử dụng ký hiệu đồ họa theo TCVN 6916-1 (ISO 15223-1);
g) năm và tháng hết hạn, kèm theo cách viết thích hợp hoặc ký hiệu đồ họa theo TCVN 6916-1 (ISO 15223-1);
h) tên và địa chỉ của nhà sản xuất;
i) thông báo cho thấy 20 giọt nước cất hoặc 60 giọt nước cất được chuyển bằng ống nhỏ giọt thì tương đương với thể tích bằng (1 0,1) ml hoặc khối lượng bằng (1 0,1) g;
j) kích thước danh nghĩa của kim tiêm tĩnh mạch, nếu có.
9.2 Bao gói nhiều đơn vị
Bao gói nhiều đơn vị, khi sử dụng phải được ghi nhãn với nội dung tối thiểu sau:
a) mô tả nguyên văn nội dung, bao gồm cả các từ “Dẫn truyền bằng trọng lực”
b) số hiệu của bộ dây truyền dịch;
c) chỉ rõ bộ dây truyền dịch vô khuẩn, sử dụng ký hiệu đồ họa theo TCVN 6916-1 (ISO 15223-1);
d) ký hiệu lô, thêm vào đầu từ LOT, hoặc sử dụng ký hiệu đồ họa theo TCVN 6916-1 (ISO 15223-1);
e) năm và tháng hết hạn, kèm theo cách viết thích hợp hoặc ký hiệu đồ họa theo TCVN 6916-1 (ISO 15223-1);
f) tên và địa chỉ của nhà sản xuất và/hoặc nhà cung cấp;
g) điều kiện bảo quản được khuyến cáo, nếu có.
10 Bao gói
10.1 Bộ dây truyền dịch và/hoặc đầu thông khí phải được bao gói đơn chiếc sao cho chúng duy trì vô khuẩn trong thời gian bảo quản. Bao gói đơn vị phải được niêm kín.
10.2 Bộ dây truyền dịch và/hoặc đầu thông khí phải được bao gói và tiệt khuẩn sao cho không bị bẹp hoặc xoắn khi sử dụng.
Phụ lục A
(quy định)
Thử nghiệm vật lý
A.1 Thử nghiệm nhiễm bẩn dạng hạt
A.1.1 Nguyên tắc
Các hạt được tráng rửa từ bề mặt bên trong đường dẫn dịch truyền của bộ dây truyền dịch tập hợp lại trên một màng lọc và được đếm bằng kính hiển vi.
A.1.2 Thuốc thử và vật liệu
A.1.2.1 Nước cất, đã được lọc qua màng có kích cỡ lỗ bằng 0,2 µm.
A.1.2.2 Găng tay không phủ bột.
A.1.2.3 Bộ lọc chân không, bộ lọc màng đơn có kích cỡ lỗ bằng 0,45 µm.
A.1.3 Cách tiến hành
Dùng nước cất (A.1.2.1) rửa sạch bộ lọc, màng lọc và tất cả các thiết bị khác trước khi thử nghiệm.
Đổ 500 ml nước cất (A.1.2.1) qua 10 bộ truyền dịch sẵn sàng để dùng, trong điều kiện không khí được lọc sạch (không khí sạch tại vị trí làm việc loại N5 theo ISO 14644-1:1999). Sau đó toàn bộ thể tích nước rửa được lọc qua bộ lọc chân không (A.1.2.3). Đặt các hạt trên tấm màng lọc dưới kính hiển vi có độ phóng đại gấp 50 lần, sử dụng độ rọi tới theo đường chéo, đo và đếm theo phân loại kích cỡ trong Bảng A.1.
A.1.4 Xác định kết quả
A.1.4.1 Quy định chung
Các bộ truyền dịch đơn, phù hợp với tổng số bộ truyền đã được thử nghiệm (tối thiểu là 10 bộ). Số lượng hạt trên 10 bộ truyền dịch được thử nghiệm đạt một trong ba loại loại kích cỡ là kết quả thử nghiệm.
A.1.4.2 Đếm hạt
Các giá trị nhận được từ mẫu đối chứng trắng phải được ghi lại trong báo cáo thử nghiệm và đưa vào để tính toán khi tính giới hạn chỉ số nhiễm bẩn.
Mẫu đối chứng trắng là số lượng và kích cỡ nhận được từ 10 mẫu tương đương với 500 ml mẫu nước được phân loại theo ba kích cỡ phân loại đưa ra trong Bảng A.1, sử dụng thiết bị thử như nhau nhưng không cho đi qua dụng cụ đã dùng để thử nghiệm.
Số hạt trong mẫu trắng (Nb) không được vượt quá 9. Mặt khác, dụng cụ thử phải được tháo ra, làm sạch lại và thực hiện thử nghiệm lại một lần nữa. Các giá trị xác định mẫu trắng phải được ghi lại trong báo cáo thử nghiệm.
Bảng A.1 — Đánh giá sự nhiễm bẩn theo các hạt
|
Thông số hạt |
Loại kích cỡ bộ dây truyền dịch |
||
|
1 |
2 |
3 |
|
|
Kích cỡ hạt tính, bằng µm |
25 đến 50 |
51 đến 100 |
trên 100 |
|
Số hạt trong 10 bộ dây truyền dịch |
na1 |
na2 |
na3 |
|
Số hạt trong mẫu đối chứng trắng |
nb1 |
nb2 |
nb3 |
|
Hệ số đánh giá |
0,1 |
0,2 |
5 |
Giới hạn chỉ số nhiễm bẩn được tính như sau:
Đối với một trong ba loại kích cỡ, nhân số hạt trong 10 dụng cụ truyền dịch với hệ số đánh giá, và cộng các kết quả để thu được số hạt trong dụng cụ truyền dịch (mẫu thử), Na. Sau đó, đối với mỗi loại kích cỡ, nhân số hạt trong mẫu đối chứng trắng với hệ số đánh giá và cộng các kết quả để thu được số hạt trong mẫu trắng, Nb.
Trừ Na cho Nb, nhận được giới hạn chỉ số nhiễm bẩn. Số hạt trong dụng cụ truyền dịch (mẫu thử):
Na = na1 x 0,1 + na2 x 0,2 + na3 x 5
Số hạt trong mẫu trắng:
Nb = nb1 x 0,1 + nb2 x 0,2 + nb3 x 5
Giới hạn hệ số nhiễm bẩn:
N = Na – Nb ≤ 90
A.2 Thử nghiệm rò rỉ
A.2.1 Khi bắt đầu thử nghiệm, ổn định toàn bộ hệ thống ở điều kiện nhiệt độ thử nghiệm.
A.2.2 Nhúng ngập bộ dây truyền dịch, có một đầu cuối bị khóa, vào trong nước ở 20 °C đến
30 °C và đặt một áp lực không khí bên trong bằng 50 kPa ở (23 ± 1) °C và (40 ± 1) °C trong 15 s. Kiểm tra rò rỉ không khí của bộ dây truyền dịch.
A.2.3 Đổ đầy nước cất vào bộ dây truyền dịch để đẩy không khí ra, nối bộ dây truyền dịch có đầu hở đã được bịt kín với thiết bị chân không và để bộ dây truyền dịch chịu áp lực vượt quá bên trong – 20 kPa ở (23 ± 1) °C và (40 ± 1) °C trong 15 s. Áp suất không khí phải là áp suất đối chứng. Áp suất vượt quá, theo TCVN 7870-4 (ISO 80000-4), có thể lấy giá trị dương hoặc âm. Kiểm tra xem không khí có vào được bộ dây truyền dịch không.
A.3 Thử nghiệm độ bền kéo
Cho bộ dây truyền dịch, đã được kiểm tra, tiếp xúc với lực kéo tĩnh bằng 15 N trong 15 s, tác động dọc theo trục dọc của bộ dây truyền dịch. Kiểm tra xem bộ dây truyền dịch có chịu được lực thử tác động không.
A.4 Xác định tốc độ dòng chảy khi dùng đầu thông khí
A.4.1 Đổ đầy nước cất ở (23 ± 2) °C vào chai chứa dịch truyền và đậy nắp lại. Cắm đầu thông khí qua nắp vào chai và sau đó cắm bộ dây truyền dịch có bộ điều chỉnh lưu lượng sao cho không có dòng chất lỏng. Bố trí chai để có áp suất tương đương cột nước ở độ cao 1 m trong suốt quá trình thử nghiệm. Mở bộ điều chỉnh lưu lượng của bộ dây truyền dịch đến mức cực đại và đo tốc độ dòng chảy của nước từ bộ dây truyền dịch. Lặp lại quy trình với đầu thông khí không có bộ lọc.
A.4.2 Đối với đầu thông khí đầy đủ có kim xuyên qua nút của bộ dây truyền dịch, theo quy trình trong A.4.1 nhưng không lồng đầu thông khí riêng biệt.
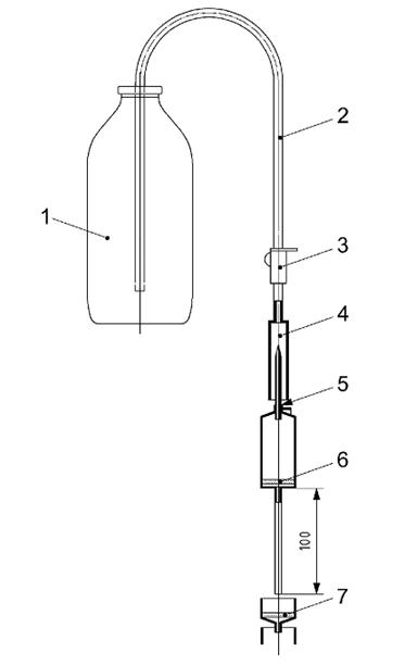
A.5 Thử nghiệm hiệu quả của bộ lọc dịch
A.5.1 Chuẩn bị dịch thử
Sử dụng huyền phù có các hạt latex, đường kính (20 ± 1) µm và nồng độ 1 000 hạt trên 100 ml như là một dịch thử.
A.5.2 Cách tiến hành
Lắp bộ lọc dịch và định vị nó sao cho tương đương với sử dụng thực tế trên dụng cụ thử phù hợp theo Hình A.1. Cắt ống dẫn của bộ dây truyền dịch khoảng 100 mm bên dưới bộ lọc dịch.
Tráng bộ lọc bằng 5 ml dung dịch thử và loại bỏ phần dung dịch này. Đổ 100 ml dung dịch thử qua bộ lọc dịch và hứng dịch thu được trong bình được hút chân không sau khi chảy qua bộ lọc có màng màu đen chia ô, có kích thước lỗ từ 5 µm đến 8 µm và đường kính là 47 mm. Đặt lớp màng lọc có các hạt latex trên màng lên trên một tiêu bản vi mô phù hợp hoặc đặt lên giá đỡ và đếm các hạt latex trên một diện tích ít nhất là 50 % của lưới ô vuông dưới kính có độ phóng đại 50x tới 100x. Không kể các hạt không phải là hạt latex. Tiến hành kiểm tra mẫu đúp.
Kiểm tra lại phép thử khi giá trị giới hạn yêu cầu của tỷ lệ giữ lại 80 % không được đáp ứng.
Tất cả các bước tiến hành trong phép thử này phải thực hiện ở môi trường sạch, nếu có thể dưới điều kiện chảy thành lớp mỏng.
Kích thước tính bằng milimét

CHÚ DẪN
|
1 |
chai chứa |
5 |
kim thông |
|
2 |
ống chuyển đổi |
6 |
bộ lọc dịch |
|
3 |
bộ điều chỉnh lưu lượng |
7 |
màng lọc |
|
4 |
đoạn nối tiếp |
|
|
Hình A.1 — Dụng cụ thử nghiệm hiệu quả của bộ lọc dịch
A.5.3 Biểu thị kết quả
Tỷ lệ lưu giữ của bộ lọc, biểu thị bằng phần trăm, được tính như sau:
x 100
trong đó
n1 là số hạt giữ lại trong bộ lọc;
n0 là số hạt trong dịch thử đã sử dụng.
A.6 Thử nghiệm vị trí bơm bổ sung
Đặt vị trí bơm bổ sung ở phương nằm ngang, không bị kéo căng. Cho nước vào bộ dây truyền dịch sao cho không có bọt khí bị giữ lại trong dây và sử dụng một áp lực là 50 kPa cao hơn áp suất khí quyển. Đâm kim tiêm có đường kính ngoài 0,8 mm theo ISO 7864 vào vị trí bơm bổ sung dự định trước. Giữ kim ở vị trí này trong khoảng 15 s. Lấy kim ra, ngay lập tức làm khô vị trí lỗ thủng. Theo dõi quá trình này trong 1 min xem có sự rò khí từ vị trí bơm bổ sung không. Trong trường hợp thiết kế thay đổi vị trí bơm bổ sung, phép thử phải được thực hiện tiêm vào vị trí phù hợp với hướng dẫn của nhà sản xuất.
Phụ lục B
(quy định)
Thử nghiệm hóa học
B.1 Chuẩn bị dung dịch chiết S1 và dung dịch trắng S0
B.1.1 Dung dịch chiết S1
Chuẩn bị một hệ thống khép kín từ ba bộ dây truyền dịch đã tiệt khuẩn và một bình đun sôi thuỷ tinh borosilicat 300 ml. Lắp vào bình này một dụng cụ điều nhiệt để duy trì nhiệt độ của chất lỏng trong bình ở (37 ± 1) oC. Cho 250 ml nước phù hợp với nước độ 1 hoặc độ 2 trong TCVN 4851 : 1989 (ISO 3696 : 1987) lưu thông trong hệ thống 2 h ở tốc độ 1 l/h, ví dụ, sử dụng bơm nhu động được nối với ống silicon càng ngắn càng tốt. Hứng tất cả các dung dịch lại và làm nguội.
B.1.2 Dung dịch trắng
Dung dịch trắng S0 được chuẩn bị như mô tả đối với dung dịch chiết S1, nhưng không qua hệ thống bộ dây truyền dịch khép kín. Dung dịch chiết S1 và dung dịch trắng S0 được sử dụng để thử hoá học.
B.2 Thử nghiệm các chất khử (oxy hoá)
Thêm 10 ml dung dịch chiết S1 vào 10 ml dung dịch kali pemanganat c(KMnO4) = 0,002 mol/l và 1 ml dung dịch axit sulfuric c(H2SO4) = 1 mol/l. Khuấy và tạo phản ứng trong 15 min ở nhiệt độ phòng.
Sau đó thêm 0,1 g kali iodua vào, chuẩn độ dung dịch tạo ra bằng một dung dịch chuẩn natri thiosunfat, c(Na2S2O3) = 0,005 mol/l, đến khi chúng đổi thành màu nâu nhạt. Cho thêm 5 giọt dung dịch hồ tinh bột và tiếp tục chuẩn độ cho đến khi màu xanh biến mất.
Đồng thời, tiến hành phép thử trắng.
Thể tích dung dịch kali pemanganat nồng độ 0,002 mol/l đã tiêu thụ là hiệu của hai lần chuẩn độ, tính bằng mililít.
B.3 Thử nghiệm các ion kim loại
Thử 10 ml dung dịch chiết S1 để kiểm tra các ion kim loại, sử dụng qui trình quy định trong dược điển quốc gia. Xác định cấp độ màu.
B.4 Thử nghiệm chuẩn độ axit hoặc kiềm
Cho 0,1 ml dung dịch chỉ thị Tashiro vào 20 ml dung dịch chiết S1 trong bình chuẩn độ.
Nếu màu của dung dịch tạo thành sau khi cho chỉ thị là màu tím, thì chuẩn độ bằng dung dịch chuẩn natri hydroxit, c(NaOH) = 0,01 mol/l, nếu là màu xanh thì chuẩn độ bằng dung dịch chuẩn axit clohydric c(HCl) = 0,01 mol/l, cho đến khi xuất hiện màu xám nhạt.
Biểu thị thể tích dung dịch natri hydroxit hoặc dung dịch axit clohydric đã sử dụng, tính bằng mililít.
B.5 Thử nghiệm cặn không bay hơi
Cho 50 ml dung dịch chiết S1 vào đĩa làm bay hơi đã được cân trừ bì, làm cho bay hơi đến khô ở nhiệt độ dưới điểm sôi. Sấy đến khối lượng không đổi ở nhiệt độ 105 oC.
Xứ lý 50 ml dung dịch trắng S0 bằng cách tương tự.
Biểu thị sự khác nhau giữa các khối lượng cặn thu được từ dung dịch chiết S1 và dung dịch trắng S0, tính bằng miligam.
B.6 Thử nghiệm độ hấp thụ
Cho dung dịch chiết S1 qua một màng lọc có cỡ lỗ bằng 0,45 µm, để tránh giao thoa ánh sáng tán xạ. Trong 5 giờ chuẩn bị, đặt dung dịch vào máy quét quang phổ kế UV, trong cuvet thạch anh 1 cm, cùng với dung dịch trắng S0 trong cuvet đối chứng và ghi lại quang phổ trong dải bước sóng từ 250 nm đến 320 nm.
Báo cáo kết quả theo đồ thị đã ghi lại, chỉ ra độ hấp thụ phụ thuộc vào chiều dài bước sóng.
Phụ lục C
(quy định)
Thử nghiệm sinh học
C.1 Thử nghiệm gây sốt
Thử nghiệm gây sốt phải được thực hiện như mô tả trong dược điển quốc gia hoặc tiêu chuẩn quốc gia.
CHÚ THÍCH Thử nghiệm đối với chất gây sốt và nội độc tố do vi khuẩn được mô tả trong Dược điển Châu Âu và trong Dược điển của Hoa Kỳ.
C.2 Thử nghiệm đối với đánh giá sinh học
Phương pháp thử đối với đánh giá sinh học được mô tả trong TCVN 7391-1 (ISO 10993-1) cần được coi như hướng dẫn khi đánh giá tính tương thích sinh học.
THƯ MỤC TÀI LIỆU THAM KHẢO
[1] ISO 291, Plastics – Standard atmospheres for conditioning and testing (Chất dẻo – Điều kiện không khí chuẩn và thử nghiệm)
[2] TCVN 7391-1 (ISO 10993-1), Đánh giá sinh học đối với trang thiết bị y tế – Phần 1: Đánh giá và thử nghiệm
[3] TCVN 7391-4 (ISO 10993-4), Đánh giá sinh học đối với trang thiết bị y tế – Phần 4: Chọn phép thử tương tác với máu
[4] TCVN 7392 (ISO 11135) (Tất cả các phần), Tiệt khuẩn các sản phẩm chăm sóc sức khoẻ – Etylen oxit
[5] TCVN 7393 (ISO 11137) (Tất cả các phần), Tiệt khuẩn các sản phẩm chăm sóc sức khoẻ – Bức xạ
[6] ISO 17665 (Tất cả các phần), Sterilization of health care products – Moist heat (Tiệt khuẩn sản phẩm chăm sóc sức khoẻ – Nhiệt ẩm)
[7] TCVN 7870-4 (ISO 80000-4), Đại lượng và đơn vị – Phần 4: Cơ học
[8] Dược điển Châu Âu
[9] Dược điển Hoa Kỳ
MỤC LỤC
Lời nói đầu
1 Phạm vi áp dụng
2 Tài liệu viện dẫn
3 Yêu cầu chung
4 Ký hiệu quy ước
5 Vật liệu
6 Yêu cầu vật lý
7 Yêu cầu hóa học
8 Yêu cầu sinh học
9 Ghi nhãn
10 Bao gói
Phụ lục A (quy định) Thử nghiệm vật lý
Phụ lục B (quy định) Thử nghiệm hoá học
Phụ lục C (quy định) Thử nghiệm sinh học
Thư mục tài liệu tham khảo


