Tiêu chuẩn Việt Nam TCVN6800:2001

  • Loại văn bản: Tiêu chuẩn Việt Nam
  • Số hiệu: TCVN6800:2001
  • Cơ quan ban hành: ***
  • Người ký: ***
  • Ngày ban hành: 10/05/2001
  • Ngày hiệu lực: ...
  • Lĩnh vực: Lĩnh vực khác
  • Tình trạng: Không xác định
  • Ngày công báo: ...
  • Số công báo: Còn hiệu lực

Nội dung toàn văn Tiêu chuẩn Việt Nam TCVN 6800:2001 (ISO 8827 : 1988) về Vật cấy ghép trong phẫu thuật – Đinh móc có chân song song dùng cho chỉnh hình – Yêu cầu chung do Bộ Khoa học Công nghệ và Môi trường ban hành


TIÊU CHUẨN VIỆT NAM

TCVN 6800 : 2001

(ISO 8827 : 1988)

VẬT CẤY GHÉP TRONG PHẪU THUẬT ĐINH MÓC CÓ CHÂN SONG SONG – YÊU CẦU CHUNG

Implants for surgery – Staples with paralell legs for othorpaedic use – General requirenments

Lời nói đầu

TCVN 6800 : 2001 hoàn toàn tương đương với ISO 8827 : 1988.

TCVN 6800 : 2001 do Ban kỹ thuật tiêu chuẩn TCVN/TC 17 Thép biên soạn, Tổng cục Tiêu chuẩn Đo lường Chất lượng đề nghị, Bộ Khoa học, Công nghệ và Môi trường ban hành.

 

VẬT CẤY GHÉP TRONG PHẪU THUẬT ĐINH MÓC CÓ CHÂN SONG SONG – YÊU CẦU CHUNG

Implants for surgery – Staples with paralell legs for othorpaedic use – General requirenments

1. Phạm vi và lĩnh vực ánh dụng

Tiêu chuẩn này bao gồm các yêu cầu chung, kích thước và dung sai của đinh móc có chân song song được sử dụng trong phẫu thuật chỉnh hình.

Chú thích – Phụ lục A hướng dẫn lựa chọn và sử dụng các đinh móc chỉ để tham khảo.

2. Tiêu chuẩn trích dẫn

TCVN 6791-1 : 2001 (ISO 5832-1) Vật cấy ghép trong phẫu thuật – Vật liệu kim loại – Thép không gỉ gia công áp lực – Phần 1.

ISO 6018 : 1987 Vật cấy ghép trong phẫu thuật – Yêu cầu chung về ghi mác, bao gói và ghi nhãn.

Implants for surgery – general requirements for marking, packaging and labelling.

ISO 6892 Vật liệu kim loại – Thử kéo.

Metallic materials – Tensile testing.

3. Kiểu dáng

3.1. Bán kính cong

Bán kính trong của phần cong đinh móc chế tạo từ dây thép không được nhỏ hơn 2 mm hoặc đường kính của dây thép và tùy thuộc vào kích thước nào lớn hơn.

Phần cong phải nhẵn.

3.2. Mũi đinh

Các mũi của đinh móc phải có dạng hình nón, vắt nhọn, nhọt dẹt hoặc phẳng (nghĩa là được vuốt nhọn trong một mặt phẳng).

3.3. Chân

Các chân phải song song.

Chú thích

1) Các thí dụ dạng đinh móc điển hình được sử dụng trong phẫu thuật chỉnh hình theo hình 1. Hình 1 chỉ biểu thị kích thước và tên gọi, không xác định yêu cầu kiểu dáng và quy định các dạng khác cho đinh móc trong tiêu chuẩn này.

2) Đinh móc thông thường có mặt cắt ngang dạng tròn, ô van hoặc chữ nhật, các dạng khác vẫn được sử dụng.

Đinh móc thường sử dụng được chế tạo từ dây có đường kính 2,5 mm. Độ bền lớn hơn có thể đạt được bằng việc sử dụng dây có mặt cắt ngang dạng ô van. Nói chung là cỡ 4 mm x 2 mm hoặc tăng cường vùng uốn bằng khung phụ (xem hình 1 b). Chân có thể nhẵn hoặc có ngạnh hoặc bề mặt đặc trưng khác hoặc qua xử lý.

a) Đinh móc chuẩn

b) Đinh móc có khung gia cường

c) Đinh móc có ngạnh

d) Đinh móc có ngạnh và khung gia cường

e) Đinh móc phân đoạn

f) Đinh móc vuốt nhọn

g) Đinh móc thông thường

h) Đinh móc xiên

i) Đinh móc hình tấm

Chú thích – Hình vẽ các dạng đinh móc khác nhau nhằm mục đích xác định các kích thước và đặc điểm có liên quan nhưng không có dạng khác theo yêu cầu của đinh móc nằm trong tiêu chuẩn này

Hình 1 – Thí dụ các dạng đinh móc điển hình dùng trong phẫu thuật chỉnh hình

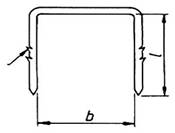
4. Biểu thị kích thước

Kích thước của các đinh móc được biểu thị bằng chiều dài có ích I, chiều rộng có ích b và đường kính d tương ứng (xem hình 1) được tính bằng milimet sau đây: 25 x 20 x 1.

Các đinh móc có chân với chiều dài không bằng nhau thì phải nêu rõ chiều dài có ích của mỗi chân.

Các đinh móc có mặt cắt ô van hoặc chữ nhật, phải nêu rõ các kích thước mặt cắt lớn hoặc nhỏ.

5. Dung sai

Chiều dài và chiều rộng có ích của đinh móc phải phù hợp với kích thước danh nghĩa ± 1 mm.

Trục của một chân của đinh móc phải song song với trục đối diện của chân khác nằm trong vùng dung sai hình trụ có đường kính là 0,5 mm (xem hình 2).

Trong trường hợp các đinh móc hình tấm (xem hình 1i) dung sai độ song song của dung sai được áp dụng cho từng cặp và các cặp chân của đinh móc.

6. Vật liệu

6.1. Yêu cầu chung

Các đinh móc được chế tạo từ thép không ghỉ austenit, hợp kim đúc crôm-côban-molipđen, hợp kim gia công áp lực coban-crôm-vonfram-niken, hoặc hợp kim gia công áp lực titan. Khi chế tạo từ dây hoặc bằng phương pháp đúc, vật liệu phải phù hợp với yêu cầu được quy định ở mục 6.2, 6.3, 6.4 và 6.5.

6.2. Dây thép không gỉ austenit

6.2.1. Thành phần

Dây thép sử dụng để chế tạo đinh móc phải được sản xuất bằng thép không gỉ austenit phù hợp với TCVN 6795-1 : 2001 (ISO 5832-1) và với yêu cầu thử độ bền chống ăn mòn được quy định trong TCVN 6795-1 : 2001 (ISO 5832-1).

Hình 2- Tính song song của chân

6.2.2. Độ bền kéo

Khi thử theo ISO 6892, độ bền kéo của dây trong trạng thái dây kéo và sau khi nắn thẳng phải được ghi trong bảng.

Bảng – Độ bền kéo của dây được chế tạo bằng thép không gỉ austenit

Đường kính

Độ bền kéo nhỏ nhất

Tỷ lệ giản dài sau khi đứt

min

Trạng thái kéo nguội
(bằng cuộn)

Trạng thái nắn thẳng

mm

N/mm2

N/mm2

%

1

1,6

2

2,5

3,15

4

1.550

1.550

1.550

1.550

1.400

1.400

1.400

1.400

1.400

1.400

1.325

1.240

3

3

3

3

5

5

Chú thích – Dây thép có thể đã qua nhiệt luyện khử ứng suất ở nhiệt độ không vượt quá 450oC.

6.3. Hợp kim đúc côban-crôm-molipđen

6.3.1. Thành phần

Hợp kim đúc côban-crôm-molipđen được sử dụng để chế tạo đinh móc phải phù hợp với yêu cầu của ISO 5832-4. Ngoại trừ độ bền kéo của vật liệu thì phải phù hợp với yêu cầu của điều 6.3.2.

6.3.2. Độ bền kéo

Độ bền kéo của các đinh móc ở trạng thái đúc khi thử theo ISO 6892, không nhỏ hơn 700 N/mm2, giới hạn chảy tới Rp0,2 không được nhỏ hơn 500 N/mm2 và tỷ lệ giãn dài sau khi đứt không được nhỏ hơn 8%.

6.4. Hợp kim gia công áp lực côban-crôm-vonfram-niken

6.4.1. Thành phần

Hợp kim gia công áp lực côban-crôm-vonfram-niken được sử dụng để chế tạo đinh móc phải phù hợp với yêu cầu trong ISO 5832-5. Ngoại trừ độ bền kéo của vật liệu phải phù hợp với yêu cầu của điều 6.4.2.

6.4.2. Độ bền kéo

Khi thử phải phù hợp với ISO 6892, độ bền kéo của dây kéo nguội được sử dụng làm đinh móc không được nhỏ hơn 1.280 N/mm2 và tỷ lệ giãn dài sau khi đứt không được nhỏ hơn 7%.

6.5. Hợp kim titan gia công áp lực

6.5.1. Thành phần

Dây được chế tạo bằng hợp kim titan6-nhôm4-vanađi phải phù hợp với yêu cầu trong ISO 5832, trừ độ bền kéo của vật liệu thì phải phù hợp với điều 6.5.2.

6.5.2. Độ bền kéo

Độ bền kéo của dây được sử dụng làm đinh móc khi thử theo ISO 6892, phải nằm trong khoảng từ 1.150 N/mm2 đến 1.400 N/mm2 và tỷ lệ dãn dài sau khi đứt không được nhỏ hơn 3%.

7. Hoàn thiện

Bề mặt phải làm sạch bavia, vết nứt và các khuyết tật khác nhìn thấy bằng mắt thường.

Chú thích – Phải giữ gìn đặc biệt và lưu ý đến chất lượng bề mặt phần cong của đinh móc.

8. Bao gói

Bao gói phải phù hợp với ISO 6018 : 1987.

9. Ghi nhãn gói hàng

Các gói hàng phải được ghi nhãn phù hợp với ISO 6018 : 1987.

Kích thước của đinh móc phải được ghi trên nhãn phù hợp với điều 4 của tiêu chuẩn này.

 

Phụ lục A

(tham khảo)

Hướng dẫn sử dụng và lựa chọn các đinh móc

Trong thực tế bệnh viện, các chi tiết này có thể bị vỡ hoặc bị mở rộng ra do chất tải. Có thể giảm thiểu khả năng đó bằng cách chọn đinh móc.

a) có diện tích mặt cắt ngang lớn hơn;

b) có chân như minh họa trên hình 1b) và 1d);

c) được chế tạo bằng đúc hợp kim coban-crom-molypden hoặc rèn các hợp kim thích hợp khác.

Độ bền cao hơn là quan trọng nhất khi các đinh móc được sử dụng để giữ đầu xương, khi đó số lượng và vị trí các đinh móc cần phải cân nhắc đặc biệt nhằm phân bố tải trọng. Đinh móc phải lồng vào với chân của đinh móc song song với tấm sụn, đinh móc xiên hoặc phân đoạn được dùng thuận tiện cho việc này khi bề mặt xương loe rộng.

Để đạt được việc giữ tốt hơn, có thể bổ sung thêm đặc điểm bề mặt được lựa chọn, như là bavia hoặc lớp phủ. Không được làm yếu các chân của đinh móc do gắn vào các bề mặt đó mà tự chúng có thể gây ra các vấn đề khi tháo các đinh móc ở giai đoạn sau.

Leave a Reply

Your email address will not be published. Required fields are marked *