Nội dung toàn văn Tiêu chuẩn quốc gia TCVN 7391-15:2007 (ISO 10993-15:2000) về Đánh giá sinh học đối với trang thiết bị y tế – Phần 15: Nhận dạng và định lượng sản phẩm phân huỷ từ kim loại và hợp kim
TCVN 7391-15:2007
ISO 10993-15:2000
ĐÁNH GIÁ SINH HỌC ĐỐI VỚI TRANG THIẾT BỊ Y TẾ – PHẦN 15: NHẬN DẠNG VÀ ĐỊNH LƯỢNG SẢN PHẨM PHÂN HỦY TỪ KIM LOẠI VÀ HỢP KIM
Biological evaluation of medical devices – Part 15: Identification and quantification of degradation products from metals and alloys
Lời nói đầu
TCVN 7391–15:2007 hoàn toàn tương đương với ISO 10993-15:2000.
TCVN 7391–15:2007 do Tiểu ban Kỹ thuật Tiêu chuẩn TCVN/TC210/SC2 Trang thiết bị y tế hoàn thiện trên cơ sở dự thảo đề nghị của Viện Trang thiết bị và Công trình y tế – Bộ Y tế, Tổng cục Tiêu chuẩn Đo lường Chất lượng đề nghị, Bộ Khoa học và Công nghệ công bố.
Bộ tiêu chuẩn TCVN 7391 (ISO 10993) với tên chung Đánh giá sinh học đối với trang thiết bị y tế, gồm các phần sau:
– TCVN 7391-1:2004 (ISO 10993-1:2003) Phần 1: Đánh giá và thử nghiệm
– TCVN 7391-2:2005 (ISO 10993-2:1992) Phần 2: Yêu cầu sử dụng động vật
– TCVN 7391-3:2005 (ISO 10993-3:2003) Phần 3: Phép thử độc tính di truyền, khả năng gây ung thư và độc tính sinh sản
– TCVN 7391-4:2005 (ISO 10993-4:2002) Phần 4: Chọn phép thử tương tác với máu
– TCVN 7391-5:2005 (ISO 10993-5:1999) Phần 5: Phép thử độc tính tế bào in vitro
– TCVN 7391-6:2007 (ISO 10993-6:1994) Phần 6: Phép thử hiệu ứng tại chỗ sau cấy ghép
– TCVN 7391-7:2004 (ISO 10993-7:1995) Phần 7: Dư lượng sau tiệt trùng bằng etylen oxit
– TCVN 7391-10:2007 (ISO 10993-10:2002) Phần 10: Phép thử kích thích và quá mẫn muộn
– TCVN 7391-11:2007 (ISO 10993-11:2006) Phần 11: Phép thử độc tính toàn thân
– TCVN 7391-12:2007 (ISO 10993-12:2002) Phần 12: Chuẩn bị mẫu và vật liệu chuẩn
– TCVN 7391-14:2007 (ISO 10993-14:2001) Phần 14: Nhận dạng và định lượng sản phẩm phân hủy từ gốm sứ
– TCVN 7391-15:2007 (ISO 10993-15:2000) Phần 15: Nhận dạng và định lượng sản phẩm phân hủy từ kim loại và hợp kim
– TCVN 7391-16:2007 (ISO 10993-16:1997) Phần 16: Thiết kế nghiên cứu độc lực cho sản phẩm phân hủy và ngâm chiết
– TCVN 7391-17:2007 (ISO 10993-17:2002) Phần 17: Thiết lập giới hạn cho phép của chất ngâm chiết
– TCVN 7391-18:2007 (ISO 10993-18:2005) Phần 18: Đặc trưng hóa học của vật liệu
Bộ tiêu chuẩn ISO 10993 với tên chung Biological evaluation of devices, còn có các phần sau:
– Part 9: Framework for identification and quantification of potential degradation products
– Part 13: Identification and quantification of degradation products from polymeric medical devices
– Part 19: Physico-chemical, morphological and topographical characterization
– Part 20: Principles and methods for immunotoxicology testing of medical devices
Lời giới thiệu
Một trong những chất từ các trang thiết bị y tế có hại tiềm ẩn cho sức khỏe có thể do tương tác của các sản phẩm phân hủy được cảm ứng điện hóa với hệ thống sinh học. Do vậy, đánh giá các sản phẩm phân hủy tiềm ẩn từ các vật liệu kim loại bằng các phương pháp thích hợp để kiểm nghiệm hoạt động điện hóa của các vật liệu này là một bước cần thiết để tiến hành kiểm nghiệm sinh học các vật liệu.
Môi trường cơ thể chủ yếu chứa các cation natri, kali, canxi và magie và các anion clo, bicacbonat, photphat và các axit hữu cơ thường ở nồng độ từ 2 x 10-3 mol đến 150 x 10-3 mol. Một phổ các phân tử hữu cơ như protein, enzim và lipoprotein cũng có mặt, nhưng nồng độ của chúng có thể thay đổi một phạm vi rất rộng. Các nghiên cứu ban đầu giả sử rằng các phân tử hữu cơ không gây ra ảnh hưởng đáng kể đến sự phân hủy các vật liệu cấy ghép kim loại, nhưng các nghiên cứu mới đây chỉ ra rằng tương tác protein và dụng cụ cấy ghép phải được tính đến. Phụ thuộc vào một sản phẩm hoặc ứng dụng cụ thể mà cần phải xem xét đến sự thay đổi pH của môi trường thử nghiệm.
Trong các môi trường sinh học như vậy, các vật liệu kim loại có thể trải qua một quá trình phân hủy nhất định và các sản phẩm phân hủy khác nhau có thể tương tác với hệ thống sinh học theo nhiều cách khác nhau. Do vậy, nhận dạng và định lượng các sản phẩm phân hủy là một bước quan trọng để đánh giá đặc trưng sinh học của trang thiết bị y tế.
ĐÁNH GIÁ SINH HỌC ĐỐI VỚI TRANG THIẾT BỊ Y TẾ – PHẦN 15: NHẬN DẠNG VÀ ĐỊNH LƯỢNG SẢN PHẨM PHÂN HỦY TỪ KIM LOẠI VÀ HỢP KIM
Biological evaluation of medical devices – Part 15: Identification and quantification of degradation products from metals and alloys
1. Phạm vi áp dụng
Tiêu chuẩn này cung cung cấp các yêu cầu chung khi thiết kế phép thử để nhận dạng và định lượng các sản phẩm phân hủy từ các trang thiết bị y tế bằng kim loại thành phẩm hoặc các mẫu vật liệu tương ứng đã hoàn thiện để sử dụng lâm sàng. Tiêu chuẩn này chỉ áp dụng với các sản phẩm phân hủy tạo ra bởi sự biến đổi hóa học của trang thiết bị bằng kim loại trong phép thử phân hủy nhanh in vitro. Do bản chất phép thử là phương pháp nhanh, do đó các kết quả của phép thử không thể phản ánh được ảnh hưởng của miếng cấy ghép hay vật liệu trong cơ thể. Các phương pháp luận về hóa học được mô tả là phương tiện tạo ra các sản phẩm phân hủy cho việc đánh giá tiếp theo.
Tiêu chuẩn này không áp dụng cho các sản phẩm phân hủy tạo ra do sử dụng áp lực cơ học.
CHÚ THÍCH Phân hủy do cơ học, ví dụ sự hao mòn, có thể được đề cập trong tiêu chuẩn riêng của sản phẩm. Khi tiêu chuẩn nhóm sản phẩm cung cấp phương pháp riêng để nhận dạng và định lượng các sản phẩm phân hủy thì phải xem xét các tiêu chuẩn này.
Do các vật liệu kim loại dùng trong trang thiết bị y tế rất đa dạng nên không xác định được kỹ thuật phân tích riêng để định tính các sản phẩm phân hủy. Tiêu chuẩn này không trình bày việc xác định các nguyên tố vi lượng (<>-6) chứa trong kim loại hoặc hợp kim cụ thể và không cung cấp các yêu cầu cụ thể về mức độ có thể chấp nhận được của các sản phẩm phân hủy.
Tiêu chuẩn này không nhằm vào hoạt tính sinh học của sản phẩm phân hủy; trong trường hợp đó áp dụng TCVN 7391-1 (ISO 10993-1) và TCVN 7391-17 (ISO 10993-17).
2. Tài liệu viện dẫn
Các tài liệu viện dẫn sau là rất cần thiết cho việc áp dụng tiêu chuẩn này. Đối với các tài liệu viện dẫn ghi năm công bố thì áp dụng bản được nêu. Đối với các tài liệu viện dẫn không ghi năm công bố thì áp dụng phiên bản mới nhất, bao gồm cả các sửa đổi (nếu có).
TCVN 4851 (ISO 3696) Nước dùng để phân tích trong phòng thí nghiệm – Yêu cầu kỹ thuật và phương pháp thử
TCVN 7391-1 (ISO 10993-1) Đánh giá sinh học đối với trang thiết bị y tế – Phần 1: Đánh giá và thử nghiệm
TCVN 7391-12 (ISO 10993-12) Đánh giá sinh học đối với trang thiết bị y tế – Phần 12: Chuẩn bị mẫu và vật liệu chuẩn
TCVN 7391-14 (ISO 10993-14) Đánh giá sinh học đối với trang thiết bị y tế – Phần 14: Nhận dạng và định lượng sản phẩm phân hủy từ gốm sứ
TCVN 7391-16 (ISO 10993-16) Đánh giá sinh học đối với trang thiết bị y tế – Phần 16: Thiết kế nghiên cứu độc lực cho sản phẩm phân hủy và ngâm chiết
ISO 3585 Borosilicate glass 3.3 – Properties (Thủy tinh Borosilicat 3.3 – Các đặc tính)
ISO 8044 Corrosion of metals and alloys – Basic terms and difinitions (Ăn mòn kim loại và hợp kim – Thuật ngữ và định nghĩa cơ bản).
ISO 10993-9 Biological evaluation of devices z Part 9: Framework for identification and quantification of potential degradation products (Đánh giá sinh học đối với trang thiết bị y tế – Phần 9: Cơ cấu để nhận dạng và định lượng sản phẩm phân hủy tiềm ẩn)
ISO 10993-13 Biological evaluation of devices z Part 13: Identification and quanification of degradation products from polymeric medical devices (Đánh giá sinh học trang thiết bị y tế – Phần 13: Nhận dạng và định lượng sản phẩm phân hủy từ trang thiết bị y tế polyme)
3. Thuật ngữ và định nghĩa
Tiêu chuẩn này áp dụng các thuật ngữ và định nghĩa nêu trong ISO 8044, TCVN 7391-1 (ISO 10993-1), ISO 10993-9, TCVN 7391-12 (ISO 10993-12) cũng như các thuật ngữ và định nghĩa sau:
3.1. Hợp kim (alloy)
Vật liệu cấu thành bởi một nguyên tố kim loại với một hoặc nhiều nguyên tố kim loại hoặc phi kim loại khác.
3.2. Chất điện phân (electrolyte)
Dung dịch chứa các ion có khả năng dẫn điện.
3.3. Điện thế mạch hở (open-circuit potential)
Điện thế của một điện cực được đo tương ứng với một điện cực tham chiếu hoặc điện cực còn lại khi không có dòng điện chạy qua hoặc phát ra từ nó.
3.4. Điện thế giới hạn thụ động (passive limit potential)
Ea
Điện thế trên điện cực giới hạn dương tính của dải thụ động.
Xem Hình 1.
3.5. Điện thế đánh thủng (breakdown potential)
Ep
Điện thế tới hạn trên điện cực mà trên mức độ đó xảy ra ăn mòn cục bộ hoặc ăn mòn lan truyền.
Xem Hình 1.
4. Phương pháp thử phân hủy
4.1. Quy định chung
Để nhận dạng và định lượng các sản phẩm phân hủy từ kim loại và hợp kim trong trang thiết bị y tế phải kết hợp hai quy trình. Lựa chọn quy trình thử phải được xác định theo chức năng của trang thiết bị y tế.
Quy trình đầu tiên là sự kết hợp của phép thử điện thế tĩnh và phép thử điện thế động. Quy trình thứ hai là phép thử nhúng.
Phép thử điện thế động được dùng để xác định hoạt động điện hóa chung của vật liệu thử và để xác định các điểm đặc biệt (Ea và Ep) trên đường cong mật độ điện thế/dòng điện.
Phép thử nhúng được dùng để phân hủy hóa học vật liệu thử nhằm tạo ra các sản phẩm phân hủy cần được phân tích.
Nếu lớp phủ ngoài của nền kim loại có khả năng mất đi do sự phân hủy, thì các sản phẩm phân hủy tiềm ẩn từ vật liệu nền phải được xem xét cũng như bản thân lớp phủ đó. Hơn nữa, nếu nền kim loại được phủ bằng một vật liệu phi kim loại cần được thử nghiệm thì phải xem xét yêu cầu của ISO 10993-13 và/hoặc TCVN 7391-14 (ISO 10993-14) để xác định các sản phẩm phân hủy tiềm ẩn của lớp phủ.
Nhận dạng và định lượng các sản phẩm phân hủy tạo nên cơ sở để đánh giá phản ứng sinh học và, nếu thích hợp, nghiên cứu độc lực theo TCVN 7391-16 (ISO 10993-16).
4.2. Điều kiện tiên quyết
Tốc độ của các phản ứng phân hủy điện hóa rất nhạy với những biến đổi nhỏ trong điều kiện thử, trang thiết bị, trạng thái mẫu và chuẩn bị mẫu. Vì vậy, phải tiến hành phép thử phân hủy điện hóa trong phòng thí nghiệm được trang bị phù hợp, do các nhân viên có kinh nghiệm và trình độ thực hiện. Công việc bao gồm bảo dưỡng và hiệu chuẩn các thiết bị thử. Phải xác nhận hiệu lực các phương pháp và điều kiện vận hành thiết bị.
CHÚ THÍCH Có thể chứng minh sự đáp ứng các điều kiện thử điện hóa về độ ổn định, thời gian khởi động v.v… theo sự thích ứng với mục [1].
5. Thuốc thử và chuẩn bị mẫu thử
5.1. Tài liệu về mẫu
Thành phần chung của vật liệu thử phải được lưu hồ sơ.
5.2. Dung dịch thử (chất điện phân)
Dung dịch thử (chất điện phân) được sử dụng phải phù hợp với mục đích sử dụng của trang thiết bị y tế. Tất cả các hóa chất phải là cấp phân tích và được hòa tan trong nước loại 2 theo TCVN 4851 (ISO 3696).
Lựa chọn đầu tiên đối với chất điện phân phải là dung dịch lỏng đẳng trương 0,9 % natri clorua. Có thể dùng các chất điện phân khác như nước bọt nhân tạo hoặc huyết tương nhân tạo. Ví dụ về các thành phần thay thế được nêu trong Phụ lục C.
Trong báo cáo thử nghiệm, sự lựa chọn chất điện phân phải được giải thích rõ ràng. Nếu dùng các chất điện phân nào khác với natri clorua 0,9 % thì phải quy định độ pH của chất điện phân.
5.3. Chuẩn bị mẫu thử
5.3.1. Mẫu thử
Độ nhạy của thử nghiệm phân hủy hóa học liên quan đến sự đa dạng thành phần vật liệu, quá trình xử lý vật liệu và các bước hoàn thiện bề mặt. Quy trình lấy mẫu, hình dạng mẫu và chuẩn bị bề mặt là rất quan trọng. Mẫu phải là đại diện của các trang thiết bị thành phẩm.
5.3.2. Lấy mẫu
Đối với mỗi phép thử hóa học, ít nhất phải chuẩn bị hai mẫu thử như quy định trong TCVN 7391-12 (ISO 10993-12). Nếu thấy độ lệch đáng kể trong kết quả thử, phải xác định được lý do xảy ra độ lệch và tiến hành thử với nhiều mẫu hơn.
Nếu mẫu kim loại có đặc điểm dị trương do các điều kiện chế tạo thì phép thử liên quan đến tiếp xúc bề mặt đơn phải bao gồm cả mẫu cắt song song với cả hai hướng chế tạo theo chiều dọc và chiều ngang.
5.3.3. Hình dạng mẫu
Mẫu chuẩn dạng thanh tiết diện tròn hoặc chữ nhật, hoặc dạng dẹt, hoặc bề mặt đơn, nếu các mẫu này được chuẩn bị theo cách có thể so sánh được với trang thiết bị y tế đại diện thì có thể được dùng để thử nghiệm phân hủy. Các mẫu là bộ phận của thiết bị thực có thể có hình dạng và điều kiện bất kỳ, tuy vậy phải tiến hành thử trong các điều kiện được kiểm soát tốt.
Diện tích bề mặt của mẫu tiếp xúc với chất điện phân phải được xác định đến độ chính xác tốt hơn 10 % tổng diện tích hình học để đảm bảo xác định chính xác và khả năng lặp lại của tốc độ phân hủy.
5.3.4. Trạng thái bề mặt mẫu
Vì trạng thái bề mặt mẫu của vật liệu có thể phản ánh hành vi điện hóa của nó nên trạng thái bề mặt của mẫu thử phải giống hệt với trang thiết bị y tế thành phẩm và được mô tả trong biên bản thử. Để so sánh kết quả thử của các vật liệu khác nhau, trạng thái bề mặt của mẫu thử phải giống nhau.
6. Các phép thử điện hóa
6.1. Thiết bị
6.1.1. Khoang thử bằng thủy tinh borosilicat có cỡ phù hợp theo ISO 3585 có phương tiện kiểm soát nhiệt độ của khoang trong vòng ±1oC.
6.1.2. Điện thế tĩnh quét có dải điện thế ± 2 V và dải dòng điện ra từ 10-9 A đến 10-1 A.
6.1.3. Dụng cụ đo điện thế có trở kháng vào cao (> 1011 Ω) với độ nhạy và độ chính xác để phát hiện thay đổi 1 mV trong dải điện thế ± 2 V.
6.1.4. Dụng cụ đo dòng điện có thể đo dòng điện đến ± 1 % của giá trị tuyệt đối trong dải dòng điện từ 10-9 A đến 10-1 A.
6.1.5. Điện cực làm việc (mẫu thử).
6.1.6. Điện cực đối chứng ví dụ như platin (dạng lưới, tấm hoặc sợi) hoặc cacbon trong suốt có diện tích tối thiểu gấp 10 lần so với điện cực làm việc.
6.1.7. Điện cực chuẩn
6.1.8. pH met có độ nhạy ± 0,1.
Sơ đồ mạch đo điện hóa có thể dùng như hệ thống có điện thế biến đổi nêu trong Phụ lục A.
Sơ đồ tế bào điện phân được nêu trong Phụ lục B.
6.2. Chuẩn bị mẫu
Gắn mẫu thử vào giá đỡ điện cực kín nước sao cho chỉ có bề mặt thử tiếp xúc với chất điện phân. Cẩn thận tránh tạo điều kiện có thể xảy ra ăn mòn đường nứt do hình thành kẽ hở giữa điểm gắn và mẫu. Trước khi thử, làm sạch mẫu bằng siêu âm từ 10 phút đến 15 phút trong cồn, cẩn thận rửa với nước loại 2 theo TCVN 4851 (ISO 3696) và chuyển ngay vào khoang thử.
6.3. Điều kiện thử
Cho dung dịch thử (chất điện phân) vào khoang thử. Nếu hoạt động điện hóa nhạy cảm với nhiệt độ trong dải từ 10oC đến 50oC, duy trì tế bào điện phân ở (37 ± 1)oC. Giảm mức oxy trong chất điện phân bằng cách tạo bọt nitơ hoặc agon không có oxy ở mức xấp xỉ 100 cm3/phút trong khoảng thời gian không nhỏ hơn 30 phút trước khi bắt đầu thử. Chất điện phân được khuấy bằng thiết bị sục khí hoặc các thiết bị cơ học để tránh chênh lệch về nồng độ. Nếu dùng khuấy khí, phải cẩn thận không để có bất kỳ bọt khí nào gắn vào bề mặt thử hoạt động.
Máy khuấy từ thường làm nhiễu khoang thử điện hóa. Nếu sử dụng máy khuấy từ, phải xác định ảnh hưởng đến khoang thử như một phần đánh giá thiết bị thử, xem 4.2.
6.4. Đo điện thế động
Đo điện thế mạch hở không chậm hơn 2 h sau khi nhúng điện cực làm việc. Điện thế này phải là điện thế khởi đầu để đo điện thế động. Tốc độ quét là 1,0 mV/s, loại trừ trong các phép thử có tốc độ quét ảnh hưởng rất nhỏ thì phép thử có thể tăng cường bằng cách tăng tốc độ quét đến 10 mV/s. Ghi lại đường cong điện thế/mật độ dòng điện đến tối đa 2 000 mV hoặc mật độ dòng tối đa 1,0 mA/cm2, chọn bất kỳ giá trị nào đến trước để đánh giá dải truyền thụ động của mẫu (xem Hình 1). Để bảo đảm sự ổn định, đảo ngược quét và tiếp tục trở lại ít nhất đến điện thế mạch mở. Sau đó lặp lại phép thử đến 2 000 mV hoặc 1,0 mA/cm2. Nếu không thể tái lập đường cong, tiếp tục chu kỳ từ 5 đến 10 lần. Nếu sau 5 đến 10 chu kỳ, không đạt được đường cong điện thế/mật độ dòng không đổi, phải nghiên cứu nguyên nhân có thể, ví dụ như bố trí phép thử, chức năng điện cực, đặc điểm vốn có của vật liệu v.v… Đường cong logarít mật độ dòng/điện thế cũng phải được ghi lại (xem Hình 2). Ghi lại điện thế đánh thủng (Ep) từ chu kỳ cuối cùng (xem Hình 1).
Các kim loại quý có thể hoạt động khác so với các kim loại thụ động hóa trong phép thử điện hóa. Do vậy, phải cẩn thận khi xác định điện thế đánh thủng (Ep) đối với các hệ thống kim loại khác nhau.
6.5. Đo điện thế tĩnh
Phương pháp này cho phép xác định định lượng và định tính các sản phẩm phân hủy có thể hòa tan trong chất điện phân.
Giữ mẫu thử mới ở thế điện cực không đổi trong thời gian thử và ghi lại đường cong mật độ dòng điện/thời gian. Điện thế dùng để xác định các sản phẩm phân hủy là điện thế đánh thủng (Ep) + 50 mV. Phụ thuộc vào vật liệu nghiên cứu, khoảng thời gian cực hóa có thể là 1 h hoặc 5 h và phải được thông báo. Đo và ghi lại thể tích của chất điện phân sử dụng cho tính toán trong tương lai.
7. Phép thử nhúng
7.1. Thiết bị
7.1.1. Khoang thử bằng thủy tinh borosilicat có cỡ thích hợp theo ISO 3585, có phương tiện kiểm soát nhiệt độ của khoang trong khoảng ± 1oC.
7.1.2. pH met có độ nhạy ± 0,1.

CHÚ THÍCH Xác định Ep bằng cách ngoại suy phần tuyến tính của đường cong oxi hóa đến mật độ dòng điện zero.
Hình 1 – Đồ thị mật độ dòng với điện thế chỉ rõ sự khởi đầu dòng điện ăn mòn tại điện thế Ea và điện thế đánh thủng Ep

Hình 2 – Biểu đồ logarit mật độ dòng với điện thế chỉ rõ điện thế đánh thủng Ep tại điểm uốn của đường cong
7.2. Chuẩn bị mẫu
Đặt mẫu thử trong bình thủy tinh riêng biệt. Chọn cỡ bình thủy tinh sao cho thể tích dung dịch điện phân ít hơn 1 ml/cm2 bề mặt mẫu sẽ bao phủ hoàn toàn mẫu.
Không làm ảnh hưởng đến số liệu do quá trình nhiễm bẩn sinh học. Ví dụ, chất điện phân có thể cần được chuẩn bị trong điều kiện vô trùng.
CHÚ THÍCH Diện tích bề mặt và thể tích của chất điện phân phải đủ cho phương pháp phân tích dự định (xem điều 8).
Phải tiến hành cẩn thận sao cho mẫu không chạm vào bề mặt thủy tinh, loại trừ tại một điểm hoặc đường hỗ trợ nhỏ nhất. Nếu mẫu thử nhỏ, tỷ lệ diện tích bề mặt/thể tích có thể không đủ cho một mẫu thử. Do vậy, nếu mẫu thử phải tạo thành hai hoặc nhiều miếng thì các miếng không được chạm vào nhau.
7.3. Quy trình thử nhúng
Đo độ pH của chất điện phân chứa mẫu thử tại thời điểm bắt đầu thử. Sau đó đóng kín khoang thử để ngăn cản bay hơi và duy trì ở (37 ± 1)oC trong (7 ± 0,1) ngày. Sau đó lấy mẫu ra và đo độ pH của chất điện phân còn lại.
8. Phân tích
Quan sát và ghi lại điều kiện của mẫu thử nghiệm dưới kính hiển vi công suất nhỏ (> 50 ×) và báo cáo bất kỳ thay đổi đáng kể nào với bề mặt. Có thể tiến hành phân tích chi tiết hơn bề mặt nếu thích hợp.
Sau mỗi thí nghiệm, tiến hành phân tích định lượng và định tính dịch điện phân dùng một phương pháp nhạy thích hợp (ít nhất 1,0 × 106 bằng hấp thụ nguyên tử, ICP, hay quang phổ khối). Báo cáo các cấu phần phát hiện trên mức giới hạn định lượng. Nếu xác định được các cấu phần độc sinh học tiềm ẩn nhưng không định lượng được, các phương pháp phân tích khác là cần thiết. Hơn nữa, bất kỳ chất lắng đọng nào trên điện cực đối phải được phân tích.
9. Báo cáo thử nghiệm
Báo cáo thử nghiệm ít nhất gồm các thông tin sau:
a) xác định toàn diện mẫu thử bao gồm thành phần hóa học;
b) tỷ lệ diện tích bề mặt tiếp xúc của mẫu với thể tích chất điện phân;
c) thành phần và độ pH (với sai số ± 0,1) của chất điện phân và mô tả điện cực tự nhiên hoặc điện cực tham khảo cho phép thử điện hóa;
d) thành phần và độ pH ban đầu và cuối cùng của mỗi chất điện phân đối với phép thử nhúng;
e) nhiệt độ chất điện phân;
f) đường cong mật độ dòng so với điện thế, có thể chọn log (mật độ dòng điện) so với đường cong điện thế để so sánh;
g) điện thế mạch hở;
h) điện thế đánh thủng Ep và mật độ dòng điện tại điện thế đánh thủng;
i) tốc độ quét;
j) đường cong mật độ dòng so với thời gian và tổng thời gian thử;
k) nhận xét ngắn gọn về đường cong (ví dụ như hiện tượng trễ, các đỉnh);
l) mô tả bất kỳ thay đổi đáng kể nào của bề mặt mẫu và/hoặc của chất điện phân;
m) kết quả phân tích của các nguyên tố phân hủy trong chất điện phân bao gồm tốc độ phân hủy, tính bằng microgram trên centimet vuông trên giờ (µg/cm2/h) đối với phép thử tĩnh điện hoặc trên 7 ngày đối với phép thử nhúng;
n) phương pháp phân tích hóa chất điện phân;
o) loại điện cực tham khảo [tất cả điện thế được tham khảo với điện thể hydrogen thông thường (NHE)];
p) tên người thực hiện;
q) ngày thực hiện;
r) chữ ký của người thực hiện.
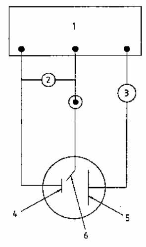
Phụ lục A
(tham khảo)
Sơ đồ mạch đo điện hóa

CHÚ DẪN
1 Biến điện áp
2 Vôn kế
3 Ampe kế
4 Điện cực làm việc
5 Điện cực so sánh
6 Điện cực chuẩn
Hình A.1 – Sơ đồ mạch đo điện hóa
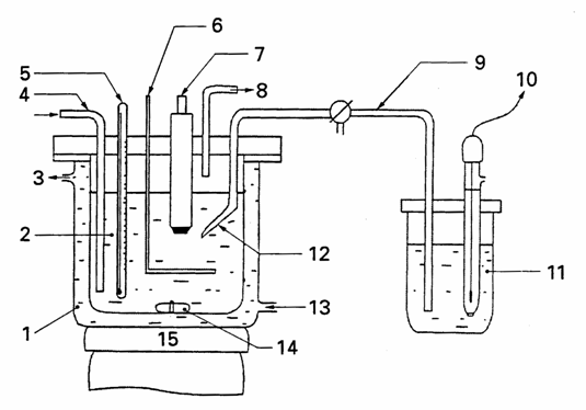
Phụ lục B
(tham khảo)
Sơ đồ hình vẽ một tế bào điện phân

CHÚ DẪN
|
1 |
Khoang nhiệt độ không đổi |
9 |
Cầu điện phân |
|
2 |
Chất điện phân |
10 |
Điện cực chuẩn |
|
3 |
Lối thoát nước |
11 |
Dung dịch KCl bão hoà |
|
4 |
Lối khí vào |
12 |
Mao quản Luggin |
|
5 |
Nhiệt kế |
13 |
Lối vào của nước nhiệt độ không đổi |
|
6 |
Điện cực so sánh |
14 |
Thanh khuấy từ |
|
7 |
Điện cực làm việc |
15 |
Máy khuấy từ |
|
8 |
Lối khí ra |
|
|
Hình B.1 – Sơ đồ một tế bào điện phân
Phụ lục C
(tham khảo)
Các ví dụ về các chất điện phân thay thế cho phép thử điện hóa
C.1. Quy định chung
Tất cả các hóa chất phải là loại dùng cho phân tích và hòa tan trong nước tinh khiết loại 2 theo TCVN 4851 (ISO 3696). Phải cẩn thận tránh kết tủa khi chuẩn bị các dung dịch này.
C.2. Nước bọt nhân tạo (xem [2])
Na2HPO4 ………………………….0,260 g/l
NaCl ………………………………0,700 g/l
KSCN ……………………………..0,330 g/l
KH2PO4 ……………………………0,200 g/l
NaHCO3 …………………………..1,500 g/l
KCl ………………………………..1,200 g/l
C.4. Huyết tương nhân tạo (xem [2])
NaCl ………………………………..6,800 g/l
CaCl2 ……………………………….0,200 g/l
KCl …………………………………0,400 g/l
MgSO4 ………………………………0,100 g/l
NaHCO3 ……………………………2,200 g/l
Na2HPO4 ……………………………0,126 g/l
NaH2PO4 ……………………………0,026 g/l
Thư mục tài liệu tham khảo
[1] ASTM G 5-94, Reference Test Method for Making Potentiostatic and Potentiodynamic Anodic Polarization Measurements.
[2] AFNOR NF 91-141 G 5-94, Biodegradability of dental metal alloys – Standardization of electrochemical test.
[3] TCVN 7391-17 (ISO 10993-17) Đánh giá sinh học trang thiết bị y tế – Phần 17: Thiết lập giới hạn cho phép của chất ngâm chiết.
[4] ISO 10271 Dental metallic materials – Corrosion test methods.
MỤC LỤC
Lời nói đầu
Lời giới thiệu
1. Phạm vi áp dụng
2. Tài liệu viện dẫn
3. Thuật ngữ và định nghĩa
4. Phương pháp thử phân hủy
4.1. Quy định chung
4.2. Điều kiện tiên quyết
5. Thuốc thử và chuẩn bị mẫu thử
5.1. Tài liệu về mẫu
5.2. Dung dịch thử (chất điện phân)
5.3. Chuẩn bị mẫu thử
6. Phép thử điện hóa
6.1. Thiết bị
6.2. Chuẩn bị mẫu thử
6.3. Điều kiện thử
6.4. Đo điện thế động
6.5. Đo điện thế tĩnh
7. Phép thử nhúng
7.1. Thiết bị
7.2. Chuẩn bị mẫu
8. Phân tích
9. Báo cáo thử nghiệm
Phụ lục A (tham khảo) Sơ đồ mạch đo điện hóa
Phụ lục B (tham khảo) Sơ đồ hình vẽ một tế bào điện phân
Phụ lục C (tham khảo) Các ví dụ về các chất điện phân thay thế cho phép thử điện hóa
Thư mục tài liệu tham khảo


