Tiêu chuẩn Việt Nam TCVN7444-10:2010

  • Loại văn bản: Tiêu chuẩn Việt Nam
  • Số hiệu: TCVN7444-10:2010
  • Cơ quan ban hành: ***
  • Người ký: ***
  • Ngày ban hành: ...
  • Ngày hiệu lực: ...
  • Lĩnh vực: Lĩnh vực khác
  • Tình trạng: Không xác định
  • Ngày công báo: ...
  • Số công báo: Còn hiệu lực

Nội dung toàn văn Tiêu chuẩn quốc gia TCVN 7444-10:2010 (ISO 7176-10:2008) về Xe lăn – Phần 10: Xác định khả năng trèo qua vật cản của xe lăn điện


TCVN 7444-10:2010

ISO 7176-10:2008

XE LĂN – PHẦN 10: XÁC ĐỊNH KHẢ NĂNG TRÈO QUA VẬT CẢN CỦA XE LĂN ĐIỆN

Wheelchairs – Part 10: Determination of obstacle-climbing ability of electrically powered wheelchairs

 

Lời nói đầu

TCVN 7444-10:2010 thay thế cho TCVN 7444-10:2005.

TCVN 7444-10:2010 hoàn toàn tương đương với ISO 7176-10:2008.

TCVN 7444-10:2010 do Ban kỹ thuật tiêu chuẩn TCVN/TC173 Xe lăn dùng cho người tàn tật biên soạn, Tổng cục Tiêu chuẩn Đo lường Chất lượng đề nghị, Bộ Khoa học và Công nghệ công bố.

Bộ TCVN 7444 (ISO 7176), Xe lăn, gồm các phần sau:

Phần 1: Xác định độ ổn định tĩnh.

Phần 2: Xác định độ ổn định động lực học của xe lăn điện.

Phần 3: Xác định hiệu quả của phanh.

Phần 4: Năng lượng tiêu thụ của xe lăn và xe scutơ chạy điện dùng để xác định quãng đường đi lý thuyết.

Phần 5: Xác định các kích thước, khối lượng và không gian quay xe.

Phần 6: Xác định vận tốc lớn nhất, gia tốc và gia tốc chậm dần của xe lăn điện.

Phần 7: Đo các kích thước của ghế ngồi và bánh xe.

Phần 8: Yêu cầu và phương pháp thử độ bền tĩnh, độ bền va đập và độ bền mỏi.

Phần 9: Thử khí hậu đối với xe lăn điện.

Phần 10: Xác định khả năng trèo qua vật cản của xe lăn điện.

Phần 14: Hệ thống điện và hệ thống điều khiển của xe lăn và xe scutơ. Yêu cầu và phương pháp thử.

Phần 15: Yêu cầu về công bố thông tin, cung cấp tài liệu và ghi nhãn.

Phần 16: Độ bền chống cháy của các bộ phận dễ cháy – Yêu cầu và phương pháp thử.

Phần 19: Các cơ cấu tạo ra độ linh động của bánh xe để sử dụng như ghế ngồi trên phương tiện giao thông cơ giới.

Phần 21: Yêu cầu và phương pháp thử về tính tương thích điện từ của xe lăn điện, xe scutơ và bộ nạp ắc quy.

Phần 22: Quy trình điều chỉnh.

Bộ ISO 7176 Wheelchairs (Xe lăn) còn những phần sau:

Part 11: Test dummies (Phần 11: Người nộm thử).

Part 13: Determination of coefficient of friction of test surfaces (Phần 13: Xác định hệ số ma sát của bề mặt thử).

Part 23: Requirements and test methods for attendant-operated stair-climbing devices (Phần 23: Yêu cầu và phương pháp thử cho thiết bị trèo cầu thang do người phụ tá vận hành).

Part 24: Requirements and test methods for user-operated stair-climbing devices (Phần 24: Yêu cầu và phương pháp thử cho thiết bị trèo cầu thang do người sử dụng vận hành).

Part 25: Requirements and test methods for batteries and their charges for electrically powered wheelchairs and motorized scooters (Phần 25: Yêu cầu kỹ thuật và phương pháp thử đối với nguồn điện và hệ thống điện của xe lăn và xe lăn điện).

Part 26: Vocabulary (Phần 26: Từ vựng).

 

Lời giới thiệu

Khả năng của một xe lăn điện để trèo lên và đi xuống từ các vật cản có thể là yếu tố quan trọng trong việc lựa chọn xe lăn thích hợp nhất đối với một người không những về mặt đi tới mà còn đảm bảo an toàn.

Việc đi tới có thể chịu ảnh hưởng của khả năng xe lăn vượt qua các vật cản một cách an toàn như các ngưỡng cửa, các thay đổi về chiều cao của mặt đường và bờ lề đường.

Chiều cao của các vật cản mà một xe lăn có thể trèo lên có thể khác với chiều cao của các vật cản mà xe lăn đi xuống. Tuy nhiên, điều quan trọng là người vận hành và quyết định việc đi xe lăn có thể phải biết chiều cao của một vật cản mà xe lăn có thể trèo lên và đi xuống. Tính năng trèo lên và đi xuống vật cản của xe lăn cũng có thể phụ thuộc vào kỹ thuật được sử dụng để vận hành xe lăn. Tính năng này có thể chịu ảnh hưởng của việc sử dụng các chế độ vận hành xen kẽ như (là) dẫn động bốn bánh xe.

Tiêu chuẩn này quy định một phương pháp phù hợp để xác định khả năng trèo lên và đi xuống vật cản của các xe lăn điện để đưa ra các kết quả có thể so sánh được.

 

XE LĂN – PHẦN 10: XÁC ĐỊNH KHẢ NĂNG TRÈO QUA VẬT CẢN CỦA XE LĂN ĐIỆN

Wheelchairs – Part 10: Determination of obstacle-climbing ability of electrically powered wheelchairs

1. Phạm vi áp dụng

Tiêu chuẩn này quy định các phương pháp thử để xác định khả năng của xe lăn điện, bao gồm cả xe scutơ, chở một người với vận tốc danh nghĩa lớn nhất không vượt quá 15 km/h, trèo qua vật cản.

2. Tài liệu viện dẫn

Các tài liệu viện dẫn sau là cần thiết cho việc áp dụng tiêu chuẩn này. Đối với các tài liệu viện dẫn ghi năm công bố thì áp dụng bản được nêu. Đối với các tài liệu viện dẫn không ghi năm công bố thì áp dụng phiên bản mới nhất, bao gồm cả các sửa đổi (nếu có).

ISO 7176-11, Wheelchairs – Part 11: Test dummies (Xe lăn – Phần 11: Người nộm thử).

ISO 7176-13, Wheelchairs – Part 13: Determination of coefficient of friction of test surfaces (Xe lăn – Phần 13: Xác định hệ số ma sát của bề mặt thử).

TCVN 7444-15 (ISO 7176-15), Xe lăn – Phần 15: Yêu cầu về công bố thông tin, cung cấp tài liệu và ghi nhãn.

TCVN 7444-22 (ISO 7176-22), Xe lăn – Phần 22: Quy trình hiệu chỉnh.

ISO 7176-26, Wheelchairs – Part 26: Vocalubary (Xe lăn – Phần 26: Từ vựng).

3. Thuật ngữ và định nghĩa

Tiêu chuẩn này áp dụng các thuật ngữ và định nghĩa cho trong ISO 7176-26.

4. Nguyên lý

Thực hiện một số phép thử để xác định khả năng của xe lăn điện vượt qua các vật cản như bờ đường và bậc.

5. Thiết bị thử

5.1. Mặt phẳng thử

Một mặt phẳng cứng và bằng phẳng sao cho toàn bộ bề mặt có thể nằm giữa hai mặt phẳng nằm ngang song song với nhau và cách nhau 5 mm với sai lệch độ nằm ngang trong phạm vi ± 0,5o, và có hệ số ma sát như đã quy định trong ISO 7176-13.

CHÚ THÍCH: Một mặt phẳng thử thường có đủ kích thước để chứa được vật cản thử (5.2) và xe lăn thử được đặt phía trước và đối diện với vật cản, cách vật cản 0,5 m.

5.2. Vật cản thử

Một vật cản như chỉ dẫn trên Hình 1 có thể thay đổi chiều cao với các số gia 5 mm để đạt tới chiều cao 200 mm với dung sai tương đối 5 % hoặc dung sai ± 2 mm, lấy giá trị nào lớn hơn. Chiều cao danh nghĩa lúc bắt đầu phải là 10 mm hoặc bội số bất kỳ của 5 mm được chọn theo thỏa thuận giữa phòng thử nghiệm và nhà cung cấp xe lăn.

VÍ DỤ: Chiều cao lúc bắt đầu có thể là 50 mm.

CHÚ THÍCH: Có thể sử dụng một vật cản thử có chiều cao điều chỉnh được liên tục.

Bề mặt trên của vật cản phải đủ lớn để xe lăn có thể trèo lên vật cản và đứng lại cùng một lúc với tất cả các bánh xe đều ở trên vật cản và để có thể đặt xe lăn trên vật cản như đã mô tả trong 7.5 b.

Mép trên phía trước của vật cản phải nhẵn và phải có bán kính r bằng 3 mm (xem Hình 1). Mặt trước của vật cản, trừ mặt có bán kính cong trên đỉnh phải nằm giữa hai mặt phẳng thẳng đứng tưởng tượng cách nhau 4 mm. Góc giữa mép trước của vật cản và bề mặt trên phải là 90o ± 1o.

Bề mặt của vật cản có thể tiếp xúc với xe lăn phải có hệ số ma sát như quy định trong ISO 7176-13. Vật cản phải được cố định vào mặt phẳng thử để ngăn ngừa sự di chuyển của vật cản trong quá trình thử.

CHÚ DẪN:

1 Vật cản thử

2 Mép trên phía trước có bán kính r

3 Chiều tiếp cận

Hình 1 – Vật cản thử

6. Chuẩn bị

Thực hiện trình tự chuẩn bị sau:

a) Lắp ắc quy lớn nhất do nhà sản xuất quy định;

b) Hiệu chỉnh xe lăn như quy định trong TCVN 7444-22 (ISO 7176-22).

Chất tải cho xe lăn bằng cách sử dụng một trong hai tải sau:

1) Một người nộm như quy định trong ISO 7176-11, được lựa chọn và lắp đặt như quy định trong TCVN 7444-22 (ISO 7176-22);

2) Một người đi xe thử được kết hợp với một khối lượng phân bố đều trên hệ thống đỡ thân thể của xe lăn sao cho tổng khối lượng sai lệch so với khối lượng của người nộm quy định trong 1) trong khoảng  kg.

Khi sử dụng người đi xe thử, điều cốt yếu là phải có sự đề phòng thích hợp để bảo đảm an toàn cho con người.

c) Nếu có thể thực hiện được thì điều chỉnh tất cả các chi tiết có thể tiếp xúc với vật cản, ngoài các bánh xe và các phương tiện mà nhà sản xuất có ý định sử dụng để làm cho xe lăn dễ dàng trèo lên vật cản, để ngăn ngừa chúng đập vào vật cản trước tiên.

VÍ DỤ: Các giá đặt bàn chân.

d) Đo và ghi lại chiều cao của bộ phận thấp nhất của các giá đặt bàn chân so với mặt phẳng thử đến độ chính xác ± 1 mm.

e) Nếu có thể thực hiện được thì chỉnh đặt các cơ cấu chống lật để ngăn ngừa sự tiếp xúc với mặt phẳng thử và vật cản thử trong quá trình thực hiện các thử nghiệm, nếu không thì chỉnh đặt chúng ở vị trí cao nhất.

CHÚ THÍCH: Yêu cầu này không bao gồm việc tháo các cơ cấu chống lật.

f) Nếu có sự hiện diện của các phương tiện do nhà sản xuất định dùng để làm cho việc trèo lên hoặc đi xuống khỏi vật cản được dễ dàng thì tuân theo hướng dẫn của nhà sản xuất để chỉnh đặt chúng theo cách áp dụng được cho việc thực hiện phép thử.

VÍ DỤ: Các dụng cụ trèo lên bờ đường.

7. Quy trình thử

Cảnh báo – Các phép thử sau có thể gây ra nguy hiểm. Phải có các biện pháp đề phòng thích hợp để tránh gây thương tích cho nhân viên thử nghiệm.

7.1. Thực hiện trình tự thử nghiệm sau:

a) Chỉnh đặt vật cản thử ở chiều cao lúc bắt đầu được quy định trong 5.2.

b) Định vị xe lăn trên mặt phẳng thử ở một góc tới vật cản 90o ± 5o với tất cả các bánh con lăn được xếp thẳng hàng ở vị trí kéo lê và xe lăn tiếp xúc với vật cản.

c) Với cơ cấu điều khiển được chỉnh đặt để vận hành ở vận tốc cao nhất, lái xe lăn tiến về phía trước sao cho xe trèo hoàn toàn lên vật cản với tất cả các bánh xe tựa lên bề mặt trên của vật cản. Ngắt ngay tức thời cơ cấu điều khiển. Ghi lại bất cứ phần nào của xe lăn khác với các bánh xe và các phương tiện mà nhà sản xuất định dùng để làm cho việc trèo qua vật cản được dễ dàng, tiếp xúc với vật cản.

d) Tăng chiều cao của vật cản lên một đoạn bằng số gia như đã quy định trong 5.2 và lặp lại a) đến c).

e) Lặp lại d) cho đến khi xe lăn không thể trèo lên vật cản được nữa hoặc có trạng thái không kiểm soát được như xe bị lật hoặc tiếp tục tăng tốc sau khi cơ cấu điều khiển đã được ngắt.

f) Ghi lại chiều cao lớn nhất của vật cản mà xe lăn có thể trèo qua.

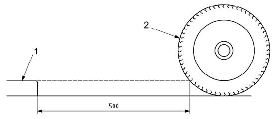
7.2. Lặp lại quy trình thử quy định trong 7.1 với quãng đường lấy đà 500 mm ± 25 mm được đo là khoảng cách nằm ngang giữa vật cản và phần của xe lăn tiếp xúc trước tiên với vật cản (xem Hình 2).

7.3. Lặp lại quy trình thử quy định trong 7.1 nhưng với xe lăn được chạy lùi lại để trèo lên vật cản.

7.4. Lặp lại quy trình thử quy định trong 7.3 nhưng với quãng đường lấy đà 500 mm ± 25 mm được đo là khoảng cách nằm ngang giữa vật cản và phần của xe lăn tiếp xúc trước tiên với vật cản (xem Hình 2).

Kích thước tính bằng milimét

CHÚ DẪN:

1 Vật cản thử;

2 Phần của xe lăn tiếp xúc trước tiên với vật cản.

CHÚ THÍCH: Một bánh xe được chỉ dẫn như là một ví dụ.

Hình 2 – Đo quãng đường lấy đà

7.5. Thực hiện trình tự thử nghiệm sau:

a) Đặt vật cản thử ở chiều cao lúc bắt đầu quy định trong 5.2.

b) Định vị xe lăn trên vật cản ở một góc tới cạnh trước 90o ± 5o và với khoảng cách 500 mm ± 25 mm giữa cạnh và điểm tiếp xúc của bánh xe gần nhất. Xếp thẳng hàng tất cả các bánh con lăn ở vị trí kéo lê.

c) Với cơ cấu điều khiển được điều chỉnh đặt để vận hành ở vận tốc cao nhất lái xe tiến về phía trước để đi xuống khỏi vật cản tới khi tất cả các bánh xe tựa nằm trên mặt phẳng thử và không còn phần nào của xe lăn tiếp xúc với vật cản. Ngắt ngay tức thời cơ cấu điều khiển. Ghi lại bất cứ phần nào của xe lăn, khác với các bánh xe và các phương tiện mà nhà sản xuất định dùng để làm cho việc đi xuống khỏi vật cản được dễ dàng, tiếp xúc với vật cản.

d) Tăng chiều cao của vật cản lên một đoạn bằng số gia như đã quy định trong 5.2 và lặp lại a) đến c).

e) Lặp lại d) cho đến khi xe lăn không thể đi xuống khỏi vật cản được nữa hoặc có trạng thái không kiểm soát được như xe bị lật hoặc tiếp tục tăng tới sau khi cơ cấu điều khiển đã được ngắt.

f) Ghi lại chiều cao lớn nhất của vật cản mà xe lăn có thể đi xuống được.

7.6. Lặp lại quy trình thử quy định trong 7.5 nhưng với xe lăn được chạy lùi lại để đi xuống khỏi vật cản.

7.7. Nếu có bất cứ phương pháp kỹ thuật nào khác được khuyến nghị trong sách hướng dẫn người sử dụng để trèo lên hoặc đi xuống khỏi vật cản thì lặp lại các quy trình thử quy định trong 7.1 đến 7.4 hoặc 7.5 và 7.6, nếu có thể thực hiện được,với việc sử dụng phương pháp kỹ thuật do nhà sản xuất khuyến nghị.

Nếu trong sách hướng dẫn người sử dụng, nhà sản xuất khuyến nghị các phép chỉnh đặt khác với phép chỉnh đặt được sử dụng trong 7.1 đến 7.6 tuân theo các khuyến nghị của nhà sản xuất.

VÍ DỤ: Các phương pháp kỹ thuật khác có thể bao gồm:

– Chỉnh đặt vận tốc xe lăn để trèo chậm hơn;

– Sử dụng góc tiếp cận hoặc quãng đường lấy đà khác, và;

– Thay đổi các chỉnh đặt của bộ điều khiển do người đi xe điều chỉnh hoặc người phụ tá điều chỉnh.

7.8. Nếu xe lăn được trang bị các phương tiện mà nhà sản xuất định dùng để làm cho việc trèo lên và/ hoặc đi xuống khỏi vật cản được dễ dàng và có thể được chỉnh đặt ở trạng thái không hoạt động thì chỉnh đặt chúng ở trạng thái không hoạt động và lặp lại các quy trình thử quy định trong 7.1 đến 7.4 và/hoặc 7.5 và 7.6, nếu có thể thực hiện được.

7.9. Nếu xe lăn có nhiều hơn một chế độ vận hành có thể ảnh hưởng đến khả năng trèo lên hoặc đi xuống khỏi vật cản của xe lăn thì lặp lại các quy trình thử quy định trong 7.1 đến 7.8 cho mỗi chế độ vận hành.

VÍ DỤ: Chế độ lái bốn bánh xe, chế độ trong nhà, chế độ ngoài nhà, chế độ đứng yên.

8. Báo cáo thử

Báo cáo thử phải có các thông tin sau:

a) Tham chiếu của tiêu chuẩn này;

b) Tên và địa chỉ của cơ quan thử nghiệm;

c) Chứng nhận của phòng thử nghiệm;

d) Tên và địa chỉ của nhà sản xuất xe lăn;

e) Ngày phát hành báo cáo thử;

f) Loại xe lăn và số loạt và/hoặc số lô;

g) Khối lượng của người nộm hoặc, nếu sử dụng người đi xe, tổng khối lượng của người đi xe và các vật nặng;

h) Nội dung chi tiết về hiệu chỉnh xe lăn như đã quy định trong TCVN 7444-22 (ISO 7176-22);

i) Ảnh chụp của xe lăn được trang bị như trong quá trình thử;

j) Các kết quả thử được quy định trong 7.1 đến 7.6;

k) Các phương tiện mà nhà sản xuất định dùng để làm cho việc trèo lên và/hoặc đi xuống khỏi vật cản có được lắp hay không;

l) Chiều cao tự mặt đất tới điểm thấp nhất của các giá đặt bàn chân;

m) Nội dung chi tiết về bất cứ phương pháp kỹ thuật nào để trèo lên và/hoặc đi xuống khỏi vật cản mà nhà sản xuất đã khuyến nghị và được sử dụng trong các phép thử quy định trong 7.8;

n) Nội dung chi tiết của các chế độ vận hành sử dụng trong các phép thử quy định trong 7.9.

9. Công bố kết quả

Các kết quả sau phải được công bố trong các tờ đặc tính kỹ thuật của nhà sản xuất phù hợp với mẫu quy định trong TCVN 7444-15 (ISO 7176-15):

a) Chiều cao lớn nhất của vật cản mà xe lăn có thể trèo lên và đi xuống được trong điều kiện vận hành chuẩn……………… mm.

CHÚ THÍCH: Đây là chiều cao nhỏ nhất trong các kết quả ghi được từ các phép thử 7.1 đến 7.6.

b) Chiều cao lớn nhất của vật cản mà xe lăn có thể trèo lên và đi xuống được trong điều kiện vận hành theo khuyến nghị của nhà sản xuất……………. mm.

CHÚ THÍCH: Đây là chiều cao nhỏ nhất trong các kết quả của các phép thử 7.7 đến 7.9.

Leave a Reply

Your email address will not be published. Required fields are marked *