Tiêu chuẩn Việt Nam TCVN7445-2:2004

  • Loại văn bản: Tiêu chuẩn Việt Nam
  • Số hiệu: TCVN7445-2:2004
  • Cơ quan ban hành: Bộ Khoa học và Công nghệ
  • Người ký: ***
  • Ngày ban hành: ...
  • Ngày hiệu lực: ...
  • Lĩnh vực: Xây dựng
  • Tình trạng: Không xác định
  • Ngày công báo: ...
  • Số công báo: Còn hiệu lực

Nội dung toàn văn Tiêu chuẩn quốc gia TCVN 7445-2:2004 về Xi măng giếng khoan chủng loại G – Phần 2: Phương pháp thử


TIÊU CHUẨN VIỆT NAM

TCVN 7445-2:2004

XI MĂNG GIẾNG KHOAN CHỦNG LOẠI G – PHẦN 2: PHƯƠNG PHÁP THỬ

Oil well cement class G – Part 2: Test methods

1. Phạm vi áp dụng

Tiêu chuẩn này quy định phương pháp xác định thời gian đặc quánh, độ tách nước và cường độ nén của xi măng giếng khoan chủng loại G.

2. Tài liệu viện dẫn

Các tài liệu viện dẫn sau là rất cần thiết cho việc áp dụng tiêu chuẩn. Đối với các tài liệu viện dẫn ghi năm ban hành thì áp dụng bản được nêu. Đối với các tài liệu viện dẫn không ghi năm ban hành thì áp dụng phiên bản mới nhất, bao gồm cả các sửa đổi.

TCVN 141 : 1998 Xi măng – phương pháp phân tích hóa học.

TCVN 4787 : 2001 Xi măng – phương pháp lấy mẫu và chuẩn bị mẫu thử.

TCVN 6016 : 1995 Xi măng – phương pháp thử – Xác định độ bền.

ISO 3310-1 Test sives – technical requirements and testing – Part 1: Test sives of metal wire cloth (Sàng thử nghiệm – Yêu cầu kỹ thuật và phương pháp thử – Phần 1: Sàng thử nghiệm lưới thép).

3. Lấy mẫu và chuẩn bị mẫu

Theo TCVN 4787 : 2001.

4. Xác định thành phần hóa

Theo TCV 141 : 1998.

5. Xác định thời gian đặc quánh, lượng nước tự do (độ tách nước) và cường độ nén

5.1.  Chuẩn bị hồ xi măng

5.1.1. Thiết bị, dụng cụ

5.1.1.1. Cân: Sử dụng cân kỹ thuật có sai số không lớn hơn 0,1 % tải. Cân phải được hiệu chuẩn hàng năm.

5.1.1.2. Sàng: Dùng sàng số 20 (kích thước lỗ sàng 850 μm) theo ISO 3310-1

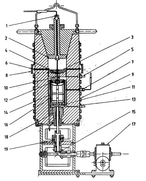
5.1.1.3. Thiết bị khuấy hồ xi măng : Thiết bị khuấy hồ xi măng là loại máy trộn 1 lít, động cơ, cơ cấu chuyển động và bảng điều khiển nằm trong bệ máy (xem Hình 1). Bình khuấy hồ và cánh khuấy kiểu lưỡi dao được chế tạo bằng thép không rỉ. Cần cân định kỳ phần cánh khuấy để kiểm tra khối lượng, nếu giảm 10 % so với khối lượng ban đầu thì phải thay cánh khuấy mới. Thiết bị khuấy có hai tốc độ: (4000 ± 200) vòng / phút và (12 000 ± 500) vòng/phút.

Hình 1 – Ví dụ về thiết bị khuấy hồ xi măng

5.1.2. Cách tiến hành

5.1.2.1. Sàng mẫu: Trước khi trộn, xi măng được sàng qua sàng 5.1.1.2.

5.1.2.2. Nhiệt độ của nước và xi măng: trước khi khuấy 60 giây đảm bảo (23 ± 1) oC.

5.1.2.3. Nước trộn: Nước dùng để chuẩn bị hồ xi măng là nước cất hoặc nước khử ion. Nước được cân trực tiếp trong bình khuấy hồ đã được làm sạch và sấy khô trước đó. Không được cho nước để bù thêm do bay hơi hoặc để làm ướt…

5.1.2.4. Lượng hồ xi măng: Lượng hồ xi măng cần chuẩn bị cho một phép thử được quy định là (792 ± 0,5) g xi măng và (349 ± 0,5) g nước (tương ứng với tỷ nước / xi măng = 0,44 tính theo khối lượng xi măng khô). Dung tích hồ xi măng thu được khoảng 600 ml.

5.1.2.5. Khuấy trộn xi măng với nước: Đặt bình khuấy hồ có lượng nước như qui định ở 5.1.2.4, lên bệ của thiết bị khuấy. Bật máy khuấy và duy trì ở tốc độ (4000 ± 200) vòng/phút đồng thời đổ xi măng với tốc độ vừa phải trong thời gian không quá 15 giây. Sau khi cho hết xi măng vào bình khuấy, đậy nắp bình và chuyển sang tốc độ (12000 ± 500) vòng/phút, tiếp tục khuấy trong thời gian (35 ± 1) giây.

Hồ xi măng sau khi khuấy theo quá trình trên dùng để thử các chỉ tiêu: thời gian đặc quánh, độ tách nước và cường độ nén.

5.2. Xác định độ đặc quánh và thời gian đặc quánh

5.2.1. Nguyên tắc

Xác định độ đặc quánh ban đầu theo trị số đặc quánh cao nhất tính theo (Bc) của hồ xi măng sau 15 phút đến 30 phút khuấy trộn. Thời gian đặc quánh là khoảng thời gian (theo phút) từ khi tiến hành phép đo đến khi độ đặc quánh của hồ xi măng đạt 100 Bc.

5.2.2. Thiết bị, dụng cụ

Thiết bị đo độ đặc quánh và thời gian đặc quánh được mô tả trong (Hình 2). Thiết bị gồm hai phần chính là cốc chứa hồ xi măng có dạng hình trụ quay (Hình 3), gắn với hệ thống cánh khuấy (Hình 4) có thể xoay dưới tác động của ngoại lực. Cốc chứa hồ và hệ thống cánh khuấy bằng thép không gỉ, được đặt trong buồng chịu áp suất, có khả năng duy trì áp suất, nhiệt độ như quy định trong Bảng 2. Khoảng trống giữa cốc chứa hồ xi măng và mặt trong buồng chịu áp được điền đầy hoàn toàn bằng dầu có tính chất vật lý sau:

– độ nhớt từ 7 cSt đến 75 cSt tại 38oC;

– nhiệt dung riêng từ 2,1 kJ/(kg.K) đến 2,4 kJ (kg.K);

– độ dẫn nhiệt  từ 0,119 W/(m.K) đến 0,133 W/(m.K);

– tỷ trọng   từ 0,85 đến 0,91.

Hệ thống gia nhiệt có khả năng nâng nhiệt độ dầu với tốc độ tối thiểu 3oC/phút. Hệ thống đo nhiệt độ có khả năng đo nhiệt độ cả của dầu và cả của hồ xi măng với sai số ± 1oC. Cốc chứa hồ xi măng được quay với vận tốc (150 ± 15) vòng/phút. Thiết bị đo độ đặc quánh được hiệu chuẩn theo 5.2.3.2.

5.2.3. Hiệu chuẩn

5.2.3.1. Khái quát: Thiết bị đo thời gian đặc quánh và các cơ cấu phụ trợ, phải được hiệu chuẩn để đảm bảo hệ thống vận hành bình thường. Các cơ cấu phụ trợ bao gồm:

– phần đo độ đặc quánh;

– hệ thống đo, kiểm soát nhiệt độ và tốc độ môtơ;

– dụng cụ đo thời gian.

5.2.3.2. Độ đặc quánh hiệu chuẩn thiết bị đo độ đặc quánh bằng cơ cấu chiết áp (Hình 5) hoặc dùng dầu hiệu chuẩn.

a) Thiết bị chiết áp kiểu tải trọng tạo ra một tập hợp các giá trị mômen tương đương dùng để hiệu chuẩn độ đặc quánh. Các giá trị mô men tương đương được biểu thị bằng phương trình sau:

T = 78,2 + 20,02 Bc

Trong đó:

T  là mô men xoắn, tính bằng gam nhân centimét (g.cm);

Bc là đơn vị đo độ đặc quánh Bearden.

Quả cân được dùng để tạo mômen trên lò xo chiết áp, sử dụng bán kính khung biến áp như cánh tay đòn của mômen. Khi đặt tải, lò xo lệch đi và kết quả xuất hiện điện áp một chiều và/hoặc Bc tăng lên. Các giá trị điện áp tương ứng được ghi nhận để xác định (Bc) theo Bảng 1.

Bảng 1 – Mômen xoắn tương đương với độ đặc quánh của hồ xi măng

(Đối với cơ cấu chiết áp có bán kính 52 mm ± 1 mm)

Mômen xoắn tương đương, g.cm

Khối lượng, g

Độ đặc quánh, Bc

260

50

9

520

100

22

780

150

35

1040

200

48

1300

250

61

1560

300

74

1820

350

87

2080

400

100

b) Phương pháp dầu hiệu chuẩn

Thiết bị chiết áp được tiêu chuẩn bằng dấu hiệu chuẩn, trong đó biết trước tương quan độ nhớt – nhiệt độ của dầu hiệu chuẩn trong một khoảng từ 5 Bc đến 100 Bc (phải loại bỏ dầu sau khi dùng).

CHÚ DẪN

1 – Cảm biến đo nhiệt độ của hồ xi măng trong cốc;

2 – Gioăng;

3 – Cơ cấu chiết áp;

4 – Lò xo xoắn;

5 – Đầu nối khí nén;

6 – Kim (đầu) tiếp xúc;

7 – Cảm biến đo áp xuất;

8 – Nắp bảo vệ;

9 – Ống xoắn làm mát;

10 – Thanh trục;

11 – Bộ truyền cốc mẫu (quay ngược chiều kim đồng hồ);

12 – Màng ngăn của cốc;

13 – Đầu bơm dầu;

14 – Bộ gia nhiệt;

15 – Bánh răng chuyển động;

16 – Cốc mẫu;

17 – Hộp giảm tốc;

18 – Đệm truyền chuyển động;

19 – Vòng bi côn

Hình 2 – Sơ đồ cấu tạo thiết bị đo thời gian đặc quánh

Kích thước tính bằng milimet

a) Bộ cốc khuấy

b) Bộ cốc khuấy có màng ngăn phẳng

CHÚ DẪN

1 Cặp nhiệt điện loại J

2 Cơ cấu chiết áp

3 Nắp đậy (trên)

4 Đáy

Hình 3 – Sơ đồ bộ cốc khuấy hồ xi măng

Kích thước tính bằng milimet

CHÚ DẪN:

1 Góc quét

2 Góc dẫn

3 Trục cánh khuấy

Hình 4 – Sơ đồ cánh khuấy của cốc chứa hồ xi măng

Hình 5 – Thiết bị hiệu chuẩn chiết áp điển hình

5.2.3.3. Hệ thống đo nhiệt độ: Hệ thống đo nhiệt độ cần được hiệu chuẩn đến độ chính xác ± 2oC. Việc hiệu chuẩn được tiến hành ít nhất một tháng một lần.

5.2.3.4. Vận tốc môtơ: Vận tốc môtơ được hiệu chỉnh để cốc chứa hồ đạt (150 ± 15) vòng/phút. Việc hiệu chỉnh được tiến hành ba tháng một lần.

5.2.3.5. Đồng hồ bấm giây: Đồng hồ bấm giây cần hiệu chỉnh đạt độ chính xác ± 30 giây/giờ và cần được kiểm tra nửa năm một lần.

5.2.3.6. Hệ thống đo áp suất: Tiến hành hiệu chuẩn dụng cụ đo áp suất mỗi năm một lần nhằm đảm bảo sai số đo dưới 0,25 % đối với toàn dải đo và 25 %; 50 % và 75 % đối với toàn thang đo.

5.2.4. Cách tiến hành

5.2.4.1. Vận hành: Theo hướng dẫn của nhà sản xuất thiết bị và phải phù hợp với tiêu chuẩn này.

5.2.4.2. Đổ hồ xi măng vào cốc chứa mẫu theo thứ tự sau:

– Đổ hồ xi măng đã được chuẩn bị theo điều 5.1 vào cốc chứa mẫu;

CHÚ THÍCH: Để tránh hồ xi măng khỏi bị tách lớp trong quá trình đổ vào cốc khuấy có thể dùng dao trộn để khuấy nhẹ, đồng thời tiến hành đổ càng nhanh càng tốt.

– Khi cốc đã đầy, gõ nhẹ vào thành ngoài cốc để loại bỏ bọt khí;

– Vặn chặt đáy cốc chứa hồ xi măng;

– Xoáy chặt chốt bệ đỡ cốc chứa hồ.

5.2.4.3. Khởi động: Đặt cốc chứa hồ lên bàn xoay (chính bàn xoay chủ động này truyền chuyển động để vận hành cốc trong quá trình đo độ đặc quánh) của khoang áp suất (autoclave), bật máy cho quay cốc chứa mẫu. Đặt cơ cấu chiết áp sao cho khớp vào thanh trục và bắt đầu bơm dầu vào. Lắp cẩn thận nắp trên của autoclave và đầu đo nhiệt độ. Sau khi dầu dâng đầy trong khoang áp suất (theo tín hiệu dầu tràn ra theo đường ống lắp thanh gắn đầu đo nhiệt), xiết chặt ốc bịt đường dầu của thanh đo nhiệt độ. Bắt đầu vận hành thiết bị 5 phút ± 15 giây ngay sau khi ngừng khuấy trộn hồ xi măng.

5.2.4.4. Kiểm soát nhiệt độ và áp suất: Trong quá trình thử, tăng nhiệt độ và áp suất của hồ xi măng trong cốc mẫu theo (Bảng 2).

5.2.5. Biểu thị kết quả

Thiết bị đo đặc quánh có bộ phận tự động vẽ giản đồ ghi tương quan giữa độ đặc quánh (theo Bc) và thời gian khuấy (theo phút) từ thời điểm bắt đầu chạy máy tới khi độ đặc quánh đạt 100 Bc.

Từ giản đồ trên, ghi lại độ đặc quánh lớn nhất (Bc) sau 15 phút đến 30 phút kể từ khi bắt đầu thử nghiệm và thời gian (theo phút) khi độ đặc quánh của hồ xi măng đạt 100 Bc.

Bảng 2 – Chế độ nâng và khống chế nhiệt độ, áp suất

Thời gian,

phút

Áp suất,

kPa ± 700 kPa

Nhiệt độ,

oC ± 1oC

0

6900

27

2

9000

28

4

11100

30

6

13100

32

8

15200

34

10

17300

36

12

19300

37

14

21400

39

16

23400

41

18

25500

43

20

27600

44

22

29600

46

24

31700

48

26

33800

50

28

35600

52

5.3. Xác định lượng nước tự do (độ tách nước)

5.3.1. Nguyên tắc

Đo lượng nước tự do (ml) tách ra trên bề mặt hồ xi măng sau khi lưu ở trạng thái tĩnh trong 2 giờ.

5.3.2. Thiết bị, dụng cụ

5.3.2.1. Thiết bị đo độ đặc quánh: Theo 5.2.2

5.3.2.2. Bình định mức: Bình định mức hình trụ, dung tích 250 ml, bằng thủy tinh, có vạch chia 2 ml hoặc nhỏ hơn.

5.3.2.3. Pipet hoặc bơm tiêm: Dung tích từ 6 ml đến 10 ml, có khả năng đọc chính xác đến 0,1 ml.

5.3.2.4. Đồng hồ bấm giây: Có độ chính xác ± 30 giây / giờ. Đồng hồ bấm giây phải được kiểm tra độ chính xác sáu tháng một lần.

5.3.2.5. Thiết bị khuấy hồ xi măng: Theo 5.1.1.3.

5.3.3. Cách tiến hành

5.3.3.1. Chuẩn bị hồ xi măng: theo quy trình nêu tại 5.1.

5.3.3.2. Đổ hồ xi măng vào cốc chứa mẫu (đã được làm sạch và sấy khô) của thiết bị đo độ đặc quánh đến vạch mức.

5.3.3.3. Lắp cốc chứa mẫu và phụ kiện liên quan, sau đó đặt vào thiết bị đo đặc quánh và bật máy. Khoảng thời gian từ thời điểm hoàn thành quá trình trộn hồ xi măng đến quá trình khởi động thiết bị đo độ đặc quánh không vượt quá 1 phút.

5.3.3.4. Khuấy hồ xi măng trong khoảng thời gian 20 phút ± 30 giây. Nhiệt độ khoang được duy trì ở (27 ± 2) oC trong suốt quá trình khuấy.

5.3.3.5. Kết thúc quá trình khuấy tháo cốc chứa hồ xi măng ra khỏi autoclave của thiết bị đo đặc quánh. Chuyển hồ xi măng từ cốc chứa mẫu sang cốc khuấy và bật máy. Khoảng thời gian cho thao tác này không vượt quá 30 giây.

5.3.3.6. Tiếp tục khuấy hồ xi măng trong thiết bị khuấy ở tốc độ 12000 vòng/phút ± 500 vòng/phút trong khoảng thời gian (35 ± 2) giây. Sau đó, rót hồ xi măng vào bình định mức tới vạch 250 ml trong khoảng thời gian không quá 20 giây, đậy bình bằng màng tự bịt để tránh bay hơi.

5.3.3.7. Để bình định mức chứa hồ xi măng lên một mặt phẳng tĩnh (tránh rung động) ở môi trường có nhiệt độ không khí (22,8 ± 3) oC trong khoảng thời gian 2 giờ ± 5 phút.

5.3.3.8. Sau 2 giờ, dùng pipét hoặc bơm tiêm loại có dung tích từ 6 ml đến 10 ml để hút lượng nước tách ra trên bề mặt hồ xi măng. Ghi lại lượng nước này chính xác tới ± 0,1 ml.

5.3.4. Biểu thị kết quả

Lượng nước ghi được (5.3.3.8) chính xác đến 0,1 ml là lượng nước tự do (độ tách nước) của hồ xi măng.

5.4. Xác định cường độ nén

5.4.1. Nguyên tắc

Xác định lực nén phá vỡ mẫu đá xi măng trên một đơn vị diện tích bề mặt mẫu. Cường độ nén được tính bằng N/mm2 (MPa).

5.4.2. Thiết bị, dụng cụ

5.4.2.1. Khuôn : hình lập phương 50 mm x 50 mm x 50 mm, gồm 3 khoang. Thành khuôn được tách biệt thành 2 phần và được định vị với nhau khi lắp ráp. Khuôn được chế tạo bằng kim loại cứng không bị ăn mòn bởi vữa xi măng. Các mặt của khuôn phải đủ cứng để không bị bửa và cong oằn. Các mặt phía trong khuôn phải phẳng và không vượt quá dung sai qui định ở Bảng 3.

Bảng 3 – Khoang thay đổi cho phép của khuôn mẫu

Các thông số

Khuôn mới

Khuôn đang sử dụng

1. Độ phẳng của bề mặt, mm, không lớn hơn

0,025

0,05

2. Khoảng cách giữa các mặt đối diện, mm

50 ± 0,13

50 ± 0,5

3 Chiều cao của mỗi khoang (h), mm

50

50

4 Góc giữa các mặt gần kề, độ

90 ± 0,5

90 ± 0,5

5.4.2.2. Máy thử độ bền nén: theo TCVN 6016 : 1995

5.4.2.3. Tấm đậy khuôn: được làm bằng thép không rỉ, chiều dày 6 mm. Tấm đậy phải đủ lớn để phủ hết bề mặt tiếp xúc xi măng.

5.4.2.4. Bể ổn nhiệt: phải có kích thước đủ để nhúng ngập khuôn chứa mẫu trong nước và đảm bảo giữ được nhiệt độ thử trong phạm vi ± 2 oC so với nhiệt độ sử dụng: 38oC và 60 oC. Bể được trang bị máy khuấy hoặc hệ thống tuần hoàn nước.

5.4.2.5. Bể hạ nhiệt: phải đảm bảo kích thước đủ để mẫu được nhúng ngập trong nước và duy trì ở nhiệt độ (27 ± 3)oC.

5.4.2.6. Dụng cụ đo nhiệt độ: có thể sử dụng cặp nhiệt độ hoặc nhiệt kế loại 100oC, có thang chia 1 oC.

5.4.2.7. Đũa khuấy hồ xi măng: bằng thủy tinh hoặc thép không rỉ, dạng hình trụ, đường kính 6 mm.

5.4.2.8. Mỡ làm kín khuôn: cần có tính chất làm kín khuôn và chịu nước trong điều kiện nhiệt độ bảo dưỡng. Mỡ này được dùng làm kín các mặt tiếp xúc đảm bảo hồ không lọt ra ngoài.

5.4.3. Cách tiến hành

5.4.3.1. Chuẩn bị khuôn: mặt trong khuôn và bề mặt tiếp xúc với đế khuôn được sạch và khô. Khuôn được lắp kín. Bôi một lớp mỏng dầu nhờn lên bề mặt phía trong của khuôn và bề mặt tiếp xúc với tấm đế.

5.4.3.2. Chuẩn bị hồ xi măng và đúc mẫu

– Chuẩn bị hồ xi măng theo 5.1.

– Đúc mẫu: Đổ hồ xi măng vào khuôn đã được chuẩn bị sao cho tạo thành một lớp có chiều cao bằng 1/2 chiều cao khuôn. Dùng đũa dằm và khuấy nhẹ 27 lần ở mỗi ngăn khuôn (để đảm bảo hồ xi măng được điền đầy, không để lại lỗ rỗng cho mẫu). Sau đó, dùng đũa dằm và khuấy phần hồ xi măng còn lại để phòng ngừa hồ xi măng bị lắng đọng. Đổ tiếp lượng hồ xi măng còn lại vào khuôn cho tràn đầy, rồi tiếp tục dằm và khuấy như làm với lớp trước. Dùng đũa để gạt phẳng phần hồ tràn trên mặt khuôn. Đậy chặt nắp đã được làm sạch và khô lên trên khuôn. Mỗi thử nghiệm cần chuẩn bị không dưới 3 mẫu.

5.4.3.3. Bảo dưỡng mẫu: sau khi kết thúc quá trình tạo mẫu  5 phút ± 15 giấy, đặt khuôn chứa mẫu vào bể ổn nhiệt đã được nâng nhiệt theo một trong hai chế độ dưỡng hộ ở 38 oC hoặc 60 oC. Thời gian lưu mẫu trong bể ổn nhiệt là 7 giờ 15 phút ± 5 phút. Sau đó, lấy mẫu ra khỏi bể ổn nhiệt và tháo mẫu khỏi khuôn.

5.4.3.4. Làm nguội mẫu: ngay sau khi tháo mẫu khỏi khuôn, xếp ngay các mẫu vào bể hạ nhiệt theo chiều đúng, không được chạm và chồng lên nhau. Thời gian mẫu lưu trong bể hạ nhiệt là 40 phút ± 5 phút và duy trì ở nhiệt độ (27 ± 3)oC.

5.4.3.5. Ép mẫu

– Lấy mẫu ra khỏi bể hạ nhiệt, lau và thấm khô bề mặt từng mẫu.

– Đưa từng mẫu vào trong lòng má ép của máy thử cường độ nén (má ép tiếp xúc với mặt bên của mẫu). Trước khi thử mỗi mẫu cần phải kiểm tra khớp cầu sao cho luôn ở trạng thái linh động.

– Tăng tải trọng của máy thử cường độ nén với tốc độ (72 ± 7) kN/phút đối với các mẫu dưỡng hộ ở nhiệt độ 60 oC và (18 ± 2) kN/phút đối với các mẫu dưỡng hộ ở nhiệt độ 38 oC trong suốt quá trình cho đến khi mẫu bị phá vỡ.

5.4.4. Tính kết quả

Cường độ nén (Rn), tính bằng N/mm2 (MPa), được xác định theo công thức sau:

Rn = F / S

trong đó:

F là tải trọng tối đa lúc mẫu bị phá hoại, tính bằng Niu – tơn (N);

S là diện tích tấm ép hoặc má ép, tính bằng milimet vuông (50 mm x 50 mm = 2500 mm2).

Kết quả cường độ nén của mẫu là trung bình cộng của cường độ nén các mẫu đơn, lấy chính xác đến 0,01 N/mm2 (MPa).

Leave a Reply

Your email address will not be published. Required fields are marked *