Nội dung toàn văn Tiêu chuẩn Việt Nam TCVN 7572-14:2006 về Cốt liệu cho bê tông và vữa – Phương pháp thử – Phần 14: Xác định khả năng phản ứng kiềm – silic do Bộ Khoa học và Công nghệ ban hành
TIÊU CHUẨN VIỆT NAM
TCVN 7572-14 : 2006
CỐT LIỆU CHO BÊ TÔNG VÀ VỮA – PHƯƠNG PHÁP THỬ –
PHẦN 14: XÁC ĐỊNH KHẢ NĂNG PHẢN ỨNG KIỀM – SILIC
Aggregates for concrete and mortar – Test methods –
Part 14: Determination of alkali silica reactivity
MỤC LỤC
TCVN 7572-1 : 2006 Cốt liệu cho bê tông và vữa – Phương pháp thử –
Phần 1: Lấy mẫu
TCVN 7572-2 : 2006 Cốt liệu cho bê tông và vữa – Phương pháp thử –
Phần 2: Xác định thành phần hạt
TCVN 7572-3 : 2006 Cốt liệu cho bê tông và vữa – Phương pháp thử –
Phần 3: Hướng dẫn xác định thành phần thạch học
TCVN 7572-4 : 2006 Cốt liệu cho bê tông và vữa – Phương pháp thử –
Phần 4: Xác định khối lượng riêng, khối lượng thể tích và độ hút nước
TCVN 7572-5 : 2006 Cốt liệu cho bê tông và vữa – Phương pháp thử –
Phần 5: Xác định khối lượng riêng, khối lượng thể tích và …….. độ hút nước của đá gốc
TCVN 7572-6 : 2006 Cốt liệu cho bê tông và vữa – Phương pháp thử –
Phần 6: Xác định khối lượng thể tích xốp và độ hổng
TCVN 7572-7 : 2006 Cốt liệu cho bê tông và vữa – Phương pháp thử –
Phần 7: Xác định độ ẩm
TCVN 7572-8 : 2006 Cốt liệu cho bê tông và vữa – Phương pháp thử –
Phần 8: Xác định hàm lượng bùn, bụi, sét trong cốt liệu và
hàm lượng sét cục trong cốt liệu nhỏ
TCVN 7572-9 : 2006 Cốt liệu cho bê tông và vữa – Phương pháp thử –
Phần 9: Xác định tạp chất hữu cơ
TCVN 7572-10 : 2006 Cốt liệu cho bê tông và vữa – Phương pháp thử –
Phần 10: Xác định cường độ và hệ số hoá mềm của đá gốc
TCVN 7572-11 : 2006 Cốt liệu cho bê tông và vữa – Phương pháp thử –
Phần 11: Xác định độ nén dập và hệ số hoá mềm của cốt liệu lớn
TCVN 7572-12 : 2006 Cốt liệu cho bê tông và vữa – Phương pháp thử –
Phần 12: Xác định độ hao mòn khi va đập của cốt liệu lớn
trong máy mài mòn va đập Los Angeles
TCVN 7572-13 : 2006 Cốt liệu cho bê tông và vữa – Phương pháp thử –
Phần 13: Xác định hàm lượng hạt thoi dẹt trong cốt liệu lớn
TCVN 7572-14 : 2006 Cốt liệu cho bê tông và vữa – Phương pháp thử –
Phần 14: Xác định khả năng phản ứng kiềm – silic
TCVN 7572-15 : 2006 Cốt liệu cho bê tông và vữa – Phương pháp thử –
Phần 15: Xác định hàm lượng clorua
TCVN 7572-16 : 2006 Cốt liệu cho bê tông và vữa – Phương pháp thử –
Phần 16: Xác định hàm lượng sulfat và sulfit trong cốt liệu nhỏ
TCVN 7572-17 : 2006 Cốt liệu cho bê tông và vữa – Phương pháp thử –
Phần 17: Xác định hàm lượng hạt mềm yếu, phong hoá
TCVN 7572-18 : 2006 Cốt liệu cho bê tông và vữa – Phương pháp thử –
Phần 18: Xác định hàm lượng hạt bị đập vỡ
TCVN 7572-19 : 2006 Cốt liệu cho bê tông và vữa – Phương pháp thử –
Phần 19: Xác định hàm lượng silic oxit vô định hình
TCVN 7572-20 : 2006 Cốt liệu cho bê tông và vữa – Phương pháp thử –
Phần 20: Xác định hàm lượng mi ca trong cốt liệu nhỏ
Lời nói đầu
TCVN 7572-1 : 2006 thay thế TCVN 337 : 1986 và điều 2 của TCVN 1772 : 1987.
TCVN 7572-2 : 2006 thay thế TCVN 342 : 1986 và điều 3.6 của TCVN 1772 : 1987.
TCVN 7572-3 : 2006 thay thế TCVN 338 : 1986.
TCVN 7572-4 : 2006 thay thế TCVN 339 : 1986 và các điều 3.1, 3.2, 3.11 của TCVN 1772 : 1987.
TCVN 7572-5 : 2006 thay thế các điều 3.1, 3.2, 3.11 của TCVN 1772 : 1987.
TCVN 7572-6 : 2006 thay thế TCVN 340 : 1986 và các điều 3.3, 3.5 của TCVN 1772 : 1987.
TCVN 7572-7 : 2006 thay thế TCVN 341 : 1986 và điều 3.10 của TCVN 1772 : 1987.
TCVN 7572-8 : 2006 thay thế TCVN 343:1986, TCVN 344:1986 và điều 3.7 của TCVN 1772:1987.
TCVN 7572-9 : 2006 thay thế TCVN 345 : 1986 và điều 3.18 của TCVN 1772 : 1987.
TCVN 7572-10 : 2006 thay thế các điều 3.12, 3.14 của TCVN 1772 : 1987.
TCVN 7572-11 : 2006 thay thế các điều 3.13, 3.15 của TCVN 1772 : 1987.
TCVN 7572-12 : 2006 thay thế các điều 3.16, 3.17 của TCVN 1772 : 1987.
TCVN 7572-13 : 2006 thay thế điều 3.8 của TCVN 1772 : 1987.
TCVN 7572-14 : 2006 xây dựng trên cơ sở TCXD 238 : 1999 và TCXD 246 : 2000.
TCVN 7572-15 : 2006 xây dựng trên cơ sở TCXD 262 : 2001.
TCVN 7572-16 : 2006 thay thế TCVN 346 : 1986.
TCVN 7572-17 : 2006 thay thế điều 3.9 của TCVN 1772 : 1987.
TCVN 7572-18 : 2006 thay thế điều 3.19 của TCVN 1772 : 1987.
TCVN 7572-19 : 2006 thay thế điều 3.20 của TCVN 1772 : 1987.
TCVN 7572-20 : 2006 thay thế TCVN 4376 : 1986.
TCVN 7572 : 2006 do Ban kỹ thuật Tiêu chuẩn TCVN/TC 71/SC3 Cốt liệu cho bê tông hoàn thiện trên cơ sở dự thảo của Viện Khoa học Công nghệ Xây dựng, Bộ Xây dựng đề nghị, Tổng Cục Tiêu chuẩn Đo lường Chất lượng xét duyệt, Bộ Khoa học và Công nghệ ban hành
1 Phạm vi áp dụng
Tiêu chuẩn này quy định hai phương pháp xác định khả năng phản ứng kiềm silic của các loại cốt liệu chứa silic dioxit: phương pháp hoá học (Phương pháp A) và phương pháp đo sự biến dạng của các thanh vữa (Phương pháp B).
Phương pháp A là phương pháp nhanh, áp dụng cho cốt liệu nằm ở vùng vô hại trên giản đồ phân vùng khả năng phản ứng kiềm – silic của cốt liệu.
Phương pháp B được áp dụng bổ sung để xác định khả năng phản ứng kiềm silic của cốt liệu nằm trong vùng có hại trên giản đồ phân vùng khả năng phản ứng kiềm – silic của cốt liệu.
2 Tài liệu viện dẫn
TCVN 4032 : 1985 Xi măng – Phương pháp xác định giới hạn bền uốn và nén.
TCVN 4787 : 2001 (EN 196-7 : 1989) Xi măng – Phương pháp lấy mẫu và chuẩn bị mẫu thử.
TCVN 4851 : 1989 (ISO 3696 : 1987) Nước dùng để phân tích trong phòng thí nghiệm – Yêu cầu kỹ thuật và phương pháp thử.
TCVN 6068 : 2004 Xi măng poóc lăng bền sunphat – Phương pháp xác định độ nở sunphat.
TCVN 7572-1 : 2006 Cốt liệu cho bê tông và vữa – Phương pháp thử – Phần 1: Lấy mẫu.
TCVN 7572-2 : 2006 Cốt liệu cho bê tông và vữa – Phương pháp thử – Phần 2: Xác định thành phần hạt.
3 Phương pháp hoá học (Phương pháp A)
3.1 Nguyên tắc
Khả năng phản ứng kiềm silic của cốt liệu được xác định qua hàm lượng silic đioxit hoà tan (Sc) và độ giảm kiềm (Rc).
3.2 Thiết bị và dụng cụ
3.2.1 Cân kỹ thuật có độ chính xác tới 0,01 g.
3.2.2 Cân phân tích có độ chính xác đến 0,0002 g.
3.2.3 Tủ sấy có quạt gió và bộ phận tự ngắt nhiệt độ đến 200 oC.
3.2.4 Lò nung có bộ phận tự ngắt nhiệt độ đến 1 100 oC.
3.2.5 Búa, cối chày bằng đồng hoặc bằng gang để đập và nghiền cốt liệu.
3.2.6 Sàng tiêu chuẩn theo TCVN 7572-2 : 2006 có kích thước mắt sàng 5 mm; 315 mm; 140 mm hoặc các sàng có kích thước mắt sàng 4,75 mm; 300 mm và150 mm.
3.2.7 Bình phản ứng bằng thép không rỉ hoặc bằng polyetylen (không bị biến dạng và không phản ứng với hoá chất thử nghiệm ở 80 oC). Bình có dung tích từ 75 ml đến 100 ml và có nắp đậy đảm bảo kín khí (Hình 1).
3.2.8 Bình điều nhiệt, giữ nhiệt 80 oC ± 1 oC ổn định trong 24 giờ.
3.2.9 Máy hút chân không.
3.2.10 Bình lọc có nhánh hút chân không.
3.2.11 Bếp cách thuỷ, bếp điện.
3.2.12 Chén bạch kim.
3.2.13. Chén sứ.
3.2.14 Giấy lọc định lượng không tro:
– loại chảy nhanh, đường kính lỗ trung bình 20 mm;
– loại chảy trung bình, đường kính lỗ trung bình 7 mm.
3.3 Hoá chất
3.3.1 Axit clohydric HCl, d = 1,19.
Kích thước tính bằng milimét
Hình 1 – Bình phản ứng
Hình 1 – Bình phản ứng
Hình 1 – Bình phản ứng
3.3.2 Axit clohydric HCl, tiêu chuẩn, dung dịch 0,05 N.
3.3.3 Axit clohydric HCl, dung dịch nồng độ (1 + 1).
3.3.4 Axit flohydric HF, d = 1,12; dung dịch 38 % đến 40 %.
3.3.5 Natri hyđrôxit NaOH, dung dịch 1 N. Hoà tan 40 g NaOH rắn vào nước cất và định mức đến 1 000 ml và lắc đều.
3.3.6 Chỉ thị phenolphtalein: Hoà tan 1 g phenolphtalein trong 100 ml dung dịch etanol (1 : 1).
3.3.7 Axit sunfuric H2SO4, d = 1,84.
3.3.8 Nước cất, theo TCVN 4851 : 1989 (ISO 3696 : 1987), hoặc nước có độ tinh khiết tương đương.
3.4 Lấy mẫu và chuẩn bị mẫu
3.4.1 Lấy mẫu
Lấy mẫu theo TCVN 7572-1 : 2006. Rút gọn mẫu theo phương pháp chia tư và lấy ra khối lượng mẫu như sau:
– cát: 0,5 kg dưới sàng 5 mm;
– đá (sỏi): theo Bảng 1, tuỳ theo cỡ hạt hoặc đường kính hạt cốt liệu lớn nhất.
Bảng 1 – Khối lượng mẫu thử
|
Đường kính hạt lớn nhất, mm |
10 |
20 |
40 |
70 |
|
Hoặc cỡ hạt, mm |
(5¸10) |
(10¸20) |
(20¸40) |
(40¸70) |
|
Khối lượng mẫu, kg |
0,5 |
1,0 |
10,0 |
30,0 |
Chú thích Đá nguyên khai hoặc đá có cỡ hạt lớn hơn 70 mm lấy 13 tảng đến 15 tảng, đập nhỏ thành cỡ hạt 40 mm đến 70 mm và rút gọn để có khối lượng khoảng 30 kg.
3.4.2 Chuẩn bị mẫu
3.4.2.1 Từ mẫu đá (sỏi) cỡ hạt lớn hơn 5 mm, dùng búa đập nhỏ thành các hạt có cỡ hạt nhỏ hơn. Trộn đều, rút gọn mẫu theo phương pháp chia tư để có khối lượng cỡ hạt theo Bảng 1 TCVN 7571-1 : 2006. Tiếp tục đập và rút gọn cho tới khi nhận được 0,5 kg mẫu với cỡ hạt nhỏ hơn 5 mm.
3.4.2.2 Chia 0,5 kg cát hoặc đá (sỏi) đã chuẩn bị ra hai phần bằng nhau: một nửa để làm mẫu thử, một nửa làm mẫu lưu.
3.4.2.3 Cho 0,25 kg mẫu thử vào cối tán nhỏ, sàng và lấy ra khoảng 100 g cỡ hạt 140 mm đến 315 mm hoặc 150 mm đến 300 mm. Để mẫu trên sàng 140 mm hoặc 100 mm và cho nước vòi chảy qua làm sạch bụi bẩn. Sau đó đưa mẫu ra khay, sấy đến khối lượng không đổi. Để nguội mẫu trong bình hút ẩm, sàng loại bỏ các hạt nhỏ hơn 140 mm hoặc 150 mm một lần nữa để có mẫu thử.
3.5 Tiến hành
3.5.1 Thực hiện phản ứng
3.5.1.1 Với mỗi mẫu thử dùng bốn bình phản ứng (3.2.7). Cân ba lượng 25 g, chính xác đến 0,0002 g, từ mẫu thử đã chuẩn bị theo 3.4.2 cho vào ba bình phản ứng và dùng pipet thêm vào 25 ml dung dịch NaOH 1 N vào mỗi bình. Cho 25 ml NaOH 1 N vào bình thứ tư để làm mẫu trắng. Xoay nhẹ bình vài lần để đuổi bọt khí thoát ra. Đậy nắp, xiết bulông làm kín nắp và miệng các bình.
3.5.1.2 Đặt các bình phản ứng vào bình điều nhiệt hoặc hoặc tủ sấy có nhiệt độ ổn định 80 oC ± 1 oC. Sau 24 giờ ± 15 phút lấy các bình ra, làm nguội trong 15 phút ± 2 phút bằng vòi nước chảy có nhiệt độ không lớn hơn 30 oC.
3.5.1.3 Sau khi làm nguội, mở nắp từng bình, lọc tách dung dịch khỏi cặn không tan bằng bình lọc có gắn bơm hút chân không và giấy lọc loại chảy nhanh. Dung dịch lọc được thu vào các ống nghiệm khô dung tích 35 ml đến 50 ml. Quá trình lọc được thực hiện như sau:
Mở bơm hút chân không, không khuấy bình phản ứng, rót từng lượng nhỏ dung dịch từ bình phản ứng theo đũa thuỷ tinh lên phễu lọc cho đến hết. Ngắt chân không, dùng đũa thuỷ tinh nhẹ nhàng gạt hết các hạt cặn không tan trên giấy lọc. Sau đó tạo chân không bình lọc tới áp lực khoảng 51 kPa (38 mmHg), tiếp tục lọc dung dịch tới khi không quá một giọt chảy qua giấy lọc trong thời gian 10 giây. Ghi tổng thời gian lọc dưới chân không và kết thúc quá trình lọc tại đây. Giữ lại dung dịch lọc.
Chú thích
– Không rửa cặn trên giấy lọc, cố gắng duy trì lọc ba lượng mẫu từ ba bình trong khoảng thời gian gần tương tự nhau.
– Trong trường hợp lọc dung dịch loãng có thể lọc bình thường, không cần hút chân không.
3.5.1.4 Tiến hành lọc trắng, dưới áp lực chân không và với thời gian theo trình tự như với bình chứa mẫu thử theo 3.5.1.3.
Chú thích Nếu mẫu thử ở 3.5.1.3 lọc bình thường thì mẫu trắng cũng lọc bình thường.
3.5.1.5 Ngay sau khi lọc xong, lắc đều phần dung dịch lọc để tạo đồng nhất, dùng pipet lấy 10 ml dung dịch lọc pha loãng bằng nước cất đến mức 200 ml trong bình định mức.
3.5.1.6 Lấy 10 ml dung dịch mẫu trắng và cũng pha loãng bằng nước cất tới 200 ml trong bình định mức. Dung dịch pha loãng này được dùng để xác định SiO2 hoà tan và độ giảm kiềm. Nếu thí nghiệm không được tiến hành trong vòng 4 giờ sau khi lọc phải chuyển dung dịch sang bình polyetylen sạch, khô và đóng bình bằng nắp kín để bảo quản.
3.5.2 Xác định silic đioxit hoà tan bằng phương pháp khối lượng
3.5.2.1 Dùng pipet lấy 100 ml dung dịch đã pha loãng (3.5.1.5) cho vào chén sứ, thêm 5 ml đến
10 ml axit clohydric đặc (d = 1,19) và cô cho đến khô trên bếp cách thuỷ hoặc bếp cách cát. Sau khi mẫu đã khô, tiếp tục cô thêm khoảng 45 phút đến 60 phút nữa cho đến khô kiệt. Sau đó thêm 10 ml đến 20 ml HCl (1+1) lên phần mẫu và đun tiếp 10 phút trên bếp cách thuỷ. Pha loãng dung dịch vừa nhận được bằng 10 ml đến 20 ml nước cất nóng. Lọc ngay qua giấy lọc chảy trung bình. Dùng nước cất nóng rửa chén sứ và phần cặn trên giấy lọc đến hết ion clorua trong nước rửa (thử bằng dung dịch AgNO3 0,5 %, nếu nước lọc vẫn trong là được). Giữ lại giấy lọc và phần cặn.
3.5.2.2 Chuyển giấy lọc và cặn vào chén bạch kim, sấy và đốt cháy giấy lọc trên bếp điện. Nung chén ở nhiệt độ 1 000 oC ± 50 oC đến khối lượng không đổi. Làm nguội chén trong bình hút ẩm đến nhiệt độ phòng và cân. Khối lượng thu được là g1 (g1 là lượng SiO2 thu được còn chứa tạp chất).
3.5.2.3 Tẩm ướt chén bằng vài giọt nước, thêm một giọt axit sunfuric (H2SO4) đặc và 10 ml axit flohydric đậm đặc, cô trên bếp điện đến khô kiệt và ngừng bốc hơi trắng.
Cho chén vào lò nung ở nhiệt độ 1 000 oC ± 50 oC trong khoảng 2 phút, làm nguội chén trong bình hút ẩm đến nhiệt độ phòng và cân. Khối lượng thu được là g2 (g2 là lượng tạp chất chứa trong g1).
3.5.2.4 Tính kết quả:
Hàm lượng silic dioxit (SiO2) hoà tan trong dung dịch gốc (3.5.1.3), (Sc), tính bằng mmol/l của cốt liệu hoà tan trong dung dịch NaOH 1 N, được tính theo công thức:
Sc = 3 330 x (g1 – g2)
trong đó:
3 330 là hệ số chuyển đổi lượng SiO2 hoà tan, tính bằng gam sang mol/l;
g1 là lượng SiO2 trong 100 ml dung dịch pha loãng thu được ở (3.5.2.2), tính bằng gam (g);
g2 là lượng tạp chất có trong 100 ml dung dịch pha loãng thu được ở (3.5.2.3), tính bằng gam (g).
Chú thích Có thể xác định hàm lượng silic hoà tan bằng phương pháp trắc quang.
3.5.3 Xác định độ giảm kiềm
3.5.3.1 Lấy 20 ml dung dịch pha loãng (3.5.1.5) vào bình nón 200 ml, thêm 2 giọt đến 3 giọt phenolphtalein và chuẩn độ bằng axit clohydric HCl 0,05 N cho đến khi hết màu đỏ của phenolphtalein. Cũng chuẩn độ như vậy với 20 ml dung dịch pha loãng từ mẫu trắng (3.5.1.5).
3.5.3.2 Tính kết quả
Độ giảm kiềm (Rc), tính bằng mmol/l, theo công thức:
Rc = (20N/V1) x (V3 – V2) x 1000
trong đó:
N là nồng độ HCl dùng để chuẩn độ;
V1 là thể tích dung dịch pha loãng lấy từ (3.5.1.5), tính bằng mililít (ml);
V2 là thể tích HCl dùng để chuẩn độ dung dịch mẫu thử, tính bằng mililít (ml);
V3 là thể tích HCl dùng để chuẩn độ dung dịch mẫu trắng, tính bằng mililít (ml).
1000 là hệ chuyển đổi mililít sang lít.
3.6 Đánh giá kết quả
3.6.1 Thử nghiệm được coi là đạt khi các giá trị Rc hoặc Sc thử trên lượng mẫu riêng không sai lệch quá trung bình số học của ba giá trị kết quả thử:
– 12 mmol/l khi giá trị trung bình nhỏ hơn hoặc bằng 100 mmol/l;
– 12 % khi giá trị trung bình lớn hơn 100 mmol/l.
3.6.2 Dựng ba điểm từ ba cặp kết quả thử nghiệm Rc, Sc lên giản đồ Hình 2.
Chú thích Giản đồ Hình 2 được xây dựng khi dùng xi măng có tổng lượng kiềm là 1,38 % với cốt liệu tạo thanh vữa có độ nở lớn hơn 0,1 % trong 1 năm và thanh vữa có độ nở nhỏ hơn 0,1 % trong 1 năm trong điều kiện thí nghiệm như nhau.
3.6.3 Khả năng phản ứng kiềm-silic của cốt liệu theo phương pháp hoá học được đánh giá như sau:
a) Vô hại (innocuous): mức ít làm hư hại kết cấu bê tông.
Khi cả hai kết quả thử nghiệm đều nằm trên vùng cốt liệu vô hại tức ở hai phía phải đường cong vẽ nét liền trên giản đồ Hình 2.
b) Có hại (deleterious): mức làm hư hại nhiều tới kết cấu bê tông.
Khi một trong ba điểm kết quả thử nghiệm nằm trên vùng cốt liệu có hại tức phía đường cong vẽ nét liền và phía dưới đường thẳng nét đứt trên giản đồ Hình 2.
Hình 2 – Giản đồ phân vùng khả năng phản ứng kiềm – silic của cốt liệu
Hình 2 – Giản đồ phân vùng khả năng phản ứng kiềm – silic của cốt liệu
c) Có khả năng gây hại (potentially deleterious): khả năng gây hại kết cấu bê tông ở mức trung bình.
Khi một trong ba điểm kết quả thử nghiệm nằm ở vùng cốt liệu có khả năng gây hại, tức phía phải đường cong vẽ nét liền và phía trên đường thẳng nét đứt, kể cả các điểm nằm trên đường cong và nét đứt.
Chú thích
1) Phương pháp hoá học xác định khả năng phản ứng kiềm – silic là phương pháp nhanh ( phương pháp A), với cốt liệu cho kết quả nằm ở vùng vô hại thì có thể yên tâm sử dụng. Với cốt liệu nằm ở vùng khác của giản đồ, cần kết hợp thêm phương pháp thanh vữa (phương pháp B) trước khi đưa ra kết luận sử dụng.
2) Đối với các loại cốt liệu có chứa nhóm cacbonat của canxi, magiê hoặc sắt như: canxit, dolomit, magnesit hoặc siderit hoặc các silicat của magiê như antigorit (serpentin) có thể làm sai lệch kết quả thử theo tiêu chuẩn này. Để xác định sự có mặt của các khoáng trên cần thử thêm theo tiêu chuẩn ASTM C 295 – 03 Hướng dẫn xác định thạch học của cốt liệu bêtông (Guide for petrographic examination of aggregates for concrete)
3) Đối với cốt liệu thuộc loại có khả năng gây hại (3.6.3.c)) thì nên thử nghiệm bổ xung theo phương pháp thử thanh vữa ASTM C 227 – 03: Phương pháp thử khả năng phản ứng kiềm tiềm ẩn của hỗn hợp ximăng – cốt liệu. (phương pháp thanh vữa) Test method for potential alkali reactivity of cement aggregates combinations (mortar bar method) hoặc xem xét các dấu hiệu phản ứng kiềm silic trên các công trình bằng bê tông đã sử dụng chúng để có kết luận tin cậy.
4) Đối với các loại cốt liệu cabonat thì ngoài phản ứng kiềm silic cốt liệu còn có khả năng gây phản ứng cacbonat với kiềm được thử nghiệm bổ xung để đánh giá theo ASTM C 586 – 05 Phương pháp thử phản ứng kiềm tiềm ẩn các đá cacbonat đối với cốt liệu bêtông (phương pháp trụ đá). Test method for potential alkali reactivity of carbonate rocks for concrete aggregates (rock cylinder method).
4 Phương pháp thanh vữa (phương pháp B)
4.1 Thiết bị thử
4.1.1 Cân kỹ thuật có độ chính xác 0,1 g.
4.1.2 Bộ sàng tiêu chuẩn theo TCVN 7572-2 : 2006.
4.1.3 Khuôn bằng thép, kích thước (285 x 25 x 25) mm, cấu tạo khuôn được mô tả trên Hình 3. Có thể dùng khuôn đơn hoặc khuôn kép.
Khuôn phải được chế tạo bằng thép không gỉ hoặc bằng các kim loại chống ăn mòn và có độ cứng cao. Độ dày thành khuôn ít nhất là 10 mm. Bề mặt khuôn phải nhẵn, không có hốc, lõm. Khuôn phải được chế tạo sao cho tháo thanh vữa ra khỏi khuôn dễ dàng và không hư hỏng. Khuôn sau khi lắp ráp phải khít chặt, không vênh, hở. Đánh số các bộ phận của khuôn để tiện việc lắp ráp và đảm bảo phù hợp với các dung sai đã qui định. Không được đổi lẫn các bộ phận giống nhau của các khuôn.
Kích thước bên trong và sai lệch kích thước của mỗi ngăn khuôn, phải đảm bảo:
– chiều dài: 285 mm ± 2,5 mm;
– chiều rộng: 25 mm ± 0,7 mm;
– chiều sâu: 25 mm ± 0,7 mm.
Sai lệch bề mặt phẳng của mặt trong khuôn, không vượt quá ± 0,03 mm.
Các góc ghép giữa thanh và đế khuôn phải đảm bảo vuông 90 oC ± 0,5 oC.
Các chốt phải được chế tạo bằng thép không gỉ và đảm bảo kích thước như Hình 3. Tâm của chốt phải trùng với trục chính của các thanh vữa thí nghiệm. Phần chốt nằm trong thanh vữa có chiều dài 17,5 mm ± 2,5 mm.
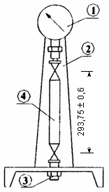
4.1.4 Thiết bị đo và thanh chuẩn
Đồng hồ micrometer có độ chính xác tới 0,001 mm.
Thanh chuẩn làm bằng thép hợp kim hoặc các vật liệu có độ nở nhiệt nhỏ hơn 0,001 mm.
Cấu tạo thiết bị đo và kích thước thanh chuẩn qui định như trong Hình 4.
4.1.5 Thiết bị dưỡng hộ nhiệt ẩm, được mô tả trên Hình 5
Thiết bị dưỡng hộ nhiệt ẩm phải đảm bảo quá trình thử trong điều kiện:
– nhiệt độ trong thiết bị: 38 oC ± 2 oC;
– độ ẩm tương đối trong phòng dưỡng hộ, không nhỏ hơn 90 %.
chú thích Cấu tạo của thiết bị dưỡng hộ nhiệt ẩm chỉ là nguyên lý không mang tính bắt buộc.
4.1.6 Máy trộn vữa, kiểu hành tinh
Máy trộn vữa hành tinh có cấu tạo theo TCVN 6068 : 2004.
4.1.7 Chày đầm mẫu
Chày đầm mẫu bằng thép dài 120 mm đến 150 mm, tiết diện ngang 9 mm x 18 mm (Hình 3.e).
4.1.8 Bàn dằn và côn tiêu chuẩn thử độ chảy của vữa
Bàn dằn và côn tiêu chuẩn có cấu tạo mô tả trên Hình 6.
4.1.9 Các thiết bị khác
– bay trộn, dao bằng thép không rỉ theo các tiêu chuẩn hiện hành;
– ống đong 250 ml;
– đồng hồ bấm giây.
Kích thước tính bằng milimét
Hình 3 – Khuôn đúc và chày đầm mẫu
|
|
|
|
|
|
Hình 3 – Khuôn đúc và Chày đầm mẫu
Kích thước tính bằng milimét
chú dẫn
1 – Đồng hồ micrometer;
2 – Giá đỡ;
3 – Vít điều chỉnh
4 – Thanh chuẩn
|
|
|
|
|
|
Hình 4 – Thiết bị đo biến dạng và kích thước thanh chuẩn
Kích thước tính bằng milimét
chú dẫn
1 – Hệ điều khiển nhiệt; 4 – ống bảo quản có bấc thấm; 7 – Đèn bức xạ;
2 – Thanh vữa; 5 – Nước; 8 – Van xả nước;
3 – Thùng bảo dưỡng; 6 – Nhiệt kế tiếp xúc; 9 – Đế giữ mẫu có khoan lỗ
bằng đồng hoặc thép không rỉ.
Hình 5 – Thiết bị dưỡng hộ nhiệt ẩm
Kích thước tính bằng milimét
|
|
|
|
|
|
|
Hình 6 – Bàn dằn và côn tiêu chuẩn
4.2 Lấy mẫu và chuẩn bị mẫu thử
4.2.1 Cốt liệu
a) Cốt liệu nhỏ
Mẫu cốt liệu nhỏ được lấy và chuẩn bị theo TCVN 7572-1 : 2006. Mẫu được rửa sạch, sấy khô, sàng phân loại sau đó tổ hợp lại cấp phối theo đúng Bảng 2.
b) Cốt liệu lớn
Mẫu cốt liệu lớn được lấy và chuẩn bị theo TCVN 7572-1 : 2006. Mẫu được rửa sạch, sấy khô, sàng phân loại sau đó tổ hợp lại cấp phối theo đúng Bảng 2. Chuẩn bị một lượng mẫu không ít hơn 4 000 g.
Bảng 2 – Cấp phối hạt cốt liệu
|
Kích thước sàng |
Tỷ lệ khối lượng, % |
|
2,5 mm ¸ 5 mm |
10 |
|
1,25 mm ¸ 2,5 mm |
25 |
|
630 mm ¸ 1,25 mm |
25 |
|
315 mm ¸ 630 mm |
25 |
|
140 mm ¸ 315 mm |
15 |
4.2.2 Xi măng
Sử dụng xi măng có tổng đương lượng kiềm theo Na2O lớn hơn 0,6 %. Nhất thiết phải sử dụng xi măng có tổng đương lượng kiềm tính theo Na2O cao nhất để làm mẫu thử.
Lấy mẫu xi măng theo TCVN 4787 : 2001.
Sau đó sấy mẫu đến khối lượng không đổi và sàng loại bỏ cỡ hạt trên sàng kích thước 90 mm.
Chuẩn bị một lượng mẫu không ít hơn 1 800 g.
4.2.3 Điều kiện thử:
– nhiệt độ phòng đúc mẫu, nơi chứa vật liệu khô và phòng đặt thiết bị: 27 oC ± 2 oC;
– nhiệt độ của nước trộn: 27 oC ± 2 oC;
– độ ẩm tương đối của phòng đúc mẫu, phòng đặt thiết bị, không nhỏ hơn 50 %.
4.2.4 Số lượng mẫu
Mỗi tổ hợp mẫu thử cần chuẩn bị một hỗn hợp xi măng – cốt liệu. Mỗi hỗn hợp xi măng – cốt liệu cần chuẩn bị ít nhất là 4 mẫu, chia làm hai mẻ trộn.
4.2.5 Cấp phối
Tỷ lệ hỗn hợp xi măng – cốt liệu bằng 1 : 2,25 theo khối lượng. Cân chính xác 300 g ± 1 g xi măng và 675 g ± 2 g cốt liệu cho hai thanh vữa.
Nước (tính theo phần trăm so với khối lượng xi măng): Sử dụng tỷ lệ nước/xi măng sau khi xác định được hỗn hợp vữa xi măng đạt độ chảy 105 mm ¸ 120 mm trên bàn dằn (4.1.8).
4.2.6 Trộn
Tiến hành trộn theo các bước sau:
Lần lượt đổ toàn bộ nước trộn vào thùng trộn. Bật máy trộn ở tốc độ (140 ± 5) vòng/phút trong 30 giây.
Đổ từ từ toàn bộ hỗn hợp ximăng cốt liệu vào thùng trộn trong khoảng thời gian 30 giây.
Dừng máy trong 15 giây. Bật máy trộn ở tốc độ (285 ± 10) vòng /phút trong 30 giây.
Dừng máy, gạt nhanh toàn bộ lượng vữa bám trên thành thùng trộn trong vòng 15 giây, sau đó đậy kín thùng trộn, để yên trong 75 giây.
Trộn lần cuối ở tốc độ (285 ± 10) vòng/phút trong 1 phút.
4.2.7 Đúc mẫu
Ngay sau khi kết thúc thí nghiệm xác định độ chảy đạt yêu cầu, toàn bộ lượng vữa còn lại được trộn một lần nữa trong vòng 15 giây.
Vữa được cho vào khuôn làm hai lớp, dùng chày đầm chặt cho đến khi đạt độ đồng nhất.
Dùng bay thép gạt bỏ lớp vữa thừa làm phẳng bề mặt thanh vữa.
Toàn bộ quá trình đúc mẫu phải hoàn thành trong vòng 135 giây (đối với cả khuôn đơn và khuôn kép) kể từ khi kết thúc việc trộn lại.
Khi tiến hành mẻ trộn thứ hai cùng cấp phối, thí nghiệm xác định độ chảy có thể bỏ qua.
Với trường hợp này, sau khi kết thúc quá trình trộn như điều 4.4 phải để yên vữa trong khoảng 90 giây sau đó trộn lại trong 15 giây trước khi tiến hành đúc mẫu.
4.3 Tiến hành thử
Ngay sau khi kết thúc quá trình đúc, đưa toàn bộ khuôn và thanh vữa vào phòng dưỡng hộ có nhiệt độ được duy trì trong khoảng 38 oC ± 2 oC và độ ẩm không nhỏ hơn 90%. Sau 24 giờ ± 2 giờ, tháo khuôn và đo chiều dài ban đầu của thanh vữa. Trong quá trình đo cần giữ cho thanh vữa không bị mất độ ẩm.
Sau khi đo xong, đặt thanh vữa vào trong thiết bị dưỡng hộ nhiệt ẩm theo chiều đứng, không được để thanh vữa chạm xuống nước trong thiết bị.
Sau 14 ngày, tiến hành đo chiều dài thanh vữa lần thứ hai. Thiết bị dưỡng hộ nhiệt ẩm phải được bảo quản tại phòng đặt thiết bị đo có nhiệt độ 27 oC ± 2 oC trong khoảng thời gian ít nhất là 16 giờ trước khi mở nắp để thực hiện phép đo. Tiếp tục đưa thanh vữa vào bảo dưỡng trong thiết bị dưỡng hộ nhiệt ẩm để đo biến dạng ở các tuổi 1, 2, 3, 4, 6, 9, 12 tháng. ít nhất phải tiến hành đo biến dạng đến tuổi 6 tháng.
Độ chính xác của tất cả các lần đo là 0,002 mm.
chú thích
– Tất cả các mẫu trong cùng một thiết bị dưỡng hộ nhiệt ẩm phải được đúc cùng một ngày và đo biến dạng ở cùng tuổi. Sau mỗi lần đo phải thay nước trong thiết bị dưỡng hộ nhiệt ẩm;
– Các thanh vữa phải được đặt trong thiết bị đo biến dạng cùng chiều với thanh vữa khi đặt trong thiết bị dưỡng hộ nhiệt ẩm. Sau mỗi lần đo, đặt thanh vữa trở lại thiết bị dưỡng hộ nhiệt ẩm theo chiều ngược lại.
4.4 Tính toán kết quả
a) Biến dạng dài của mẫu ở tuổi n ngày (e), được tính bằng phần trăm, theo công thức:
![]()
trong đó:
en là chiều dài thanh vữa ở tuổi n ngày trừ đi chiều dài thanh chuẩn đo ở cùng ngày, tính bằng milimét (mm);
ei chiều dài ban đầu của thanh vữa trừ đi chiều dài thanh chuẩn đo ở cùng ngày, tính bằng milimét (mm);
D là khoảng cách giữa hai đầu mẫu, bằng 250 mm.
b) Độ chính xác
– biến dạng dài của mỗi thanh mẫu được đo chính xác đến 0,001 %;
– giá trị trung bình của các thanh vữa được tính chính xác đến 0,01 %;
– sai số về biến dạng dài của thanh vữa so với giá trị biến dạng trung bình của các thanh vữa trong cùng một mẻ trộn, không được vượt quá 0,003 %;
– khi biến dạng dài trung bình lớn hơn 0,02 % thì sai số giữa các nhóm mẫu có cùng cấp phối phải nằm trong khoảng ± 15 % giá trị trung bình.
4.5 Đánh giá kết quả
4.5.1 Độ cong: nếu thanh vữa bị cong, phải tiến hành kiểm tra từng thanh vữa cùng với mỗi lần đo biến dạng, bằng cách đặt thanh vữa lên một mặt phẳng chuẩn và đo khe hở lớn nhất giữa thanh vữa với mặt phẳng chuẩn.
4.5.2 Kiểm tra thanh vữa
Kiểm tra số lượng, vị trí và dạng vết nứt trên các thanh vữa, nếu có.
Tình trạng của thanh vữa, các vết xuất hiện trên bề mặt.
Ghi biên bản thử.
4.5.3 Đánh giá kết quả
a) Cốt liệu được coi là có khả năng xảy ra phản ứng kiềm silic nếu biến dạng (e) lớn hơn 0,05 % ở tuổi 3 tháng hoặc 0,1 % ở tuổi 6 tháng.
b) Cốt liệu có thể được coi là không có khả năng xảy ra phản ứng kiềm silic nếu biến dạng (e) ở tuổi 3 tháng lớn hơn 0,05 % nhưng bé hơn 0,1 % ở tuổi 6 tháng
c) Biến dạng ở tuổi 3 tháng chỉ được dùng làm cơ sở kết luận khi biến dạng ở tuổi 6 tháng không thể thực hiện được.
5 Báo cáo thử nghiệm
Báo cáo thử nghiệm gồm các nội dung sau:
– loại và nguồn cốt liệu;
– loại và nguồn xi măng;
– hàm lượng kiềm trong xi măng theo K2O, Na2O và tổng đương lượng kiềm tính theo Na2O, khi thử theo Phương pháp A ; hoặc
– biến dạng trung bình phần trăm của các thanh vữa ở các tuổi đo, khi thử theo Phương pháp B;
– các thông tin liên quan đến quá trình chuẩn bị cốt liệu (bao gồm việc nghiền cốt liệu lớn nếu có);
– những đặc điểm chính của thanh vữa được kiểm tra trong và sau khi kết thúc thí nghiệm;
– lượng nước trộn tính theo phần trăm khối lượng xi măng ;
– chủng loại, nguồn gốc, tỷ lệ và thànhg phần hoá học (đặc biệt là hàm lượng kiềm) của các thành phần puzolan được sử dụng trong thực tế nếu có ;
– viện dẫn tiêu chuẩn này.
ASTM C 227 – 03 Test method for potential alkali reactivity of cement aggregates combinations (mortar bar method) [Phương pháp thử khả năng phản ứng kiềm tiềm ẩn của hỗn hợp xi măng cốt liệu (Phương pháp thanh vữa)].
ASTM C 295 – 03 Guide for petrographic examination of aggregates for concrete (Hướng dẫn xác định thạch học của cốt liệu bê tông).
ASTM C 586 – 05 Test method for potential alkali reactivity of carbonate rocks for concrete aggregates (rock cylinder method) [Phương pháp thử phản ứng kiềm tiềm ẩn của đá cacbonat đối với cốt liệu bê tông (phương pháp trụ đá)].




