Nội dung toàn văn Tiêu chuẩn quốc gia TCVN 7741-3:2007 (ISO 10524-3:2005) về Bộ điều áp dùng cho khí y tế – Phần 3: Bộ điều áp có van điều chỉnh
TCVN 7741-3:2007
ISO 10524-3:2005
BỘ ĐIỀU ÁP DÙNG CHO KHÍ Y TẾ – PHẦN 3: BỘ ĐIỀU ÁP CÓ VAN ĐIỀU CHỈNH
Pressure regulators for use with medical gases – Part 3: Pressure regulators integrated with cylinder valves
Lời nói đầu
TCVN 7741-3:2007 hoàn toàn tương đương với ISO 10524-3:2005.
TCVN 7741-3:2007 do Tiểu ban Kỹ thuật Tiêu chuẩn TCVN/TC/210/SC2 Trang thiết bị y tế hoàn thiện trên cơ sở dự thảo đề nghị của Viện Trang thiết bị và Công trình y tế – Bộ Y tế, Tổng cục Tiêu chuẩn Đo lường Chất lượng đề nghị, Bộ Khoa học và Công nghệ công bố.
Bộ tiêu chuẩn TCVN 7741 (ISO 10524) với tên chung Bộ điều áp dùng cho khí y tế, gồm các phần sau:
– Phần 1: Bộ điều áp và bộ điều áp có thiết bị đo lưu lượng;
– Phần 2: Bộ điều áp manifold và bộ điều áp thẳng;
– Phần 3: Bộ điều áp có van điều chỉnh.
Bộ tiêu chuẩn ISO 10524 với tên chung Pressure regulators for use with medical gases, còn có phần sau:
– Part 4: Low-pressure regulators.
Lời giới thiệu
Bộ điều áp có van điều chỉnh được sử dụng để giảm áp lực cao của chai chứa khí đến áp lực thấp phù hợp cho thiết bị y tế hoặc để dẫn khí trực tiếp đến bệnh nhân.
Các chức năng này được đề cập trong khoảng áp lực đầu vào và áp lực đầu ra rộng rãi và các dòng có yêu cầu đặc trưng thiết kế riêng. Điều quan trọng là các đặc trưng hoạt động của bộ điều áp có van điều chỉnh được quy định và được thử bằng một phương pháp xác định.
Thông thường bộ điều áp được gắn với một thiết bị kiểm soát dòng giống như một van kiểm soát dòng hoặc một lỗ định cỡ cố định. Tốc độ dòng được đo bằng thiết bị đo lưu lượng hoặc đồng hồ đo lưu lượng.
Cần thiết phải định kỳ thực hiện kiểm tra và bảo dưỡng để đảm bảo rằng bộ điều áp liên tục đáp ứng các yêu cầu của tiêu chuẩn này.
Tiêu chuẩn này đặc biệt chú ý đến:
– sử dụng vật liệu thích hợp;
– độ an toàn (độ bền cơ, rò rỉ, giảm áp của quá áp và tính chống bắt lửa);
– đặc tính khí;
– độ sạch;
– thử kiểu;
– ghi nhãn;
– thông tin do nhà chế tạo cung cấp.
Phụ lục B có nội dung công bố giải thích đối với một số yêu cầu của tiêu chuẩn này. Các điều có đánh dấu sao (*) sau số hiệu có giải thích tương ứng nhằm cung cấp sự hiểu biết bổ sung về nguyên nhân dẫn đến các yêu cầu và khuyến nghị được kết hợp trong tiêu chuẩn này. Sự hiểu biết về các nguyên nhân của các yêu cầu không chỉ thuận tiện trong việc áp dụng đúng tiêu chuẩn này mà còn giải quyết mọi soát xét sau đó.
BỘ ĐIỀU ÁP DÙNG CHO KHÍ Y TẾ – PHẦN 3: BỘ ĐIỀU ÁP CÓ VAN ĐIỀU CHỈNH
Pressure regulators for use with medical gases – Part 3: Pressure regulators integrated with cylinder valves
1. Phạm vi áp dụng
1.1. Tiêu chuẩn này áp dụng cho bộ điều áp có van điều chỉnh (như định nghĩa trong 3.16) dùng để cấp khí y tế trong điều trị, quản lý, đánh giá chẩn đoán và chăm sóc bệnh nhân với các loại khí y tế sau:
– oxy;
– khí gây mê;
– không khí để thở;
– hêli;
– cacbon dioxit;
– xenon;
– hỗn hợp quy định của các khí đã liệt kê trên;
– không khí dùng để truyền động dụng cụ phẫu thuật;
– nitơ dùng để truyền động dụng cụ phẫu thuật.
1.2*. Bộ điều áp có van điều chỉnh này được lắp với chai chứa khí có áp lực nạp danh nghĩa đến 25 000 kPa tại 15oC và có thể được trang bị các dụng cụ kiểm soát và đo lưu lượng của khí y tế đã cung cấp.
2. Tài liệu viện dẫn
Các tài liệu viện dẫn sau là rất cần thiết cho việc áp dụng tiêu chuẩn này. Đối với các tài liệu viện dẫn ghi năm công bố thì áp dụng bản được nêu. Đối với các tài liệu viện dẫn không ghi năm công bố thì áp dụng phiên bản mới nhất, bao gồm cả các sửa đổi (nếu có).
TCVN 6293:1997 (ISO 32:1997) Chai chứa khí – Chai chứa khí dùng trong y tế – Ghi nhãn để nhận biết khí chứa
TCVN 6551 (ISO 5145) Đầu ra của van chai chứa khí và hỗn hợp khí – Lựa chọn và xác định kích thước
TCVN 7163 (ISO 10297) Chai chứa khí – Van dùng cho chai chứa khí nạp lại được – Đặc tính kỹ thuật và thử kiểu
TCVN 7165:2002 (ISO 10920:1997) Chai chứa khí – Ren côn 25E để nối van vào chai chứa khí – Đặc tính kỹ thuật)
TCVN 7303-1:2004 (IEC 60601-1:1988) Thiết bị điện y tế – Phần 1: Yêu cầu chung về an toàn
ISO 407:2004 Small medical gas cylinders – Pin-index yoke-type valve connections (Chai chứa khí khí y tế cỡ nhỏ – Chỉ số pin, kết nối van kiểu kẹp)
ISO 5359:2000 Low-pressure hose assemblies for use with medical gases (Cụm vòi ống áp lực thấp để sử dụng với khí y tế)
ISO 7396-1:2002 Medical gas pipeline systems – Part 1: Pipelines for compressed medical gases and vacuum (Hệ thống ống dẫn khí y tế – Phần 1: Đường ống dẫn khí nén y tế và chân không)
ISO/TR 7470:1988 Valve outlets for gas cylinders – List of provisions which are either standardized or in use (Đầu ra của van chai chứa khí – Danh mục điều khoản hoặc được tiêu chuẩn hóa hoặc trong sử dụng)
ISO 9170-1:1999 Terminal units for medical gas pipeline systems – Part 1: Terminal units for use with compressed medical gases and vacuum (Khối đầu nối hệ thống ống dẫn khí y tế – Phần 1: Khối đầu nối để sử dụng với khí nén y tế và chân không)
EN ISO 11116-1:1999 Gas cylinders – 17E taper thread for connection of valves to gas cylinders – Part 1: Specifications (Chai chứa khí – Ren côn 17E để nối van với chai chứa khí – Phần 1: Đặc tính kỹ thuật)
ISO 11117:1998 Gas cylinders – Valve protection caps and valve guards for industrial and medical gas cylinders – Design, construction and tests (Chai chứa khí – Nắp bảo vệ van và vật chắn van của chai chứa khí công nghiệp và y tế – Thiết kế, xây dựng và các phép thử)
ISO 13341:1997 Transportable gas cylinders – Fitting of valves to gas cylinders (Chai chứa khí có thể vận chuyển – Lắp van vào chai chứa khí)
ISO 14971:2000 Medical devices – Application of risk management to medical devices (Trang thiết bị y tế – áp dụng quản lý rủi ro trang thiết bị y tế)
ISO 15001:2003 Anaesthetic and respiratory equipment – Compatibility with oxygen (Thiết bị gây mê và hô hấp – Khả năng tương thích với oxy)
ISO 15245-1:2001 Gas cylinders – Parallel threads for connection of valves to gas cylinders – Part 1: Specification (Chai chứa khí – Ren ngang để nối van với chai chứa khí – Phần 1: Đặc tính kỹ thuật)
EN 837-1:1996 Pressure gauges – Part 1: Bourdon tube pressure gauges – Dimensions, metrology, requirements and testing (Đồng hồ đo áp lực – Phần 1: Đồng hồ đo áp lực ống Bourdon – Kích thước, đo lường, yêu cầu và thử nghiệm)
EN 13544-2:2002 Respiratory therapy equipment – Part 2: Tubing and connectors (Thiết bị điều trị hô hấp – Phần 2: ống và bộ nối)
SS 01 91 02 Colour Atlas (Bản đồ màu)
3. Thuật ngữ và định nghĩa
Tiêu chuẩn này áp dụng các thuật ngữ và định nghĩa sau
3.1. Độ chính xác của lưu lượng (accuracy of flow)
Chênh lệch giữa giá trị chỉ thị và giá trị thực của lưu lượng, tính bằng phần trăm
3.2. Bộ điều áp có thể điều chỉnh (adjustable pressure regulator)
Bộ điều áp có bộ phận để người vận hành điều chỉnh áp lực đầu ra
3.3. Đầu vào của bộ điều áp (filling port)
Đầu nối ở bộ điều áp dùng để nạp khí cho chai chứa khí
3.4. Đầu ra lưu lượng (flow outlet)
Đầu phân phối khí đã được kiểm soát
3.5. Đồng hồ đo lưu lượng (flowgauge)
Thiết bị đo áp lực và được hiệu chuẩn theo đơn vị lưu lượng
CHÚ THÍCH Đồng hồ đo lưu lượng không đo lưu lượng trực tiếp. Đồng hồ đo lưu lượng chỉ thị lưu lượng bằng cách đo áp lực phía nguồn của lỗ định cỡ cố định.
3.6. Lưu lượng kế (flowmeter)
Thiết bị đo và chỉ thị lưu lượng của khí hoặc hỗn hợp khí cụ thể
3.7. Đầu cắm lấy khí ra (gas-specific)
Có khả năng ngăn ngừa việc nối cấp khí khác nhau với nhau
3.8. Ổ nối đầu lấy khí ra (gas-specific connection point)
Bộ phận của khối đầu nối là nơi tiếp nhận đầu dò của đầu cắm lấy khí ra
3.9. Khớp nối (nipple)
Bộ phận của bộ nối được đẩy vào và cố định trong lòng của vòi ống
3.10. Áp lực đầu vào danh nghĩa (nominal inlet pressure)
P1
áp lực phía nguồn do nhà chế tạo quy định để sử dụng cho bộ điều áp
3.11. Áp lực đầu ra danh nghĩa (nominal outlet pressure)
P2
Áp lực phía cuối danh nghĩa
CHÚ THÍCH P2 do nhà chế tạo quy định trong hướng dẫn sử dụng.
3.12. Bộ điều áp cài đặt trước (pre-set pressure regulator)
Bộ điều áp không được trang bị bộ phận để người vận hành điều chỉnh áp lực đầu ra
3.13. Đồng hồ đo áp lực (pressure gauge) Thiết bị đo và chỉ thị áp lực
3.14. Đầu ra áp lực (pressure outlet)
Đầu ra được dùng để phân phối khí ở áp lực được kiểm soát
3.15. Bộ điều áp (pressure regulator)
Thiết bị làm giảm áp lực đầu vào và duy trì áp lực đầu ra trong giới hạn quy định
3.16. Bộ điều áp có van điều chỉnh (pressure regulator integrated with cylinder valve)
Sự kết hợp của bộ điều áp và van chai chứa khí để lắp cố định vào chai chứa khí y tế
3.17. Van giảm áp (pressure-relief valve)
Thiết bị dùng để giảm áp lực vượt quá giá trị đặt trước
3.18. Van áp suất dư (residual pressure valve)
Phương tiện để duy trì áp lực tối thiểu trong chai chứa khí
3.19. Điều kiện sự cố đơn (single fault condition)
Trạng thái trong đó một phương tiện bảo vệ thiết bị khỏi một rủi ro về an toàn hoặc xuất hiện một trạng thái không bình thường ở bên ngoài
[TCVN 7303 (IEC 60601-1), 2.10.11]
4. Ký hiệu
P1 áp lực đầu vào danh nghĩa;
P2 áp lực đầu ra danh nghĩa.
Ví dụ về các bộ điều áp có van điều chỉnh lắp cùng các thuật ngữ được nêu trong Phụ lục A.
5. Yêu cầu chung
5.1. An toàn
Khi vận chuyển, bảo quản, lắp đặt, vận hành trong sử dụng bình thường và bảo dưỡng theo hướng dẫn của nhà chế tạo bộ điều áp có van điều chỉnh phải không gây ra nguy mất cơ an toàn có thể thấy trước do sử dụng quy trình phân tích rủi ro theo ISO 14971 và khi hệ thống được kết nối với ứng dụng đã dự định của nó, trong điều kiện bình thường hoặc trong điều kiện sự cố đơn.
5.2. Kết cấu thay thế
Bộ điều áp có van điều chỉnh và các thành phần hoặc bộ phận của nó có sử dụng hoặc có dạng kết cấu khác với những quy định đã nêu chi tiết trong các điều từ 5.3 đến 5.5 có thể chấp nhận được nếu chứng minh là đạt được mức độ an toàn tương đương.
Nhà chế tạo phải cung cấp các bằng chứng khi có yêu cầu.
5.3. Vật liệu
5.3.1*. Những vật liệu tiếp xúc với khí y tế đã liệt kê trong 1.1, trong quá trình sử dụng bình thường phải chịu được sự ăn mòn và thích ứng với khí oxy, các khí y tế khác và hỗn hợp của nó trong khoảng nhiệt độ quy định trong 5.3.2.
Tiêu chí để lựa chọn các vật liệu kim loại và phi kim loại nêu trong ISO15001.
CHÚ THÍCH 1 Khả năng chống ăn mòn bao gồm khả năng chống ẩm và thích hợp với vật liệu bao quanh.
CHÚ THÍCH 2 Thích ứng với oxy liên quan đến cả tính dễ cháy và dễ bắt lửa. Các vật liệu cháy trong không khí sẽ cháy mạnh trong oxy nguyên chất. Nhiều vật liệu không cháy trong không khí nhưng sẽ cháy trong oxy tinh khiết, đặc biệt là dưới áp lực. Tương tự, các vật liệu có thể bị bốc cháy trong không khí cần ít năng lượng hơn để bốc cháy trong oxy. Có nhiều vật liệu như vậy có thể bị bốc cháy bởi ma sát tại chỗ đặt van hoặc bởi nén đoạn nhiệt xảy ra khi oxy ở áp lực cao đẩy nhanh vào hệ thống ban đầu ở áp lực thấp.
5.3.2. Các vật liệu phải cho phép bộ điều áp có van điều chỉnh và các thành phần của nó đáp ứng yêu cầu của 5.4 trong khoảng nhiệt độ từ – 20oC đến + 60oC.
CHÚ THÍCH Điều kiện môi trường khu vực hoặc quốc gia có thể yêu cầu lệch với khoảng nhiệt độ này.
5.3.3. Bộ điều áp có van điều chỉnh phải đáp ứng các yêu cầu của tiêu chuẩn này sau khi bao gói để vận chuyển, bảo quản và đặt trong điều kiện môi trường như nhà chế tạo đã công bố.
5.3.4. Không được mạ kim loại các lò xo, thành phần có sức căng lớn và bộ phận có khả năng bị mòn trong tiếp xúc với khí y tế.
CHÚ THÍCH Lớp mạ có thể bong khỏi bề mặt thành phần.
5.3.5*. Không được sử dụng nhôm hoặc hợp kim nhôm đối với các bộ phận của bộ điều áp có bề mặt tiếp xúc với khí tại áp lực chai trong điều kiện bình thường hoặc điều kiện sự cố đơn.
5.3.6. Nhà chế tạo phải cung cấp bằng chứng về sự phù hợp với các yêu cầu của 5.3.1, 5.3.2, 5.3.3, 5.3.4 và 5.3.5, khi cần.
5.4. Yêu cầu thiết kế
5.4.1. Đồng hồ đo áp lực và đồng hồ đo lưu lượng
5.4.1.1. Nếu sử dụng đồng hồ đo áp lực ống Bourdon hoặc đồng hồ đo lưu lượng, chúng phải phù hợp với EN 837-1, ngoại trừ kích thước danh nghĩa nhỏ nhất.
Phải áp dụng các yêu cầu trong các điều từ 5.4.1.2 đến 5.4.1.7 cho tất cả các loại đồng hồ đo áp lực và đồng hồ đo lưu lượng.
5.4.1.2. Đầu nối phải có ren phù hợp với EN 837-1 hoặc phải có đầu nối chuyên dùng.
5.4.1.3. Giá trị chỉ thị của đồng hồ đo áp lực hoặc đồng hồ đo lưu lượng phải rõ ràng đối với người vận hành có độ sáng rõ là 1 (có điều chỉnh nếu cần) cách đồng hồ đo với cường độ sáng bằng 215 lx.
5.4.1.4. Thang đo của đồng hồ đo áp lực chai chứa khí phải kéo dài đến áp lực lớn hơn áp lực đầu vào danh nghĩa, P1, ít nhất là 33 %.
CHÚ THÍCH Ngoài khoảng thang đo trong EN 837-1, còn có thể sử dụng đồng hồ đo áp lực có khoảng thang đo từ 0 kPa đến 31 500 kPa (315 bar).
5.4.1.5. Đồng hồ đo áp lực chai chứa khí, đồng hồ đo áp lực đầu ra hoặc đồng hồ đo lưu lượng phải là cấp 2,5 hoặc tốt hơn theo EN 837-1.
5.4.1.6. Đầu nối của đồng hồ đo áp lực có khoảng thang đo lớn hơn 4 000 kPa phải được lắp với lỗ định cỡ có diện tích không lớn hơn 0,1 mm2.
5.4.1.7. Nhà chế tạo phải cung cấp bằng chứng về sự phù hợp với các yêu cầu của 5.4.1.1 và 5.4.1.5 khi cần. Kiểm tra sự phù hợp với các yêu cầu của 5.4.1.2, 5.4.1.3, 5.4.1.4 và 5.4.1.6 bằng cách quan sát kỹ hoặc đo lường khi yêu cầu.
5.4.2. Đầu vào của bộ điều áp
5.4.2.1*. Đầu vào của bộ điều áp có khả năng phân định khí y tế dự định sử dụng cho bộ điều áp.
5.4.2.2. Đầu vào của bộ điều áp phải, hoặc
a) phù hợp với ISO 407, ISO 5145 hoặc tiêu chuẩn quốc gia hoặc khu vực liên quan (xem ISO/TR 7470 để có thông tin) hoặc b) có bộ nối thích hợp.
5.4.2.3. Đầu vào của bộ điều áp phải lắp với phương tiện (ví dụ van một chiều và/hoặc nút hoặc nắp) cho phép bộ điều áp có van điều chỉnh đáp ứng yêu cầu rò rỉ bên ngoài trong 5.4.13.1. Nắp kín áp lực và nút được thiết kế sao cho phải sử dụng dụng cụ chuyên dùng mới tháo ra được.
5.4.2.4. Nếu lắp van một chiều, phải phù hợp với 5.4.13.1 sau 1 000 chu trình mở và đóng. Phép thử được mô tả trong 6.14.
5.4.2.5. Phải trang bị phương tiện để giảm thiểu khả năng đầu vào của bộ điều áp bị hỏng.
CHÚ THÍCH Các phương tiện như vậy có thể là bộ lọc hoặc nắp có thể tháo rời.
Nhà chế tạo phải cung cấp bằng chứng khi cần.
5.4.2.6. Phải trang bị phương tiện để giảm thiểu khả năng đầu vào của bộ điều áp được sử dụng cho mục đích khác.
Nhà chế tạo phải cung cấp bằng chứng khi cần.
5.4.3. Bộ nối
5.4.3.1. Thân van
Nếu thân van sử dụng ren côn, thân van phải phù hợp với ISO 10920 hoặc ISO 11116-1 hoặc tiêu chuẩn quốc gia hoặc khu vực. Nếu thân van sử dụng ren ngang, thân van phải phù hợp với ISO 15245-1 hoặc tiêu chuẩn quốc gia hoặc khu vực.
Nhà chế tạo phải cung cấp bằng chứng khi cần.
5.4.3.2. Bộ nối đầu ra
5.4.3.2.1. Yêu cầu chung
Bộ nối đầu ra phải phù hợp với 5.4.3.2.2 và/hoặc 5.4.3.2.3.
CHÚ THÍCH Bộ điều áp có van điều chỉnh có thể có nhiều đầu ra và có thể có cả đầu ra áp lực và đầu ra lưu lượng.
5.4.3.2.2*. Đầu ra lưu lượng
Đầu ra lưu lượng phải được lắp với khớp nối cố định hoặc bộ nối có ren.
Khớp nối nếu sử dụng, phải phù hợp với EN 13544-2.
Bộ nối có ren sử dụng cho oxy hoặc không khí để thở phải phù hợp với EN 13544-2. Bộ nối có ren sử dụng cho các khí khác phải phù hợp với tiêu chuẩn quốc gia hoặc khu vực hoặc phải có bộ nối chuyên dùng.
Đầu ra lưu lượng không được lắp lên bộ điều áp có van điều chỉnh dự định sử dụng với không khí hoặc nitơ để truyền động dụng cụ phẫu thuật.
5.4.3.2.3. Đầu ra áp lực
Đầu ra áp lực phải được lắp với một trong các thành phần sau đây:
a) khối đầu nối hoặc ổ nối đầu lấy khí ra phù hợp với ISO 9170-1, đối với các khí y tế sau:
– oxy;
– khí gây mê;
– không khí để thở;
– cacbon ôxit;
– hỗn hợp oxy/khí gây mê 50/50 % (phần thể tích);
– không khí để truyền động dụng cụ phẫu thuật;
– khí nitơ để truyền động dụng cụ phẫu thuật;
– các khí khác đối với khối đầu nối hiện có trong tiêu chuẩn quốc gia hoặc khu vực;
CHÚ THÍCH Kết nối của khối đầu nối hoặc ổ nối đầu lấy khí ra với thân bộ điều áp không cần phải là đầu cắm lấy khí ra.
b) thân khối đầu nối của NIST hoặc DISS phù hợp với ISO 5359, ngoại trừ tiêu chuẩn quốc gia hoặc khu vực hiện có cho khối đầu nối, đối với các khí y tế sau:
– heli;
– xenon;
– hỗn hợp oxy và khí gây mê (ngoại trừ 50/50 % phần thể tích);
– hỗn hợp oxy và hêli;
– hỗn hợp oxy và cacbon dioxit.
c) bộ nối phù hợp với tiêu chuẩn quốc gia hoặc khu vực.
5.4.4*. Áp lực đầu ra
5.4.4.1. Quy định chung
Yêu cầu áp lực đối với đầu ra áp lực được nêu trong 5.4.4.2.2 và 5.4.4.2.3.
Yêu cầu áp lực đối với đầu ra lưu lượng được nêu trong 5.4.4.3.
5.4.4.2. Đầu ra áp lực
5.4.4.2.1. Quy định chung
Nếu bộ điều áp có van điều chỉnh được lắp với đầu ra áp lực thì bộ điều áp phải được cài đặt trước.
5.4.4.2.2. Áp lực đầu ra danh nghĩa P2
Áp lực đầu ra danh nghĩa, P2, phải là:
– 400
kPa đối với khí y tế, ngoại trừ không khí hoặc khí nitơ để truyền động dụng cụ phẫu thuật, hoặc
– 800
kPa đối với không khí hoặc khí nitơ để truyền động dụng cụ phẫu thuật.
5.4.4.2.3*. Giới hạn áp lực đầu ra
Áp lực đầu ra từ bộ điều áp có van điều chỉnh lắp với đầu ra áp lực (ngoại trừ không khí hoặc nitơ để truyền động dụng cụ phẫu thuật) phải không nhỏ hơn 360 kPa và không lớn hơn 550 kPa tại bất kỳ lưu lượng nào giữa zero và 40 l/min đối với mọi giá trị áp lực đầu vào từ P1 đến 1 000 kPa.
Áp lực đầu ra từ bộ điều áp có van điều chỉnh lắp với đầu ra áp lực đối với không khí hoặc nitơ để truyền động dụng cụ phẫu thuật phải không nhỏ hơn 595 kPa và không lớn hơn 1 150 kPa tại bất kỳ lưu lượng nào giữa zero và 350 l/min đối với mọi giá trị áp lực đầu vào từ P1 đến 2 000 kPa.
Trên bộ điều áp có van điều chỉnh lắp với nhiều đầu ra áp lực, mỗi đầu ra áp lực phải có khả năng đáp ứng các yêu cầu này cho dù tất cả các đầu ra hoạt động đồng thời.
Phép thử giới hạn áp lực đầu ra được mô tả trong 6.2.2.
5.4.4.3. Đầu ra lưu lượng
Áp lực ngay tại phía nguồn của cơ cấu kiểm soát lưu lượng phải không nhỏ hơn 550 kPa đối với áp lực đầu vào giữa P1 và 1 000 kPa đối với mọi giá trị cài đặt lưu lượng bao gồm cả lưu lượng zero. Phép thử giới hạn áp lực đầu ra lưu lượng được mô tả trong 6.2.3.
5.4.5. Đồng hồ chỉ thị áp lực chai chứa khí hoặc chỉ thị loại khí
Bộ điều áp có van điều chỉnh phải lắp với đồng hồ đo áp lực chai chứa khí hoặc với phương tiện tương đương để chỉ thị áp lực khí hoặc loại khí chứa trong chai.
CHÚ THÍCH Trong chai chứa khí hóa lỏng (ví dụ khí gây mê) áp lực có thể không biểu thị cho loại khí.
5.4.6. Kiểm soát và hiển thị lưu lượng
Nếu bộ điều áp có van điều chỉnh được lắp với đầu ra lưu lượng phù hợp với 5.4.3.2.2, thì bộ điều áp này cũng phải được lắp với phương tiện kiểm soát lưu lượng và phương tiện hiển thị lưu lượng hoặc cài đặt giá trị kiểm soát lưu lượng (xem 5.4.16, 5.4.17 và 5.4.18).
5.4.7. Van kiểm soát lưu lượng
5.4.7.1. Nếu lắp van kiểm soát lưu lượng, nút bấm kiểm soát lưu lượng và trục quay van phải được giữ sao cho không thể tháo chúng ra khi không sử dụng dụng cụ.
Kiểm tra sự phù hợp bằng cách cố gắng tháo nút bấm và trục quay không sử dụng dụng cụ
5.4.7.2. Van kiểm soát lưu lượng phải được thiết kế sao cho lưu lượng tăng lên khi nút bấm bị xoay ngược chiều kim đồng hồ.
Kiểm tra sự phù hợp bằng cách xem xét kỹ.
5.4.8. Cơ cấu điều chỉnh áp lực
5.4.8.1. Nếu có lắp cơ cấu điều chỉnh áp lực thì dụng cụ này phải được giữ sao cho không thể tháo chúng ra khi không sử dụng dụng cụ.
Kiểm tra sự phù hợp bằng cách cố gắng tháo bộ phận điều chỉnh áp lực không sử dụng dụng cụ.
5.4.8.2. Bộ điều áp có van điều chỉnh phải được thiết kế sao cho van điều áp không thể giữ ở vị trí mở vì như vậy thì lò xo bộ điều áp bị ép đến hết chiều dài của nó
Nhà chế tạo phải cung cấp bằng chứng về sự phù hợp khi cần.
5.4.8.3. Khi sử dụng cơ cấu điều chỉnh áp lực, cơ cấu này phải không có khả năng cài đặt áp lực khi van giảm áp mở.
Nhà chế tạo phải cung cấp bằng chứng sự phù hợp khi cần.
5.4.9. Lọc
Bộ điều áp có van điều chỉnh phải được lắp bộ lọc ở phía đầu vào để ngăn cản các phần tử lớn hơn 100 µm lọt vào bộ điều áp.
Nhà chế tạo phải cung cấp bằng chứng về sự phù hợp khi cần.
5.4.10. Bộ phận đóng khí
Phải trang bị phương tiện để đóng dòng khí từ chai chứa khí trong quá trình vận hành bình thường và trong điều kiện đơn lỗi.
CHÚ THÍCH Yêu cầu này có thể được đáp ứng, ví dụ bằng phương tiện đóng đầu dòng của van điều áp.
Bộ phận đóng khí phải đáp ứng các yêu cầu trong 5.4.13.1 và 5.4.13.3 sau 2 000 chu kỳ đóng và mở. Phương pháp thử được mô tả trong 6.13.
Nếu bộ phận đóng khí là dụng cụ vận hành đẩy tay, thì áp dụng các yêu cầu liên quan đến rò rỉ khí nêu trong ISO 10297.
5.4.11. Van áp suất dư
Van áp suất dư nếu được trang bị thì phải được thiết kế để duy trì áp lực khí trong chai ít nhất là 300 kPa, sau khi sử dụng.
Phải trang bị phương tiện có khả năng thoát lượng khí tồn d- bằng cách sử dụng dụng cụ thích hợp và cho phép chai chứa khí được làm sạch hoặc được xả trước khi nạp đầy.
Kiểm tra sự phù hợp bằng cách xem xét kỹ.
CHÚ THÍCH ISO 15996 có các thông tin về van áp suất dư.
5.4.12*. Van giảm áp
Van giảm áp phải được trang bị như là một bộ phận của bộ điều áp có van điều chỉnh. Van giảm áp phải được cài đặt trước hoặc không điều chỉnh được nếu không sử dụng dụng cụ chuyên dùng.
Rò rỉ khí từ van giảm áp phải phù hợp với yêu cầu của 5.4.13.1 đến áp lực là 550 kPa đối với khí y tế (ngoại trừ với không khí hoặc khí nitơ để truyền động dụng cụ phẫu thuật) và là 1 150 kPa đối với không khí hoặc khí nitơ để truyền động dụng cụ phẫu thuật.
Van giảm áp phải tự động nâng lên để xả quá áp và phải đặt lại ở áp lực ≥ 550 kPa đối với khí y tế (ngoại trừ với không khí hoặc khí nitơ để truyền động dụng cụ phẫu thuật) và là 1 150 kPa đối với không khí hoặc khí nitơ để truyền động dụng cụ phẫu thuật.
Lượng xả từ van giảm áp phải bằng hoặc lớn hơn lưu lượng lớn nhất dự báo qua van điều áp trong điều kiện sự cố đơn tại áp lực đầu ra là 1 000 kPa đối với khí y tế (ngoại trừ với không khí hoặc khí nitơ để truyền động dụng cụ phẫu thuật) và 2 000 kPa đối với không khí hoặc khí nitơ để truyền động dụng cụ phẫu thuật.
Van giảm áp phải được lắp ráp sao cho khí được xả an toàn.
Nhà chế tạo phải xác định lưu lượng lớn nhất dự báo qua van điều áp trong điều kiện sự cố đơn và phải có sẵn khi cần.
CHÚ THÍCH Điều kiện sự cố đơn điển hình là các hạt ở chân van và hư hỏng hoặc mất vật liệu chân van.
Phép thử đối với van giảm áp nêu trong 6.3.
5.4.13. Rò rỉ
5.4.13.1. Toàn bộ rò rỉ bên ngoài ra khí quyển không được vượt quá 0,2 ml/min (tương đương với phân rã áp lực 0,0202 kPa.l/min).
Phép thử đối với toàn bộ rò rỉ bên ngoài được mô tả trong 6.4.1.
5.4.13.2. Rò rỉ bên trong qua van điều áp không được vượt quá 0,2 ml/min (tương đương với phân rã áp lực 0,0202 kPa.l/min).
Phép thử đối với rò rỉ bên trong được mô tả trong 6.4.2.
5.4.13.3. Rò rỉ bên trong qua bộ phận đóng khí không được vượt quá 0,1 ml/min (tương đương với phân rã áp lực 0,0101 kPa.l/min) khi đóng theo hướng dẫn của nhà chế tạo
Phép thử đối với rò rỉ bên trong qua bộ phận đóng khí được mô tả trong 6.4.3.
5.4.14. Độ bền cơ
5.4.14.1. Phía cao áp của bộ điều áp có van điều chỉnh phải có khả năng chịu được 2,25 lần áp lực đầu vào danh nghĩa, P1, trong vòng 5 phút không nứt vỡ.
Phép thử được mô tả trong 6.5.1
5.4.14.2. Phía hạ áp của bộ điều áp có van điều chỉnh kể cả toàn bộ cơ cấu kiểm soát lưu lượng (ngoại trừ với không khí hoặc khí nitơ để vận chuyển dụng cụ phẫu thuật) phải có khả năng chịu được áp lực 2 200 kPa trong vòng 5 phút không nứt vỡ.
Phép thử được mô tả trong 6.5.2.1
CHÚ THÍCH 2 200 kPa là 4 lần áp lực đầu ra lớn nhất cho phép của 550 kPa (xem 5.4.4.2.3).
5.4.14.3. Phía hạ áp của bộ điều áp có van điều chỉnh đối với không khí hoặc khí nitơ để truyền động dụng cụ phẫu thuật phải có khả năng chịu được áp lực 4 600 kPa trong vòng 5 phút không nứt vỡ.
Phép thử được mô tả trong 6.5.2.1
CHÚ THÍCH 4 600 kPa là 4 lần áp lực đầu ra lớn nhất cho phép của 1 150 kPa (xem 5.4.4.2.3).
5.4.14.4. Các thành phần của bộ điều áp có van điều chỉnh không được văng ra nếu khoang hạ áp của bộ điều áp tiếp cận tới áp lực đầu vào danh nghĩa, P1 (ví dụ, nếu van điều chỉnh nâng lên ở vị trí mở và bộ nối đầu ra bị mở). Khí cao áp phải được chặn lại hoặc thoát ra an toàn.
Phép thử được mô tả trong 6.5.2.2.
5.4.14.5. Bộ điều áp có van điều chỉnh để lắp ráp với chai chứa khí có nắp hoặc lá chắn bảo vệ phù hợp với ISO 11117 không được nứt vỡ khi thực hiện phép thử rơi với bộ phận đóng khí mở hết cỡ. Sau phép thử rơi, bộ phận đóng khí phải đóng lại với mômen đóng do nhà chế tạo quy định và bộ điều áp có van điều chỉnh phải phù hợp với 5.4.13. Sau phép thử rơi, van một chiều, nếu được lắp, phải phù hợp với 5.4.13.1.
CHÚ THÍCH Tình trạng vặn xoắn của bộ điều áp có van điều chỉnh là điều bình thường trong phép thử rơi.
Phép thử rơi được mô tả trong 6.11.
5.4.14.6. Nếu bộ điều áp có van điều chỉnh để lắp ráp với chai chứa khí không có nắp hoặc lá chắn bảo vệ phù hợp với ISO 11117, phải thực hiện phép thử va đập với bộ phận đóng khí mở hết cỡ. Sau phép thử va đập, phải có khả năng đóng bộ phận đóng khí phù hợp với hướng dẫn của nhà chế tạo và không có nguy hiểm về an toàn (ví dụ do xả khí hoặc văng các bộ phận) khi dụng cụ được tạo áp.
CHÚ THÍCH Tổn thất chức năng hoặc tình trạng vặn xoắn của bộ điều áp có van điều chỉnh không phải là hư hỏng của phép thử va đập
Phép thử va đập được mô tả trong 6.1.2.
5.4.15*. Khả năng chịu cháy
Bộ điều áp có van điều chỉnh đối với tất cả các loại khí y tế phải không tự cháy hoặc biểu hiện rất nóng ở bên trong khi chịu sốc áp lực oxy.
Phép thử khả năng chịu cháy được mô tả trong 6.6.
5.4.16. Yêu cầu đối với bộ điều áp có van điều chỉnh lắp với lưu lượng kế
5.4.16.1. Thang đo và bộ hiển thị của lưu lượng kế
Lưu lượng kế phải được chia độ với đơn vị là lít trên phút (l/min) hoặc với lưu lượng bằng hoặc nhỏ hơn 1 l/min thì đơn vị là mililit trên phút (ml/min).
Kiểm tra sự phù hợp bằng cách xem xét kỹ.
5.4.16.2. Độ rõ
Giá trị chỉ thị của lưu lượng kế phải rõ ràng với người vận hành có độ sáng rõ là 1 (có hiệu chỉnh nếu cần), cách lưu lượng kế 1 m với cường độ sáng 215 lx.
5.4.16.3. Độ chính xác của lưu lượng
Độ chính xác của lưu lượng trên toàn khoảng chia độ của lưu lượng kế phải trong phạm vi ± 10 % giá trị hiển thị đối với lưu lượng từ 10 % đến 100 % toàn thang đo hoặc ± 0,5 l/min, chọn giá trị nào lớn hơn, khi dòng xả ra môi trường khí quyển và được hiệu chỉnh về các điều kiện tham khảo (xem 6.1.3)
Độ chính xác của lưu lượng trên toàn khoảng chia độ của lưu lượng kế có lưu lượng tối đa là 1 l/min hoặc nhỏ hơn phải ở trong phạm vi ± 10 % toàn thang đo.
Phép thử độ chính xác của lưu lượng được mô tả trong 6.7.
Để tăng độ chính xác và giảm nguy cơ tích tĩnh điện, phải trang bị phương tiện để giảm thiểu sự tích tụ nạp tĩnh điện cả hai phía bên trong và bên ngoài của ống và vỏ lưu lượng kế.
5.4.16.4. Độ ổn định của lưu lượng
Dòng chảy thực tế, tại lưu lượng tối đa do nhà chế tạo quy định, không được thay đổi lớn hơn ± 10 % so với giá trị áp lực đầu vào khi giảm từ P1 đến 1 000 kPa.
Phép thử độ ổn định của lưu lượng được mô tả trong 6.8.
5.4.17. Yêu cầu đối với bộ điều áp có van điều chỉnh lắp với đồng hồ đo lưu lượng
5.4.17.1. Hiệu chuẩn
Đồng hồ đo lưu lượng phải được hiệu chuẩn đối với lỗ định cỡ cố định xác định và phải có vạch chia theo đơn vị lít trên phút (l/min).
5.4.17.2. Độ chính xác của lưu lượng
Độ chính xác của lưu lượng trên toàn khoảng chia độ của đồng hồ đo lưu lượng phải trong phạm vi ± 10 % giá trị hiển thị đối với lưu lượng từ 10 % đến 100 % toàn thang đo hoặc ± 0,5 l/min, chọn giá trị nào lớn hơn, khi dòng xả ra môi trường khí quyển và được hiệu chỉnh về các điều kiện tham khảo (xem 6.1.3).
Phép thử độ chính xác của lưu lượng được mô tả trong 6.7.
5.4.17.3. Độ ổn định của lưu lượng
Dòng chảy thực tế, tại lưu lượng tối đa do nhà chế tạo quy định, không được thay đổi lớn hơn ± 20 % so với giá trị áp lực đầu vào khi giảm từ P1 đến 1 000 kPa.
Phép thử độ ổn định của lưu lượng được mô tả trong 6.8.
5.4.18. Yêu cầu đối với bộ điều áp có van điều chỉnh lắp lỗ định cỡ cố định
5.4.18.1. Độ ổn định và độ chính xác của lưu lượng
Lưu lượng thực tế phải trong phạm vi ± 20 % của mỗi giá trị công bố đối với lưu lượng lớn hơn 1,5 l/min hoặc ± 30 % của mỗi giá trị công bố đối với lưu lượng 1,5 l/min hoặc nhỏ hơn so với giá trị áp lực đầu vào khi giảm từ P1 đến 1 000 kPa.
Phép thử độ ổn định và độ chính xác của lưu lượng được mô tả trong 6.9.
5.4.18.2*. Mô men đặt lưu lượng
Nếu có nhiều lỗ định cỡ, lực tiếp tuyến yêu cầu tại bán kính lớn nhất của cơ cấu lựa chọn lưu lượng để thay đổi từ vị trí “đóng” và từ vị trí này đến vị trí khác không được nhỏ hơn 5 N và không lớn hơn 50 N.
Phép thử mô men đặt lưu lượng được mô tả trong 6.10.
Cơ cấu lựa chọn lưu lượng được thiết kế để tự định tâm trong dòng cài đặt và để giảm thiểu khả năng chọn phải các vị trí không có lưu lượng (ví dụ giữa các cài đặt kế tiếp) ngoại trừ cài đặt lưu lượng zero.
5.4.18.3. Tháo lỗ định cỡ cố định
Tháo lỗ định cỡ cố định cần phải sử dụng dụng cụ.
5.5. Yêu cầu kết cấu
5.5.1*. Độ sạch
Các linh kiện tiếp xúc với khí y tế trong quá trình sử dụng bình thường của bộ điều áp có van điều chỉnh đối với tất cả các loại khí phải đáp ứng yêu cầu độ sạch trong ISO 15001.
Nhà chế tạo phải cung cấp bằng chứng về sự phù hợp với yêu cầu này khi cần.
5.5.2. Chất bôi trơn
Nếu sử dụng chất bôi trơn, chúng phải tương thích với oxy, các khí y tế khác liệt kê trong 1.1 và hỗn hợp của chúng ở khoảng nhiệt độ quy định trong 5.3.2. Nhà chế tạo phải cung cấp bằng chứng về sự phù hợp với yêu cầu này khi cần.
CHÚ THÍCH Lưu ý phụ lục D của ISO 15001:2003.
5.5.3. Momen nới lỏng
5.5.3.1. Mômen cần để tháo đầu vào của bộ điều áp (nếu có thể tháo ra) khỏi thân bộ điều áp có van điều chỉnh phải ≥ 50 Nm.
5.5.3.2. Mômen cần để tháo bộ nối đầu ra khỏi thân bộ điều áp có van điều chỉnh phải ≥ 12 Nm.
5.5.3.3. Mômen cần để tháo van kiểm soát lưu lượng (nếu được lắp) khỏi thân bộ điều áp có van điều chỉnh phải ≥ 20 Nm.
5.5.3.4. Mômen cần để tháo đồng hồ đo áp lực hoặc đồng hồ đo lưu lượng (nếu được lắp) khỏi thân bộ điều áp có van điều chỉnh phải ≥ 12 Nm.
5.5.3.5. Mômen cần để tháo lưu lượng kế (nếu được lắp) khỏi thân bộ điều áp có van điều chỉnh phải ≥ 20 Nm.
5.5.3.6. Mômen cần để tháo chốt hoặc nắp (nếu được lắp) khỏi đầu vào của bộ điều áp phải ≥ 20 Nm.
Phép thử mômen nới lỏng được mô tả trong 6.10.
6. Phương pháp thử
6.1. Điều kiện
6.1.1. Quy định chung
Các phép thử này là phép thử kiểu.
6.1.2. Điều kiện môi trường
Ngoại trừ các công bố khác, tiến hành các phép thử ở điều kiện khí quyển.
6.1.3. Khí thử
Trong mọi trường hợp tiến hành các phép thử với không khí sạch, không dầu hoặc khí nitơ có hàm ẩm tối đa là 50 µg/g tương ứng với điểm sương là – 48oC tại áp suất khí quyển.
Khi bộ điều áp có van điều chỉnh được thử với khí khác, lưu lượng phải được chuyển đổi bằng cách sử dụng hệ số chuyển đổi nêu trong Bảng 1.
Bảng 1 – Hệ số chuyển đổi
|
Khí dự kiến a |
Hệ số chuyển đổi |
|
|
khí thử là không khí |
khí thử là nitơ |
|
|
Không khí |
1 |
0,98 |
|
oxy |
0,95 |
0,93 |
|
Nitơ |
1,02 |
1 |
|
N2O |
0,81 |
0,79 |
|
CO2 |
0,81 |
0,79 |
|
Hêli |
2,69 |
2,65 |
|
Xenon |
0,47 |
0,46 |
|
a Lưu lượng khí dự kiến = lưu lượng khí thử x hệ số chuyển đổi |
||
6.1.4. Điều kiện chuẩn
Hiệu chỉnh lưu lượng về tại 15oC và 101,3 kPa.
6.2. Phương pháp thử áp lực đầu ra
6.2.1. Thiết bị thử
Thiết bị thử điển hình nêu trong Hình 1.

CHÚ DẪN
1 bộ điều áp phụ 6 cơ cấu điều chỉnh áp lực
2 nguồn cấp khí 7 van kiểm soát lưu lượng
3 chai chứa khí đệm 8 lưu lượng kế
4 đồng hồ đo đã hiệu chỉnh 9 nhiệt kế
5 bộ điều áp có van điều chỉnh đưa thử
a tối đa là 1 m.
Hình 1 – Thiết bị thử áp lực và lưu lượng
Phải đảm bảo tất cả thiết bị, bao gồm van kiểm soát lưu lượng, có lưu lượng lớn hơn lưu lượng của bộ điều áp có van điều chỉnh đưa thử.
6.2.2. Phương pháp thử để xác định giới hạn áp lực đầu ra đối với bộ điều áp có van điều chỉnh có lắp đầu ra áp lực
Phép thử này chỉ áp dụng cho bộ điều áp có van điều chỉnh có lắp đầu ra áp lực.
Đặt áp lực P1 vào đầu vào của bộ điều áp có van điều chỉnh đối với khí y tế (ngoại trừ không khí hoặc khí nitơ để truyền động dụng cụ phẫu thuật). Đặt lưu lượng tại 40 l/min và đo áp lực đầu ra ngay tại phía cuối nguồn của đầu ra áp lực. Giảm lưu lượng đến zero và đo áp lực đầu ra ngay tại phía cuối nguồn của đầu ra áp lực. Lặp lại phép thử tại áp lực đầu vào 1 000 kPa. Kiểm tra xác nhận rằng tất cả các giá trị áp lực đầu ra đã đo được đều nằm trong khoảng các giới hạn đã nêu trong 5.4.4.2.3.
Đặt áp lực P1 tại đầu vào của bộ điều áp có van điều chỉnh đối với không khí hoặc khí nitơ để truyền động dụng cụ phẫu thuật. Đặt lưu lượng tại 350 l/min và đo áp lực đầu ra ngay tại phía cuối nguồn của đầu ra áp lực. Giảm lưu lượng đến zero và đo áp lực đầu ra ngay tại phía cuối nguồn của đầu ra áp lực. Lặp lại phép thử tại áp lực đầu vào 2 000 kPa. Kiểm tra xác nhận rằng tất cả các giá trị áp lực đầu ra đã đo được đều nằm trong khoảng các giới hạn đã nêu trong 5.4.4.2.3.
6.2.3. Phương pháp thử xác định giới hạn áp lực đầu ra đối với bộ điều áp có van điều chỉnh có lắp đầu ra lưu lượng
Phép thử này chỉ áp dụng cho bộ điều áp có van điều chỉnh có lắp đầu ra lưu lượng.
Đặt áp lực P1 tại đầu vào của bộ điều áp có van điều chỉnh. Đặt lưu lượng đến giá trị lưu lượng chỉ thị tối đa và đo áp lực ngay tại phía đầu nguồn của cơ cấu kiểm soát áp lực. Giảm lưu lượng đến zero và đo áp lực ngay phía đầu nguồn của cơ cấu kiểm soát áp lực. Lặp lại hai phép đo áp lực với áp lực 1 000 kPa đã đặt tại đầu vào. Kiểm tra xác nhận rằng các giá trị áp lực đo được đều thấp hơn các giới hạn đã quy định trong 5.4.4.3.
6.3. Phương pháp thử van giảm áp
Về phía hạ áp của bộ điều áp có van điều chỉnh, đặt áp lực tăng đến 550 kPa (ngoại trừ không khí hoặc khí nitơ để truyền động dụng cụ phẫu thuật) hoặc đến 1 150 kPa đối với không khí hoặc khí nitơ để truyền động dụng cụ phẫu thuật. Tại áp lực này kiểm tra xác nhận rằng tổng lượng khí rò rỉ qua van giảm áp đều thấp hơn 0,2 l/min (tương đương với giảm áp lực là 0,0202 kPa.l/min).
Tăng áp lực đã đặt đến khi dòng đạt tới giá trị lưu lượng tối đa đã dự báo trước (xem 5.4.12). Kiểm tra xác nhận rằng áp lực xuôi dòng của bộ nối đầu ra phù hợp với các yêu cầu của 5.4.12.
Giảm áp lực đến 550 kPa (ngoại trừ không khí hoặc khí nitơ để truyền động dụng cụ phẫu thuật) hoặc đến 1 150 kPa đối với không khí hoặc khí nitơ để truyền động dụng cụ phẫu thuật. Tại áp lực này kiểm tra xác nhận rằng tổng lượng khí rò rỉ qua van giảm áp đều thấp hơn 0,2 l/min (tương đương với giảm áp lực là 0,0202 kPa.l/min).
6.4. Phương pháp thử rò rỉ
6.4.1. Rò rỉ bên ngoài
Đo tổng rò rỉ bên ngoài của bộ điều áp có van điều chỉnh tại áp lực đầu vào danh nghĩa, P1, và tại áp lực đầu ra 550kPa (ngoại trừ đối với không khí hoặc khí nitơ để truyền động dụng cụ phẫu thuật) hoặc tại 1 150 kPa đối với không khí hoặc khí nitơ để truyền động dụng cụ phẫu thuật, với bộ phận đóng khí mở và với tất cả các đầu ra đóng hoặc cơ cấu lựa chọn lưu lượng đặt tại lưu lượng zero.
6.4.2. Rò rỉ bên trong
6.4.2.1. Bộ điều áp có thể điều chỉnh
Đo rò rỉ bên trong qua van điều áp tại áp lực đầu vào danh nghĩa, P1, với cơ cấu điều chỉnh áp lực đặt áp lực đầu ra zero và với đầu ra mở.
Lặp lại phép thử sử dụng áp lực đầu vào 1 000 kPa đối với khí y tế (ngoại trừ đối với không khí hoặc khí nitơ để truyền động dụng cụ phẫu thuật).
Lặp lại phép thử sử dụng áp lực đầu vào 2 000 kPa đối với không khí hoặc khí nitơ để truyền động dụng cụ phẫu thuật.
6.4.2.2. Bộ điều áp cài đặt trước
Bằng cách kiểm tra áp lực, đo rò rỉ bên trong tại áp lực đầu vào danh nghĩa, P1, với đầu ra đóng.
Lặp lại phép thử sử dụng áp lực đầu vào 1 000 kPa đối với khí y tế (ngoại trừ đối với không khí hoặc khí nitơ để truyền động dụng cụ phẫu thuật).
Lặp lại phép thử sử dụng áp lực đầu vào 2 000 kPa đối với không khí hoặc khí nitơ để vận chuyển dụng cụ phẫu thuật.
6.4.3. Rò rỉ bên trong qua bộ phận đóng khí
Đo rò rỉ bên trong tại áp lực đầu vào danh nghĩa, P1, với bộ phận đóng khí bị đóng phù hợp với hướng dẫn của nhà chế tạo.
6.5. Phương pháp thử độ bền cơ
6.5.1. Phía cao áp
Đối với bộ điều áp có van điều chỉnh có thể điều chỉnh, phải đảm bảo cơ cấu điều chỉnh áp lực ở vị trí khi van điều áp bị đóng và bộ phận đóng khí mở.
Đối với bộ điều áp có van điều chỉnh cài đặt trước, phải nút kín đầu ra.
Thay đồng hồ áp lực chai chứa khí bằng một nút. Sức ép thủy lực phía cao áp của bộ điều áp có van điều chỉnh đến 2,25 lần áp lực đầu vào danh nghĩa, P1, trong vòng 5 phút. Xác minh rằng bộ điều áp có van điều chỉnh không bị nứt vỡ.
6.5.2. Phía hạ áp
6.5.2.1. Thay van giảm áp và đồng hồ đo áp lực đầu ra, nếu được lắp, bằng các nút. Nếu cần, để giữ áp lực thử, thay bằng màn chắn. Sức ép khoang đầu ra của bộ điều áp có van điều chỉnh tới 2 200 kPa đối với khí y tế (ngoại trừ đối với không khí hoặc khí nitơ để truyền động dụng cụ phẫu thuật) hoặc tới 4 600 kPa đối với không khí hoặc khí nitơ để truyền động dụng cụ phẫu thuật, trong vòng 5 phút. Kiểm tra xác nhận rằng bộ điều áp có van điều chỉnh không bị nứt vỡ.
6.5.2.2. Với van giảm áp giữ ở vị trí mở hoặc đã tháo dỡ và các đầu ra của đầu ra lưu lượng và/hoặc đầu ra áp lực để trống, đặt áp lực khí nén P1 lên đầu vào của bộ điều áp có van điều chỉnh. Kiểm tra xác nhận rằng không thấy bộ phận nào bị văng ra và khí có áp lực cao được lưu giữ hoặc xả an toàn.
6.6. Phương pháp thử khả năng chịu cháy
6.6.1. Quy định chung
Đặt bộ điều áp có van điều chỉnh vào tình trạng sốc áp lực oxy công nghiệp (độ tinh khiết ít nhất là 99,5 % và hydro cacbon nhỏ hơn hoặc bằng 10 µg/g) qua đầu vào của bộ điều áp. Thiết bị thử nêu trong Hình 2. Trước khi bắt đầu phép thử, bộ điều áp có van điều chỉnh phải ở nhiệt độ phòng.
Đặt sốc áp lực bằng cách tăng áp lực từ áp suất khí quyển đến áp lực thử trong thời gian là 20
ms đo ở phía nguồn khi thử bộ điều áp có van điều chỉnh (vị trí 10 trên Hình 2). Sử dụng áp lực thử ban đầu bằng 1,2 lần áp lực đầu vào danh nghĩa, P1, tại 60oC ± 3oC. Trong quá trình thử áp lực (thử) đầu vào không được giảm quá 3 %.
Đặt bộ điều áp có van điều chỉnh khi thử một loạt 20 sốc áp lực trong khoảng 30 s với đầu ra đóng. Sau mỗi lần sốc áp lực duy trì áp lực thử trong vòng 10 s sau đó làm cho áp lực trở lại áp lực khí quyển bằng phương tiện van đầu ra phía cuối (vị trí 5 trong Hình 2) và giữ ở áp lực khí quyển trong vòng ít nhất là 3 s (xem Hình 3).
Sau khi hoàn thành phép thử, tháo bộ điều áp có van điều chỉnh đem thử và kiểm tra các hư hỏng ở tất cả các bộ phận bên trong và bề mặt (ví dụ dấu hiệu đánh lửa hoặc cháy xém).
Phép thử này phải tiến hành trên hai bộ điều áp có van điều chỉnh bổ sung.
CHÚ THÍCH Phép thử này được nêu trong ISO 2503.
Kích thước tính bằng milimét

CHÚ DẪN
|
1 nguồn cấp oxy |
6 ống nối có đường kính trong 5 mm |
|
2 van đầu vào |
7 bộ điều áp có van điều chỉnh |
|
3 chai chứa khí cao áp có cơ cấu để van thử gia nhiệt trước oxy đến 60oC ± 3oC |
8 bộ chuyển đổi áp lực |
|
4 van mở nhanh |
9 nhiệt kế |
|
5 van đầu ra |
10 điểm đo |
Hình 2 – Bàn thử khả năng chịu cháy

CHÚ DẪN
1 sốc áp lực tiếp theo
Hình 3 – Khoảng thời gian thử
6.6.2. Bộ điều áp có thể điều chỉnh
6.6.2.1. Nếu bộ phận đóng khí được đặt như nêu trong Hình 4, tiến hành phép thử trong các điều kiện sau:
a) van một chiều (nếu được lắp) đóng;
b) van một chiều (nếu được lắp) mở, bộ phận đóng khí đang mở và van điều áp đang mở;
c) van một chiều (nếu được lắp) mở, bộ phận đóng khí đang đóng và van điều áp đang đóng;
d) van một chiều (nếu được lắp) mở, bộ phận đóng khí đang mở và van điều áp đang đóng.
Trong mọi trường hợp, thân van phải được chốt chặt.

CHÚ DẪN
1 thân van
2 bộ phận đóng khí
3 đầu vào của bộ điều áp
4 van một chiều (nếu được lắp)
5 van điều áp
Hình 4 – Vị trí 1 của bộ phận đóng khí

CHÚ DẪN
1 thân van
2 bộ phận đóng khí
3 đầu vào của bộ điều áp
4 van một chiều (nếu được lắp)
5 van điều áp
Hình 5 – Vị trí 2 của bộ phận đóng khí
6.6.2.2. Nếu bộ phận đóng khí được đặt như nêu trong Hình 5, tiến hành phép thử trong các điều kiện sau:
a) van một chiều (nếu được lắp) đóng;
b) van một chiều (nếu được lắp) mở, bộ phận đóng khí đóng và van điều áp đóng;
c) van một chiều (nếu được lắp) mở, bộ phận đóng khí đóng và van điều áp mở;
d) thân van chốt chặt, van một chiều (nếu được lắp) mở, bộ phận đóng khí mở và van điều áp đóng;
e) thân van chốt chặt, van một chiều (nếu được lắp) mở, bộ phận đóng khí mở và van điều áp mở.
6.6.3. Bộ điều áp cài đặt trước
6.6.3.1. Phép thử bộ điều áp có van điều chỉnh trong điều kiện cung cấp bình thường (với van điều áp mở) và với đầu ra đóng.
Đối với bộ điều áp có van điều chỉnh lắp lưu lượng kế, lặp lại phép thử khi van kiểm soát lưu lượng mở hết cỡ.
6.6.3.2. Nếu bộ phận đóng khí được đặt như nêu trong Hình 4, tiến hành phép thử trong các điều kiện sau:
a) van một chiều (nếu được lắp) đóng;
b) van một chiều (nếu được lắp) mở và bộ phận đóng khí đóng;
c) van một chiều (nếu được lắp) mở và bộ phận đóng khí mở;
Trong mọi trường hợp, thân van phải được chốt chặt.
6.6.3.3. Nếu bộ phận đóng khí được đặt như nêu trong Hình 5, tiến hành các phép thử trong các điều kiện sau:
a) van một chiều (nếu được lắp) đóng;
b) van một chiều (nếu được lắp) mở và bộ phận đóng khí đóng;
c) van một chiều (nếu được lắp) mở, bộ phận đóng khí mở và thân van chốt chặt.
6.7. Phương pháp thử độ chính xác lưu lượng của bộ điều áp có van điều chỉnh lắp với lưu lượng kế hoặc đồng hồ đo lưu lượng
Sử dụng thiết bị như nêu trong Hình 1, tại áp lực đầu vào danh nghĩa, P1, đặt lưu lượng chỉ thị của lưu lượng kế hoặc đồng hồ đo dòng đưa thử đến 10 % toàn thang đo hoặc vạch chia thấp nhất. Đo lưu lượng thực tế. Lặp lại phép thử tại 50 % toàn thang đo và tại toàn thang đo lưu lượng. Kiểm tra các giá trị đo được đều ở trong phạm vi các yêu cầu đã quy định trong 5.4.16.3 hoặc 5.4.17.2.
6.8. Phương pháp thử độ ổn định lưu lượng của bộ điều áp có van điều chỉnh lắp với lưu lượng kế hoặc đồng hồ đo dòng
Sử dụng thiết bị như nêu trong Hình 1 có van kiểm soát lưu lượng mở hết cỡ, điều chỉnh lưu lượng đến giá trị tối đa do nhà chế tạo quy định tại áp lực đầu vào danh nghĩa, P1. Ghi lại lưu lượng đã hiển thị ở đồng hồ đo lưu lượng với áp lực P1, 1000 kPa và ba hoặc nhiều giá trị áp lực trung gian. Kiểm tra xác nhận rằng các giá trị đo được đều ở trong phạm vi các yêu cầu đã quy định trong 5.4.16.4 hoặc 5.4.17.3.
6.9. Phương pháp thử độ ổn định và độ chính xác lưu lượng của bộ điều áp có van điều chỉnh lắp với lỗ định cỡ cố định
Sử dụng thiết bị như nêu trong Hình 1 có van kiểm soát lưu lượng mở hết cỡ. Đối với từng lỗ định cỡ cố định ghi lại lưu lượng đã hiển thị ở đồng hồ đo lưu lượng với áp lực P1, 1000 kPa và ba hoặc nhiều giá trị áp lực trung gian. Kiểm tra xác nhận rằng các giá trị đo được đều ở trong phạm vi các yêu cầu đã quy định trong 5.4.18.1.
6.10. Phương pháp thử giá trị đặt lưu lượng và mômen nới lỏng
Đo giá trị đặt lưu lượng và các momen nới lỏng bằng cách sử dụng các dụng cụ đo chuyên dùng phù hợp.
6.11. Phép thử rơi
Lắp bộ điều áp có van điều chỉnh vào chai thử đã trang bị nắp bảo vệ hoặc màng chắn quy định. Chai thử phải có khối lượng không nhỏ hơn khối lượng của chai lớn nhất do nhà chế tạo khuyến nghị để lắp bộ điều áp có van điều chỉnh và phải đổ đầy nước đến 40 % thể tích của nó, hoặc đối với bộ điều áp có van điều chỉnh dùng cho khí gây mê hoặc cacbon dioxit, đổ đầy nước đến 70 % thể tích của nó. Mở hết cỡ bộ phận đóng khí.
Trước khi rơi, bộ phận lắp ráp phải treo có trục dọc ống tạo góc 30o với phương thẳng đứng, nắp hoặc lá chắn có hướng đi xuống. Giữa điểm thấp nhất của nắp hoặc lá chắn và bề mặt va đập phải có khoảng cách 1,2 m.
Bộ phận lắp ráp rơi lên tấm thử là khối bêtông 1 m2 dày 0,1 m, từ khuôn đúc đơn giản bằng xi măng, cát và sỏi, được bảo vệ bằng tấm thép dày 10 cm, độ phẳng của tấm bảo vệ, phải sao cho chênh lệch trên mặt nằm ngang của hai điểm bất kỳ trên bề mặt tấm không vượt quá 2 mm.
Đóng phương tiện ngừng khí và tiến hành phép thử rò rỉ.
CHÚ THÍCH Phép thử này được nêu trong ISO 11117.
6.12. Phép thử va đập
Lắp bộ điều áp có van điều chỉnh vào vật cố định thử có ren vít phù hợp, như nêu trong Hình 6, bằng cách đặt mômen xoắn do nhà chế tạo quy định. Mở hết cỡ bộ phận đóng khí. Đập viên bi thép tôi 13 mm vào bộ điều áp có van điều chỉnh với tốc độ tối thiểu là 3 m/s và năng lượng va đập là 200 J đối với ren côn 25E hoặc cỡ tương đương hoặc là 80 J đối với ren côn 17E hoặc cỡ tương đương. Sự va đập phải ở 90o với trục dọc của bộ điều áp có van điều chỉnh và gắn liền với mặt phẳng đi qua trục này, điểm va đập ở 2/3 khoảng cách từ mặt phẳng mà ren thân van gặp cổ chai chứa khí đến điểm xa nhất của bộ điều áp có van điều chỉnh đo theo trục dọc của nó. Chỉ đập bộ điều áp có van điều chỉnh một lần. Kiểm tra xác nhận khả năng đóng kín bộ phận đóng khí theo hướng dẫn của nhà chế tạo.
CHÚ THÍCH Phép thử này được lấy từ ISO 10297.

CHÚ DẪN
1 bộ điều áp có van điều chỉnh
2 cổ bình chứa khí hoặc vật cố định tương tự
3 trục dọc
4 bi thép tôi
Hình 6 – Bàn thử va đập
6.13. Phương pháp thử bộ phận đóng khí
Phép thử này bao gồm mở hết cỡ rồi đóng hết cỡ xảy ra lặp đi lặp lại của bộ phận đóng khí. Tạo áp lực cho van qua thân van đến 1,2 lần áp lực đầu vào, P1. Đóng bộ phận đóng khí khi thích hợp bằng cách sử dụng mômen đóng bằng hai lần mômen đóng tối thiểu do nhà chế tạo quy định hoặc 7 N.m, lấy giá trị nào nhỏ hơn. Sau đó ít nhất là 6 s, giảm áp lực theo hướng xuôi dòng của vị trí van tới áp suất khí quyển. Sau ít nhất 6 s, mở bộ phận đóng khí mà không tác động một mômen đáng kể khi nó ở vị trí mở hết cỡ, rồi tạo áp lực. Lặp lại chu trình này 2 000 lần. Kiểm tra xác nhận các yêu cầu của 5.4.10 có được đáp ứng.
Phải tiến hành cẩn thận đảm bảo rằng ma sát không làm tăng đáng kể nhiệt độ trong quá trình thử.
CHÚ THÍCH Phép thử này được lấy từ ISO 10297.
6.14. Phương pháp thử van một chiều và đầu vào của bộ điều áp
Tạo áp lực cho van một chiều qua thân van đến 1,2 lần P1. đưa áp lực về áp lực khí quyển. Lặp lại hoạt động này 1 000 lần và sau đó kiểm tra xác nhận các yêu cầu của 5.4.13.1 có được đáp ứng.
6.15. Phương pháp thử độ bền của nhãn và mã màu
Dùng tay chà xát nhãn và mã màu với áp lực không đáng kể, đầu tiên trong 15 s bằng giẻ thấm nước cất, sau đó trong 15 s bằng giẻ thấm etanol và rồi trong 15 s thấm isopropanol.
7. Ghi nhãn, mã màu, bao gói
7.1. Ghi nhãn
7.1.1. Bộ điều áp có van điều chỉnh và các thành phần đầu cắm lấy khí ra của nó phải được ghi nhãn bền và rõ ràng bằng các ký hiệu của khí liên quan phù hợp với Bảng 2. Phép thử độ bền của nhãn nêu trong 6.15.
CHÚ THÍCH Ngoài ký hiệu, có thể sử dụng tên khí.
Bảng 2 – Khí y tế, ghi nhãn và mã màu
|
Tên |
Ký hiệu |
Mã màu a |
|
Oxy |
O2 |
Trắng b |
|
Khí gây mê |
N2O |
Xanh b |
|
Không khí thở |
Air c |
Trắng-đen b |
|
Không khí truyền động dụng cụ phẫu thuật |
Không khí-800 |
Trắng-đen b |
|
Nitơ truyền động dụng cụ phẫu thuật |
N2-800 |
Đen b |
|
Hêli |
He |
Nâu b |
|
Cacbon dioxit |
CO2 |
Xám b |
|
Xenon |
Xe |
Nâu nhẹ b |
|
Hỗn hợp các khí trên |
e |
e |
|
a Xem phụ lục C khác biệt giữa các quốc gia về mã màu dùng cho khí y tế b Phù hợp với TCVN 6293 (ISO 32) c Đối với không khí có thể sử dụng tiếng quốc ngữ d Ví dụ màu nâu sáng là NCS 3030-Y30 R phù hợp với SS 01 90 02 e Phù hợp với các thành phần |
||
7.1.2. Ngoài các yêu cầu của 7.1.1, bộ điều áp có van điều chỉnh phải được ghi nhãn với nội dung sau:
a) tên và/hoặc thương hiệu của nhà chế tạo hoặc nhà phân phối;
b) mô hình hoặc cấu hình kiểu loại;
c) biện pháp để có thể truy nguyên nguồn gốc như kiểu loại, lô hoặc số seri hoặc năm chế tạo;
d) giá trị áp lực đầu vào danh nghĩa, P1;
e) ren thân van.
7.1.3. Nếu vật cố định được thiết kế phải sử dụng dụng cụ để tháo, thân của vật cố định phải được đánh dấu bằng lưu lượng tương ứng tính bằng l/min.
7.1.4. Đồng hồ đo áp lực và đồng hồ đo lưu lượng phải được ghi nhãn với nội dung sau:
a) biện pháp nhận biết, ví dụ tên và/hoặc thương hiệu của nhà chế tạo và/hoặc nhà phân phối;
b) câu “KHÔNG SỬ DỤNG DẦU” hoặc ký hiệu nêu trong Hình 7;
c) đơn vị áp lực (đối với đồng hồ đo áp lực)
d) đơn vị lưu lượng (đối với đồng hồ đo lưu lượng)
e) đặc điểm của lỗ định cỡ cố định mà đồng hồ đo lưu lượng đã được hiệu chuẩn

Hình 7 – Ký hiệu “không sử dụng dầu” (áp dụng ISO 7000-0248)
7.1.5. Cơ cấu điều chỉnh áp lực và van kiểm soát lưu lượng (nếu được lắp) phải được đánh dấu rõ ràng và bền với chiều tăng áp lực hoặc lưu lượng.
7.1.6. Kiểm tra sự phù hợp với các điều từ 7.1.1 đến 7.1.5 bằng cách xem xét kỹ.
7.2. Mã màu
7.2.1. Nếu sử dụng mã màu, phải phù hợp với Bảng 2 hoặc tiêu chuẩn quốc gia hoặc khu vực.
CHÚ THÍCH Phụ lục C chỉ rõ sự khác biệt giữa các nước và các khu vực về mã mầu và tên khí y tế.
7.2.2. Mã màu phải bền. Phép thử độ bền của mã màu được nêu trong 6.15.
7.3. Bao gói
7.3.1. Bộ điều áp có van điều chỉnh và các bộ phận dự trữ phải được gắn kín để tránh bị nhiễm bẩn và phải được bao gói để ngăn ngừa hư hỏng trong quá trình bảo quản và vận chuyển.
7.3.2. Các bao gói phải có biện pháp để nhận biết thành phần chứa bên trong.
8. Thông tin do nhà chế tạo cung cấp
8.1. Để cung cấp các thông tin cần thiết cho việc sử dụng an toàn, nhà chế tạo bộ điều áp có van điều chỉnh phải làm sẵn cho người tiêu dùng các thông tin sau:
– mô tả kỹ thuật;
– hướng dẫn lắp bộ điều áp có van điều chỉnh vào chai chứa khí;
– hướng dẫn vận hành và bảo trì;
– hướng dẫn sử dụng và xác định loại chai khí;
– địa chỉ của nhà chế tạo.
8.2. Đối với bộ điều áp có van điều chỉnh lắp với đầu ra áp lực, mô tả kỹ thuật phải gồm các giá trị áp lực đầu vào danh nghĩa. P1, và áp lực đầu ra danh nghĩa, P2.
8.3. Đối với bộ điều áp có van điều chỉnh lắp với đầu ra lưu lượng, mô tả kỹ thuật phải gồm các giá trị áp lực đầu vào danh nghĩa. P1, và khoảng cài đặt lưu lượng.
8.4. Hướng dẫn lắp đặt bộ điều áp có van điều chỉnh với đầy ra lưu lượng vào ống phải gồm đặc tính kỹ thuật của ren thân van, và phải phù hợp với ISO 13341.
Phải quy định loại nắp bảo vệ (nếu yêu cầu) lắp với chai chứa khí.
Phải quy định cỡ tối đa (ví dụ khối lượng và/hoặc dung tích) của ống dự định sử dụng với bộ điều áp có van điều chỉnh.
8.5. Hướng dẫn vận hành và bảo trì bộ điều áp có van điều chỉnh phải gồm:
– phương pháp kết nối vào hệ thống nạp chai;
– mọi yêu cầu riêng chuẩn bị để nạp chai đưa thử;
– mọi yêu cầu thử nghiệm sau khi nạp chai;
– hướng dẫn chi tiết về làm sạch bộ điều áp có van điều chỉnh bằng bộ lọc chai;
– kiểm tra và bảo dưỡng phòng ngừa phải thực hiện trước và sau khi nạp;
– các hướng dẫn riêng phù hợp với 8.6.
Bản hướng dẫn phải gồm tần suất khuyến nghị của các hoạt động này.
Phải cung cấp bản danh sách các bộ phận dự trữ.
Phải nêu ra các chú ý đặc biệt về mọi chất bôi trơn sử dụng trong việc bảo dưỡng bộ điều áp có van điều chỉnh và mối nguy hiểm xuất hiện từ việc thay đổi giá trị cài đặt của van giảm áp.
8.6. Hướng dẫn để vận hành bộ điều áp có van điều chỉnh phải nêu thông tin chi tiết cần thiết để thực hiện an toàn bao gồm:
– các chức năng kiểm tra;
– mối nguy hiểm cháy hoặc nổ nảy sinh do sử dụng dầu và mỡ (kể cả kem bôi tay, v.v…);
– sự cần thiết phải đóng và mở từ từ các van đóng khí;
– cảnh báo không sử dụng lưu lượng đầu ra để truyền động cho các thiết bị y tế;
– cảnh báo rằng nếu có lắp nhiều lỗ định cỡ cố định thì không được cung cấp lưu lượng nếu bộ phận lựa chọn lưu lượng được đặt giữa các giá trị cài đặt liền kề.
8.7. Nhà chế tạo phải thông tin cho nhà cung cấp chai nạp lắp với bộ điều áp có van điều chỉnh rằng họ phải cung cấp cho người sử dụng các bản hướng dẫn sử dụng và hướng dẫn để xác định thành phần chai khí.
Phụ lục A
(tham khảo)
Ví dụ bộ điều áp có van điều chỉnh
Các hình từ A.1 đến A.3 trình bày các ví dụ bộ điều áp có van điều chỉnh

CHÚ DẪN
|
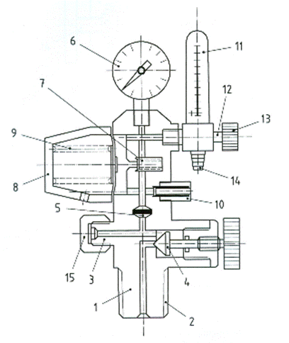
1 thân 2 ren thân van 3 đầu vào của bộ điều áp 4 bộ phận đóng khí 5 bộ lọc 6 đồng hồ đo áp lực chai chứa khí 7 van điều áp 8 vỏ bọc |
9 lò xo điều áp 10 van giảm áp 11 lưu lượng kế 12 trục van kiểm soát lưu lượng 13 núm kiểm soát lưu lượng 14 khớp nối 15 nắp kín áp lực |
Hình A.1 – Bộ điều áp có van điều chỉnh điển hình – Bộ điều áp cài đặt trước có lưu lượng kế

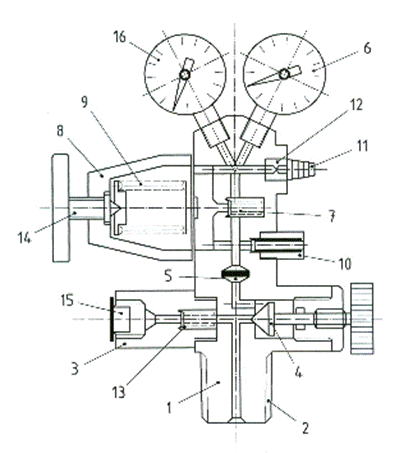
CHÚ DẪN
|
1 thân 2 ren thân van 3 đầu vào của bộ điều áp 4 bộ phận đóng khí 5 bộ lọc 6 đồng hồ đo áp lực chai chứa khí 7 van điều áp 8 vỏ bọc |
9 lò xo điều áp 10 van giảm áp 11 khớp nối 12 lỗ định cỡ cố định 13 van một chiều 14 cơ cấu điều chỉnh áp lực 15 cơ cấu bảo vệ 16 đồng hồ đo lưu lượng |
Hình A.2 – Bộ điều áp có van điều chỉnh điển hình – Bộ điều áp có thể điều chỉnh có đồng hồ đo lưu lượng

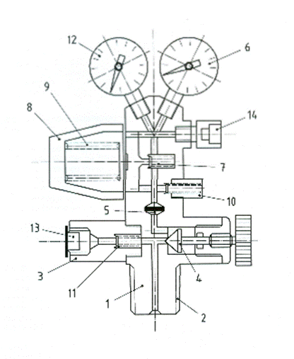
CHÚ DẪN
|
1 thân 2 ren thân van 3 đầu vào của bộ điều áp 4 bộ phận đóng khí 5bộ lọc 6 đồng hồ đo áp lực chai chứa khí 7 van điều áp 8 vỏ bọc |
9 lò xo điều áp 10 van giảm áp 11 van một chiều 12 đồng hồ đo áp lực đầu ra 13 cơ cấu bảo vệ 14 điểm nối đầu cắm lấy khí ra |
Hình A.3 – Bộ điều áp có van điều chỉnh điển hình – Bộ điều áp cài đặt trước có điểm nối đầu cắm lấy khí ra
Phụ lục B
(tham khảo)
Thuyết minh
Các điều dưới đây tương ứng với các điều được đánh dấu sao (*) trong tiêu chuẩn này. Do đó, việc đánh số là không liên tục.
B.1.2. Chai chứa khí sử dụng để cung cấp khí y tế hiện được nạp tới áp lực nạp danh nghĩa lên đến 25 000 kPa. Các chai có thể nạp tới áp lực cao hơn (lên đến 30 000 kPa) đã được sử dụng cho các ứng dụng nhất định. Mặc dù các chai áp lực cao hơn này đã được sử dụng trong các ứng dụng phi y tế, nhưng kiến thức về các yêu cầu sử dụng chúng một cách an toàn còn hạn chế. Do đó, phạm vi áp dụng của tiêu chuẩn này bị giới hạn ở các chai chứa khí được nạp áp lực đến 25 000 kPa. Theo kinh nghiệm, dự đoán tiêu chuẩn này sẽ được sửa đổi để bao gồm cả các bộ điều áp sử dụng với chai có áp lực nạp danh nghĩa lên đến 30 000 kPa.
B.5.3.1. Bộ điều áp dùng cho các loại khí y tế khác nhau thường được làm bằng các linh kiện hoặc cụm lắp ráp có khả năng lắp lẫn. Do đó, yêu cầu về khả năng tương thích với oxy cần được áp dụng cho các bộ điều áp dùng cho tất cả các loại khí.
B.5.3.5. Thân và các bộ phận khác của hầu hết các bộ điều áp được làm bằng đồng hoặc nhôm. Nhôm và hợp kim nhôm có nhiều khả năng cháy trong môi trường oxy hóa hơn so với đồng. Trong phép thử chuẩn, nhôm có thể cháy mạnh ngay cả ở áp lực thấp, trong khi đồng chỉ cháy ở áp suất cao hơn rất nhiều lần so với áp lực nạp chai. Mặc dù có một số trường hợp được báo cáo về khả năng cháy của bộ điều áp bằng đồng, các bộ điều áp này vẫn có lịch sử sử dụng an toàn và được coi là an toàn hơn so với bộ điều áp bằng nhôm. Do đó, các linh kiện ở phía áp lực cao của bộ điều áp theo yêu cầu của tiêu chuẩn này cần được làm từ vật liệu không phải nhôm, ví dụ như đồng.
Bộ điều áp dùng cho các khí khác thường được làm từ các linh kiện hoặc cụm lắp ráp có khả năng lắp lẫn. Do đó, yêu cầu này cần được áp dụng cho các bộ điều áp dùng cho tất cả các khí.
B.5.4.2.1. Vì khí y tế được coi là sản phẩm y tế thuộc thẩm quyền quốc gia, điều cần thiết đối với nhà cung cấp khí y tế là phải phù hợp với các yêu cầu sản xuất có liên quan [ví dụ, thực hành sản xuất tốt (GMP)]. Tiêu chuẩn này yêu cầu việc sử dụng đầu vào của bộ điều áp đầu cắm lấy khí ra là vật duy nhất cho cung cấp khí y tế ở bộ điều áp có van điều chỉnh, phù hợp với GMP.
Khi nhà cung cấp khí y tế được yêu cầu nhận cấp phép tiếp thị bao gồm việc cung cấp khí y tế trong ống lắp với bộ điều áp có van điều chỉnh, trách nhiệm của nhà cung cấp khí y tế là phải đảm bảo rằng đầu vào của bộ điều áp phù hợp với các yêu cầu về dược phẩm thích hợp.
B.5.4.3.2.2. Đầu ra lưu lượng được sử dụng để cấp khí y tế cho bệnh nhân khi xông thuốc. Lưu lượng và áp lực phân phối tại đầu ra này có thể không đủ để truyền động thiết bị y tế. Vì vậy, đầu ra lưu lượng phải có kích thước khác với đầu ra áp lực dự định để truyền động thiết bị y tế.
B.5.4.4. Áp lực đầu ra được nối với đúng loại bộ nối đầu ra vì những lý do sau đây:
a) Khi bộ điều áp có van điều chỉnh được lắp đầu ra áp lực, đầu ra áp lực nhất thiết phải có cùng tính năng với khối đầu nối của đường ống khí y tế. áp lực tại khối đầu nối nêu trong ISO 7396-1 quy định các giá trị danh nghĩa sau đây:
– 400 kPa đến 500 kPa với sai lệch cho phép ± 10 % giữa điều kiện lưu lượng ”không” và lưu lượng lớn nhất đối với khí y tế ngoại trừ không khí hoặc khí nitơ dùng để truyền động dụng cụ phẫu thuật;
– 700 kPa đến 1 000 kPa với sai lệch cho phép ± 15 % giữa điều kiện lưu lượng ”không” và lưu lượng lớn nhất đối với không khí hoặc khí nitơ dùng để truyền động dụng cụ phẫu thuật;
b) Đầu ra lưu lượng không dự định để cung cấp khí cho thiết bị y tế như máy thở hoặc máy gây mê. Các thiết bị này cần được nối với đầu ra áp lực.
c) Bộ điều áp có van điều chỉnh có lắp bộ nối NIST hoặc DISS dự định để cung cấp loại khí y tế nhất định thường không có ống dẫn nhưng có thể dùng để điều trị hoặc đo lường.
d) Tiêu chuẩn này không cho phép sử dụng bộ nối NIST hoặc DISS dùng cho các loại khí thường được cấp bởi hệ thống ống dẫn khí y tế sao cho một hệ thống bộ nối đầu cắm lấy khí ra chỉ sử dụng một loại khí y tế bất kỳ.
B.5.4.4.2.3. Khi bộ điều áp có van điều chỉnh có lắp đầu ra áp lực, đầu ra áp lực nhất thiết phải có cùng tính năng với khối đầu nối đường ống khí y tế. ISO 7396-1 quy định các giá trị dưới đây trong điều kiện đơn lỗi:
– 1 000 kPa đối với khí y tế ngoại trừ không khí hoặc khí nitơ dùng để truyền động dụng cụ phẫu thuật;
– 2 000 kPa đối với không khí hoặc khí nitơ dùng để truyền động dụng cụ phẫu thuật. Thiết bị y tế như máy thở và máy gây mê đòi hỏi phải hoạt động với biến thiên áp suất.
B.5.4.12. Để tránh việc sử dụng áp suất vượt quá quy định đối với các linh kiện phía nguồn, lưu lượng dự đoán lớn nhất qua van của bộ điều áp trong điều kiện đơn lỗi phải được biết để xác định tính năng của van giảm áp.
B.5.4.15. Bộ điều áp dùng cho các loại khí khác nhau thường được làm từ các linh kiện hoặc cụm lắp ráp có khả năng lắp lẫn. Do đó, yêu cầu đối với khả năng chịu cháy cần được áp dụng đối với bộ điều áp dùng cho tất cả các loại khí.
B.5.4.18.2. Có thể phát sinh tình huống nguy hiểm tiềm ẩn nếu cơ cấu chọn lưu lượng có thể đặt ngoài chủ ý ở vị trí không có lưu lượng. Vì vậy, thiết kế cơ cấu chọn lưu lượng cần giảm thiểu khả năng xảy ra điều này. Trong hướng dẫn sử dụng cần cảnh báo về khả năng không có lưu lượng.
B.5.5.1. Bộ điều áp dùng cho các loại khí khác nhau thường được làm từ các linh kiện hoặc cụm lắp ráp có khả năng lắp lẫn. Do đó, yêu cầu về độ sạch phải áp dụng đối với bộ điều áp dùng cho tất cả các loại khí.
B.8. Bộ điều áp có van điều chỉnh là bộ phận của lắp ráp toàn bộ, bao gồm chai chứa khí và bộ điều áp có van điều chỉnh. Như vậy, bộ lắp ráp cuối cùng sẵn sàng cho người sử dụng/bệnh nhân phải trải qua các giai đoạn khác nhau:
a) chế tạo bộ điều áp có van điều chỉnh;
b) lắp ráp bộ điều áp có van điều chỉnh với chai chứa khí;
c) nạp chai chứa khí;
d) nhân viên chăm sóc sức khỏe, bệnh nhân sử dụng chai chứa khí.
Thông tin cung cấp về bộ điều áp có van điều chỉnh phải đề cập tất cả các giai đoạn khác nhau của quá trình này.
Phụ lục C
(tham khảo)
Khác biệt giữa các quốc gia và khu vực trong sử dụng mã màu và thuật ngữ chuyên ngành dùng cho khí y tế
Bảng 2 của tiêu chuẩn này đưa ra các yêu cầu đối với mã màu của khí y tế phù hợp với TCVN 6293 (ISO 32). Mặc dù nhiều quốc gia/thị trường đều tuân thủ TCVN 6293 (ISO 32) nhưng một số quốc gia/thị trường vẫn có các yêu cầu về mã màu khác biệt so với các quy định trong TCVN 6293 (ISO 32). Thông thường các mã màu thay thế này sẽ được ủy thác bởi các tiêu chuẩn có hiệu lực trong phạm vi quốc gia/thị trường tương ứng.
Các bảng từ C.1 đến C.5 liệt kê một số quốc gia/thị trường đã biết có yêu cầu mã màu riêng khác với TCVN 6293 (ISO 32).
Bảng C.1 – Cộng đồng Châu Âu
|
Khí y tế |
Mã màu |
|
Ôxy |
Trắng |
|
Khí gây mê |
Xanh lơ |
|
Không khí y tế |
Đen và trắng |
|
Nitơ |
Đen |
|
Cacbon dioxit |
Xám |
|
Hêli |
Nâu |
|
Hỗn hợp các loại khí |
Kết hợp các màu từ các khí riêng rẽ, ví dụ như trắng/xanh lơ |
|
CHÚ THÍCH Xem EN 1089-3 [12] |
|
Bảng C.2 – Hợp chủng quốc Hoa Kỳ
|
Khí y tế |
Mã màu |
|
Ôxy |
Xanh lá cây |
|
Khí gây mê |
Xanh lơ |
|
Không khí y tế |
Vàng |
|
Nitơ |
Đen |
|
Cacbon dioxit |
Xám |
|
Hêli |
Nâu |
|
Hỗn hợp các loại khí |
Kết hợp các màu từ các khí riêng rẽ, ví dụ như xanh lá cây/xanh lơ |
|
CHÚ THÍCH Xem CGA C-9:1988 [5]. |
|
Bảng C.3 – Ôxtrâylia và Niu Dilân
|
Khí y tế |
Mã màu |
|
Ôxy |
Trắng |
|
Khí gây mê |
Xanh nước biển đậm |
|
Không khí y tế để thở |
Đen và trắng |
|
Khí cho dụng cụ phẫu thuật |
Màu nước |
|
Khí gây mê/oxy 50/50 |
Xanh nước biển đậm và trắng |
|
Cacbon dioxit |
Xanh xám |
|
Cacbon dioxit trong oxy – 5 % danh nghĩa |
Trắng và xanh xám |
|
Khí y tế dự phòng |
Màu cát |
|
CHÚ THÍCH Xem AS 4484-2004 [2] và AS 2896-1998[1] |
|
Bảng C.4 – Ca-na-đa
|
Khí y tế |
Mã màu |
|
Ôxy |
Trắng |
|
Khí gây mê |
Xanh lơ |
|
Không khí y tế để thở |
Trắng và đen |
|
Nitơ |
Đen |
|
Cacbon dioxit |
Xám |
|
Hêli |
Nâu |
|
Hỗn hợp các loại khí |
Kết hợp các màu từ các khí riêng rẽ |
|
CHÚ THÍCH Xem CAN/CGSB 24.2-M86 [4]. |
|
Bảng C.5 – Nhật Bản
|
Khí y tế |
Mã màu |
|
Ôxy |
Xanh lá cây |
|
Khí gây mê |
Xanh lơ |
|
Không khí để thở |
Vàng |
|
Nitơ |
Xám |
|
Cacbon dioxit |
Da cam |
|
Khí dùng cho dụng cụ truyền phẫu thuật |
Nâu |
|
CHÚ THÍCH Xem JIS T 7101:1997 [15]. |
|
Thư mục tài liệu tham khảo
[1] AS 2896-1998 Medical gas systems – Installation and testing of non-flammable medical gas pipelilne systems (Hệ thống khí y tế – Lắp đặt và thử nghiệm hệ thống ống dẫn khí y tế không có khả năng cháy)
[2] AS 4484-1997 Gas cylinders for industrial, scientific, medical and refrigerant use – Labelling and colour coding (Chai chứa khí khí để sử dụng cho công nghiệp, khoa học, y tế và đông lạnh – Ghi nhãn và mã màu)
[3] ASTM G175:2003 Standard test method for evaluating the ignition sensitivity and fault tolerance of oxygen regulators used for medical and emergency applications (Phương pháp thử chuẩn để đánh giá độ nhạy bắt lửa và lỗi dung sai của bộ điều chỉnh oxy sử dụng cho những ứng dụng y tế và khẩn cấp)
[4] CAN/CGSB 24.2-M86 Identification of medical gas containers, pipelines and valves (Đặc điểm của túi, đường ống và van khí y tế)
[5] CGA C-9:1998 Standard color marking of compressed gas containers intended for medical use (Nhãn màu chuẩn của túi khí nén để sử dụng cho y tế)
[6] EN 737-1 Medical gas pipeline systems – Part 1: Terminal units for compressed medical gases and vacuum (Hệ thống ống dẫn khí y tế – Phần 1: Bộ đầu nối cho khí nén y tế và chân không)
[7] EN 737-3 Medical gas pipeline systems – Part 3: Pipelines for compressed medical gases and vacuum (Hệ thống ống dẫn khí y tế – Phần 1: Đường ống cho khí nén y tế và chân không)
[8] EN 738-3 Pressure regulator for use with medical gas – Part 3: Pipelines for compressed medical gases and vacuum (Bộ điều áp sử dụng cho khí y tế – Phần 3: Đường ống cho khí nén y tế và chân không)
[9] EN 739 Low-pressure hose assemblies for use with medical gases (Lắp ống áp lực thấp sử dụng với khí y tế)
[10] EN 849 Transportable gas cylinders – Cylinder valves – Specification and type testing (ống khí có thể di chuyển – Van ống – Quy định kỹ thuật và thử kiểu)
[11] EN 849 Transportable gas cylinders – Valve protection caps and valve guards for industrial and medical gas cylinders – Design, construction and test (ống khí có thể di chuyển – Van ống – Quy định kỹ thuật và thử kiểu)
[12] EN 1089-3 Transportable gas cylinders – Cylinder identification – Part 3: Colour coding (ống khí có thể di chuyển – Đặc điểm ống – Phần 3: Mã màu)
[13] ISO 2503:1998 Gas welding equipment – Pressure regulators for gas cylinders used in welding, cutting and allied processes up to 300 bar (Thiết bị hàn khí – Bộ điều áp của ống khí sử dụng trong các quá trình hàn, cắt và đắp đến 300 bar)
[14] ISO 4135 Anaesthetic and respiratory equipment – Vocabulary (Thiết bị gây mê và hô hấp – Từ ngữ)
[15] ISO 15996 Gas cylinders – Residual pressure valves – General requirements and type testing (Chai chứa khí – Van áp suất dư – Yêu cầu chung và thử kiểu)
[16] JIS 7101:1997 Medical gas pipeline systems (Hệ thống ống dẫn khí y tế)
MỤC LỤC
Lời nói đầu
Lời giới thiệu
1. Phạm vi áp dụng
2. Tài liệu viện dẫn
3. Thuật ngữ và định nghĩa
4. Ký hiệu
5. Yêu cầu chung
6. Phương pháp thử
7. Ghi nhãn, mã màu, bao gói
8. Thông tin do nhà chế tạo cung cấp
Phụ lục A (tham khảo) Ví dụ bộ điều áp có van điều chỉnh
Phụ lục B (tham khảo) Thuyết minh
Phụ lục C (tham khảo) Khác biệt giữa các quốc gia và khu vực trong sử dụng mã màu và thuật ngữ chuyên ngành dùng cho khí y tế
Thư mục tài liệu tham khảo


