Tiêu chuẩn Việt Nam TCVN7899-4:2008

  • Loại văn bản: Tiêu chuẩn Việt Nam
  • Số hiệu: TCVN7899-4:2008
  • Cơ quan ban hành: ***
  • Người ký: ***
  • Ngày ban hành: ...
  • Ngày hiệu lực: ...
  • Lĩnh vực: Xây dựng
  • Tình trạng: Không xác định
  • Ngày công báo: ...
  • Số công báo: Còn hiệu lực

Nội dung toàn văn Tiêu chuẩn quốc gia TCVN 7899-4:2008 (ISO 13007-4 : 2005) về Gạch gốm ốp lát – Vữa, keo chít mạch và dán gạch – Phần 4: Phương pháp thử vữa, keo chít mạch


TIÊU CHUẨN QUỐC GIA

TCVN 7899-4 : 2008

ISO 13007-4 : 2005

GẠCH GỐM ỐP LÁT – VỮA, KEP CHÍT MẠCH VÀ DÁN GẠCH – PHẦN 4: PHƯƠNG PHÁP THỬ VỮA, KEO CHÍT MẠCH

Ceramic tiles – Grouts and adhesives – Part 4: Test methods for grouts

Lời nói đầu

TCVN 7899-4 : 2008 hoàn toàn tương đương với ISO 13007-4 : 2005

TCVN 7899-4 : 2008 do Ban kỹ thuật tiêu chuẩn TCVN/TC 189 Sản phẩm gốm xây dựng biên soạn trên cơ sở đề nghị của Công ty TNHH MAPEl Việt Nam, Tổng cục Tiêu chuẩn Đo lường Chất lượng đề nghị, Bộ Khoa học và Công nghệ công bố.

Bộ tiêu chuẩn TCVN 7899 (ISO 13007) với tên gọi chung là Gạch gốm ốp lát – Vữa, keo chít mạch và dán gạch, gồm các phần sau:

– Phần 1: Thuật ngữ, định nghĩa và yêu cầu kỹ thuật đối với vữa, keo dán gạch.

– Phần 2: Phương pháp thử vữa, keo dán gạch.

– Phần 3: Thuật ngữ, định nghĩa và yêu cầu kỹ thuật đối với vữa, keo chít mạch.

– Phần 4: Phương pháp thử vữa, keo chít mạch.

 

GẠCH GỐM ỐP LÁT – VỮA, KEP CHÍT MẠCH VÀ DÁN GẠCH – PHẦN 4: PHƯƠNG PHÁP THỬ VỮA, KEO CHÍT MẠCH

Ceramic tiles – Grouts and adhesives – Part 4: Test methods for grouts

1. Phạm vi áp dụng

Tiêu chuẩn này qui định phương pháp xác định các chỉ tiêu kỹ thuật của vữa, keo chít mạch gạch gốm ốp lát.

Các phương pháp thử bao gồm:

– xác định cường độ uốn và nén (4.1);

– xác định độ hút nước (4.2);

– xác định độ co ngót (4.3);

– xác định độ chịu mài mòn (4.4);

– xác định biến dạng ngang (4.5);

– xác định độ bền hóa (4.6).

2. Tài liệu viện dẫn

Các tài liệu viện dẫn sau đây là cần thiết khi áp dụng tiêu chuẩn này. Đối với các tài liệu viện dẫn ghi năm công bố thì áp dụng bản được nêu. Đối với các tài liệu viện dẫn không ghi năm công bố thì áp dụng phiên bản mới nhất, bao gồm cả các bản sửa đổi (nếu có).

TCVN 7899-2 : 2008 (ISO 13007-2 : 2005) Gạch gốm ốp lát – Vữa, keo chít mạch và dán gạch – Phần 2: Phương pháp thử vữa, keo dán gạch.

ISO 409-1 Metallic materials – Hardness test – Tables of Vickers hardness values for use in tests made on flat surfaces – Part 1: HV 5 to HV 100 (Vật liệu kim loại – Thử nghiệm độ cứng – Bảng giá trị độ cứng Vicker cho sử dụng trong thử nghiệm trên bề mặt phẳng – Phần 1: HV 5 đến HV 100)

ISO 630 Structural steels – Plates, wide flats, bars, sections and profiles (Thép kết cấu – Tấm, tấm dẹt, thanh, đoạn và profile).

ISO 1101 Geometrial Product Specification (GPS) – Geometrical tolerancing – Tolerances of form, orientation, location and run-out (Các yêu cầu sản phẩm hình học – Dung sai hình học – Dung sai hình dạng, hướng, vị trí và lệch tâm).

ISO 1302 Geometrical Product Specification (GPS) – Indication of surface texture in technical product documentation (Các yêu cầu sản phẩm hình học – Hướng dẫn kết cấu bề mặt trong hồ sơ sản phẩm).

ISO 4200 Plain end steel tubes, welded and seamless – General table of dimensions and masses per unit length (Ống thép đầu thẳng, thép hàn và không có đường nối – Bảng tổng quan về kích thước và khối lượng theo đơn vị dài).

ISO 8486-1 Bonded abrasives – Determination and designation of grain size distribution – Part 1: Macrogrits F4 to F220 (Vật liệu mài liên kết – Xác định và qui ước phân bố kích thước hạt – Phần 1: Macrogrit F4 đến F220).

3. Điều kiện và qui trình thử nghiệm chung

3.1. Lấy mẫu

Sử dụng mẫu đại diện, không ít hơn 2 kg.

3.2. Điều kiện thử nghiệm

Điều kiện chuẩn là nhiệt độ (23 ± 2) 0C và độ ẩm tương đối (50 ± 5) % hoặc nhiệt độ (27 ± 2) 0C và độ ẩm tương đối (65 ± 5) % và sự lưu thông không khí trong vùng thử nghiệm phải nhỏ hơn 0,2 m/s. Các điều kiện khác cũng có thể được áp dụng theo điều 4. Dung sai trong thời gian bảo dưỡng tất cả các mẫu thử phải đảm bảo như sau:

Thời gian bảo dưỡng

Dung sai

24h

7 ngày

14 ngày

21 ngày

28 ngày

± 0,5 h

± 3 h

± 6 h

± 9 h

± 12 h

3.3. Vật liệu thử nghiệm

Bảo dưỡng vật liệu thử, kể cả nước ít nhất 24 h trong điều kiện chuẩn. Vữa, keo dùng để thử nghiệm phải còn hạn sử dụng, nếu có yêu cầu.

3.4. Qui trình trộn

3.4.1. Vữa chít mạch gốc xi măng (CG)

Lượng nước và/hoặc phụ gia lỏng để trộn vữa do nhà sản xuất công bố theo tỷ lệ khối lượng ví dụ, tỷ lệ giữa nước và bột khô (trong trường hợp đưa ra một loạt các giá trị thì sử dụng giá trị trung bình).

Chuẩn bị ít nhất 2 kg bột và lượng chất lỏng cần thiết, sử dụng máy trộn kiểu hành tinh [xem TCVN 7899-2 : 2008 (ISO 13007-2 : 2005), Hình 1 và Hình 2], chạy máy với tốc độ chậm (140 ± 5) vòng/min và (62 ± 5) vòng/min.

Thực hiện quy trình sau:

– đổ chất lỏng vào bát trộn;

– rải bột khô lên trên chất lỏng;

– trộn trong thời gian 30 s;

– nhắc cánh khuấy ra;

– vét vữa trong bát trộn và từ cánh khuấy xuống trong khoảng 1 min;

– đặt lại cánh khuấy và trộn tiếp trong khoảng 1 min.

Nếu trong hướng dẫn của nhà sản xuất vữa có yêu cầu thì để vữa ngấu theo qui định sau đó trộn thêm 15 s.

3.4.2. Keo chít mạch gốc nhựa phản ứng (RG)

Nếu sử dụng keo chít mạch gốc nhựa phản ứng thì phải thực hiện theo hướng dẫn của nhà sản xuất.

3.5. Báo cáo thử nghiệm

Báo cáo thử nghiệm phải bao gồm các thông tin sau:

a) viện dẫn tiêu chuẩn này, cụ thể là “TCVN 7899-4 : 2008 (ISO 13007-4 : 2005)”;

b) ngày thử nghiệm;

c) loại vữa, keo, ký hiệu thương mại và tên cơ sở sản xuất;

d) nơi gửi mẫu, ngày nhận mẫu và thông tin đầy đủ về mẫu thử;

e) cách xử lý và bảo quản mẫu trước khi thử nghiệm;

f) điều kiện thử nghiệm;

g) lượng nước hoặc phụ gia lỏng sử dụng để chuẩn bị mẫu;

h) kết quả thử nghiệm (kết quả từng phép thử, giá trị trung bình và kiểu bong tách, nếu yêu cầu);

i) các yếu tố khác có thể ảnh hưởng kết quả thử.

4. Phương pháp thử

4.1. Xác định cường độ uốn và nén

Tiến hành phép xác định cường độ uốn và nén dưới điều kiện tiêu chuẩn chung, và theo qui trình nêu trong điều 3 và hướng dẫn cụ thể dưới đây.

4.1.1. Thiết bị, dụng cụ

4.1.1.1. Bộ khuôn, sử dụng ba bộ khuôn bằng thép, có bề mặt phía trong nhẵn, để chế tạo các mẫu lăng trụ kích thước (40 ± 0,1) mm x (40 ± 0,1) mm x (160 ± 0,4)mm.

Trên các thành khuôn có các lỗ để cố định các chốt phù hợp với các đầu mẫu thử (xem Hình 1).

4.1.1.2. Thiết bị dằn hoặc bàn dằn, được sử dụng để lèn mẫu vữa kích thước 40 mm x 40 mm x 160 mm theo Hình 2.

4.1.1.3. Máy nén, có khả năng truyền tải với công suất và độ chính xác phù hợp với phép thử. Máy phải có cơ cấu để uốn, phù hợp mô tả trên Hình 3.

4.1.1.4. Bộ gá định vị

Phép thử cường độ nén yêu cầu phải có bộ gá định vị theo Hình 4, được lắp ở tấm ép dưới của máy; lực được truyền từ máy nén lên tấm ép trên qua gối hình cầu trung gian.

4.1.2. Chuẩn bị cụm mẫu thử

Ngay sau khi trộn xong vữa/keo gắn chắc khuôn lên bàn dằn.

Dùng xẻng thích hợp, xúc vữa/keo trực tiếp từ bát trộn vào từng ngăn khuôn để có được lớp vữa/keo đầu tiên trong hai lớp.

Trải đều lớp vữa/keo đầu tiên đó, sau đó lèn vữa/keo bằng cách dằn 60 cái.

Trải đều lớp vữa/keo thứ hai, sau đó lèn vữa/keo bằng cách dằn tiếp 60 cái.

Chuẩn bị ba mẫu cho mỗi loại vữa/keo.

Nhẹ nhàng nhấc khuôn ra khỏi bàn dằn, gạt vữa/keo thừa và dùng bay phẳng miết trơn bề mặt mẫu.

Lau sạch vữa/keo dính xung quanh khuôn.

Dùng tấm kính kích thước 210 mm x 185 mm, dày 6 mm đặt lên khuôn. Có thể dùng tấm kim loại hoặc vật liệu không thấm nước có kích thước tương tự.

Đặt khuôn đã được đánh dấu nhận biết lên nền phẳng trong điều kiện tiêu chuẩn (23 ± 2) 0C và độ ẩm tương đối (50 ± 5) % R.H hoặc nhiệt độ (27 ± 2) 0C và độ ẩm tương đối (65 ± 5) % R.H.

Sau 24 h, cẩn thận lấy mẫu ta khỏi khuôn.

Chuẩn bị ba mẫu cho mỗi loại vữa/keo.

Đối với vữa/keo đóng rắn nhanh, lấy mẫu ra khỏi khuôn ngay trước khi tiến hành thử.

4.1.3. Xác định cường độ uốn trong điều kiện tiêu chuẩn

Mẫu đã tháo khuôn được bảo dưỡng 27 ngày trong điều kiện tiêu chuẩn, để cách nhau ít nhất 25 mm.

Sau khi quá trình bảo dưỡng kết thúc, đặt mẫu hình lăng trụ vào máy nén (4.1.1.3) sao cho bề mặt cạnh nằm ngang trên hai gối đỡ và vuông góc với trục đỡ.

Truyền tải trọng theo chiều thẳng đứng xuống cạnh đối diện của mẫu hình lăng trụ, tăng tải đều với tốc độ (50 ± 10) N/s cho đến khi mẫu gãy.

Bảo quản các nửa mẫu thử trong điều kiện tiêu chuẩn để thử nén.

4.1.4. Xác định cường độ nén trong điều kiện tiêu chuẩn

Tiến hành xác định cường độ nén trên các nửa mẫu gãy sau khi thử uốn theo 4.1.1.4.

Đặt điểm giữa của các nửa mẫu thử lên một phía của má ép của máy nén, chính xác đến ± 0,5 mm và theo chiều dọc sao cho một đầu của nửa mẫu lăng trụ nhô ra khỏi tấm ép hoặc má ép khoảng 10 mm.

Tăng dần đều tải trọng với tốc độ (2 400 ± 200) N/s cho đến khi mẫu gãy.

4.1.5. Xác định cường độ uốn và nén sau các chu kỳ đóng băng và tan băng

Chuẩn bị cụm mẫu thử theo 4.1.2.

Bảo dưỡng mẫu 6 ngày trong điều kiện tiêu chuẩn, sau đó ngâm trong nước 21 ngày trước khi tiến hành 25 chu kỳ đóng băng và tan băng theo 4.4.4.5 của TCVN 7899-2 : 2008 (ISO 13007-2 : 2005).

Sau chu kỳ cuối cùng, bảo dưỡng 3 ngày trong điều kiện tiêu chuẩn. Trước khi thử, kiểm tra và ghi lại mô tả ngắn gọn về bề mặt mẫu thử.

Xác định cường độ uốn theo 4.1.3 và cường độ nén theo 4.1.4.

4.1.6. Đánh giá kết quả thử

4.1.6.1. Cường độ uốn

Cường độ uốn (Sf) được tính theo công thức sau:

Trong đó:

l là chiều dài cạnh bên của tiết diện vuông của mẫu hình lăng trụ, tính bằng milimét;

Ff là tải trọng truyền lên điểm giữa của mẫu lăng trụ, tại thời điểm mẫu gãy, tính bằng niutơn;

D là khoảng cách giữa hai gối đỡ, tính bằng milimét.

Tính giá trị trung bình của ba phép xác định, chính xác đến 0,1 N/mm2.

4.1.6.2. Cường độ nén

Cường độ nén (Sc) được tính theo công thức sau:

Trong đó:

Fc là tải trọng lớn nhất tại điểm phá hủy, tính bằng niutơn;

1600 = 40 mm x 40 mm là diện tích tấm ép hoặc má ép, tính bằng milimét vuông.

Tính giá trị trung bình của sáu kết quả thử, chính xác đến 0,1 N/mm2.

4.1.7. Báo cáo thử nghiệm

Báo cáo thử nghiệm bao gồm các thông tin sau:

a) viện dẫn tiêu chuẩn này, ví dụ: “TCVN 7899-4 : 2008 (ISO 13007-4 : 2005)”;

b) ngày thử nghiệm;

c) loại vữa/keo, ký hiệu thương mại, tên nhà sản xuất;

d) nơi gửi mẫu, ngày nhận mẫu, các thông tin đầy đủ để nhận biết về mẫu thử;

e) xử lý và bảo quản mẫu trước khi thử nghiệm;

f) điều kiện thử nghiệm;

g) lượng nước hoặc phụ gia lỏng đã dùng để chuẩn bị mẫu;

h) kết quả thử nghiệm (giá trị đơn lẻ, giá trị trung bình và kiểu bong tách, nếu yêu cầu).

i) các yếu tố có thể ảnh hưởng kết quả thử;

j) kết quả kiểm tra ngoại quan đối với từng mẫu trước và sau khi thử, kết quả đơn lẻ và giá trị trung bình trong từng điều kiện thử, tính bằng niutơn trên milimét vuông.

4.2. Xác định độ hút nước

4.2.1. Qui định chung

Độ hút nước được xác định theo điều kiện thử nghiệm chung và qui trình nêu trong điều 3 và hướng dẫn cụ thể dưới đây.

4.2.2. Thiết bị, dụng cụ

4.2.2.1. Bộ khuôn, ba bộ khuôn như qui định trong 4.1.1.1.

4.2.2.2. Tấm ngăn, ba tấm, dày 1 mm, bằng nhựa cứng (ví dụ PTFE) hoặc HDPE không dùng chất tháo đỡ khuôn.

4.2.2.3. Thiết bị dằn hoặc bàn dằn, như mô tả trong 4.1.1.2.

4.2.2.4. Khay, đủ rộng để chứa ba mẫu thử.

4.2.3. Chuẩn bị mẫu

Đặt các tấm ngăn vào khoảng giữa khuôn, song song với bề mặt nhỏ hơn. Tiến hành theo qui trình nêu trong 4.1.2, chuẩn bị sáu mẫu cho mỗi loại vữa/keo. Sau khi dỡ khuôn, bảo dưỡng mẫu 20 ngày trong điều kiện tiêu chuẩn. Dùng keo silicon trung tính để bịt kín bốn đầu cạnh kích thước 40 mm x 80 mm để chống thấm nước. Sau đó bảo dưỡng mẫu tiếp trong 7 ngày.

4.2.4. Cách tiến hành

28 ngày sau khi trộn, cân mẫu chính xác đến 0,01 g, đặt mẫu dựng đứng trong khay, với đầu không bịt keo kích thước 40 mm x 40 mm xuống phía dưới, trên miếng đỡ hình tròn hoặc hình tam giác, ngập trong nước 5 mm đến 10 mm, chú ý không để các mặt lăng trụ có thể dính vào nhau.

Giữ cho mực nước luôn luôn không đổi, đổ thêm nước nếu cần.

Sau 30 min, lấy mẫu ra khỏi nước, dùng vải ẩm nhanh chóng thấm khô mẫu và cân ngay.

Đặt lại mẫu vào khay và lặp lại qui trình trên sau thời gian 210 min.

4.2.5. Đánh giá và biểu thị kết quả

Độ hút nước Wab của mỗi mẫu thử, tính bằng gam, được tính theo công thức sau:

Wab = mt – md

Trong đó:

mt là khối lượng mẫu khô, tính bằng gam;

md là khối lượng mẫu sau khi ngâm, tính bằng gam.

Tính giá trị trung bình của ít nhất ba mẫu thử.

4.2.6. Báo cáo thử nghiệm

Báo cáo thử nghiệm gồm các thông tin sau:

a) viện dẫn tiêu chuẩn này, tức là: “TCVN 7899-4 : 2008 (ISO 13007-4 : 2005)”

b) ngày thử nghiệm;

c) loại vữa/keo, ký hiệu thương mại, tên nhà sản xuất;

d) nơi gửi mẫu, ngày nhận mẫu, các thông tin đầy đủ về mẫu thử;

e) cách xử lý và bảo quản mẫu trước khi thử nghiệm;

f) điều kiện thử nghiệm;

g) lượng nước hoặc phụ gia lỏng đã dùng để chuẩn bị mẫu;

h) kết quả thử nghiệm (giá trị đơn lẻ, giá trị trung bình và kiểu bong tách, nếu yêu cầu).

i) các yếu tố có thể ảnh hưởng kết quả thử;

j) kết quả thử đơn lẻ và giá trị trung bình sau 30 min và 240 min.

4.3. Xác định độ co ngót

4.3.1. Qui định chung

Độ co ngót được xác định trong điều kiện tiêu chuẩn, theo qui trình nêu trong điều 3 và hướng dẫn chi tiết sau đây.

4.3.2. Thiết bị, dụng cụ

4.3.2.1. Bộ khuôn, ba bộ khuôn có các tấm ngăn như mô tả trong 4.1.1.1.

4.3.2.2. Tấm ngăn, sáu tấm ngăn nhẵn, cứng, không thấm nước (ví dụ bằng polyetylen hoặc PTFE), kích thước (40 ± 0,1 x 160 ± 0,4) mm và dày (15 ± 0,1) mm.

4.3.2.3. Thiết bị dằn, như mô tả trên Hình 2.

4.3.2.4. Thiết bị đo

Thiết bị đo bao gồm một dụng cụ đo với đế có vít điều chỉnh. Dụng cụ đo có đồng hồ số, đọc được chính xác đến 0,01 mm, đồng hồ được gắn cố định vào khung đo (xem Hình 5, 6 và 7).

4.3.2.5. Thanh hiệu chuẩn

Thanh hiệu chuẩn hoặc thanh chuẩn được sử dụng làm chiều dài chuẩn để kiểm tra số đọc của đồng hồ. Thanh chuẩn này được làm từ vật liệu có hệ số giãn nở không đáng kể (ví dụ bằng hợp kim Inva).

4.3.3. Chuẩn bị mẫu thử

Lắp khuôn thích hợp để chuẩn bị các mẫu thử.

Đúc khuôn mẫu ngay sau khi trộn vữa/keo bằng cách lắp khuôn chắc chắn lên bàn dằn. Sau đó, dùng thìa phù hợp lấy vữa/keo trực tiếp từ bát trộn và tạo lớp vữa/keo đầu tiên ở từng ngăn khuôn.

Trải vữa/keo đồng đều và lèn bằng cách dằn 60 cái.

Nhấc nhẹ nhàng khuôn ra khỏi bàn dằn, gạt vữa/keo thừa và dùng bay phẳng miết mặt mẫu.

Lau sạch vữa/keo dính xung quanh khuôn.

Đậy tấm kính theo 4.1.2.

Đặt khuôn đã được đánh dấu nhận biết lên nền phẳng trong điều kiện tiêu chuẩn ở nhiệt độ (23 ± 2) 0C và độ ẩm tương đối (50 ± 5) % R.H hoặc nhiệt độ (27 ± 2) 0C và độ ẩm tương đối (65 ± 5) % R.H.

Sau 24 h bảo dưỡng, cẩn thận lấy mẫu ra khỏi khuôn.

Chuẩn bị ba mẫu cho từng loại vữa/keo

4.3.4. Cách tiến hành

Ngay sau khi tháo khuôn, xác định chiều dài của các mẫu thử (số đọc ban đầu) bằng dụng cụ đo (xem 4.3.1.4).

Giữ mẫu hình lăng trụ đã tháo khuôn trên tấm đỡ dày 10 mm trong điều kiện tiêu chuẩn, giữ khoảng cách giữa các mẫu ít nhất 25 mm.

Đo kích thước các mẫu sau 27 ngày ± 12 h tính từ lần đo thứ nhất.

4.3.5. Đánh giá kết quả

Độ co tuyến tính, tính bằng milimét trên mét, là giá trị trung bình của ba giá trị so với giá trị đo đầu tiên.

4.3.6. Báo cáo thử nghiệm

Báo cáo thử nghiệm gồm các thông tin sau:

a) viện dẫn tiêu chuẩn này, “TCVN 7899-4 : 2008 (ISO 13007-4 : 2005)”;

b) ngày thử nghiệm;

c) loại vữa/keo, ký hiệu thương mại, tên nhà sản xuất;

d) nơi gửi mẫu, ngày nhận mẫu, thông tin đầy đủ về mẫu thử;

e) cách xử lý và bảo quản mẫu trước khi thử nghiệm;

f) điều kiện thử nghiệm;

g) lượng nước hoặc phụ gia lỏng đã dùng để chuẩn bị mẫu;

h) kết quả thử nghiệm (giá trị đơn lẻ, giá trị trung bình và kiểu bong tách, nếu yêu cầu);

i) các yếu tố có thể ảnh hưởng kết quả thử;

j) kết quả kiểm tra ngoại quan trên từng mẫu trước và sau khi thử với kết quả thử đơn lẻ và giá trị trung bình của từng điều kiện thử, tính bằng niutơn trên milimét vuông;

k) kết quả thử (giá trị đơn lẻ và giá trị trung bình) tính bằng milimét trên mét.

4.4. Xác định độ chịu mài mòn

4.4.1. Quy định chung

Độ chịu mài mòn được thử nghiệm trong điều kiện tiêu chuẩn nêu trong điều 3 và hướng dẫn chi tiết dưới đây.

4.4.2. Thiết bị, dụng cụ

4.4.2.1. Thiết bị thử độ mài mòn, bao gồm các bộ phận chính là đĩa mài, phễu chứa vật liệu mài, một giá đỡ mẫu và quả cân (xem Hình 8).

Đĩa mài làm từ vật liệu E 235 A (Fe 360 A) theo ISO 630, đường kính (200 ± 0,2) mm, chiều dày tại cạnh biên là (10 ± 0,1) mm và tốc độ vòng quay là 75 vòng/min. Áp lực mẫu đè lên đĩa thép được xác định bằng cách hiệu chuẩn thiết bị theo silica nóng chảy trong suốt. Áp lực được điều chỉnh sao cho sau 150 vòng quay, sử dụng vật liệu mài F 80 (ISO 8486-1), tạo ra một đường lõm sâu (24 ± 0,5) mm. Silica nóng chảy trong suốt được sử dụng như chuẩn đầu. Chuẩn thử có thể dùng kính nổi hoặc sản phẩm khác. Nếu đường kính bị giảm 0,5 % so với đường kính ban đầu thì thay thế đĩa thép khác.

4.4.2.2. Vật liệu mài, là nhôm oxit nóng chảy, màu trắng, cỡ hạt 80 theo ISO 8486-1.

4.4.2.3. Đồng hồ đo, chính xác đến 0,1 mm.

4.4.2.4. Khuôn, là khung hình vuông, cứng, nhẵn, không thấm nước (ví dụ polyetylen hoặc PTFE), kích thước bên trong (100 ± 1) mm x (100 ± 1) mm và chiều dày (10 ± 1) mm.

4.4.3. Chuẩn bị mẫu thử

Vữa/keo được chuẩn bị như mô tả trong điều 3.

Đặt khuôn lên trên lớp màng polyetylen.

Trát một lớp vữa/keo vừa phải lên khuôn, miết cẩn thận và sạch sẽ sao cho vữa/keo phủ kín các lỗ hổng trên khuôn.

Đậy tấm kính theo 4.1.2.

Sau 24 h, cẩn thận nhấc khuôn ra.

Bảo dưỡng mẫu theo yêu cầu thử nghiệm. Chuẩn bị 2 mẫu cho mỗi loại vữa/keo.

4.4.4. Cách tiến hành

Đặt mẫu thử lên thiết bị (4.4.1.1), bề mặt trát vữa/keo tiếp xúc hoàn toàn với đĩa mài khi quay.

Đảm bảo vật liệu mài (4.4.1.2) được rắc đều trên vùng màu với vận tốc (100 ± 10) g trên 100 vòng quay.

Thực hiện quay đĩa mài 50 vòng.

Lấy mẫu ra khỏi máy mài và đo chiều dài cung mài (L) chính xác đến 0,5 mm.

Tiến hành trên mỗi mẫu thử ít nhất ở hai vị trí vuông góc với nhau.

Không sử dụng lại vật liệu mài.

4.4.5. Biểu thị kết quả

Độ bền mài mòn sâu theo thể tích V, tính bằng milimét khối, của vật liệu bị mài ra, được tính trên cơ sở chiều dài cung mài (L) theo công thức sau:

với:

Trong đó:

a là góc, tính theo độ, hình thành từ tâm điểm của đĩa mài và cung mài (xem Hình 9);

h là chiều dày đĩa mài, tính bằng milimét;

d là đường kính đĩa mài, tính bằng milimét; và

L là chiều dài cung mài, tính bằng milimét;

Một số các giá trị tương đương của L V được cho trong Bảng 1.

4.4.6. Báo cáo thử nghiệm

Báo cáo thử nghiệm gồm các thông tin sau:

a) viện dẫn tiêu chuẩn này, “TCVN 7899-4 : 2008 (ISO 13007-4 : 2005)”;

b) ngày thử nghiệm;

c) loại vữa/keo, ký hiệu thương mại, tên nhà sản xuất;

d) nơi gửi mẫu, ngày nhận mẫu, thông tin đầy đủ về mẫu thử;

e) cách xử lý và bảo quản mẫu trước khi thử nghiệm;

f) điều kiện thử nghiệm;

g) lượng nước hoặc phụ gia lỏng đã dùng để chuẩn bị mẫu;

h) kết quả thử nghiệm (giá trị đơn lẻ, giá trị trung bình và kiểu bong tách, nếu yêu cầu);

i) các yếu tố có thể ảnh hưởng kết quả thử;

j) kết quả kiểm tra ngoại quan trên từng mẫu trước và sau khi thử với kết quả thử đơn lẻ và giá trị trung bình của từng điều kiện thử, tính bằng niutơn trên milimét vuông;

k) chiều dài cung mài (L), chính xác đến 0,5 mm;

l) thể tích (V) rãnh mài, tính bằng milimét khối;

m) giá trị thể tích trung bình (Vav) tính bằng milimét khối.

4.5. Xác định biến dạng ngang

Sự biến dạng ngang được thử nghiệm và báo cáo theo qui trình nêu trong 4.5 của TCVN 7899-2 : 2008 (ISO 13007-2 : 2005).

4.6. Xác định độ bền hóa

Độ bền hóa được thử nghiệm và báo cáo theo qui trình nêu trong 4.6 của TCVN 7899-2 : 2008 (ISO 13007-2 : 2005).

Kích thước tính bằng milimét

CHÚ DẪN

1 dải vữa/keo

2 khung trên, chiều rộng bên trong 39,6 mm ± 0,2 mm

3 có khung trên

4 không có khung trên

Hình 1 – Ví dụ về khuôn chế tạo các mẫu hình lăng trụ

(40 ± 0,1 mm x 40 ± 0,1 mm x 160 ± 0,4 mm)

CHÚ DẪN

1 vấu

2 cam

3 chốt hãm

4 cơ cấu phụ cam

CHÚ THÍCH: Khuôn và bàn dằn của các nhà chế tạo khác nhau có thể có kích thước và khối lượng không như nhau, do đó người sử dụng phải lựa chọn sự thích hợp của sản phẩm.

Hình 2 – Thiết bị dằn điển hình

Hình 3 – Bố trí truyền tải để xác định cường độ uốn

CHÚ DẪN

1 vòng bi

2 cơ cấu trượt

3 lò xo trả về

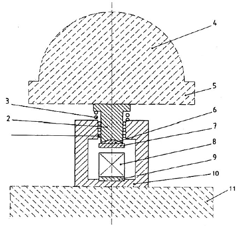
4 gối cầu của máy nén

5 tấm ép trên của máy

6 gối cầu của bộ gá

7 tấm ép trên của bộ gá

8 mẫu thử

9 tấm ép dưới

10 tấm ép dưới của bộ gá

11 tấm ép dưới của máy

Hình 4 – Gá thử điển hình dùng để thử nghiệm cường độ nén

CHÚ DẪN

1 vít đều chỉnh

2 khung

3 chốt định vị đo

4 thanh bên

5 mẫu thử

6 giá đỡ

Hình 5 – Thiết bị đo (Kiểu A)

CHÚ DẪN

1 chốt hãm

2 giá đỡ

Hình  6 – Thiết bị đo (Kiểu B)

CHÚ DẪN

1 trục đo

2 mặt nằm ngang

3 chân đế 1

4 chân đế 2

a Vùng đo

Hình 7 – Thiết bị đo (Kiểu C)

CHÚ DẪN

1 mẫu thử

2 đá mài nhôm oxit

3 đĩa thép

Hình 8 – Mô phỏng thiết bị thử mài mòn sâu

CHÚ DẪN

a góc hình thành giữa tâm đĩa quay và cung mài, tính bằng độ

L chiều dài cung mài

Hình 9 – Mô tả cung mài

Bảng 1 – Các giá trị tương đương

L

mm

V

mm3

L

mm

V

mm3

L

mm

V

mm3

L

mm

V

mm3

L

mm

V

mm3

20

67

30

224

40

540

50

1 062

60

1 851

20,5

72

30,5

238

40,5

561

50,5

1 094

60,5

1 899

21

77

31

250

41

582

51

1 128

61

1 947

21,5

83

31,5

262

41,5

603

51,5

1 162

61,5

1 996

22

89

32

275

42

626

52

1 196

62

2 046

22,5

95

32,5

288

42,5

649

52,5

1 232

62,5

2 097

23

102

33

302

43

672

53

1 268

63

2 149

23,5

109

33,5

316

43,5

696

53,5

1 305

63,5

2 202

24

116

34

330

44

720

54

1 342

64

2 256

24,5

123

34,5

345

44,5

746

54,5

1 380

64,5

2 310

25

131

35

361

45

771

55

1 419

65

2 365

25,5

139

35,5

376

45,5

798

55,5

1 459

65,5

2 422

26

147

36

393

46

824

56

1 499

66

2 479

26,5

156

36,5

409

46,5

852

56,5

1 541

66,5

2 537

27

165

37

427

47

880

57

1 583

67

2 596

27,5

174

37,5

444

47,5

909

57,5

1 625

67,5

2 656

28

184

38

462

48

938

58

1 689

68

2 717

28,5

194

38,5

481

48,5

968

58,5

1 713

68,5

2 779

29

205

39

500

49

999

59

1 758

69

2 842

29,5

215

39,5

520

49,5

1 030

59,5

1 804

69,5

2 906

 

Phụ lục A

(qui định)

Các yêu cầu đối với thiết bị thử

A.1. Thiết bị dằn

A.1.1. Qui định chung

Thiết bị dằn (thiết kế điển hình như thể hiện trên Hình 2) phải đảm bảo yêu cầu sau:

Thiết bị gồm chủ yếu một bàn hình chữ nhật được nối cứng, chắc với trục xoay bằng hai tay đòn nhỏ cách tâm bàn 800 mm.

A.1.2. Cơ cấu bàn dằn, kích thước và khối lượng

Ngay tại tâm của bề mặt dưới bàn có gắn cơ cấu vấu lồi mặt tròn. Sát phía dưới của vấu lồi là một chốt hãm nhỏ với bề mặt phía trên phẳng. Ở vị trí nghỉ, trục đi qua điểm tiếp giáp với mấu và chốt hãm ở vị trí thẳng đứng. Nếu vấu lồi ở vị trí dừng, bề mặt trên của bàn phải ở vị trí nằm ngang sao cho mức của một trong bốn góc không được chênh quá 1,0 mm so với mức trung bình.

Bàn phải có kích thước bằng hoặc lớn hơn kích thước tấm đế khuôn và bề mặt trên của thiết bị. Các kẹp giữ để khuôn với bàn một cách chắc chắn.

Tổng khối lượng của cả bàn, cánh tay đòn, khuôn rỗng, cơ cấu phụ cam và các kẹp giữ phải là (20,0 ± 0,5) kg.

A.1.3. Cánh tay đòn

Các cánh tay đòn nối bàn với trục xoay phải đảm bảo:

– cứng, và

– có kết cấu là một ống tròn với đường kính ngoài nằm trong khoảng 17 mm đến 22 mm được chọn ra trong dãy kích thước ống qui định trong ISO 4200.

Tổng khối lượng của cả hai cánh tay đòn, kể cả bất kỳ thanh nẹp ngang nào, phải là (2,25 ± 0,25) kg. Trục xoay phải là loại hình cầu hoặc trục tròn và được bảo vệ tránh bụi hoặc mạt đá. Sự dịch chuyển ngang của tâm mặt bàn khi trục xoay không được vượt quá 1,0 mm.

A.1.4. Vấu và chốt hãm

Vấu và chốt hãm phải được làm từ vật liệu thép có độ cứng không nhỏ hơn HV 500 giá trị độ cứng Vicker (xem ISO 409-1). Độ lệch của vấu phải bằng khoảng 0,01 mm.

Khi hoạt đông, do chuyển động của cam bàn được dằn nâng lên và rơi tự do xuống ở độ cao (15,0 ± 0,3) mm trước khi vấu đập vào chốt hãm.

A.1.5. Cam

Cam phải được làm từ vật liệu thép có độ cứng không nhỏ hơn HV 400 giá trị độ cứng Vicker và trục của nó phải nằm trong ổ bi theo một kết cấu đảm bảo luôn luôn rơi tự do ở độ cao (15,0 ± 0,3) mm.

Cơ cấu dẫn của cam phải có cấu trúc đảm bảo cho cam ít bị mài mòn nhất.

Cam được khởi động bằng mô tơ điện khoảng 250 W qua một truyền động bánh răng giảm tại một tốc độ không đổi theo vòng/s. Để đảm bảo rằng mỗi chu kỳ dằn đúng 60 cái cần có cơ cấu kiểm soát và thiết bị đếm.

A.1.6. Lắp đặt khuôn

Việc lắp đặt khuôn trên bàn dằn phải đảm bảo sao cho kích thước nằm ngang của các ngăn khuôn thẳng hàng với hướng của tay đòn và vuông góc với trục quay của cam.

Để thuận tiện cho việc đặt đúng khuôn, cần đánh dấu khuôn sao cho tâm điểm của ngăn khuôn ở giữa nằm trực diện trên điểm tác động dằn.

A.1.7. Khối bê tông

Thiết bị dằn phải được đặt chắc chắn trên khối bê tông, như sau:

– khối lượng khoảng 600 kg.

– thể tích khoảng 0,25 m3, và

– kích thước phù hợp với chiều cao làm việc đối với khuôn.

Toàn bộ bệ bê tông phải được đặt trên một đệm đàn hồi, ví dụ bằng cao su thiên nhiên, có khả năng ngăn ngừa chấn rung khi bàn dằn hoạt động.

A.1.8. Bệ máy

Bệ của máy được cố định ngay ngắn trên khối bê tông bằng các bu lông vít chặt.

Giữa bệ và máy được trải một lớp vữa để đảm bảo liên kết toàn bộ hệ thống mà không bị chấn rung.

A.2. Thiết bị thử nghiệm cường độ uốn

Thiết bị thử để xác định cường độ uốn phải có khả năng truyền tải đến 10 kN, chính xác đến ± 1,0 % của tải trọng ghi được trên 4/5 của dải tải trọng sử dụng với tốc độ truyền tải là (50 ± 10) N/s.

Thiết bị phải được trang bị cơ cấu chịu uốn bao gồm hai gối tựa dạng con lăn bằng thép đường kính (10,0 ± 0,5) mm đặt cách nhau (100,0 ± 0,5) mm và một con lăn truyền tải bằng thép có cùng đường kính, được đặt chính giữa hai con lăn gối tựa. Chiều dài của các con lăn khoảng từ 45 mm đến 50 mm. Hình 3 mô tả cách bố trí việc truyền tải.

Ba mặt thẳng đứng xuyên qua trục của ba con lăn phải song song và duy trì tính song song, cách đều nhau và vuông góc với mẫu trong khi thử. Một trong hai con lăn gối tựa và con lăn truyền lực phải đảm bảo hơi nghiêng để tải trọng được phân bổ đồng đều toàn bộ chiều rộng mẫu thử mà không gây ra ứng suất xoắn.

Việc xác định cường độ có thể thực hiện trên cùng thiết bị xác định cường độ nén. Trong trường hợp này cần sử dụng thiết bị phù hợp yêu cầu đã nêu ở trên.

A.3. Thiết bị thử nghiệm cường độ nén

Thiết bị thử nghiệm cường độ nén phải có công suất thích hợp cho phép thử (xem Chú thích 1).

– Thiết bị phải có độ chính xác ± 1,0 % của tải trọng ghi được phía trên của 4/5 dải tải trọng sử dụng và tốc độ truyền tải là (2 400 ± 200) N/s.

– Thiết bị phải có dụng cụ hiển thị và giữ lại giá trị tại thời điểm mẫu bị phá hủy sau khi đã dỡ tải. Việc này có thể đạt được bằng cách sử dụng bộ hiển thị lớn nhất trên đồng hồ áp lực, hoặc có bộ nhớ hiển thị số.

– Thiết bị thao tác bằng tay phải được lắp một dụng cụ đo tốc độ để thuận tiện cho việc kiểm soát tốc độ tăng tải.

Trục thẳng đứng của đầu nén phải trùng với trục thẳng đứng của máy nén và trong suốt quá trình truyền tải hướng chuyển động của đầu nén phải dọc theo trục thẳng đứng của máy nén. Quan trọng nhất là lực phải được truyền qua tâm điểm của mẫu. Bề mặt dưới của tấm nén phải vuông góc với trục của máy nén và giữ vuông góc trong suốt quá trình truyền tải.

Tâm điểm gối cầu của tấm ép trên phải trùng với giao điểm của trục thẳng đứng của thiết bị với mặt phẳng dưới của tấm ép trên với dung sai ± 1 mm. Tấm ép trên phải nằm tự do khi tiếp xúc với mẫu, nhưng vị trí tương đối của tấm ép trên và tấm ép dưới phải giữ được cố định trong suốt quá trình truyền tải.

Các tấm ép của máy nén phải được làm từ thép có độ cứng không thấp hơn HV 600 độ cứng Vicker (xem ISO 409-1), hoặc tốt nhất là bằng vật liệu vonfram cacbua. Các tấm ép này phải dày ít nhất là 10 mm, rộng (40,0 ± 0,1) mm và dài ít nhất (40,0 ± 0,1) mm. Dung sai độ phẳng, theo ISO 1101, trên toàn bộ bề mặt tiếp xúc mẫu, phải là 0,01 mm. Kết cấu bề mặt tấm ép theo ISO 1302, phải nhám hơn N3 và không nhám hơn N6.

Có thể sử dụng tấm ép bằng thép cứng khác hoặc bằng vonfram cacbua, dày ít nhất 10 mm và đáp ứng các yêu cầu đối với tấm ép. Cần đảm bảo việc khoan tâm của tấm ép trùng với trục của hệ thống truyền tải với độ chính xác bằng ± 0,5 mm.

Trong trường hợp thiết bị không có gối cầu hoặc gối cầu bị chẹn, hoặc khi gối cầu có đường kính lớn hơn 120 mm, cần sử dụng bộ gá theo A.4.

CHÚ THÍCH 1: Máy nén có thể gồm một hoặc hai dải đo. Giá trị cao nhất của dải đo thấp hơn phải bằng khoảng 1/5 giá trị cao nhất của dải đo cao hơn tiếp theo.

CHÚ THÍCH 2: Tốt nhất là dùng loại máy thử áp dụng phương pháp tự động điều chỉnh tốc độ truyền tải và thiết bị ghi kết quả.

CHÚ THÍCH 3: Gối cầu của máy phải được bôi trơn nhằm dễ dàng điều chỉnh sự tiếp xúc với mẫu, nhưng chỉ với mức độ vừa phải để tránh sự chuyển dịch các tấm ép trong suốt quá trình truyền tải. Không dùng loại dầu nhờn dễ bị ảnh hưởng dưới áp suất cao.

CHÚ THÍCH 4: Các thuật ngữ “thẳng đứng”, “dưới” và “trên” chỉ là qui ước cho máy thử. Tuy nhiên, khi trục máy thử không thẳng đứng, thì máy thử phải đáp ứng qui trình thử và các yêu cầu khác nêu trong A.3.

A.4. Bộ gá định vị và thiết bị thử cường độ nén

Khi áp dụng các yêu cầu trong A.3 (xem Hình 4), thì bộ gá định vị được đặt giữa các tấm ép của máy để truyền tải của máy tới bề mặt nén của tấm mẫu thử.

Cần sử dụng tấm ép dưới cho bộ gá định vị và tấm ép này của bộ gá gắn liền với tấm ép của máy thử.

Tấm ép trên của gá nhận lực truyền từ tấm ép trên của máy thử qua tâm điểm của gối cầu. Gối cầu tạo nên một phần của cụm thiết bị và có khả năng trượt thẳng đứng mà không gây nên ma sát trong gá định vị.

Gá định vị phải được giữ sạch sẽ và gối cầu có thể xoay tự do làm cho tấm ép vừa khớp với khuôn mẫu ngay từ đầu và sau đó giữ được vị trí như vậy trong suốt quá trình thử. Khi sử dụng gá định vị, phải tuân thủ các yêu cầu nêu trong A.3.

CHÚ THÍCH 1: Gối cầu của gá có thể được bôi trơn nhưng chỉ vừa phải để tránh làm cho các tấm ép bị chuyển dịch trong suốt quá trình truyền tải. Không dùng loại dầu nhờn bị ảnh hưởng dưới áp suất cao.

CHÚ THÍCH 2: Sẽ là rất tốt nếu cụm thiết bị có thể tự động trở về vị trí ban đầu sau khi mẫu bị phá hủy.

 

THƯ MỤC TÀI LIỆU THAM KHẢO

[1] TCVN 5669 (ISO 1513) Sơn và vecni – Kiểm tra và chuẩn bị mẫu thử.

[2] ISO 13006 Ceramic tiles – Definitions, classification, characteristics and marking (Gạch gốm ốp lát – Định nghĩa, phân loại, các đặc tính và ghi nhãn).

[3] TCVN 7899-1 (ISO 13007-1) Gạch gốm ốp lát – Vữa, keo chít mạch và dán gạch – Phần 1: Thuật ngữ, định nghĩa và yêu cầu kỹ thuật đối với vữa, keo dán gạch.

[4] TCVN 7899-3 (ISO 13007-3) Gạch gốm ốp lát – Vữa, keo chít mạch và dán gạch – Phần 3: Thuật ngữ, định nghĩa và yêu cầu kỹ thuật đối với vữa chít mạch.

[5] TCVN 2090 (ISO 15528) Sơn, vecni và nguyên liệu cho sơn và vecni – Lấy mẫu.

Leave a Reply

Your email address will not be published. Required fields are marked *