Tiêu chuẩn quốc gia TCVN 7937-1:2009 (ISO 15630-1:2002) về Thép làm cốt bê tông và bê tông dự ứng lực – Phương pháp thử – Phần 1: Thanh, dây và sợi làm cốt đã được thay thế bởi Tiêu chuẩn quốc gia TCVN 7937-1:2013 (ISO 15630-1:2010) về Thép làm cốt bê tông và bê tông dự ứng lực – Phương pháp thử – Phần 1: Thanh, dảnh và dây dùng làm cốt .
Nội dung toàn văn Tiêu chuẩn quốc gia TCVN 7937-1:2009 (ISO 15630-1:2002) về Thép làm cốt bê tông và bê tông dự ứng lực – Phương pháp thử – Phần 1: Thanh, dây và sợi làm cốt
TIÊU CHUẨN QUỐC GIA
TCVN 7937-1:2009
ISO 15630-1:2002
THÉP LÀM CỐT BÊ TÔNG VÀ BÊ TÔNG DỰ ỨNG LỰC – PHƯƠNG PHÁP THỬ – PHẦN 1: THANH, DÂY VÀ SỢI LÀM CỐT
Steel for the reinforcement and prestressing of concrete – Test methods – Part 1: Reinforcing bars, wire rod and wire
Lời nói đầu
TCVN 7937-1:2009 hoàn toàn tương đương với ISO 15630-1:2002
TCVN 7937-1:2009 do Ban kỹ thuật tiêu chuẩn quốc gia TCVN/TC 17 Thép biên soạn, Tổng cục Tiêu chuẩn Đo lường Chất lượng đề nghị, Bộ Khoa học và Công nghệ công bố.
TCVN 7937-1:2009 là một phần của TCVN 7937:2009. Tiêu chuẩn này bao gồm các phần sau:
– TCVN 7937-1:2009 Thép làm cốt bê tông và bê tông dự ứng lực – Phương pháp thử – Phần 1: Thanh, dây và sợi làm cốt;
– TCVN 7937-2:2009 Thép làm cốt bê tông và bê tông dự ứng lực – Phương pháp thử – Phần 2: Lưới hàn;
– TCVN 7937-3:2009 Thép làm cốt bê tông và bê tông dự ứng lực – Phương pháp thử – Phần 3: Thép dự ứng lực.
THÉP LÀM CỐT BÊ TÔNG VÀ BÊ TÔNG DỰ ỨNG LỰC – PHƯƠNG PHÁP THỬ – PHẦN 1: THANH, DÂY VÀ SỢI LÀM CỐT
Steel for the reinforcement and prestressing of concrete – Test methods – Part 1: Reinforcing bars, wire rod and wire
1. Phạm vi áp dụng
Tiêu chuẩn này quy định các phương pháp thử dùng cho thanh, dây và sợi dùng làm cốt thép cho bê tông.
2. Tài liệu viện dẫn
Các tài liệu dưới đây là cần thiết đối với việc áp dụng tiêu chuẩn này. Đối với tài liệu có ghi năm công bố, áp dụng phiên bản được nêu. Đối với tài liệu không có năm công bố, áp dụng phiên bản mới nhất (kể cả các sửa đổi).
TCVN 197:2002 (ISO 6892:1998), Vật liệu kim loại – Thử kéo ở nhiệt độ phòng.
TCVN 198:2008 (ISO 7438:1985), Vật liệu kim loại – Thử uốn.
ISO 4965:1979, Axial load fatigue testing machines – Dynamic force calibration – Strain gauge technique. (Máy thử mỏi tải trọng chiều trục – Hiệu chuẩn lực động – Kỹ thuật đo ứng suất).
ISO 7500-1:1999, Metallic materials – Verification of static uniaxial testing machines – Part 1: Tension/compression testing machines – Verification and calibration of the force-measuring system. (Vật liệu kim loại – Kiểm định các máy thử đồng trục tĩnh – Phần 1: Máy thử kéo/nén – Kiểm định và hiệu chuẩn hệ thống đo lực).
ISO 9513:1999, Metallic materials – Calibration of extensometers used in uniaxial testing. (Vật liệu kim loại – Hiệu chuẩn các giãn kế được sử dụng trong phép thử một trục)
ISO/TR 9769:1991, Steel and iron – Review of available methods of analysis (Thép và gang – Tổng quan các phương pháp phân tích hiện có).
3. Ký hiệu
Xem Bảng 1
Bảng 1 – Ký hiệu
|
Ký hiệu |
Đơn vị |
Ý nghĩa |
Điều |
|
a’ |
mm |
Chiều cao gân dọc |
10.3.2; 11.3 |
|
am |
mm |
Chiều cao gân tại điểm giữa |
10.3.1.2; 11.3.3 |
|
amaxa |
mm |
Chiều cao gân ngang hoặc chiều sâu rãnh lõm lớn nhất |
10.3.1.1 |
|
as,i |
mm |
Chiều cao trung bình của phần thứ i khi chia một gân thành p phần trên chiều dài Dl |
11.3.1 |
|
A1/4 |
mm |
Chiều cao gân tại vị trí một phần tư |
10.3.1.2; 11.3.3 |
|
A3/4 |
mm |
Chiều cao gân tại vị trí ba phần tư |
10.3.1.2; 11.3.3 |
|
A |
% |
Độ giãn dài phần trăm sau khi đứt |
5.1; 5.3 |
|
Ag |
% |
Độ giãn dài phần trăm không tỷ lệ tại lực lớn nhất Fm |
5.3 |
|
Agt |
% |
Độ giãn dài phần trăm tổng cộng tại lực lớn nhất Fm |
5 |
|
An |
mm2 |
Diện tích mặt cắt ngang danh nghĩa của thanh, dây hoặc sợi |
8.4.2 |
|
c |
mm |
Bước gân ngang hoặc bước rãnh lõm |
10.3.3; 11.3 |
|
d |
mm |
Đường kính danh nghĩa của thanh, dây hoặc sợi |
5.3; 8.2; 8.4.8; 11.3 |
|
D |
mm |
Đường kính gối uốn trong thử uốn hoặc uốn lại |
6.3; 7.3.2 |
|
e |
mm |
Khe hở trung bình giữa hai hàng gân hoặc hai hàng rãnh lõm kề nhau |
10.3.5 |
|
f |
Hz |
Tần số gia tải trong thử mỏi |
8.1; 8.4.3 |
|
fP |
– |
Diện tích rãnh lõm tương đối |
11 |
|
fR |
– |
Diện tích gân tương đối |
11 |
|
Fm |
n |
Lực kéo lớn nhất |
5.3 |
|
FP |
mm2 |
Diện tích mặt cắt dọc của một vết rãnh lõm |
11.3.2 |
|
Fr |
N |
Phạm vi lực trong thử mỏi dọc trục |
8.1; 8.3; 8.4.2; 8.4.3 |
|
FR |
mm2 |
Diện tích mặt cắt dọc của một gân |
11.3.1 |
|
Fup |
N |
Lực cận trên trong thử mỏi dọc trục |
8.1; 8.3; 8.4.2; 8.4.3 |
|
n, m, q, p |
– |
Đại lượng dùng trong các công thức tính fR, fP, FR và FP |
11.3 |
|
P |
mm |
Bước xoắn của thanh xoắn nguội |
10.3.4; 11.3 |
|
r1 |
mm |
Khoảng cách giữa đầu kẹp và các vạch giới hạn chiều dài tính toán khi đo Agt theo cách thủ công |
5.3 |
|
r2 |
mm |
Khoảng cách giữa vị trí đứt và các vạch giới hạn chiều dài tính toán khi đo Agt theo cách thủ công |
5.3 |
|
ReH |
MPa |
Giới hạn chảy trên |
5.2; 5.3 |
|
Rm |
MPa |
Giới hạn bền |
5.3 |
|
Rp0,2 |
MPa |
Giới hạn chảy qui ước tại độ giãn dài không tỷ lệ 0,2% |
5.2; 5.3 |
|
a |
độ |
Góc nghiêng của gân ngang |
10.3.7 |
|
b |
độ |
Góc giữa trục gân ngang hoặc rãnh lõm với trục của thanh, dây hoặc sợi |
10.3.6; 11.3 |
|
g |
độ |
Góc uốn trong thử uốn hoặc uốn lại |
6.3; 7.3.1 (Hình 4), 7.3.2 |
|
d |
độ |
Góc uốn lại trong thử uốn lại |
7.3.1 (Hình 4), 7.3.4 |
|
l |
– |
Hệ số kinh nghiệm trong công thức kinh nghiệm của fR và fP |
11.3.3 |
|
2sa |
MPa |
Phạm vi thay đổi ứng suất trong thử mỏi tải dọc trục |
8.4.2 |
|
smax |
MPa |
Ứng suất lớn nhất trong thử mỏi tải dọc trục |
8.4.2 |
|
Sei |
mm |
Phần chu vi không chứa gân hoặc rãnh lõm |
10.3.5; 11.3.3 |
|
CHÚ THÍCH: 1 MPa = 1 N/mm2 |
|||
|
a Trong một số tiêu chuẩn sản phẩm, thông số này có thể được ký hiệu là h |
|||
4. Qui định chung về mẫu thử
Nếu không có thỏa thuận khác, mẫu thử sẽ được lấy từ thanh, dây hoặc sợi trong điều kiện nguyên trạng.
Nếu phải lấy mẫu thử từ cuộn, mẫu thử sẽ được nắn thẳng trước khi tiến hành thử bằng phương pháp uốn đơn giản với lượng biến dạng dẻo ít nhất có thể.
Khi phải xác định các chỉ tiêu cơ tính trong thử kéo hoặc thử mỏi, mẫu thử được phép làm hóa già nhân tạo (sau khi đã nắn thẳng nếu có thể), phụ thuộc vào yêu cầu của tiêu chuẩn sản phẩm tương ứng.
CHÚ THÍCH: Nếu tiêu chuẩn sản phẩm không qui định việc xử lý hóa già, khi đó có thể áp dụng các bước xử lý như sau: nung nóng mẫu thử đến 1000C, duy trì tại nhiệt độ này trong vòng 1 h-0+15 min với phạm vi dao động nhiệt độ là ± 100C sau đó lấy mẫu ra rồi làm nguội tự nhiên trong không khí tĩnh tới nhiệt độ môi trường.
Khi xử lý hóa già, các thông số điều kiện của quá trình xử lý phải được đưa vào trong báo cáo thử.
5. Thử kéo
5.1. Mẫu thử
Mẫu thử phải tuân theo các qui định chung trong điều 4, chiều dài tự do của mẫu thử phải đủ cho quá trình xác định độ giãn dài phần trăm theo 5.3.
Nếu cần xác định độ giãn dài phần trăm sau khi đứt A, mẫu thử hỉ được vạch dấu theo qui định trong điều 8 của TCVN 197:2002.
Nếu cần xác định độ giãn dài phần trăm tổng cộng tại lực lớn nhất Agt bằng phương pháp thủ công, phải vạch trên mẫu thử các vạch cách đều nhau trên suốt chiều dài tự do (xem Phụ lục H, TCVN 197:2002). Khoảng cách giữa các vạch này sẽ là 20 mm, 10 mm hoặc 15 mm tùy theo đường kính của thanh, dây hoặc sợi.
5.2. Thiết bị thử
Thiết bị thử phải được kiểm tra và hiệu chuẩn theo ISO 7500-1 và có cấp chính xác tối thiểu là cấp 1.
Nếu có sử dụng giãn kế thì giãn kế phải đạt độ chính xác cấp 1 (xem ISO 9513) khi dùng để xác định ReH hoặc Rp0,2 và đạt độ chính xác cấp 2 (xem ISO 9513) khi dùng để xác định Agt.
Giãn kế dùng để xác định độ giãn dài phần trăm tổng cộng tại lực lớn nhất Agt phải có khoảng kẹp tối thiểu là 100 mm. Khoảng kẹp của giãn kế phải được đưa vào trong báo cáo thử.
5.3. Qui trình thử
Phép thử kéo phải được tiến hành theo TCVN 197:2002. Khi phải xác định Rp0,2, nếu phần tuyến tính của biểu đồ lực – giãn dài không thể hiện rõ ràng thì phải sử dụng một trong hai phương pháp sau:
– qui trình khuyến cáo trong 13.1 của TCVN 197:2002;
– phần tuyến tính của biểu đồ lực-giãn dài sẽ được xem như một đoạn thẳng nối các điểm trên biểu đồ tại vị trí 0,1 Fm và 0,3 Fm.
Trong trường hợp có tranh chấp thì sẽ dùng phương pháp thứ 2.
CHÚ THÍCH: Nếu độ dốc của đoạn thẳng này sai lệch lớn hơn 10% so với giá trị mô đun đàn hồi lý thuyết, phép thử sẽ bị coi là không hợp lệ.
Nếu không được qui định cụ thể trong tiêu chuẩn sản phẩm tương ứng, thì dùng giá trị diện tích mặt cắt ngang danh nghĩa để tính các giá trị cường độ (ReH hoặc Rp0,2, Rm).
Phép thử cũng bị coi là không hợp lệ nếu mẫu thử bị đứt trong phần kẹp hoặc tại vị trí cách đầu kẹp nhỏ hơn 20 mm hoặc d (lấy giá trị lớn hơn).
Nếu không được qui định cụ thể trong tiêu chuẩn sản phẩm tương ứng, khi xác định độ giãn phần trăm sau khi đứt A, chiều dài tính toán ban đầu sẽ là 5 lần đường kính danh nghĩa d.
Sử dụng qui trình trong TCVN 197:2002 để xác định độ giãn dài tổng cộng tại lực lớn nhất Agt với một số thay đổi và bổ sung như sau:
– nếu sử dụng giãn kế để xác định Agt, giá trị Agt phải được ghi lại trước khi lực kéo giảm quá 0,5% của giá trị lực lớn nhất;
– nếu sử dụng phương pháp thủ công để đo Agt sau khi đứt, Agt sẽ được tính theo công thức sau;
Agt = Ag + Rm/2000
Trong đó Ag là độ giãn dài không tỷ lệ tại lực lớn nhất. Ag sẽ được đo trên một chiều dài tính toán bằng 100 mm, nằm cách vị trí đứt một khoảng r2 có giá trị ít nhất là 50 mm hoặc 2 d(lấy giá trị lớn hơn). Nếu khoảng cách r1 giữa đầu kẹp và chiều dài tính toán này nhỏ hơn 20 mm hoặc d (lấy giá trị lớn hơn) thì việc đo Ag sẽ bị coi là không hợp lệ (xem Hình 1);
Trong trường hợp có tranh chấp, áp dụng phương pháp đo thủ công.

CHÚ THÍCH:
a Chiều dài kẹp
b Chiều dài tính toán 100 mm
Hình 1 – Đo Agt theo phương pháp thủ công
6. Thử uốn
6.1. Mẫu thử
Mẫu thử phải tuân theo các qui định chung trong Điều 4.
6.2. Thiết bị thử
6.2.1. Trên Hình 2 mô tả nguyên lý của một thiết bị thử uốn.
CHÚ THÍCH: Trên Hình 2 biểu diễn gối uốn và trục đỡ xoay còn trục dẫn thì không xoay. Tuy nhiên cũng có thể bố trí trục dẫn xoay còn gối uốn hoặc trục đỡ không xoay.
6.2.2. Phép thử uốn cũng có thể được tiến hành trên thiết bị có một gối uốn và nhiều trục đỡ (xem 4.1, TCVN 198:2008).
6.3. Qui trình thử
Phép thử uốn được tiến hành trong khoảng nhiệt độ từ 100C đến 350C. Mẫu thử phải được uốn quanh gối uốn.
CHÚ THÍCH: Tốc độ uốn nên giữ ở khoảng 600/s.
Góc uốn g và đường kính gối uốn D phải tuân theo các tiêu chuẩn sản phẩm tương ứng

CHÚ DẪN:
1. Gối uốn
2. Trục đỡ
3. Trục dẫn
Hình 2 – Nguyên lý của thiết bị thử uốn
6.4. Đánh giá kết quả thử
Việc đánh giá kết quả uốn phải tuân theo các tiêu chuẩn sản phẩm tương ứng.
Trong trường hợp không có các yêu cầu cụ thể, phép thử được coi như đạt yêu cầu nếu trên mẫu thử không xuất hiện các vết nứt có thể nhìn thấy bằng mắt thường.
7. Thử uốn lại
7.1. Mẫu thử
Mẫu thử phải tuân theo các qui định chung trong Điều 4.
7.2. Thiết bị thử
7.2.1. Thiết bị uốn
Sử dụng thiết bị uốn theo qui định trong 6.2.
7.2.2. Thiết bị uốn lại
Có thể sử dụng thiết bị uốn trên Hình 2 để uốn lại. Tuy nhiên nên sử dụng thiết bị uốn lại như trình bày trên Hình 3.

Hình 3 – Ví dụ về thiết bị thử uốn lại
7.3. Qui trình thử
7.3.1. Qui định chung
Qui trình thử uốn lại bao gồm 3 bước:
– uốn mẫu;
– hóa già nhân tạo;
– uốn lại;
7.3.2. Uốn mẫu
Phép thử uốn được tiến hành trong khoảng nhiệt độ từ 100C đến 350C. Mẫu thử phải được uốn quanh gối uốn.
CHÚ THÍCH: Tốc độ uốn nên giữ ở khoảng 600/s.
Góc uốn g và đường kính gối uốn D phải tuân theo các tiêu chuẩn sản phẩm tương ứng.
Mẫu thử sẽ được kiểm tra kỹ để phát hiện các vết nứt nhìn thấy bằng mắt thường.
7.3.3. Hóa già nhân tạo
Nhiệt độ và thời gian hóa già nhân tạo phải tuân theo các tiêu chuẩn sản phẩm tương ứng.
CHÚ THÍCH: Nếu tiêu chuẩn sản phẩm không qui định việc xử lý hóa già, khi đó có thể áp dụng các bước xử lý như sau: nung nóng mẫu thử đến 1000C, duy trì tại nhiệt độ này trong vòng 1
min với phạm vi dao động nhiệt độ là ± 100C sau đó lấy mẫu ra rồi làm nguội tự nhiên trong không khí tĩnh tới nhiệt độ môi trường.
7.3.4. Uốn lại
Sau khi đã làm nguội trong không khí tĩnh xuống đến nhiệt độ trong khoảng từ 100C và 350C, mẫu thử sẽ được uốn ngược lại đến góc d theo qui định trong tiêu chuẩn sản phẩm tương ứng.
CHÚ THÍCH: Tốc độ uốn lại nên giữ ở khoảng 600/s.
7.4. Đánh giá kết quả thử
Việc đánh giá kết quả phép thử uốn lại sẽ dựa theo các yêu cầu của tiêu chuẩn sản phẩm tương ứng.
Trường hợp không có qui định về việc đánh giá, mẫu thử được coi như đạt yêu cầu nếu không xuất hiện vết nứt có thể nhìn thấy được bằng mắt thường.

CHÚ DẪN:
1. Gối uốn
2. Mẫu thử
a Vị trí ban đầu
b Vị trí sau thao tác mô tả trong 7.3.2
c Vị trí sau thao tác mô tả trong 7.3.4
Hình 4- Sơ đồ biểu diễn qui trình thử uốn lại
8. Thử mỏi dọc trục
8.1. Nguyên lý thử
Phép thử mỏi dọc trục là quá trình tác dụng lên mẫu thử một lực kéo dọc trục, lực kéo này có giá trị thay đổi theo chu kỳ theo dạng hình sin với tần số không đổi f trong giới hạn đàn hồi (xem Hình 5).
Phép thử được tiến hành cho đến khi mẫu thử bị phá hủy hoặc khi mẫu chưa phá hủy nhưng đã đạt tới một giá trị chu kỳ gia tải cho trước trong các tiêu chuẩn sản phẩm tương ứng.

Hình 5 – Biểu đồ chu kỳ gia tải
8.2. Mẫu thử
Mẫu thử phải tuân theo các qui định chung trong Điều 4.
CHÚ THÍCH: Độ thẳng của mẫu thử đóng vai trò quan trọng trong thử mỏi. Để có được độ thẳng đạt yêu cầu, nên sử dụng máy nắn chuyên dùng.
Các phương pháp nắn thẳng mẫu (thủ công, bằng máy thí nghiệm, bằng máy chuyên dùng), nếu có sử dụng, sẽ phải được đưa vào trong báo cáo thử.
Bề mặt phần tự do của mẫu giữa các phần kẹp không được phép qua bất kỳ một quá trình xử lý bề mặt dưới bất kỳ hình thức nào và cũng không được chứa các gân ký hiệu. Chiều dài phần tự do tối thiểu phải đạt 140 mm hoặc 14d, tùy theo giá trị nào lớn hơn.
8.3. Thiết bị thử
Máy thử mỏi phải được hiệu chuẩn theo ISO 4965. Độ chính xác phải đạt ít nhất ± 1%. Máy thử phải có khả năng duy trì giá trị lực cận trên Fup trong phạm vi ± 2% của giá trị lực qui định và giữ được phạm vi lực Fr trong phạm vi ± 4% giá trị qui định.
8.4. Qui trình thử
8.4.1. Các qui định về mẫu thử
Mẫu thử phải được kẹp lên máy thử sao cho lực tác dụng lên mẫu theo phương dọc trục và không được phép xuất hiện momen uốn dọc theo mẫu thử.
8.4.2. Lực cận trên Fup và phạm vi lực Fr
Lực cận trên Fup và phạm vi lực Fr phải tuân theo các tiêu chuẩn sản phẩm tương ứng.
CHÚ THÍCH: Fup và Fr có thể tính toán từ ứng suất lớn nhất smax và phạm vi ứng suất 2sa được cho trong các tiêu chuẩn sản phẩm như sau:
– Fup = smax x An
– Fr = 2sa x An
Trong đó An là diện tích mặt cắt ngang danh nghĩa của thanh, dây hoặc sợi.
8.4.3. Độ ổn định lực và tần số gia tải
Phép thử phải được tiến hành trong điều kiện ổn định về lực cận trên Fup, phạm vi lực Fr và tần số gia tải f. Trong suốt toàn bộ thời gian thử không được phép có bất kỳ một gián đoạn nào về chu kỳ gia tải. Tuy nhiên, vẫn cho phép tiến hành tiếp tục trở lại một phép thử đã bị gián đoạn đột ngột. Mọi gián đoạn trong quá trình thử đều phải đưa vào trong báo cáo thử.
8.4.4. Đếm chu kỳ gia tải
Số lượng các chu kỳ gia tải sẽ được đếm toàn bộ kể từ chu kỳ gia tải đầy đủ đầu tiên.
8.4.5. Tần số gia tải
Tần số của các chu kỳ gia tải phải được giữ ổn định trong suốt phép thử và được giữ nguyên trong một loạt phép thử. Tần số gia tải phải nằm giữa 1 Hz và 200 Hz.
8.4.6. Nhiệt độ thử
Nhiệt độ của mẫu thử không được vượt quá 400C trong suốt thời gian thử. Nếu không có qui định gì khác thì nhiệt độ của phòng thí nghiệm phải được duy trì giữa 100C và 350C. Trong trường hợp phép thử được tiến hành trong điều kiện khống chế, nhiệt độ của phòng thí nghiệm sẽ là (23 ± 5)0C.
8.4.7. Kết thúc thử
Phép thử sẽ kết thúc trong trường hợp mẫu thử bị phá hủy trước khi đạt được số chu kỳ qui định hoặc khi đã đạt được số chu kỳ yêu cầu mà mẫu chưa bị phá hủy.
8.4.8. Tính hợp lệ của phép thử
Nếu mẫu thử bị phá hủy bên trong phần kẹp mẫu hoặc trong phạm vi 2 d kể từ vị trí kẹp hay phá hủy phát sinh từ một đặc điểm của mẫu thử thì phép thử sẽ bị coi là không hợp lệ.
9. Phân tích hóa học
Thành phần hóa học sẽ được xác định bằng phương pháp phân tích quang phổ.
Trong trường hợp có tranh cãi về phương pháp phân tích, khi đó thành phần hóa học sẽ được xác định bằng một phương pháp thử trọng tài được qui định bởi một trong các tiêu chuẩn Quốc tế được liệt kê trong ISO/TR 9769:1991.
10. Đo các đặc trưng hình học
10.1. Mẫu thử
Mẫu thử phải tuân theo các yêu cầu chung trong điều 4.
Chiều dài của mẫu thử phải đủ để tiến hành các phép đo theo 10.3.
10.2. Thiết bị đo
Các đặc trưng hình học sẽ được đo bằng một thiết bị có độ phân giải tối thiểu:
– 0,01 mm khi đo chiều sâu rãnh lõm;
– 0,02 mm khi đo chiều cao gân ngang hoặc gân dọc;
– 0,05 mm khi đo khoảng hở giữa hai hàng gân hoặc rãnh lõm;
– 0,5 mm khi đo bước gân (hoặc rãnh lõm) (xem 10.3.3) hoặc khi đo bước xoắn của các sản phẩm xoắn nguội (xem 10.3.4);
– 10 khi đo góc nghiêng của gân ngang hoặc rãnh lõm và trục dọc của thanh, sợi hoặc dây hoặc khi đo góc nghiêng của sườn gần.
10.3. Qui trình đo
10.3.1. Đo chiều cao gân ngang hoặc độ sâu rãnh lõm
10.3.1.1. Giá trị lớn nhất amax
Chiều cao gân ngang hoặc độ sâu rãnh lõm lớn nhất amax là giá trị trung bình của ít nhất ba số đo chiều cao gân hoặc độ sâu rãnh lõm riêng lẻ trên một hàng gân hoặc rãnh lõm tại điểm cao nhất hoặc sâu nhất của từng gân hoặc rãnh lõm, không tính các gân hoặc rãnh lõm ký hiệu của thanh, dây hoặc sợi.
10.3.1.2. Giá trị tại một vị trí cho trước
Chiều cao gân ngang hoặc chiều sâu rãnh lõm tại một vị trí cho trước (ví dụ: tại điểm một phần tư, điểm giữa hoặc điểm ba phần tư với các giá trị tương ứng a1/4, am và a3/4) là giá trị trung bình của ít nhất ba số đo chiều cao gân (hoặc độ sâu rãnh lõm) riêng lẻ trên một hàng gân (hoặc rãnh lõm) tại vị trí cần đo của từng gân (hoặc rãnh lõm), không tính các gân (hoặc rãnh lõm) ký hiệu của thanh, dây hoặc sợi.
10.3.2. Chiều cao gân dọc (a’)
Chiều cao gân dọc (a’) là giá trị trung bình của ít nhất 3 số đo chiều cao từng gân dọc tại ba vị trí khác nhau.
10.3.3. Bước gân ngang hoặc rãnh lõm (c)
Bước gân ngang hoặc rãnh lõm (c) được xác định bằng cách lấy chiều dài của khoảng đo chia cho số bước gân hoặc rãnh lõm có trong đó.
Khoảng đo có thể là khoảng cách từ tim của một gân hoặc rãnh lõm đến tim của một gân hoặc rãnh lõm khác trên cùng một hàng, đo trên đường thẳng song song với trục dọc của sản phẩm. Khoảng đo phải là:
– ít nhất 10 khe hoặc gờ của gân giữa các rãnh lõm;
– một chiều dài bước xoắn cho các sản phẩm cán vằn nguội.
10.3.4. Bước xoắn (P)
Bước xoắn (P) của thanh xoắn nguội là giá trị trung bình của các số đo khoảng cách giữa hai điểm tương ứng của một gân dọc trên cùng một đường thẳng dọc trục.
10.3.5. Phần chu vi không chứa gân hoặc rãnh lõm (Sei)
Phần chu vi không chứa gân hoặc rãnh lõm (Sei) được xác định bằng tổng các khe hở trung bình e giữa các cặp gân hoặc rãnh lõm của hai hàng gân hoặc rãnh lõm kề nhau tính cho từng hàng gân. Giá trị e được tính dựa trên tối thiểu ba giá trị đo.
10.3.6. Góc nghiêng của gân hoặc rãnh lõm (b)
Góc nghiêng của gân hoặc rãnh lõm (b) là giá trị trung bình các giá trị góc nghiêng riêng lẻ đo trên từng hàng gân hoặc rãnh lõm với cùng một góc danh nghĩa.
10.3.7. Góc nghiêng sườn gân ngang (a)
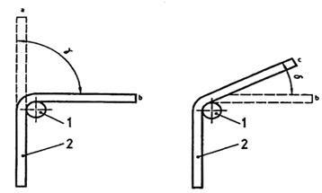
Góc nghiêng sườn gân ngang (a) là giá trị trung bình của các góc nghiêng riêng lẻ trên cùng một phía của các gân, được đo như biểu diễn trên Hình 6, đo trên ít nhất là hai gân ngang khác nhau của một hàng, không tính các gân ký hiệu của thanh, dây hoặc sợi.
11. Xác định diện tích gân hoặc rãnh lõm tương đối (fR hoặc fP)
11.1. Giới thiệu
Tải trọng được truyền trong kết cấu bê tông thông qua lực bám dính giữa bê tông và cốt thép.
Lực bám dính hiệu quả nhất chính là lực bám dính do lực cắt sinh ra bởi các gân ngang hoặc rãnh lõm trên bề mặt của thép cốt.
Đối với thép cốt có gân hoặc có vết rãnh lõm, khả năng bám dính có thể được xác định bằng các phương pháp sau:
– đo các đặc tính hình học của gân hoặc vết rãnh lõm;
– đo lực tương tác giữa bê tông và thép cốt bằng thí nghiệm nhổ hoặc thí nghiệm uốn dầm.
Từ các số liệu hình học sẽ tính được hệ số bám dính, còn được gọi là diện tích gân tương đối (fR) hoặc diện tích rãnh lõm tương đối (fP).

Hình 6 – Xác định góc nghiêng sườn gân a và diện tích mặt cắt dọc FR
11.2. Đo đạc
Việc xác định diện tích gân tương đối fR hoặc diện tích rãnh lõm tương đối fP được tiến hành dựa trên các kết quả đo đặc trưng hình học trong điều 10.
11.3. Tính fR hoặc fP
11.3.1. Diện tích gân tương đối
Diện tích gân tương điố được tính theo công thức sau:
fR = 
Số hạng tổng thứ hai chỉ áp dụng đối với thanh xoắn nguội và không nên đưa vào nếu giá trị của nó vượt quá 30% giá trị fR tổng cộng.
Trong công thức trên:
– n là số hàng gân ngang có trên chu vi;
– m là số lượng mặt nghiêng trên các gân ngang khác nhau trong một hàng;
– q là số gân dọc của thanh xoắn nguội;
– FR =
là diện tích mặt cắt dọc của một gân (xem Hình 6), trong đó as,i là chiều cao trung bình của phần tử thứ i trong một gân ngang được chia thành p phần có chiều dài là Dl.
11.3.2. Diện tích rãnh lõm tương đối
Diện tích rãnh lõm tương đối được tính theo công thức sau:
fR = ![]()
Trong đó n là số hàng rãnh lõm.
11.3.3. Công thức giản lược
Nếu công thức tổng quát trong 11.3.1 và 11.3.2 trên đây khó áp dụng vì phải dùng các thiết bị đặc biệt, có thể sử dụng công thức giản lược.
Có thể sử dụng các công thức giản lược như sau:
a) Công thức hình thang:
fR = (a1/4 + am + a3/4) (pd – Sei) + qa’
fP = (a1/4 + am + a3/4) (pd – Sei)
b) Công thức Simpson:
fR = (2a1/4 + am + 2a3/4) (pd – Sei) + qa’
fP = (2a1/4 + am + 2a3/4) (pd – Sei)
c) Công thức Parabol:
fR = (pd – Sei) + qa’
fP = (pd – Sei)
d) Công thức kinh nghiệm:
fR hoặc fP = l
Trong đó:
– l là hệ số kinh nghiệm thể hiện tương quan giữa fR hoặc fP và am/c ứng với một biên dạng thanh, dây hoặc sợi nhất định;
– các giá trị a1/4, am, a3/4 được xác định theo 10.3.1.2;
– Sfi và Sei được xác định như trong 10.3.5.
11.3.4. Công thức dùng để tính fR hoặc fP
Công thức dùng để tính fR hoặc fP phải được đưa vào trong báo cáo thử.
12. Xác định sai lệch khối lượng đơn vị
12.1. Mẫu thử
Việc xác định sai lệch khối lượng đơn vị phải được tiến hành trên các mẫu có các đầu được cắt vuông góc với trục.
12.2. Độ chính xác khi đo
Chiều dài và khối lượng của mẫu thử phải được đo với độ chính xác tối thiểu là ± 0,5%.
12.3. Qui trình thử
Phần trăm sai lệch so với khối lượng đơn vị danh nghĩa sẽ là độ sai lệch giữa khối lượng đơn vị thực tế của mẫu thử so với khối lượng đơn vị danh nghĩa trong các tiêu chuẩn sản phẩm tương ứng.
13. Báo cáo thử
Báo cáo thử phải bao gồm các thông tin sau:
a) số hiệu của tiêu chuẩn này;
b) tên của mẫu thử (bao gồm cả đường kính danh nghĩa của thanh, dây và sợi);
c) chiều dài của mẫu thử;
d) phép thử đã tiến hành và các kết quả thử tương ứng;
e) tiêu chuẩn sản phẩm tương ứng, nếu có;
f) mọi thông tin phụ liên quan đến mẫu thử, thiết bị thử và qui trình thử.


