Tiêu chuẩn Việt Nam TCVN7952-6:2008

  • Loại văn bản: Tiêu chuẩn Việt Nam
  • Số hiệu: TCVN7952-6:2008
  • Cơ quan ban hành: ***
  • Người ký: ***
  • Ngày ban hành: ...
  • Ngày hiệu lực: ...
  • Lĩnh vực: Xây dựng
  • Tình trạng: Không xác định
  • Ngày công báo: ...
  • Số công báo: Còn hiệu lực

Nội dung toàn văn Tiêu chuẩn quốc gia TCVN 7952-6:2008 về hệ chất kết dính gốc nhựa epoxy cho bê tông – Phương pháp thử – Phần 6: Xác định nhiệt độ biến dạng dưới tải trọng uốn


TIÊU CHUẨN QUỐC GIA

TCVN 7952-6:2008

HỆ CHẤT KẾT DÍNH GỐC NHỰA EPOXY CHO BÊ TÔNG – PHƯƠNG PHÁP THỬ – PHẦN 6: XÁC ĐỊNH NHIỆT ĐỘ BIẾN DẠNG DƯỚI TẢI TRỌNG

Epoxy – Resin – Base bonding systems for concrete – Test methods – Part 6: Determination of heat deflection temperature under flexural load

Lời nói đầu

TCVN 7952-6:2008 được xây dựng trên cơ sở ASTM D 648.

TCVN 7952-6:2008 do Viện Vật liệu xây dựng – Bộ Xây dựng biên soạn, Bộ Xây dựng đề nghị, Tổng cục Tiêu chuẩn Đo lường Chất lượng thẩm định, Bộ Khoa học và Công nghệ công bố.

 

HỆ CHẤT KẾT DÍNH GỐC NHỰA EPOXY CHO BÊ TÔNG – PHƯƠNG PHÁP THỬ – PHẦN 6: XÁC ĐỊNH NHIỆT ĐỘ BIẾN DẠNG DƯỚI TẢI TRỌNG

Epoxy – Resin – Base bonding systems for concrete – Test methods – Part 6: Determination of heat deflection temperature under flexural load

1. Phạm vi áp dụng

Tiêu chuẩn này quy định phương pháp xác định nhiệt độ mà tại đó mẫu thử đạt độ võng 0,25 mm dưới tải trọng uốn quy định.

2. Tài liệu viện dẫn

Các tài liệu viện dẫn sau đây là cần thiết khi áp dụng tiêu chuẩn này. Đối với các tài liệu viện dẫn ghi năm công bố thì áp dụng bản được nêu. Đối với các tài liệu viện dẫn không ghi năm công bố thì áp dụng phiên bản mới nhất, bao gồm cả phiên bản sửa đổi (nếu có).

TCVN 7952-1:2008 Hệ chất kết dính gốc nhựa epoxy cho bê tông – Phương pháp thử – Phần 1: Xác định độ nhớt.

3. Nguyên tắc thử

Sau khi tạo được thanh mẫu thử, để ổn định trong điều kiện chuẩn và lắp vào thiết bị đo. Bật công tắc gia nhiệt với tốc độ (2 ± 0,2) oC/min và đồng thời bật máy khuấy để bắt đầu đo, ghi lại nhiệt độ khi thanh mẫu thử đạt độ võng 0,25 mm.

4. Lấy mẫu

Theo Điều 4 của TCVN 7952-1:2008.

5. Thiết bị và dụng cụ

5.1. Khuôn đúc thanh mẫu thử, kích thước (dài x dày = 127 mm x 13 mm) và chiều rộng (3 ÷ 13) mm, độ sai lệch kích thước (± 0,13) mm.

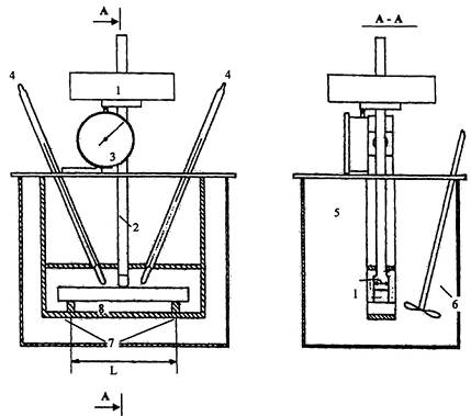
5.2. Hệ thống thiết bị thử nghiệm được trình bày trên Hình 1.

– Quả cân (1) có khối lượng và kích thước phù hợp sao cho khi đặt lên thanh truyền tải để gia tải lên thanh mẫu thử phải đạt ứng suất là 1,82 MPa với độ chính xác ± 2,5%. Khối lượng thanh truyền tải là một phần của tải trọng uốn.

Khối lượng của quả cân thêm vào để đạt ứng suất yêu cầu được tính theo công thức sau:

F = 2Sbd2/3L

F1 = F/9,80665

mw = (F – Fs)/9,80665 – Mr

Trong đó:

F là tải trọng đặt lên thanh mẫu thử, tính bằng Niutơn (N);

F1 là tải trọng đặt lên thanh mẫu thử, tính bằng kilogram;

S là ứng suất đặt lên thanh mẫu thử, tính bằng megapascal (Mpa);

b là chiều rộng thanh mẫu thử, tính bằng milimét;

d là chiều dày thanh mẫu thử, tính bằng milimét;

L là khoảng cách giữa 2 gối đỡ, tính bằng milimét;

mw là khối lượng thêm vào, tính bằng kilogam;

mr là khối lượng thanh truyền tải, tính bằng kilogam;

Fs là lực sinh ra bởi một bộ phận nào đó khi đo, tính bằng Niutơn (N).

– Thanh truyền tải (2) có chiều rộng (I) tối thiểu đạt 13 mm.

– Đồng hồ đo độ võng (3) có thể dùng đồng hồ cơ hoặc đồng hồ điện tử đo được tối thiểu 0,25 mm, độ chính xác 0,01 mm.

– Nhiệt kế (4) có thể đo được khoảng nhiệt độ từ (-5 ÷ 300) oC, độ chính xác ± 0,5 oC.

– Bình ổn nhiệt (5) có thể gia nhiệt đến 150 oC, tốc độ nâng nhiệt (2 ± 0,2) oC/min. Môi trường truyền nhiệt là chất lỏng không gây ảnh hưởng tới thanh mẫu thử (ví dụ dầu solicon).

– Trong quá trình nâng nhiệt phải thường xuyên khuấy bằng cánh khuấy (6) với tốc độ (200 ÷ 300) vòng/min để làm đồng đều nhiệt độ của chất truyền nhiệt.

– Gối đỡ (7) thanh mẫu thử (8) bằng kim loại, khoảng cách giữa hai gối (L) là (100,0 ± 0,5) mm.

CHÚ DẪN:

1 Quả cân;

5 Bình ổn nhiệt;

2 Thanh truyền tải

6 Cánh khuấy

3 Đồng hồ đo độ võng

7 Gối đỡ;

4 Nhiệt kế;

8 Thanh mẫu thử.

Hình 1 – Sơ đồ thiết bị xác định nhiệt độ võng nhiệt dưới tải trọng uốn

5.3. Thước cặp, độ chính xác đến 0,01 mm.

6. Chuẩn bị và ổn định mẫu thử

– Ổn định hệ chất kết dính và các dụng cụ ở (27 ± 2) oC trong thời gian ít nhất 4 h trước khi tiến hành thử nghiệm.

– Mỗi phép thử cần ít nhất 2 thanh mẫu thử. Thanh mẫu thử có bề mặt phẳng, nhẵn được đúc từ hỗn hợp hệ chất kết dính sau khi trộn hai thành phần theo tỉ lệ quy định của nhà sản xuất. Sau 1 ngày, tháo khuôn và bảo dưỡng thêm 6 ngày hoặc 13 ngày theo quy định trong Bảng 1 của TCVN 7951:2008 ở nhiệt độ (27 ± 2) oC và độ ẩm tương đối (65 ± 5) % trước khi kiểm tra.

7. Cách tiến hành

– Tiến hành đo ở nhiệt độ (27 ± 2) oC và độ ẩm (65 ± 5) %.

– Đo chiều rộng và chiều dày của thanh mẫu thử (sau khi đã bảo dưỡng đủ thời gian) tại 3 điểm dọc theo chiều dài, lấy gần đúng đến 0,01 mm. Lấy giá trị trung bình cộng của các số đo thu được để làm số liệu tính tải trọng.

– Tính tải trọng hoặc lực cần gia tải dựa trên các thông số đã có.

– Đặt thanh mẫu thử lên gối đỡ sao cho vuông góc với gối đỡ và đường tiếp xúc của thanh truyền tải tại chính giữa.

– Đặt đầu đo nhiệt độ tại vị trí gần thanh mẫu thử nhất nhưng không chạm vào thanh mẫu thử.

– Đưa hệ thống thiết bị đã lắp thanh mẫu thử vào bình ổn nhiệt có nhiệt độ ban đầu của chất truyền nhiệt tương đương nhiệt độ phòng. Lượng chất truyền nhiệt đủ để thanh mẫu thử ngập sâu trong nó khoảng 50 mm.

– Đặt khối lượng đã tính lên thanh truyền lực. Sau 5s, điều chỉnh thiết bị đo độ võng về 0. Bật công tắc gia nhiệt với tốc độ (2 ± 0,2) oC/min, đồng thời bật máy khuấy.

– Ghi lại nhiệt độ khi thanh mẫu thử đạt độ võng 0,25 mm.

– Nếu kết quả đo nhiệt độ biến dạng dưới tải trọng của hai thanh mẫu thử có độ sai lệch lớn hơn 5% thì tiến hành thí nghiệm lại từ đầu.

8. Tính kết quả

Nhiệt độ biến dạng dưới tải trọng uốn của mẫu thử, đơn vị tính oC, chính xác đến 0,5 oC, là giá trị trung bình cộng nhiệt độ biến dạng dưới tải trọng uốn của các thanh mẫu thử.

9. Báo cáo thử nghiệm

Theo Điều 9 của TCVN 7952-1:2008.

Leave a Reply

Your email address will not be published. Required fields are marked *