Nội dung toàn văn Tiêu chuẩn quốc gia TCVN 8163:2009 về Thép cốt bê tông – Mối nối bằng ống ren
TIÊU CHUẨN VIỆT NAM
TCVN 8163 : 2009
THÉP CỐT BÊ TÔNG – MỐI NỐI BẰNG ỐNG REN
Steel for the reinforcement of concrete – Threaded coupler splice
Lời nói đầu
TCVN 8163 : 2009 do Ban Kỹ thuật tiêu chuẩn Quốc gia TCVN/TC 17 Thép biên soạn trên cơ sở dự thảo đề nghị của Công ty cổ phần đầu tư Sông Đà Sao Việt, Tổng cục Tiêu chuẩn Đo lường Chất lượng đề nghị, Bộ Khoa học và Công nghệ công bố.
THÉP CỐT BÊ TÔNG – MỐI NỐI BẰNG ỐNG REN
Steel for the reinforcement of concrete – Threaded coupler splice
1 Phạm vi áp dụng
Tiêu chuẩn này quy định yêu cầu kỹ thuật, phương pháp thử, ống ren dùng để nối thép cốt và mối nối thép cốt bê tông bằng ống ren trong các công trình xây dựng dân dụng, công nghiệp, giao thông, thủy lợi và công trình hạ tầng kỹ thuật khác.
Tiêu chuẩn này chỉ áp dụng cho nối thép cốt bê tông bằng ống ren trụ theo phương pháp cán ren trực tiếp.
Ống nối quy định trong tiêu chuẩn này cũng có thể sử dụng cho các mối nối khác trong kết cấu xây dựng.
2 Tài liệu viện dẫn
Các tài liệu viện dẫn sau cần thiết đối với việc áp dụng tiêu chuẩn này. Đối với các tài liệu viện dẫn ghi năm công bố thì áp dụng phiên bản được nêu. Đối với tài liệu viện dẫn không ghi năm công bố thì áp dụng phiên bản mới nhất, bao gồm cả các sửa đổi, bổ sung (nếu có).
TCVN 1651-1 : 2008, Thép cốt bê tông – Phần 1: Thép thanh tròn trơn.
TCVN 1651-2 : 2008, Thép cốt bê tông – Phần 2: Thép thanh vằn.
TCVN 1916 : 1995, Bu lông, vít, vít cấy và đai ốc – Yêu cầu kỹ thuật.
3 Thuật ngữ, định nghĩa
Tiêu chuẩn này sử dụng các thuật ngữ và định nghĩa sau:
3.1 Nối thép cốt bê tông bằng ống ren (coupler rebar splice)
Sử dụng một ống ren chuyên dụng bằng thép, có ren ở bên trong để liên kết hai thanh thép cốt đã được tạo ren trước ở đầu.
3.2 Mối nối thép cốt bê tông bằng ống ren trụ theo phương pháp cán ren trực tiếp
(splice the straight threaded rolling rebar by coupler)
Loại liên kết thép cốt bằng cách gia công tạo ren trụ trên đầu hai thanh thép cốt khác nhau bằng phương pháp cán ren trực tiếp, sau đó dùng ống ren để nối lại.
3.3 Phương pháp cán ren trực tiếp (straight threaded rolling)
Phương pháp gia công ren ở đầu bằng cách gọt bỏ phần gân dọc và gân ngang của thanh thép cốt trước khi cán ren trên thiết bị tạo ren chuyên dụng. Trong quá trình cán ren hoàn toàn không tạo phoi.
3.4 Ống ren (coupler)
Loại ống nối chuyên dụng có ren trong hình trụ, sử dụng để nối hai đầu ren thép cốt.
3.5 Đầu ren (threaded rebar)
Phần đầu của thanh thép cốt được gia công tạo ren hình trụ.
3.6 Mũ khóa (washer)
Một đoạn ống nối có ren trong hình trụ, dùng để khóa chặt vị trí tương đối của ống ren với đầu ren.
4 Ký hiệu
Các ký hiệu sử dụng trong tiêu chuẩn này được liệt kê trong Bảng 1.
Bảng 1 – Các ký hiệu
|
Ký hiệu |
Đơn vị |
Ý nghĩa |
|
|
MPa |
Giới hạn bền kéo của mối nối |
|
Rm |
MPa |
Giới hạn bền kéo của thép cốt sử dụng |
|
Ra |
MPa |
Giới hạn bền kéo nhỏ nhất của thép cốt theo TCVN 1651-1 : 2008 và TCVN 1651-2 : 2008 |
|
Re |
MPa |
Giới hạn chảy của thép cốt theo TCVN 1651-1 : 2008 và TCVN 1651-2 : 2008 |
|
εo |
mm |
Biến dạng không đàn hồi của mối nối |
|
ε 20du
|
mm |
Biến dạng dư sau 20 lần kéo nén lặp lại ứng suất cao của mối nối |
|
ε4du |
mm |
Biến dạng dư sau 4 lần kéo nén lặp lại biến dạng lớn của mối nối |
|
ε8du |
mm |
Biến dạng dư sau 8 lần kéo nén lặp lại biến dạng lớn của mối nối |
|
εch |
mm |
Biến dạng khi ứng suất của thép cốt đạt đến chảy |
|
A |
% |
Độ giãn dài tương đối của mối nối |
|
P |
mm |
Bước ren |
5 Phân loại
5.1 Ống ren sử dụng trong mối nối phải phù hợp với mác thép cốt sử dụng trong kết cấu theo TCVN 1651-1 : 2008; TCVN 1651-2 : 2008.
5.2 Trước khi sử dụng, cần phân tích và lựa chọn kiểu mối nối thép cốt bằng ống ren trụ theo phương pháp cán ren trực tiếp sao cho thích hợp với vị trí của thép cốt trong kết cấu và điều kiện thi công trên công trình. Có 6 loại mối nối ống ren thông dụng được quy định trong Bảng 3 và Hình 1a) đến Hình 6a).
Bảng 2 – Phân loại mối nối ống ren theo trường hợp sử dụng
|
Thứ tự |
Loại mối nối |
Trường hợp sử dụng |
Ký hiệu |
|
1 |
Loại tiêu chuẩn |
Nối thép cốt trong trường hợp thông thường |
TC |
|
2 |
Loại mở miệng |
Trường hợp khó đưa đầu thanh thép cốt vào ống ren và khó quay thanh thép cốt |
M |
|
3 |
Loại khác đường kính |
Nối thép cốt có đường kính khác nhau |
K |
|
4 |
Loại ren thuận nghịch |
Trường hợp hai đầu thanh thép cốt không thể quay được nhưng dịch chuyển tịnh tiến được độ dài theo trục của thép cốt |
TN |
|
5 |
Loại tăng dài đầu ren |
Trường hợp hai đầu thanh thép cốt không thể quay được, hai đầu thép cốt bị hạn chế không thể dịch chuyển tịnh tiến được |
TD |
|
6 |
Loại có mũ khóa |
Dùng trong trường hợp kiểu tăng dài đầu ren, có mũ khóa |
MK |
6 Yêu cầu kỹ thuật của ống nối
6.1 Vật liệu để chế tạo ống nối có cơ tính phù hợp với quy định trong Bảng 3.
Bảng 3 – Cơ tính của vật liệu ống ren
|
Chỉ tiêu |
Đơn vị |
Giá trị |
|
1. Giới hạn chảy (Re) |
MPa |
340 đến 390 |
|
2. Giới hạn bền (Rm) |
MPa |
580 đến 660 |
|
3. Độ giãn dài tương đối (A5) |
% |
13 đến 19 |
|
4. Độ cứng HB |
HB |
187 đến 255 |
6.2 Thiết kế ống ren phải đảm bảo mối nối có giới hạn bền kéo phù hợp với yêu cầu quy định trong Bảng 6 đồng thời mối nối vẫn phải chịu được kéo nén lặp lại tuần hoàn ứng suất cao và biến dạng lớn theo quy định trong Bảng 7.
6.3 Chất lượng bề mặt và kích thước của ống ren theo các yêu cầu quy định trong Bảng 4.
Bảng 4 – Chất lượng bề mặt, kích thước ống ren
|
Thứ tự |
Chỉ tiêu |
Yêu cầu |
|
1 |
Chất lượng bề mặt |
Không bị rạn nứt hoặc có các khuyết tật khác mà mắt thường nhìn thấy được |
|
2 |
Chiều dài và đường kính ngoài |
Chiều dài và đường kính ngoài phù hợp với yêu cầu thiết kế |
|
3 |
Đường kính đỉnh ren |
Sai lệch đường kính đỉnh ren so với thiết kế ± 0,15 mm. Calíp ren đầu thông phải qua được đường kính nhỏ của ren trụ và calíp ren đầu tắc phải không qua được đường kính nhỏ của ren trụ |
|
4 |
Tiết diện và đường kính chân ren |
Có thể vặn vào ống ren thuận lợi cả hai chiều và đạt đến độ dài thích hợp. Calíp ren nút không thể qua được ren trụ trong của ống ren nhưng lại cho phép vặn vào được một phần ở hai đầu ống ren, lượng vặn vào không được vượt quá 3P |
7 Yêu cầu kỹ thuật của mối nối
7.1 Đầu ren thép cốt
7.1.1 Khi gia công đầu ren thép cốt trên máy lăn ren chuyên dụng phải dùng chất làm mát có khả năng tan trong nước hoặc những hóa chất chuyên dụng đặc biệt.
7.1.2 Ren sau khi gia công phải phù hợp với ren của ống ren theo thiết kế. Dung sai ren phải phù hợp với quy định của TCVN 1916 : 1995. Dung sai ren có thể lấy bằng 6g.
7.1.3 Đầu ren được gia công hoàn chỉnh phải có các ren đều đặn, không bị sứt mẻ. Trong trường hợp đầu ren có các ren bị sứt mẻ ở đỉnh với chiều rộng của phần sứt lớn hơn 0,25P thì tổng chiều dài của chúng không được vượt một vòng ren trụ.
7.1.4 Kích thước của đầu ren bao gồm đường kính trong ren trụ và chiều dài của đầu ren phải phù hợp với yêu cầu của thiết kế sản phẩm.
7.1.5 Đầu ren được coi là đạt yêu cầu về chất lượng phải thỏa mãn những yêu cầu quy định trong Bảng 5.
Bảng 5 – Yêu cầu chất lượng đầu ren
|
Thứ tự |
Chỉ tiêu |
Yêu cầu |
|
1 |
Chất lượng bề mặt |
Ren đều, chiều rộng phần ren bị sứt mẻ vượt quá 0,25 P có tổng chiều dài không vượt quá chu vi của một ren trụ |
|
2 |
Độ dài đầu ren |
Độ dài đầu ren phải đáp ứng được yêu cầu của thiết kế. Với kiểu nối tiêu chuẩn, độ dài này có sai số cho phép là +1 P |
|
3 |
Đường kính trong của ren trụ |
Có thể vặn vào một cách thuận lợi và đạt được chiều dài vặn một cách thích hợp. Cho phép calíp ren vặn vào một phần ở đầu trụ, chiều dài vặn vào không được vượt quá 3 P |
Đầu ren thép cốt sau khi đã kiểm tra đạt yêu cầu kỹ thuật phải được bảo vệ bằng cách vặn vào ống nối hoặc có mũ chụp bằng nhựa bảo vệ bên ngoài.
Các loại đầu ren có kích thước đường kính khác nhau phải được phân loại và sắp xếp riêng biệt để thuận lợi cho việc sử dụng.
7.2 Yêu cầu cơ bản về tính chất cơ lý của mối nối bằng ống ren
7.2.1 Mối nối thép cốt bê tông bằng ống ren được phân thành cấp I và cấp II trong Bảng 6 và Bảng 7 dựa trên tính năng chịu kéo và biến dạng của mối nối. Sử dụng cấp mối nối theo yêu cầu thiết kế, yêu cầu về khả năng chịu lực và biến dạng của cấu kiện, kết cấu. Trong trường hợp không có chỉ định của thiết kế thì phải sử dụng mối nối cấp I. Chủng loại mối nối và vị trí nối trên cấu kiện, kết cấu được thực hiện theo yêu cầu thiết kế.
7.2.2 Giới hạn bền kéo của mối nối phải phù hợp với quy định trong Bảng 6.
Bảng 6 – Giới hạn bền kéo của mối nối
|
|
Mối nối cấp I |
Mối nối cấp II |
|
Giới hạn bền kéo |
|
|
CHÚ THÍCH : Ra theo tiêu chuẩn: TCVN 1651-1 : 2008 và TCVN 1651-2 : 2008.
7.2.3 Tính năng biến dạng của mối nối cấp I và cấp II phải phù hợp với quy định trong Bảng 7.
Bảng 7 – Tính năng biến dạng của mối nối
|
Ứng suất kéo |
Tính năng biến dạng |
Mối nối cấp I, cấp II |
|
Kéo tĩnh |
Biến dạng không đàn hồi, mm |
εo ≤ 0,01 (D ≤ 32) εo ≤ 0,05 (D > 32) |
|
Tổng giãn dài khi chịu lực gia tải lớn nhất, % |
A ≥ 4,0 |
|
|
Kéo nén lặp tuần hoàn ứng suất cao *) |
Biến dạng dư, mm |
ε 20du ≤ 0,3 |
|
Kéo nén lặp biến dạng lớn *) |
Biến dạng dư, mm |
ε 4du ≤ 0,3 ε 8du ≤ 0,6 |
|
*) Nếu có yêu cầu |
||
7.2.4 Mối nối thép cốt phải chịu được kéo nén lặp tuần hoàn ứng suất cao và biến dạng lớn theo quy định của Bảng 7 đồng thời giới hạn bền kéo của mối nối vẫn phải phù hợp với quy định trong Bảng 6.
7.3 Lắp ghép mối nối bằng ống ren
7.3.1 Lắp ghép mối nối thép cốt bằng ống ren theo quy định trong Hình 1b) đến Hình 6b).
7.3.2 Mối nối phải được vặn chặt. Trị số mômen lực vặn chặt phải phù hợp với quy định trong Bảng 8.
Bảng 8 – Trị số mômen vặn (xiết) nhỏ nhất khi lắp mối nối
|
Đường kính thép cốt, mm |
£ 16 |
18 đến 20 |
22 đến 25 |
28 đến 32 |
36 đến 40 |
|
Mômen vặn nhỏ nhất, N.m |
100 |
180 |
240 |
300 |
360 |
|
CHÚ THÍCH : Khi đường kính thép cốt khác nhau thì lấy mômen vặn tương ứng với đường kính thép cốt nhỏ hơn. |
|||||
Với những mối nối đã được lắp đặt hoàn chỉnh, ở mỗi đầu nối ren phần ren lộ ra khỏi ống nối không được dài quá một bước ren. Riêng đối với mối nối kiểu tăng dài đầu ren, kiểu mở miệng và kiểu có mũ khoá thì số đầu ren còn bị lộ ra ngoài không bị hạn chế, tuy nhiên phải kiểm tra kích thước chiều dài ren, để đảm bảo chiều dài ren được vặn vào trong ống ren đã đạt yêu cầu thiết kế.

Hình 1 – Loại mối nối tiêu chuẩn (xem chú thích cuối Hình 6).

a) Ống nối b) Mối nối và các bước lắp ghép
Hình 2 – Loại mối nối mở miệng (xem chú thích cuối Hình 6).

a) Ống nối b) Mối nối và các bước lắp ghép
Hình 3 – Loại mối nối khác đường kính (xem chú thích cuối Hình 6).

Hình 4 – Loại mối nối ren thuận nghịch (xem chú thích cuối Hình 6).

a) Ống nối b) Mối nối và các bước lắp ghép
Hình 5 – Loại mối nối tăng dài đầu ren (xem chú thích cuối Hình 6).

a) Ống nối b) Mối nối và các bước lắp ghép
Hình 6 – Loại mối nối có mũ khoá (xem chú thích cuối Hình 6).

8 Phương pháp thử
8.1 Chất lượng bề mặt, kích thước
8.1.1 Ống ren
8.1.1.1 Chất lượng bề mặt, kích thước của ống ren được kiểm tra theo quy định trong Bảng 4.
8.1.1.2 Kiểm tra chất lượng bề mặt bằng mắt thường không sử dụng dụng cụ phóng đại.
8.1.1.3 Kiểm tra chiều dài và đường kính ngoài bằng thước cặp hoặc các loại thước chuyên dùng khác.
8.1.1.4 Kiểm tra đường kính đỉnh ren bằng thước cặp.
8.1.1.5 Kiểm tra tiết diện và đường kính chân ren bằng calíp ren lọt và không lọt.
8.1.2 Đầu ren thép cốt
8.1.2.1 Kiểm tra kích thước đầu ren bằng dụng cụ đo chuyên dụng. Dụng cụ này phải được đưa vào đầu ren một cách dễ dàng thuận tiện. Độ dài phần được đưa vào không được vượt quá 3 P.
8.1.2.2 Kiểm tra chất lượng bề mặt bằng mắt thường không sử dụng dụng cụ phóng đại.
8.1.2.3 Kiểm tra chiều dài đầu ren bằng thước đo chuyên dụng.
8.1.2.4 Kiểm tra đường kính trong của ren trụ ngoài bằng calíp ren lọt và không lọt.
8.1.2.5 Khi gia công, các đầu ren hoàn chỉnh được phân thành các lô để kiểm tra chất lượng. Một lô không quá 500 đầu ren, phương pháp kiểm tra như sau:
Lấy ngẫu nhiên 10 % sản phẩm trong một lô để kiểm tra theo quy định trong Bảng 5.
Nếu số lượng đầu ren kiểm tra đạt yêu cầu với tỷ lệ ≥ 95 % thì lô sản phẩm này được coi là đạt yêu cầu về chất lượng và các đầu ren không đạt yêu cầu bị loại bỏ. Tuy nhiên các đầu ren khi sử dụng không đạt yêu cầu vẫn phải loại bỏ.
Nếu số mẫu kiểm tra đạt yêu cầu với tỷ lệ < 95 % thì phải kiểm tra lại với số lượng mẫu tăng gấp đôi. Nếu sau khi kiểm tra lại, số lượng mẫu đạt yêu cầu trong lô vẫn nhỏ hơn 95 % thì phải kiểm tra lại từng đầu ren. Các sản phẩm đạt yêu cầu được giữ lại để đưa vào sử dụng, các sản phẩm không đạt yêu cầu bị loại bỏ.
8.2 Mối nối thép cốt bằng ống ren
8.2.1 Khi tiến hành kiểm tra chất lượng mối nối phải thực hiện các thử nghiệm sau:
8.2.1.1 Thử nghiệm xác định giới hạn bền kéo : Để xác định giới hạn bền kéo thực tế của mối nối.
8.2.1.2 Thử nghiệm xác định biến dạng của mối nối : Để xác định các loại biến dạng khi kéo giãn một chiều; kéo nén lặp lại ứng suất cao và kéo nén lặp lại biến dạng lớn khi có yêu cầu.
Thép cốt sử dụng để kiểm tra chất lượng mối nối phải phù hợp với các quy định của TCVN 1651–1 : 2008; TCVN 1651–2 : 2008. Thép cốt của toàn bộ mẫu thử phải được cắt ra từ cùng một thanh thép.
Với mỗi loại đường kính thép cốt, phải thực hiện ít nhất 9 mẫu thử mối nối, gồm thử kéo tĩnh, thử kéo nén lặp lại ứng suất cao, thử kéo nén lặp lại biến dạng lớn trong đó mỗi loại thử nghiệm không ít hơn 3 mẫu.
![]()
![]()
![]()
![]()
![]()
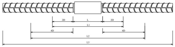
8.2.2 Kích thước mẫu thử nghiệm : theo Hình 7 và Bảng 9.

Hình 7 – Mẫu thử nghiệm
8.2.3 Chế độ gia tải mẫu thử được quy định theo Bảng A.1.
8.2.4 Chất lượng mối nối được xem là đạt yêu cầu khi thoả mãn các điều kiện:
Kết quả thử nghiệm về giới hạn bền kéo : Giá trị thực đo giới hạn bền kéo các mẫu thử phải thoả mãn các yêu cầu quy định trong Bảng 6. Trong trường hợp thử nghiệm mẫu nối có hai loại đường kính khác nhau, giới hạn bền kéo của mối nối được lấy theo thép cốt có đường kính nhỏ hơn.
8.2.5 Kết quả thử nghiệm về biến dạng
Giá trị trung bình của 3 mẫu thử về biến dạng không đàn hồi, độ giãn dài tương đối và biến dạng dư dưới tác dụng của lực gia tải lớn nhất phải phù hợp với quy định trong Bảng 7.
Bảng 9 – Kích thước mẫu thử nghiệm mối nối
Đơn vị tính bằng milimét
|
Kí hiệu |
Ý nghĩa |
Kích thước |
|
L |
Chiều dài ống ren cộng với chiều dài đoạn ren không hoàn chỉnh hoặc đoạn ren lộ ra ngoài ống ren của thép cốt ở hai bên ống ren. |
Thực đo |
|
L1 |
Khoảng cách để đo biến dạng không đàn hồi, biến dạng dư của mẫu thử nghiệm |
L + 4 D |
|
L2 |
Khoảng cách để đo tổng biến dạng giãn dài dưới lực lớn nhất của mẫu thử nghiệm |
L + 8 D |
|
L3 |
Chiều dài mẫu thử nghiệm |
L3max = 1000 L3min = 850 |
|
D |
Đường kính thép cốt |
Đường kính danh nghĩa |
8.2.6 Kiểm tra mối nối tại hiện trường.
8.2.6.1 Ống ren trước khi đưa vào sử dụng để nối thép cốt tại công trình phải được tiến hành kiểm tra chất lượng khi lắp ghép mối nối theo Điều 6.
8.2.6.2 Tất cả các loại thép cốt nhập về công trình trước khi sử dụng để nối bằng ống ren đều phải được lấy mẫu thử nghiệm để kiểm tra chất lượng. Ở hiện trường có thể chỉ cần làm thử nghiệm kiểm tra cường độ kéo tĩnh trên mẫu thử mối nối theo quy định tiêu chuẩn đối với tất cả các loại thép cốt nối.
8.2.6.3 Tiến hành thử nghiệm kéo tĩnh mẫu mối nối được thực hiện đối với từng loại đường kính thép cốt. Thép cốt sử dụng làm mẫu thử để xác định giới hạn bền kéo phải được cắt từ cùng một thanh thép. Số lượng mẫu thử nghiệm của mỗi loại đường kính không ít hơn 3 mẫu.
8.2.6.4 Giới hạn bền kéo của 3 mẫu mối nối thử nghiệm đều phải phù hợp với yêu cầu về cường độ quy định trong Bảng 6. Ngoài ra khi vận dụng điều kiện
³ 1,05 Ra thì giới hạn bền kéo thực tế của mẫu thử mối nối thép cốt
còn phải không nhỏ hơn 0,95 lần cường độ thực tế của thép cốt Rm đối với mối nối cấp I và không nhỏ hơn 0,9 lần Rm đối với mối nối cấp II.
8.2.6.5 Công tác kiểm tra nghiệm thu mối nối tại hiện trường được tiến hành theo lô. Trong cùng một điều kiện thi công, dùng mối nối cùng một cấp, cùng sử dụng một loại vật liệu cho mối nối thì một lô nghiệm thu không quá 500 mối nối.
8.2.6.6 Đối với mỗi lô trước khi nghiệm thu, phải kiểm tra xác suất mômen vặn chặt với số lượng ³ 10 % số mối nối trong kết cấu công trình. Điều kiện để xác định lô kiểm tra là đạt yêu cầu nếu ít nhất 95 % mẫu kiểm tra phù hợp với các quy định trong Bảng 8. Nếu khi kiểm tra không đạt yêu cầu thì phải lấy gấp đôi số lượng mẫu để kiểm tra lại. Nếu vẫn ít hơn 95 % số mẫu khi kiểm tra lại thoả mãn điều kiện hợp chuẩn thì phải tiến hành vặn lại toàn bộ mối nối trong lô ấy cho đến khi lấy mẫu lại đạt điều kiện hợp chuẩn.
Trong quá trình kiểm tra, nghiệm thu phải dùng clê lực để kiểm tra độ chặt của mối nối.
8.2.6.7 Đối với các kết cấu quan trọng cần thiết phải kiểm tra chất lượng mối nối hoặc trong quá trình nghiệm thu mối nối thép cốt đã lắp dựng, nếu phát hiện có những sai sót hoặc nghi vấn về kĩ thuật, phải cắt lấy 3 mẫu thử bất kì trong kết cấu công trình để thử nghiệm xác định giới hạn bền kéo rồi đánh giá theo cấp mối nối và so sánh đối chiếu với cấp yêu cầu của đơn vị thiết kế. Khi cả 3 mẫu thử nghiệm mối nối đều phù hợp với yêu cầu kĩ thuật quy định tại Bảng 6 thì lô nghiệm thu được coi là đạt yêu cầu về chất lượng. Nếu có một mẫu thử nghiệm không đạt yêu cầu thì phải lấy tiếp 6 mẫu khác để kiểm tra lại. Nếu có ít nhất một mẫu không đạt yêu cầu thì lô ấy được coi là không đạt yêu cầu.
Nếu kiểm tra liên tục 10 lô theo các quy định trên và xác định giới hạn bền kéo của 100% mẫu thử nghiệm của các lô này đều đạt yêu cầu thì trong lần kiểm tra tiếp theo số lượng mẫu thử nghiệm được lấy có thể giảm đi bằng cách được tính tăng lên gấp đôi số mối nối tạo thành một lô.
Phụ lục A
(Quy định)
Chế độ gia tải khi thử mối nối
Khi tiến hành thử cơ tính của mối nối phải tuân thủ các quy định về chế độ gia tải quy định trong Bảng A.1.
Bảng A.1 – Chế độ gia tải khi thử mối nối
|
Nội dung thử nghiệm |
Chế độ gia tải |
|
Thử kéo tĩnh |
0 → 0,6 Re→0,02 Re→0,6 Re→0,02 Re→0,6 Re (Đo biến dạng không đàn hồi)→Lực kéo lớn nhất→Phá hủy mẫu thử |
|
Thử kéo nén lặp lại ứng suất cao |
0→(0,9 Re→-0,5 Re )→Phá huỷ (Lặp lại 20 lần) |
|
Thử kéo nén lặp lại biến dạng lớn (mối nối cấp I, cấp II) |
0→(2 ɛch→-0,5 Re )→(5 ɛch→-0,5 Re )→Phá huỷ (Lặp lại 04 lần) (Lặp lại 04 lần) |
|
Re theo tiêu chuẩn: TCVN 1651-1 : 2008 và TCVN 1651-2 : 2008. |
|
THƯ MỤC TÀI LIỆU THAM KHẢO
1. TCXD 234 : 1999 Nối thép cốt có gờ bằng phương pháp dập ép ống nối – Hướng dẫn thiết kế, thi công và nghiệm thu.
2. JG 163-2004 Phương pháp nối thép cốt sử dụng ống ren của Bộ Xây dựng Nước Cộng hòa nhân dân Trung Hoa .


