Tiêu chuẩn Việt Nam TCVN8224:2009

  • Loại văn bản: Tiêu chuẩn Việt Nam
  • Số hiệu: TCVN8224:2009
  • Cơ quan ban hành: ***
  • Người ký: ***
  • Ngày ban hành: ...
  • Ngày hiệu lực: ...
  • Lĩnh vực: Xây dựng
  • Tình trạng: Không xác định
  • Ngày công báo: ...
  • Số công báo: Còn hiệu lực

Nội dung toàn văn Tiêu chuẩn Việt Nam TCVN 8224:2009 về công trình thủy lợi – các quy định chủ yếu về lưới khống chế mặt bằng địa hình


TCVN 8224:2009

CÔNG TRÌNH THUỶ LỢI – CÁC QUI ĐỊNH CHỦ YẾU VỀ LƯỚI KHỐNG CHẾ MẶT BẰNG ĐỊA HÌNH

Hydraulic Works – The basic stipulation for topographic horizontal control networks

1. Phạm vi áp dụng

Tiêu chuẩn này bao gồm những qui định chủ yếu về lưới khống chế cơ sở mặt bằng địa hình từ lưới hạng 4, giải tích 1, giải tích 2, đường chuyền cấp 1, cấp 2, nối với lưới khống chế quốc gia (hạng 0, II, III ), phục vụ đo vẽ địa hình các công trình thủy lợi ở Việt Nam.

2. Tài liệu viện dẫn

Quy phạm khống chế lưới tam giác hạng 1, 2, 3, 4 Nhà nước do Cục đo đạc và bản đồ xuất bản năm 1976 nay thuộc Bộ Tài Nguyên và Môi trường;

TCXDVN 364 : 2006, Tiêu chuẩn kỹ thuật đo và xử lý số liệu GPS trong trắc địa công trình;

3. Thuật ngữ và định nghĩa

3.1. Lưới tam giác dày đặc (full triangular network)

Là xây dựng lưới dày đặc theo hình lưới.

3.2. Khóa tam giác dây (triangular line)

Là xây dựng chuỗi tam giác nối nhau thành hình dây, có hai đối tượng gốc khống chế hai đầu (điểm gốc, đường đáy).

3.3. Lưới phù hợp (suitable planming network)

Là lưới xây dựng xuất phát từ điểm hạng cao hơn khép về hai điểm điểm hạng cao hơn khác hoặc về một cạnh gốc khác.

3.4. Lưới khép kín (close planming network)

Là lưới xuất phát từ một điểm hạng cao hoặc cạnh hạng cao, sau khi xây dựng lưới lại khép về chính nó.

3.5. Lưới điểm nút (intersection planming network)

Là lưới xây dựng bởi nhiều tuyến giao nhau tạo thành nhiều điểm nút (từ hai điểm nút trở lên).

3.6 . Phương pháp bình sai chính xác lưới (regular method)

Là sử dụng phương pháp số bình phương nhỏ nhất ([Pvv] = min ) có thể theo điều kiện (phương pháp bình sai điều kiện), có thể theo ẩn số (phương pháp bình sai gián tiếp), có thể kết hợp hai phương pháp (bình sai điều kiện có ẩn số, bình sai gián tiếp có điều kiện) đảm bảo phân phối trị sai số tiệm tiến nhất trị thực của chúng vào kết quả đo, tăng độ chính xác của tài liệu địa hình.

3.7. Phương pháp GPS (GPS method)

Là xác định cao, toạ độ qua hệ thống định vị toàn cầu GPS (global positioning system).

4. Quy định kỹ thuật

4.1 Hệ tọa độ

4.1.1 Sử dụng hệ toạ độ VN2000, lấy Ellipsoid WGS 84 làm Ellipsoid thực dụng, bán trục lớn a = 6378,137 Km, bán trục nhỏ b= 6356.752 Km, độ dẹt a = 1/298.257223563.

4.1.2 Khi công trình ở những vùng hẻo lánh như biên giới, hải đảo, vùng sâu vùng xa chưa có lưới quốc gia, có thể áp dụng một trong hai trường hợp:

a) Sử dụng các máy thu GPS, đo tọa độ GPS trong hệ WGS 84 (hệ quốc tế) từ các điểm có tọa độ quốc gia ở xa, sau đó chuyển về hệ VN2000.

b) Giả định theo bản đồ 1:50.000 VN2000 đã được bổ sung năm 2000-2001 thống nhất toàn công trình và sau đó chuyển về VN2000 khi có điều kiện liên kết với hệ quốc gia.

4.2 Các phương pháp xây dựng lưới

Để kết hợp các loại thiết bị đo đạc thông dụng hiện có ở nước ta, tiêu chuẩn này quy định các phương pháp sau:

4.2.1 Các phương pháp được xây dựng bằng các máy toàn đạc điện tử và kinh vĩ:

– Phương pháp tam giác, đa giác, giao hội;

– Phương pháp đường chuyền.

4.2.2 Phương pháp xác định cao, tọa độ bằng hệ thống định vị toàn cầu: Phương pháp GPS.

4.2.3 Việc sử dụng các phương pháp xây dựng lưới tiến hành theo phuơng án lập trong đề cương khảo sát địa hình đã được các cấp có thẩm quyền phê duyệt nhằm xác định chính xác vị trí các điểm khống chế với hiệu quả kinh tế tốt nhất (thời gian ngắn nhất, số điểm phù hợp và kinh phí thấp nhất).

4.3 Điểm gốc của lưới

Lưới khống chế cơ sở hạng 4 lấy điểm khống chế Nhà nước hạng 3 làm điểm gốc, lưới cấp 1 (giải tích 1, đường chuyền cấp 1) lấy điểm cơ sở hạng 4 làm gốc, lưới cấp 2 (giải tích 2, đường chuyền cấp 2) lấy điểm cấp 1 làm gốc.

4.4 Sai số về góc

Sai số trung phương đo góc trong lưới cơ sở:

– Hạng 4: 2”5;

– Lưới giải tích 1: 5”;

– Lưới giải tích 2: 10”;

– Lưới đường chuyền cấp 1: 5”;

– Lưới đường chuyền cấp 2: 10”.

4.5 Sai số về cạnh

4.5.1 Sai số trung phương tương đối đo cạnh gốc của các lưới tam giác, đa giác và giao hội qui định như sau:

4.6 Khu vực sử dụng

4.6.1 Lưới tam giác hạng 4, giải tích 1, giải tích 2 bố trí thuận lợi ở các dạng sau:

– Khu vực đồi núi cao, nhiều đỉnh đồi độ phủ thực vật không cao;

– Khu vực tương đối bằng phẳng, ít nhà, khu dân cư, không cản trở hướng tuyến ngắm;

– Khu vực có diện tích rộng đều cả hai chiều X, Y.

4.6.2 Đường chuyền hạng 4, cấp 1, cấp 2 bố trí thuận lợi ở những khu vực:

– Khu vực thành phố, thị trấn.

– Khu vực xây dựng công trình, khai mỏ.

– Khu vực có nhiều làng xóm dày đặc, rừng rậm mà địa hình bằng phẳng.

– Dọc theo băng kênh, tuyến đập, đường dây điện, tuyến đường quản lý và thi công.

4.6.3 Phương pháp GPS được sử dụng thuận lợi trong mọi trường hợp. Nhưng khi chọn vị trí đặt máy thu GPS phải tuân thủ theo 7.5 và cần so sánh hiệu quả kinh tế.

5. Phương pháp tam giác, đa giác và giao hội

5.1 Hình dạng lưới, khóa

Lưới khống chế mặt bằng cơ sở xây dựng theo phương pháp tam giác, đa giác và giao hội bao gồm các hình thức: lưới tam giác dày đặc, khóa tam giác, lưới tam giác đo cạnh, hoặc kết hợp các loại (Xem A.1 ở Phụ lục A).

– Lưới tam giác có nhiều đồ hình: Lưới tam giác dây (xem Hình 7, 8, 9, 10, 11) đa giác trung tâm (xem Hình 5) lưới Tứ giác hình thoi, hình thang, hình quạt (xem Hình 1, 2, 3, 4, 6, 12, 13, 14, 15 trong A.2 Phụ lục A).

– Lưới tam giác phục vụ theo dõi biến dạng công trình được xây dựng theo dạng đo góc, cạnh đồng thời để nâng cao độ chính xác đến mm.

– Lưới giao hội có các dạng: Phía trước, phía sau, phía cạnh và chùm Durnhep.

5.2 Xây dựng lưới

Xây dựng lưới TG, ĐG, GH phải tuân thủ theo bản thiết kế kỹ thuật viết theo qui định kỹ thuật trong qui phạm này. Bản thiết kế kỹ thuật phải được cấp thẩm quyền thông qua trước khi thực hiện.

5.3 Chuẩn bị cho thiết kế

Trước khi thiết kế lưới phải tiến hành những bước sau:

a) Thu thập và phân tích, đánh giá tài liệu về lưới khống chế mặt bằng có trong khu công trình về: cấp hạng, độ chính xác, khả năng sử dụng để xây dựng lưới.

b) Thu thập những bản đồ địa hình có trong khu công trình ở các tỷ lệ như 1: 10.000; 1:25.000; 1: 50.000; 1: 100.000 để bố trí sơ bộ đồ hình lưới.

c) Thu thập những tài liệu khí tượng thủy văn, giao thông, thực vật v.v…

5.4 Những giai đoạn trong thiết kế lưới

Thiết kế lưới hoặc khoá phải tiến hành theo những giai đoạn sau:

a) Nghiên cứu nhiệm vụ khảo sát địa hình khu vực theo “Đề cương khảo sát địa hình”.

b) Nghiên cứu, bố trí các vị trí của lưới trên bản đồ đã có cho phù hợp.

c) Khảo sát thực địa để chọn tuyến.

5.5 Giá trị góc

Góc trong lưới khóa tốt nhất là 60o. Trong trường hợp khó khăn, góc nhỏ nhất phải đạt:

– Lưới tam giác hạng 4: ≥ 35o;

– Lưới giải tích 1: ≥ 30o;

– Lưới giải tích 2: ≥ 20o.

5.6 Thiết kế cạnh đáy

Thiết kế cạnh đáy phải thoả mãn:

– Thông tuyến đo giữa các điểm cạnh đáy và các điểm phát triển.

– Góc phải đảm bảo giá trị qui định ở Điều 2.5.

5.7 Chiều cao tia ngắm vượt chướng ngại vật qui định

– Hạng 4: cao hơn 1 m;

– Giải tích 1: cao hơn 1 m;

– Giải tích 2: cao hơn 0,5 m.

5.8 Thiết kế lưới tam giác phải kết hợp với lưới cao độ để xác định tọa độ, cao độ thuận lợi, chính xác.

5.9 Sản phẩm thiết kế lưới (khóa), gồm có:

a) Bản đồ 1: 50.000; 1: 100.000 trên đó biểu diễn toàn bộ lưới hoặc khoá (xem Phụ lục D).

b) Mẫu chọn mốc các điểm của lưới (xem Phụ lục B).

c) Ước tính đồ hình lưới qua các đại lượng: Cường độ R, sai số khép điều kiện cực, sai số khép điều kiện đường đáy và sai số khép điều kiện góc định hướng. Kết quả ước tính được lấy từ các chương trình bình sai trong các phần mềm sử dụng

5.10 Chọn điểm

Phải chọn được vị trí đặt máy dễ dàng, quá trình đo thuận lợi và đúng đồ hình đã thiết kế. Từ đó chọn loại mốc chôn, tiêu, chiều cao tiêu, bồ ngắm cho thích hợp.

5.11 Vị trí điểm: phải thoả mãn những điều kiện sau:

– Sử dụng được lâu dài;

– Dễ đo, gần các đường giao thông hoặc đường mòn, vận chuyển đúc mốc, bồ ngắm và thiết bị thuận lợi;

– Độ vướng, khuất ít nhất;

– Tầm bao quát ra xung quanh phải rộng rãi để phục vụ cho quá trình đo, vẽ các nội dung địa hình sau này.

5.12 Đánh tên điểm tam giác

Tên điểm tam giác đánh dấu theo tên công trình: ví dụ Công trình Tân Giang: TGi (i = 1 ÷ n) với điểm tam giác hạng 4. Điểm giải tích 1: TG-IGTi (i = 1 ÷ n), điểm giải tích 2: TG-IIGTi (i = 1 ÷ n).

5.13 Kết thúc công việc chọn điểm phải có những tài liệu sau

– Sơ đồ chọn điểm trên bản đồ 1: 100.000, 1:50.000 hoặc 1: 25.000 (ghi chú và đánh số tên điểm);

– Sơ đồ lưới đường đáy;

– Những ghi chú cần thiết để sau này tiến hành đo dễ dàng như: lộ trình đo, thời gian, thời tiết khu đo, đặc điểm sinh hoạt.

5.14 Cột tiêu và mốc

– Thông thường khi các điểm của lưới nhìn thông nhau thì không cần phải xây dựng cột tiêu, đo trực tiếp qua mốc hoặc bảng ngắm dựng trên mốc (trường hợp gần có thể đo qua dây dọi). Khi cần thiết, cột tiêu với tam giác hạng 4, lưới giải tích 1, là loại cột tiêu thường (xem phụ lục C).

– Cột tiêu có loại 3 chân, 4 chân làm bằng gỗ, sắt, tùy theo nguyên liệu có sẵn, sao cho tâm của bồ ngắm trùng với tâm mốc.

– Để dễ ngắm, bồ ngắm được làm theo kích thước: rộng 0,3m, cao 0,6 m cho hạng 4; rộng 0,1 m, cao 0,3 m cho giải tích 1 và sơn màu đỏ, trắng phân biệt rõ với xung quanh .

– Mốc tam giác hạng 4 đúc bê tông max 200 theo loại mốc lâu dài và mốc thường với núm sứ của Bộ Tài Nguyên và Môi Trường, mốc lưới giải tích 1, giải tích 2 đúc bê tông max 150. Hình dạng, kích thước theo Phụ lục B.

5.15 Yêu cầu cột tiêu

Cột tiêu phải đảm bảo những yêu cầu sau đây:

– Vững chắc và ngay ngắn;

– Khi có gió cấp 4 trở xuống vẫn đo được;

– Cột cái của cột tiêu không được che khuất hướng ngắm và hướng đường đáy;

– Sàn đứng bằng phẳng và vững chắc;

– Bồ ngắm phải thẳng đứng với trục giữa;

– Bậc thang và tay vịn trèo trên giá đo phải vững chắc.

5.16 Chôn mốc

Khi chôn mốc ở những vùng đất kém ổn định có mực nước ngầm cao, lầy lội, trước hết phải đầm chặt hoặc đóng cọc xử lý nền chắc mới đúc mốc theo kiểu nền yếu.

Công tác chôn mốc phải tiến hành ngay sau khi dựng tiêu. Muốn để trục bồ ngắm và tâm mốc trên cùng đường dây dọi thì trước khi chôn mốc phải chiếu điểm qua dây dọi sao cho sai số lệch tâm  1,0 mm.

5.17 Sau khi dựng tiêu và chôn mốc phải có những tài liệu sau:

– Giấy bàn giao hoặc cấp mốc hạng cao hơn của Bộ Tài Nguyên và Môi Trường;

– Giấy ghi chú các điểm kèm theo loại tiêu, mốc trên sơ đồ lưới đã thiết kế;

– Bảng thống kê và sơ đồ các điểm tam giác đã chôn mốc, dựng tiêu (xem Phụ lục C.2).

5.18 Kiểm nghiệm và hiệu chỉnh máy

a) Các loại máy đo lưới cơ sở trình bày ở bảng 1 hoặc các loại máy có các thông số tương tự bao gồm các máy toàn đạc điện tử, kinh vĩ điện tử và kinh vĩ quang cơ có độ chính xác trên du xích từ 30” đến 1”. Đảm bảo độ chính xác đo góc, cạnh và cạnh gốc lưới hạng 4, giải tích 1, giải tích 2, đường chuyền cấp 1, đường chuyền cấp 2.

b) Kiểm nghiệm và hiệu chỉnh máy kinh vĩ quang học có và không có bộ đo cực nhỏ.

Máy kinh vĩ quang học phải kiểm nghiệm và hiệu chỉnh những bước sau (xem phụ lục E):

– Kiểm nghiệm tính năng quang học của ống kính;

– Kiểm nghiệm trị số khoảng chia vạch khắc ống thủy dài;

– Kiểm nghiệm trục bọt thủy bắc ngang song song với trục ngắm;

– Kiểm nghiệm độ lệch tâm của bộ phận bàn độ nằm;

– Kiểm nghiệm độ chính xác hoạt động của bộ đo cực nhỏ;

– Xác định “Ren” của bộ đo cực nhỏ;

– Kiểm nghiệm và hiệu chỉnh 2c;

– Kiểm nghiệm và hiệu chỉnh M0 .

c) Kiểm nghiệm và hiệu chỉnh máy kinh vĩ điện tử .

Máy kinh vĩ điện tử được cấu tạo cũng như máy kinh vĩ quang cơ, điều khác nhau cơ bản là điều khiển quá trình đọc số được truyền qua bộ máy tính hiện trên màn ảnh. Nguyên lý là chuyển những thay đổi cơ học về góc nằm, góc đứng qua hình ảnh quang học và được đón nhận qua bộ đọc gồm các IC (xem Phụ lục H). Do vậy các bước kiểm nghiệm cơ bản gồm:

– Kiểm tra sự hoạt động bình thường của các bộ phận ống kính đứng, nằm theo thứ tự: bật núm nguồn điện (on), quay ống kính đứng 1 vòng khi thấy kêu “tít tít” là được. Sau đó quay trục quay bàn độ nằm xung quanh trục đứng, khi có tiếng kêu “tít tít” là được;

– Kiểm tra và hiệu chỉnh bọt thủy dài như máy kinh vĩ quang học (xem Phụ lục E);

– Kiểm tra các nốt bấm trên bàn phím như SEL – đo ∆x, ∆y, ∆H, TrK – đo thô, % đo góc v.v…

Xem khả năng sử dụng của chúng (xem Phụ lục H).

Nếu có hiện tượng hỏng bộ phận phát nguồn và hệ thống IC phải đưa đến các trạm sửa chữa chuyên dùng như: Sokia, Nikon, Topcon… tại Việt Nam.

d) Kiểm nghiệm và hiệu chỉnh máy toàn đạc điện tử.

Máy toàn đạc điện tử là loại máy điện tử đo cả mặt bằng và cao độ, đảm bảo độ tin cậy cao khi đo lưới khống chế mặt bằng cơ sở và cao độ hạng 4, kỹ thuật (xem Phụ lục H) như: Set 2B, Set 3B… Set 2C, Sét 3C… DTM420, 520… Mỗi một máy kiểm nghiệm và hiệu chỉnh đều theo Catalog kỹ thuật kèm theo. Song chúng đều có cấu tạo chung bởi 3 bộ phận: Máy kinh vĩ, máy phát quang hồng ngoại xác định khoảng cách, máy nhận, tính trị góc đứng, ngang, khoảng cách bằng. Kèm theo máy là một máy vi tính nhỏ có thể tính tọa độ theo nguyên lý tọa độ cực khi định vị theo phương gốc và ghi lại trên Card hoặc fieldbook.

– Kiểm nghiệm và hiệu chỉnh bộ phận kinh vĩ theo những bước của kinh vĩ quang học (xem Phụ lục E).

– Kiểm nghiệm bộ phận máy phát hồng ngoại thông qua bãi tuyến gốc quốc gia (xem Phụ lục H).

– Kiểm nghiệm bộ phận góc đo bằng, đứng, khoảng cách theo bãi tuyến gốc quốc gia (xem Phụ lục H).

– Hiệu chỉnh độ dài đo qua các công thức ở Phụ lục H.

5.19 Đo góc trong lưới

a) Trên các điểm tam giác hạng 4, giải tích 1, giải tích 2, đo góc bằng theo phương pháp toàn vòng với số lần đo qui định trong Bảng 2.

Bảng 2 – Số lần đo góc

Loại máy

Hạng

Theo 010, T2, Set 3B ( mβ  1” )

DT2 , DT6

Theo 020, 020A

Lần đo

Lần đo

Lần đo

4

6

7

9

Giải tích 1

3

4

6

Giải tích 2

2

2

3

b) Khi ngắm hướng đo hạng 4, phải ngắm trước điểm chuẩn hạng 3. Nếu các điểm hạng 4 có bồ ngắm, phải ngắm nhiều lần để xác định tâm bồ chính xác. Khi đo xong 1/2 vòng đo phải khép về hướng ban đầu.

– Khi đo góc tại trạm có cả hạng 4, giải tích 1, giải tích 2 thì phải đo góc hạng 4 trước, sau đó đến lưới giải tích 1,2. Quá trình đo phải độc lập theo chu trình riêng;

– Nếu đo tại trạm có số hướng > 7, phải chia làm hai nhóm độc lập. Số hướng trong nhóm không được ít hơn 3 và số hướng đo chung nhỏ nhất phải là 2 hướng. Số chênh của trị giá góc kẹp giữa các hướng chung của hai nhóm không được vượt quá m = ± 2 mβ (mβ là sai số trung phương đo góc);

Khi đo tại trạm mà có hướng đo chưa tốt, phải bỏ hướng lại để đo bổ xung. Số hướng đo bổ sung không được quá 1/3 toàn bộ hướng, nếu vượt phải chọn lại điểm đo máy.

5.20 Chuyển vị trí điểm khống chế

Khi sử dụng các vật xây dựng cao tầng như nóc nhà, nóc nhà thờ v.v… phải chuyển vị trí điểm khống chế xuống mặt đất theo qui định.

5.21 Sai số cho phép

Sai số cho phép khi đo góc lưới khống chế cơ sở (sai số giới hạn) được nêu trong Bảng 3.

5.22 Đo lại hướng

Khi đo theo phương pháp toàn vòng, nếu phải đo lại những hướng không đạt yêu cầu thì phải đo thêm với hướng khác: hướng mở đầu và hướng tốt nhất trong các hướng. Không được kết hợp việc đo bù với đo lại.

5.23 Đo nguyên tố qui tâm

a) Đo nguyên tố qui tâm chỉ sử dụng cho các điểm hạng 4 khi có cột tiêu và bồ ngắm, các điểm giải tích 1, 2 thường không phải dựng cột tiêu, bồ ngắm.

b) Nguyên tố qui tâm trạm đo và điểm ngắm phải xác định trên giấy chiếu điểm gắn trên ván phẳng.

Tại các điểm tam giác hạng 4, thường cột tiêu cao dưới 20 m có thể chiếu điểm hai lần liên tục (trước, trong hoặc sau khi đo hướng ngang xong). Đối với cột tiêu cao hơn 20 m thì phải xác đinh nguyên tố qui tâm một lần ngay trước khi đo và một lần ngay sau khi đo hướng ngang xong.

c) Những điểm tam giác có cột tiêu giá.

Ngoài bồ ngắm di động (bồ ngắm gắn liền với bệ máy) thì số lần chiếu điểm qui định như sau:

– Trước khi dỡ bồ ngắm, nếu đã có hướng ngắm tới nó, thì phải chiếu điểm một lần;

– Khi đo góc, hướng ngang phải chiếu điểm một lần (tâm máy, tâm mốc );

– Sau khi đo góc, hướng ngang xong, lắp bồ ngắm vào vị trí cũ, nếu còn có hướng đo tới phải chiếu điểm một lần nữa (chiếu tâm bồ ngắm và tâm mốc).

d) Khi đo bằng máy toàn đạc điện tử qua gương

Tâm gương và giá đỡ phải trùng nhau. Khi xác định nguyên tố qui tâm phải ghim giấy chiếu điểm lên bàn chiếu điểm rồi từ 3 hướng ngắm tới tâm gương, tâm máy, tâm mốc để chiếu những tâm ấy lên giấy chiếu điểm.

Nếu giá trong cột tiêu thấp dưới 2 m thì có thể đặt trực tiếp đặt giấy chiếu điểm lên bệ máy.

Khi xác định nguyên tố qui tâm, các ký hiệu qui định như sau:

Dùng các chữ C, M, S, H lần lượt biểu thị hình chiếu của tâm mốc, máy, bồ ngắm (gương phản xạ), đèn chiếu. Nếu tâm trùng nhau thì biểu thị bằng dấu =, ví dụ: M = C.

e) Khoảng cách từ M đến C là khoảng cách lệch tâm trạm đo được xác định qua các thông số sau:

– eS, eH – khoảng cách từ C đến S hoặc đến H là khoảng cách lệch tâm của điểm ngắm (bồ ngắm hoặc gương, đèn chiếu);

– θ – góc kẹp giữa cạnh MC và hướng đo mở đầu, góc này tính từ cạnh MC theo chiều kim đồng hồ, lấy M làm đỉnh góc là góc lệch tâm trạm đo;

– θS, θH – góc tính từ cạnh SC (hoặc HC) theo chiều kim đồng hồ đến hướng mở đầu θS, θH gọi là góc lệch tâm điểm ngắm.

Khoảng cách lệch tâm đo đến 1 mm.

Góc lệch tâm đo chính xác tới 15’.

– Sai số giữa trị góc đo kiểm tra vẽ trên giấy chiếu điểm và trị số góc đo bằng máy không vượt quá các qui định sau:

+ 2o khi e, eS, eH  20 cm;

+ 1o khi e, eS, eH > 20 cm.

– Trị số cuối cùng của θ, θS là trị trung bình giữa hai lần đo tính chuyển về hướng mở đầu.

SAB và MAB – góc đo bằng máy kinh vĩ.

f) Nếu trường hợp đặc biệt tại các điểm tam giác hạng 4 có nhiều hướng bị vướng, có thể cho phép lệch tâm trong phạm vi 3 m. Khoảng cách lệch tâm được đo bằng thước thép hai lần với độ chính xác 1 mm, góc dùng máy đo 2 lần lấy chính xác đến 60″.

5.24 Đo điểm định hướng

– Điểm định hướng của lưới tam giác, đa giác phải là 2 điểm. Các điểm định hướng phải là điểm chính xác cao hơn điểm trong lưới 1 cấp .

– Đo góc điểm định hướng và điểm trong lưới có số lần gấp 1,5 lần đo góc trong lưới.

– Đo khoảng cách từ điểm tam giác đến điểm định hướng có thể áp dụng những phương án sau:

+ Đo trực tiếp từ điểm lưới đến điểm định hướng với độ chính xác như cạnh gốc của lưới;

+ Sử dụng phương pháp đo tọa độ điểm lưới, rồi tính ra khoảng cách đến điểm định hướng.

5.25 Đo góc thiên đỉnh (Z)

– Tất cả điểm khống chế mặt bằng cơ sở phải đo cao độ theo các phương pháp: thủy chuẩn lượng giác, thủy chuẩn hình học.

– Thường các điểm của lưới cơ sở phân bố trên những điểm cao (đỉnh đồi, núi, nóc nhà cao tầng, chuông nhà thờ v.v…), nên chuyền cao độ phải sử dụng phương pháp thủy chuẩn lượng giác. Khi đó phải đo góc thiên đỉnh.

– Thời gian đo góc thiên đỉnh phải từ 10h đến 15h (giờ địa phương) và lúc mục tiêu rõ.

– Đo góc thiên đỉnh tại mỗi trạm máy phải theo thứ tự sau:

+ Đo thiên đỉnh phải theo hai vị trí của bàn độ (trái, phải): thuận, đảo;

+ Đo góc thiên đỉnh theo dây giữa với hai chiều thuận (chiều đi) nghịch (chiều về) để triệt tiêu chiết quang, trường hợp muốn chuyền cao độ hạng 4, phải sử dụng các máy toàn đạc điện tử hoặc kinh vĩ có độ chính xác đo góc đến 1” đo theo 3 dây chỉ: trên, giữa, dưới.

5.26 Tính góc thiên đỉnh được quy định theo các loại máy sau:

a) Máy kinh vĩ theo 10 ( A, B ), sét 3B, T2:

trong đó 

DKm là chiều dài các cạnh dài hơn 5 Km;

n là số cạnh có chiều dài ngắn hơn 5 Km.

5.27 Chỉnh lý, tính kết quả ngoại nghiệp đo lưới

a) Cách ghi sổ ngoại nghiệp.

– Ghi trị đo góc trong lưới TGĐG theo mẫu phụ lục I, K.

– Sổ đo phải ghi bằng bút mực, bút bi hoặc chì cứng.

– Không được sửa số độ, phút trong các trường hợp sau:

+ Cùng một số chênh ở một hướng ở cả hai vị trí bàn độ (trái, phải);

+ Cùng một số chênh ở cả hướng mở đầu và hướng đo khép về hướng mở đầu trong nửa lần đo, trong 1 lần đo.

b) Những số đọc theo bộ đo cực nhỏ (trắc vi) nếu nhầm hoặc bị nhòe thì đo lại hướng đó cùng với hướng mở đầu và một hướng khác có tầm nhìn thông suốt tốt nhất.

c) Khi đo ngắm xong ở mỗi điểm, sổ đo phải do hai người kiểm tra (người đo ngắm và người ghi sổ). Nếu thấy đúng theo qui định và trị đo, mới chuyển sang trạm tiếp theo.

d) Qui định đơn vị số lẻ các trị đo góc, chiều cao tiêu, chiều dài cạnh đo cho các cấp lưới như sau:

– Trong lưới tam giác hạng 4: Trị góc lấy đến 0,1” trị đo chiều cao tiêu, bồ đến cm, trị đo chiều dài đến milimét;

– Trong lưới giải tích 1, 2: Trị góc lấy đến 1” khi đo góc bằng máy Theo 10A, Set 3B, trị đo chiều cao tiêu đến centimét, trị đo chiều dài đến milimét.

Lấy trị góc đến 10” khi đo bằng máy Theo 020 (A, B ) v.v…

e) Trong quá trình đo tại mỗi điểm, người đo ngắm phải:

– Kiểm tra sổ đo góc (hướng) ngang và góc thiên đỉnh;

– Tính chiều cao cột tiêu bằng phương pháp giải tích;

– Lập bảng thành quả góc (hướng) ngang và thiên đỉnh;

– Kiểm tra và chỉnh lý các giấy chiếu điểm (nếu có).

– Dựa vào bảng thành quả đo, người đo ngắm tính: sai số khép tam giác, đa giác, số hạng tự do các điều kiện : cực, cạnh, góc cố định v.v… Khi tính khái lược phải đưa các số hiệu chỉnh quy tâm vào những góc đã đo được và bình sai trạm đo.

f) Tính sai số khép các điều kiện cực, cạnh (đường đáy), phương vị theo những công thức ở 5.9, nhưng sai số mo bây giờ thay thế bằng m, được tính theo sai số khép (công thức Fê rê rô).

trong đó

ω là sai số khép từng tam giác, đa giác trong lưới đo;

n là số tam giác, đa giác trong khóa, lưới đo.

k) Để tính số hiệu chỉnh quy tâm trạm đo và điểm ngắm phải lấy giá trị trung bình nguyên tố qui tâm của các lần xác định trên một trạm đo.

5.28 Bình sai lưới

a) Tất cả lưới tam giác, đa giác và giao hội cơ sở phải bình sai theo phương pháp bình sai chính xác thực hiện trên máy vi tính. Phụ lục L giới thiệu tham khảo thành quả bình sai theo phương pháp gián tiếp có điều kiện qua chương trình PICKNET Ver 2.0.

b) Sơ họa thông kế cao, tọa độ điểm và khoá, lưới tam giác trong Phụ lục M.

6. Phương pháp đường chuyền

6.1 Dạng đường chuyền

Đường chuyền hạng 4, cấp 1, cấp 2 được xây dựng dưới dạng đường đơn hoặc hệ thống lưới (theo A.3 Phụ lục A).

6.2 Đường chuyền đơn qui định như sau

– Đường chuyền hạng 4, cấp 1 phải xuất phát từ 2 điểm hạng cao hơn và khép về 2 điểm hạng cao hơn gọi là điểm gốc (lưới phù hợp) hoặc khép kín về hướng ban đầu.

– Trường hợp đặc biệt (như vùng hẻo lánh biên giới hải đảo, vùng sâu, vùng xa) có thể khép kín về 1 điểm, nhưng phải đo phương vị cạnh đầu và cuối.

– Đường chuyền cấp 2 có thể sử dụng đường chuyền treo trong trường hợp đặc biệt, những số cạnh không quá 5 cạnh với chiều dài không quá 1 km.

6.3 Lưới đường chuyền

Đối với khu vực rộng lớn, cần xây dựng dạng lưới hệ thống đường chuyền nhiều điểm nút (xem Phụ lục A).

6.4 Tiêu chuẩn kỹ thuật

Các loại đường chuyền đơn hoặc lưới hệ thống đường chuyền nhiều điểm nút phải tuân theo những qui định ở Bảng 4.

6.5 Thiết kế tuyến, lưới đường chuyền

Lưới đường chuyền được thiết kế trên các bản đồ tỷ lệ từ 1:50000 ÷1:10000 theo trình tự như tuyến thiết kế lưới tam giác, đa giác, ước tính đồ hình thiết kế theo các đại lượng sau: Sai số khép góc fβ, sai số trung phương vị tri theo hướng dọc mđ1+1, theo hướng ngang mui+1 và sai số góc phương hướng mai. Kết quả các trị số trên được láy ra từ các phần mềm bình sai lưới ước tính.

6.6 Chọn điểm đường chuyền

a) Việc chọn điểm đường chuyền tuân theo các vị trí trong bản thiết kế đường chuyền (dạng tuyến, lưới)

b) Vị trí chọn điểm đường chuyền phải chú ý đến các điều kiện sau:

– Tại những vị trí nền chắc, giữ được lâu dài;

– Thông tuyến đo dễ dàng;

– Có thể phát triển các tuyến lưới thuận lợi;

– Có thể sử dụng để đặt trạm máy đo vẽ địa hình, địa vật thuận lợi;

– Dễ vận chuyển và đúc mốc.

6.7 Mốc điểm đường chuyền

– Mốc điểm đường chuyền hạng 4 như mốc lưới tam giác hạng 4 (xem 5.14).

– Mốc điểm đường chuyền cấp 1, cấp 2 như mốc lưới giải tích 1, giải tích 2 (xem 5.14).

– Đánh dấu mốc đường chuyền hạng 4 theo tên công trình kèm cấp hạng, ví dụ. Công trình lòng sông: LS – IVĐCi đối với đường chuyền hạng 4, đường chuyền cấp 1: LS – 1ĐCi, đường chuyền cấp 2; LS- 2ĐCi (i = 1÷ n- số điểm đường chuyền).

6.8 Đo góc trên các điểm đường chuyền

a) Đo góc trên các điểm đường chuyền tiến hành theo phương pháp toàn vòng. Trước khi đo, phải kiểm nghiệm và hiệu chỉnh máy theo Phụ lục E, Phụ lục H.

Trong đó: n – số lần đo .

Ví dụ : Đo 3 lần thì trị số đặt các lần là 0o, 60o, 120o

Số lần đo góc đường chuyền hạng 4, cấp 1, cấp 2 được thể hiện trong Bảng 5:

Bảng 5 – Số lần đo góc

Loại máy

 

Hạng

Theo 010 T2 Set 3B, Set 3C

DT2, DT6

Theo 020, 020A

Lần đo

Lần đo

Lần đo

4

6

7

9

Đường chuyền cấp 1

3

4

6

Đường chuyền cấp 2

2

2

3

d) Tiến hành đo trong một trạm máy như sau:

– Đo theo chiều kim đồng hồ;

– Nếu đo theo góc trái thì thứ tự: ngắm về điểm cũ (xuất phát) trước, sau đó ngắm về điểm phát triển;

– Nếu đo theo góc phải tiến hành theo trình tự ngược lại;

– Trong quá trình đo tuyến đường chuyền không được thay đổi điều quang, trừ trường hợp đặc biệt phải điều quang thì số hướng điều quang không quá 1/4 tổng số hướng;

– Trước khi kết thúc trạm đo phải tính các trị hướng, góc, kiểm tra hạn sai. Nếu vượt hạn sai (qui định như 5.21), phải tiến hành đo lại ngay. Kết toán sổ tại trạm, sau đó chuyển sang trạm khác;

– Ghi trị số tại mỗi trạm theo biểu mẫu ở Phụ lục K.

6.9 Kết toán tuyến đường chuyền

– Khi đo xong tuyến đường chuyền phải kết toán ngay tại thực địa hai trị số:

+ Sai số khép hướng của tuyến, so với hạn sai:

+ Sơ họa các tuyến đo cùng với sai số khép hướng của tuyến.

6.10 Đo cạnh trong tuyến đường chuyền hạng 4, cấp 1, cấp 2

– Đo chiều dài cạnh đường chuyền hạng 4 phải đo bằng các máy đo xa quang điện, các máy toàn đạc điện tử có độ chính xác đo cạnh: ms /s 1/50.000

– Đo chiều dài cạnh đường chuyền cấp 1, cấp 2 có thể theo các loại máy sau:

+ Các máy đo xa quang điện, toàn đạc điện tử có độ chính xác, ms/s  1/25.000;

+ Khi không có máy quang điện, có thể sử dụng các máy kinh vĩ có độ chính xác đo góc đến 1” như Theo 010A, WildT2 và mia Ba la 2m theo các đồ hình và công thức xác định độ chính xác ở qui phạm 96TCN 43-90 “Thành lập bản đồ địa hình tỷ lệ 1/500, 1/1000… và 1/25.000” của Tổng cục Địa chính.

6.11 Gương đo

Khi đo bằng máy đo xa hoặc toàn đạc điện tử, gương đo được đặt trên giá đỡ thì sai số dọi tâm của máy và gương  3 mm khi đo tuyến hạng 4;  4 mm khi đo đường chuyền cấp 1, cấp 2.

Khi đo bằng mia Ba la, việc định tâm qui định ở mục 2.23. Định hướng mia Ba la theo phương vuông góc với tuyến đo với sai số  1’ với tuyến đường chuyền cấp 2.

6.12 Đo cạnh

Đo cạnh đường chuyền hạng 4, cấp 1, cấp 2 theo hai chiều thuận nghịch. Số lần đo được qui định kèm theo Catalog của từng loại máy. Dưới đây, qui định cho một số loại máy đo quang điện theo độ chính xác của đo cạnh:

– Những máy có độ chính xác đo cạnh ± (1+2ppm x D) mm, đo cạnh hạng 4 với 3 lần đọc đi, 3 lần đọc về; đo cạnh cấp 1: 2 lần đọc đi, 2 lần đọc về, đo cạnh cấp 2: 1 lần đọc đi, 1 lần đọc về;

– Những máy có độ chính xác ± (2+ 2ppm xD ) mm và ± (3+ 2ppm x D ) mm, đo cạnh hạng 4 với 4 lần đọc đi và đọc về; đo cạnh cấp 1: 3 lần đọc đi và đọc về;đo cạnh cấp 2: 2 lần đọc đi, đọc về;

– Những máy có độ chính xác đo cạnh ± (5 + 2 ppm x D) mm, đo cạnh hạng 4 với 5 lần đọc đi và đọc về; đo cạnh cấp 1: 3 lần đọc đi và đọc về; đo cạnh cấp 2 : 2 lần đọc đi và đọcvề;

– Khi đo cạnh qua mia Bala và máy kinh vĩ có độ chính xác đo góc 1” cho tuyến đường chuyền cấp 2 theo hai chiều thuận, nghịch với 6 lần đọc đi, 6 lần đọc về.

6.13 Hiệu chỉnh đo cạnh

Khi đo bằng máy quang điện của Nhật, Thụy Sỹ hiện nay, thì máy sẽ tự động hiệu chỉnh ảnh hưởng của áp suất, nhiệt độ. Đối với các máy đo quang điện của Liên Xô như (CT5), của Đức (EOK2000) thì phải đo áp suất, nhiệt độ và hiệu chỉnh theo các công thức trong Catalog của máy.

6.14 Trị trung bình cạnh

Mỗi cạnh đo xong, phải được tính trị trung bình sau khi đạt sai số tương đối đo đi, đo về qui định cho từng cấp.

Lập bảng thống kê và sơ họa tuyến về cạnh và góc để tiện lợi khi tính toán, bình sai.

6.15 Bình sai lưới

– Bình sai tọa độ lưới đường chuyền đơn ngoài thực địa theo mẫu biểu ở Phụ lục N.

– Tuyến và lưới đường chuyền được bình sai theo phương pháp gián tiếp có điều kiện, ví dụ như ở Phụ lục L.

6.16 Thống kê sơ họa

Sơ họa tuyến và mốc khống chế mặt bằng theo mẫu quy định ở Phụ lục M.

7 Phương pháp GPS

7.1 Các dạng đo

Phương pháp GPS có thể áp dụng các dạng đo như: Đo tĩnh, đo tĩnh nhanh hoặc kết hợp tuỳ thuộc vào yêu cầu của đề cương khảo sát địa hình đã được phê duyệt.

7.2 Các bước tiến hành xác định toạ độ bằng máy thu GPS

a) Đặt máy thu GPS tại điểm cần xác định và điểm đã có tọa độ quốc gia (hoặc hệ địa phương);

b) Tiến hành thu tín hiệu ngoài thực địa từ các vệ tinh. Kết quả là tệp số liệu đo được ghi trong đĩa hoặc sổ đo điện tử;

c) Tính chuyển trị đo GPS từ X, Y, Z sang B, L, H trong hệ WGS 84, từ hệ WGS 84 sang hệ khác hoặc ngược lại từ B, L, H sang X, Y, Z. Xử lý kết quả đo qua các phần mềm chuyên dùng: GP Survy 2.35 hoặc Trimble Geomatic office,…

7.3 Những quy định cơ bản của kỹ thuật đo

7.3.1 Quy định về số cạnh trong vòng đo độc lập hoặc phù hợp đối với lưới hạng IV, cấp 1, cấp 2

Hạng, cấp

IV

1

2

Số cạnh

≤ 10

≤ 10

≤ 10

7.3.2 Quy định độ tin cậy lựa chọn thiết bị máy thu GPS

Hạng, cấp

Hạng mục

IV

1

2

Độ chính xác biểu trưng

≤5mm + 2.10-6D

≤5mm + 2.106D

≤ 10mm + 2.10-6D

Số máy thu đo đồng bộ

≥ 2

≥ 2

≥ 2

7.3.4 Yêu cầu kỹ thuật cơ bản khi đo GPS

Hạng mục

Hạng, cấp

Phương pháp đo

Hạng IV

Cấp 1

Cáp 2

Góc cao của vệ tinh (0)

Đo tĩnh

Tĩnh nhanh

≥ 15

≥15

≥ 15

Số lượng vệ tinh quan trắc dùng được

Đo tĩnh

Tĩnh nhanh

≥ 4

≥ 5

≥ 4

≥ 5

≥ 4

≥ 5

Số lần đo lặp trung bình tại trạm

Đo tĩnh

Tĩnh nhanh

≥ 1.6

≥ 1.6

≥ 1.6

≥ 1.6

≥ 1.6

≥ 1.6

 

Độ dài thời gian thu tín hiệu ngắn nhất (phút)

Đo tĩnh

Tĩnh nhanh

≥ 45

≥ 15

≥ 45

≥ 15

≥ 45

≥ 15

Tần suất thu tín hiệu

Đo tĩnh

Tĩnh nhanh

10

÷ 60

10

÷ 60

10

÷ 60

Thời gian tối thiểu ca đo (phút)

Độ dài cạnh

0 ÷ 1 km

1 ÷ 5 km

5 ÷ 10 km

10 ÷ 20 km

 

20 ÷ 30

30 ÷ 60

60 ÷ 90

90 ÷ 120

 

20 ÷ 30

30 ÷ 60

60 ÷ 90

90 ÷ 120

 

20 ÷ 30

30 ÷ 60

60 ÷ 90

90 ÷ 120

Phụ lục G: Giới thiệu hệ thống thu GPS.

7.4 Yêu cầu đo ngắm

Yêu cầu đo ngắm tuân theo tiêu TCXDVN 364 : 2006.

7.5 Quy định chọn vị trí đo GPS

Nhìn chung, các điểm GPS có thể đặt dễ dàng, ít phụ thuộc vào độ vướng khuất địa hình, địa vật, nhưng nên tránh những vị trí sau:

– Vị trí ở vùng có phản xạ lớn như điểm gần mặt nước, vùng đồi trọc, vùng có khoáng sản, hàm lượng muối cao;

– Vị trí có phản xạ nhiều chiều như thung lũng nhiều vách đá, đường phố có nhiều nhà cao tầng v.v.;

– Vị trí có nguồn phát điện từ mạnh như gần trạm rađa, đường điện cao thế v.v.;

– Góc nhìn lên bầu trời xung quanh đều  150.

7.6 Xử lý kết quả đo GPS theo các bước sau

– Xử lý kết quả đo GPS, chuyển hệ tọa độ WGS 84 về hệ tọa độ quốc gia Việt Nam 2000;

– Các công việc trên đều tiến hành theo các phần mềm có sẵn của các hãng sản xuất máy như: GPSurvey 2.35 hoặc Trimble Geomatic office,… (xem Phụ lục N).

 

PHỤ LỤC A

(quy định)

CÁC DẠNG PHÁT TRIỂN LƯỚI KHÓA MẶT BẰNG

A.1 Đồ hình lưới tam giác dạng dày đặc

Khi thiết kế xây dựng lưới khống chế mặt bằng cần phải tiến hành những bước sau:

– Tính cấp bậc lưới tam giác với độ chính xác cho phép:

A.2 Các đồ hình mẫu đo khóa tam giác, giao hội

Các đồ hình bình sai chặt chẽ theo góc cạnh có cải biến các phương trình điều kiện:

A.3 Các dạng lưới đường chuyền

PHỤ LỤC B

(quy định)

MẪU MỐC LƯỚI KHỐNG CHẾ MẶT BẰNG

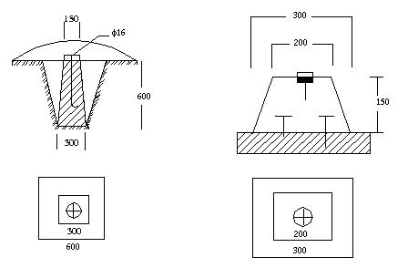
B.1 Mốc tam giác hạng IV dạng lâu dài (quy định)

B.1.1 Vùng đồng bằng

Đơn vị tính bằng milimét

B.1.2 Vùng núi và trung du – Mốc dạng như trên nhưng có kích thước như sau:

Đơn vị tính bằng milimét

B.1.3 Mốc bê tông cho các điểm đường chuyền cấp 1, cấp 2, giải tích 1, giải tích 2

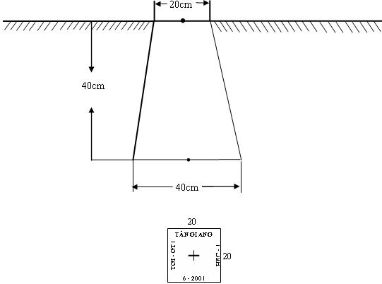
B.1.3.1 Điểm giải tích 1, đường chuyền cấp 1: Kích thước: (20 ´ 20 ´ 40 ´ 40) cm

B.1.3.2 Điểm giải tích 2, đường chuyền cấp 2

Hình thức như (B.1.3.1), kích thước: (15 ´ 15 ´ 30 ´ 40) cm

B.2 Bảng thống kê cột tiêu mốc tam giác đã dựng và chôn (tham khảo)

Tên điểm

Loại cột tiêu và mốc

Hạng

Thời gian xây dựng

Địa điểm xây dựng (làng, xã, huyện, tỉnh)

Cơ quan bảo quản

 

 

 

 

 

 

 

 

 

 

 

 

 

 

 

 

 

 

 

 

 

 

 

 

 

 

 

 

 

 

 

 

 

 

 

 

 

 

 

 

 

 

 

 

 

 

 

 

 

 

 

 

 

Đơn vị dựng cột tiêu và chôn mốc. . . . . .

Người kiểm tra. . . . . . . .

 

PHỤ LỤC C

(quy định)

BỆ TIÊU CÓ LẮP THÊM BỒ NGẮM

Các dạng tiêu bồ

CHÚ THÍCH:

1) Trường hợp ở đỉnh núi nhọn không thể dựng được cột tiêu, mà chỉ làm được bệ máy, sau khi đo ngắm tại điểm xong, lắp bồ ngắm lên bệ ngắm.

2) Khi lắp, xem sơ đồ cấu tạo, còn kích thước gỗ không quy định.

3) Lấy dây thép lớn buộc chặt 4 góc cột bệ máy lại và dùng đinh đóng ghì dây thép to vào cột.

4) Đầu dưới trụ giữa cao khi mặt bệ máy 0.30m.

 

PHỤ LỤC D

(tham khảo)

SƠ ĐỒ THIẾT KẾ LƯỚI

D.1 Chọn điểm lưới tam giác

D.2 Sơ đồ chọn điểm khóa tam giác

Khóa dài

Cạnh ngắn nhất

Tỷ lệ: 1:600 000

Tổng số trọng số đảo hình đoạn trước

Cạnh trung bình

 

Góc lớn nhất

Cạnh mở rộng cuối cùng lưới đường đáy

Người chọn:

Thời gian:

Góc nhỏ nhất

Cạnh mở rộng cuối cùng

 

Cạnh dài nhất

Lưới đường đáy

 

 

PHỤ LỤC E

(quy định)

KIỂM NGHIỆM VÀ HIỆU CHỈNH MÁY KINH VĨ

E.1 Kiểm nghiệm tính năng quang học của ống kính 

Ngắm ống kính lên một ngôi sao. Xoay kính mắt ra hay vào mà thấy ngôi sao hiện thành hình tròn hoặc giống gần hình elíp, chứng tỏ ống kính đảm bảo độ chính xác đo ngắm.

E.2 Kiểm nghiệm trị số khoảng chia vạch khắc ống thủy dài bắc ngang theo phương pháp Vasiliep

a) Điều kiện tiến hành:

Máy kiểm nghiệm phải đặt vững chắc trên bệ máy trong phòng kiểm nghiệm, cách đèn điện tử 1 mét trở lên phải đảm bảo nhiệt độ ổn định, sai số ± 2oC, kiểm tra qua nhiệt kế có vạch khắc đến 0,2o ÷ 0,5o C.

Phải đặt bọt nước cần kiểm nghiệm lên giá đỡ của máy trước 30 phút. Điều chỉnh chiều dài bọt nước bằng 0,4 ÷ 0,5 chiều dài mặt chia khắc trên ống bọt nước, phần đầu và cuối khoảng 3 ÷ 5 khắc (Tuỳ theo chiều dài của ống bọt nước) không kiểm nghiệm.

Chương trình kiểm nghiệm cho máy đo tam giác hạng 4, cấp 1 chỉ cần 1 nhóm đo đi, đo về (các hạng cao hơn phải 2 nhóm đo đi, đo về).

b) Thứ tự tiến hành

Trước khi kiểm nghiệm phải vặn ốc cân máy vào vị trí giữa, cân cho bọt nước của máy kiểm nghiệm và ống bọt nước cần kiểm nghiệm vào giữa.

– Đo đi: Vặn ốc đo vào để vạch khắc “0” của vòng chia khắc trùng với vạch chỉ trên, vặn ốc nâng máy kiểm nghiệm cho bọt nước chạy sang một đầu của ống bọt nước. Sau đó, cứ 2 phút đọc và ghi số khắc ở hai đầu bọt nước. Vặn ốc đo vào để vòng chia khắc quay đi M khấc và sau 2 phút lại đọc và ghi số khắc ở hai đầu bọt nước như đã làm, cứ tiếp tục làm như vậy cho đến hết 6 lần dịch chuyển bọt nước.

– Đo về: Sau khi kết thúc việc đo đi phải đo về ngay vặn ốc đo vào để vòng chia khấc quay đi 20 -30 khấc, tiếp đó xoay ốc đo ra để số đọc trên vòng chia khấc lại bằng số đọc lần cuối lúc đo đi. Sau 2 phút đọc và ghi số hai đầu bọt nước. Vặn ốc đo ra lần lượt cho vòng chia khắc quay đi M khấc và cứ cách 2 phút lại đọc và ghi số khấc ở hai đầu bọt nước đến khi nào vòng chia khấc trở về đến số đọc “O” thì thôi.

Trong quá trình kiểm nghiệm phải tuân theo vặn ốc một chiều. Nếu không được phải làm lại từ đầu.

c) Phương pháp tính

– Tính vị trí bọt nước:

λ= T + P

– Tính bằng đơn vị 1/2 vạch khắc. Sau đó tính khoảng cách g giữa hai vị trí bọt nước : g = λi+1  λi

– Tính trị số trung bình của bọt nước từ kết quả đo đi, về (λ + b ).

Coi là trị đo được (gồm 4 trị số trái, phải), δ là sai số ngẫu nhiên của λ, phương trình sai số có dạng δi = x + ( i – 4 ) y – li ( i = 1, 2, 3, 4 )

x là trị số chính xác trên bọt nước tương ứng với 4 vị trí trên vòng chia khắc của ốc đo.

E.3 Kiểm nghiệm trục bọt thủy bắc ngang song song với trục ngắm

Trước khi kiểm nghiệm phải điều chỉnh cho chiều dài ống bọt nước bằng 0,4 ÷ 0,5 khoảng cách giữa hai vạch khắc đầu và cuối của ống bọt nước.

Kiểm nghiệm tiến hành theo 2 bước:

Bước 1: Kiểm nghiệm trục của ống bọt thủy bắc ngang và trục của ống ngắm có nằm trên cùng một mặt phẳng.

Sau khi cân máy xong, cố định bộ phận ngắm vặn lỏng ốc hãm thẳng đứng, xoay lò xo ở ốc xê dịch nhỏ thẳng đứng ra. Sau đó khẽ nghiêng đi, nghiêng lại ống bọt nước bắc ngang về hai phía trục nằm ngang. Nếu bọt nước không động đậy, chứng tỏ trục bọt thủy bắc ngang cùng nằm trên mặt phẳng với trục ống ngắm.

Nếu bọt nước chạy khỏi, sử dụng hai ốc điều chỉnh cho đến khi bọt nước không di chuyển là được.

Bước 2: Kiểm nghiệm ống bọt nước bắc ngang song song với trục nằm ngang của ống kính.

Quay bộ phận ngắm sao cho ống thủy bắc ngang nằm trên một hướng với hai ốc cân máy. Cố định bộ phận ngắm lại, điều chỉnh 2 ốc cân bằng máy để cho bọt nước vào giữa. Sau đó nhấc ống bọt nước bắc ngang ra, đảo ngược ống kính rồi lại đặt ống bọt thủy, nếu bọt nước vẫn giữa nguyên ở giữa chứng tỏ trục của ống thủy song song với trục ống kính. Nếu ngược lại, phải dùng 2 ốc cân máy hiệu chỉnh 1/2 độ chênh, 1/2 còn lại sử dụng ốc điều chỉnh bọt thủy hiệu chỉnh làm 2, 3 lần như vậy, đến khi đạt thì thôi.

E.4 Kiểm nghiệm sai số lệch tâm của bàn độ nằm

Sai số lệch tâm chiều dài của bàn độ nằm là khoảng cách từ tâm vành chia khắc của bàn độ nằm tới tâm trục quanh của nó.

Các bước tiến hành như sau: Cân bằng máy; cố định bộ phận ngắm; quay bàn độ theo chiều kim đồng hồ bắt đầu từ 0o và cứ quay 30o lại đọc số ở hai kính hiển vi hai bên bàn độ quay đến 330o là hoàn thành lượt đo thứ nhất. Đo đi phải tiến hành 2 lượt liên tục như vậy.

Đo về: Tiến hành tương tự như đo đi nhưng quay ngược kim đồng hồ và cùng đo 2 lượt như trên.

Trong quá trình kiểm nghiệm không được dịch chuyển bộ phận ngắm và ốc trắc vi của nó, khi chuyển bàn độ đi 30o chỉ cần chính xác tới 1’.

Với các giá trị v tính được, lấy vị trị bàn độ làm hoành độ để vẽ đồ thị. Vẽ trục đối xứng đường cong và đường cong có dạng hình sin. Hai lần lớn nhất của tung độ đường cong này so với trục đối xứng (dùng 2f để biểu thị ) thể hiện ảnh hưởng lớn nhất do sai số lệch tâm bàn độ đối với số đọc của hai kính hiển vi.

Nếu 2f1 > 10” thì phải tính trị số biến đổi lớn nhất của v, tức là độ chênh nhau giữa hai lần đọc kính hiển vi tại hai vị trí bất lợi nhất. Lượng thay đổi lớn nhất tính theo phương pháp:

– Trên đồ thị của v, lấy tham số f1 và P1 của đường biểu diễn hàm số sin f1 là tung độ lớn nhất của đường biểu diễn hàm số sin tính từ trục đối xứng. P1 là hoành độ giao điểm giữa hình sin ra trục đối xứng, tại điểm đo giá trị v bắt đầu tăng lên (điểm thứ nhất của đường cong chạy qua trục đối xứng từ dưới lên trên) đồng thời lấy f và P từ kết quả kiểm nghiệm sai số lệch tâm của bộ phận ngắm.

– Vẽ hình tam giác ALĐ trong đó AĐ = f

ĐL = f1 góc AĐL = P – P1

– Từ hình tam giác ALĐ đo f2 = AL và tính trị số F = f1+ f2; 2F là trị số thay đổi lớn nhất của v khi bàn độ ở vị trí bất lợi nhất (trong trường hợp điều chỉnh bộ phận ngắm). 2F  60”. Nếu vượt quá phải thay máy khác.

Ví dụ: Vẽ đồ thị lệch tâm bàn độ nằm máy WILĐ T3 số 87461

Vẽ đồ thị lệch tâm bàn độ nằm máy WILĐ T3 số 87461

E.5 Kiểm nghiệm độ chính xác hoạt động của bộ đo cực nhỏ hiển vi

Xác định độ sai hở của bộ đo cực nhỏ hiển vi tiến hành trên 3 vị trị : 0o, 120o, 240o. Thứ tự tiến hành ở mỗi vị trí bàn độ như sau:

– Đặt một cặp chỉ của bộ phận đo cực nhỏ hiển vi (trong quá trình kiểm nghiệm chỉ dùng một cặp chỉ đó thôi) lên điểm “0” của bộ phận đo cực nhỏ (vành đo cực nhỏ chỉ dùng vạch 0). Điều chỉnh bộ phận ngắm để cho cặp chỉ kẹp đúng vạch khắc 0 của bàn độ. Sau đó vặn ốc đo cực nhỏ để cho cặp chỉ lần lượt kẹp đúng lên 3 vạch chỉ khắc kề nhau trên bàn độ: a khắc chia bên trái, b là khắc chia giữa nằm vào điểm 0 của bộ đo cực nhỏ, c là khắc chia bên phải. Sau mỗi lần cặp chỉ kẹp lên các vạch chia khắc phải đọc số trên vành đo cực nhỏ.

Theo thứ tự ngược lại tiến hành đo lượt về để kết thúc lần đo thứ nhất. Khi đo đi vặn ốc đo cực nhỏ theo chiều kim đồng hồ, khi đo về vặn ốc đo cực nhỏ theo ngược kim đồng hồ.

Mỗi vị trí bàn độ phải đo 6 lần, sau mỗi lần đo phải thay đổi vị trí ốc đo cực nhỏ đi 1/6 vòng đo của nó.

Trong từng lần đo, hiệu số trung bình 3 số đọc lượt đo đi (vặn vào) và đo về (vặn ra) là sai số hở của bộ đo cực nhỏ. Số trung bình của các hiệu đó không vượt quá 1/100 vòng đo cực nhỏ. Trị giá riêng biệt của từng hiệu đó cũng chỉ được biến đổi  1/100 vòng đo cực nhỏ.

Ta tính được : r1 = b – a – đo đi

r2 = c – b – đo đi 

và r1r2 khi đo về. Trị trung bình đại số giữa đo đi, về của g1g2 là trị số “Ren” sơ lược của bộ phận đo cực nhỏ hiển vi. Sau khi đo sai số hở xong, dựa vào vị trí số “Ren” đó để đặt bộ phận đo cực nhỏ hiển vi lần cuối cùng.

E.6 Xác định “Ren” của bộ đo cực nhỏ hiển vi

Nếu bộ phận cực nhỏ có 2 cặp chỉ, tính theo công thức:

g = r – δ

Trong đó: r = b – a : q – số đọc khi kẹp chỉ bên trái kẹp đúng vạch chia khắc bên trái bàn độ, b là số đọc kẹp chỉ bên phải kẹp đúng cạnh đó, δ là số chênh khoảng cách thực giữa hai cặp chỉ với khoảng cách chuẩn của nó (đối với WildT3 là 2’).Khi chỉ có một cặp chỉ thì: g = r.

Đối với các máy đo tam giác hạng 4, cấp 1, 2 thường bộ phận cực nhỏ chỉ có 1 cặp chỉ, nên ta chỉ xét cách xác định r.

Để xác định r phải đo đi, đo về. Lượt đo đi quay bộ phận ngắm theo chiều kim đồng hồ, lượt về đo theo chiều ngược kim đồng hồ.

Tại mỗi vị trí đặt bộ phận ngắm phải lần lượt tiến hành đọc số a, b, làm liên tiếp 3 lần tính hiệu số (b-a) và số trung bình của 3 trị số (b – a) tại từng vị trí. Số trung bình của tất cả các trị số (b – a) là trị số chính xác nhất của r (r11 = b1 – a1, r22 = c1- b1, r12 = b2 – a2, r22 = c2 – b2 …). Phải xác định “Ren” cho từng kính hiển vi.

Với các máy kinh vĩ như WildT2, Theo 010A, … “Ren” của bộ đo cực nhỏ là 1” không được vượt quá ± 1” v.v…

Nếu số Ren vượt qua hạn sai cho phép thì phải điều chỉnh vị trí kính hiển vi (sau khi điều chỉnh phải xác định lại Ren) hoặc dùng trị số Ren để chỉ chính trị đo góc.

Hiệu chỉnh vào trị đo góc như sau:

– Nếu số đọc phút qua hai kính hiển vi A, B giống nhau có thể tính số cải chính Ren vào trị trung bình của số đọc A, B:

E.7 Kiểm nghiệm và hiệu chỉnh 2C

Trị số 2C chính là sai số do trục nằm ngang không vuông góc với trục ngắm.

Kiểm nghiệm có thể thực hiện trong phòng hoặc ngoài trời. Đối với tam giác hạng 4, GT1, GT2, ĐC1, ĐC2 thường kiểm nghiệm và hiệu chỉnh ngoài trời.

Các bước tiến hành như sau:

– Cân bằng máy chính xác;

– Chọn 3 đến 5 điểm đo, có khoảng cách gần như nhau, nhưng theo chiều cao khác nhau. Tiến hành đọc trị góc (hướng) theo từng điểm đọc tại hai vị trí của bàn độ (thuận, đảo). Tính trị 2C theo công thức sau:

2C = (Đ – T ) – 180o

Với máy có độ chính xác du xích (bộ cực nhỏ) 1”, sai số 2C  6”, với máy có độ chính xác du xích là 3”, sai số 2C  12”…

Nếu vượt quá hạn sai trên phải tiến hành hiệu chỉnh. Quá trình hiệu chỉnh như sau:

– Tính trị C =

D – T – 1800

2

– Tính trị số khi đo đảo (bàn độ bên phải).

Đo = Đ ± C Nếu C > 0 thì trừ ( – )

Nếu C < 0 thì cộng ( + )

Sau đó đặt trị số trên bàn độ và du xích bằng Đo, khi đó vạch chữ thập chuyển khỏi vật đo. Sử dụng hai ốc trái, phải di chuyển cho giao chữ thập trùng với vật đo. Tiến hành 2 – 3 lần như vậy. Sau đó kiểm tra qua 2 vật thấp nhất, cao nhất. Nếu đạt hạn sai coi như là được.

E.8 Kiểm nghiệm và hiệu chỉnh Mo

Sai số vạch chỉ tiêu hoặc trục chỉ tiêu (0o – 360o) không song song với trục nằm ngang của bọt thủy trên bàn độ đứng hoặc sai số không vuông góc giữa vạch chỉ tiêu và trục đứng của bộ phận tự động gọi là Mo.

– Kiểm nghiệm Mo như sau:

Cân bằng máy, ngắm 3 mục tiêu có chiều cao khác nhau (độ chênh cao càng cao càng tốt). Tại vị trị bàn độ trái (đo thuận) đọc trị số Z1, quay đảo ống kính, ngắm lại các vật đó, sau khi cân bằng bọt thủy, đọc trị Z2, tính trị M0:

Mo =

(Z1 + Z2) – 3600

2

Quy định Mo  3 t, trong đó: t – độ chính xác du xích với (máy T2, có t = 1”thì Mo  3”; với máy Set 3B có t = 3” thì Mo  9”…).

Nếu Mo vượt hạn sai, phải tiến hành hiệu chỉnh.

– Hiệu chỉnh như sau:

Quay ống kính ngắm vào vật vừa kiểm nghiệm. Đặt trị số: Z2o – Z2 ± Mo trên bàn độ, du xích. Khi đó chữ thập lưới chỉ lệch khỏi vật. Hiệu chỉnh qua ốc trên, dưới sao cho trùng khít. Thực nghiệm 2, 3 lần như hiệu chỉnh 2C.

 

PHỤ LỤC G

(tham khảo)

MÁY THU VÀ HỆ THỐNG XỬ LÝ GPS

G.1 Máy thu

Hiện nay, nước ta đã nhập khá nhiều máy thu GPS của các nước như: Mỹ, Pháp, Nhật v.v…

Nhìn chung các loại máy đều có cấu tạo giống nhau về cơ bản. Phần riêng biệt thuộc về chi tiết của từng loại theo nhu cầu sử dụng. Dưới đây giới thiệu các bộ phận chung của máy thu GPS .

Cấu tạo của máy thu

Bộ máy thu có 3 bộ phận cơ bản: Ăng ten, nguồn điện, máy thu.

a) Ăng ten bộ thu dải cực hẹp, có hộp nhựa chống ẩm ướt bảo vệ, được đặt trên đĩa cơ chính xác làm bằng kim loại. Phía dưới có bộ tiểu khuyếch đại đảm bảo cho tín hiệu đủ mạnh để truyền với máy thu qua cáp nối dài đến 30 m, trên đĩa có 8 lỗ hình chân chó dùng để luồn thước chuyên dụng và đo độ cao ăng ten khi nó được định tâm trên giá ba chân tại điểm đo.

b) Nguồn điện là một cặp acquy. Mỗi chiếc đảm bảo điện thế từ 10 V đến 30 V. Chiếc thứ hai được lắp tiếp khi điện thế của chiếc kia bị tụt xuống dưới 10 V để đảm bảo cho máy thu làm việc liên tục trong thời gian đo. Cũng có thể lắp cả hai vào máy thu cùng một lần.

c) Máy thu có màn hình thủy tinh thể ở mặt trước với 8 hàng hiển thị. Mỗi hàng 40 ký tự để thông báo tin tức hướng dẫn sử dụng máy theo cách đối thoại Người – Máy. Phía dưới màn hình có hai núm chỉ chiều chuyển động phải, trái và một núm có chữ “C” dùng để xóa dữ kiện đang nhập. Bên dưới màn hình có hai núm chỉ chiều chuyển động lên xuống và một núm có chữ “E” dùng để nhập dữ liệu và chuyển về màn hình hiển thị chính (tương tự như núm ENTER của máy vi tính). Mặt sau của máy thu có hai cổng nối nguồn điện vào, có núm tắt, bật máy có cổng nhập tín hiệu phát từ máy chụp ảnh (khi dùng phối hợp máy thu GPS và máy chụp ảnh hàng không để xác định toạ độ không gian tâm chiếu ảnh).

Cổng nối ăng ten và hai cổng loại RS-2322 để truyền dữ liệu thu được từ máy thu sang máy tính, cũng như dùng để trao đổi các tín hiệu truyền thông khác với máy thu.

Màn hình của máy thu có 13 màn hiển thị chính, trong đó có 6 màn hiển thị dùng để điều khiển, còn 7 màn hình dùng để thông báo tin tức. Sau đây giới thiệu chức năng của các màn hình hiển thị chính:

– Màn hiển thị số 0:

Thông tin về tình hình thu, bắt vệ tinh trên bầu trời. Nó cho biết vệ tinh đã bắt được và các kênh thu tương ứng, chất lượng của các tín hiệu thu được.

– Màn hiển thị số 1:

Thông tin về quỹ đạo vệ tinh, cho biết phương vị và độ cao của vệ tinh so với mặt phẳng chân trời của điểm quan sát. Tình trạng hoạt động của vệ tinh, tỷ số giữa cường độ tín hiệu và độ nhiễu, độ chính xác của khoảng cách đo được giữa vệ tinh và máy thu.

– Màn hiển thị số 2:

Cho biết độ vĩ, độ kinh của điểm quan sát đến độ, phút tới 4 số lẻ, độ cao đến mét, tốc độ chuyển động so với mặt đất. Thời gian và khoảng cách tới điểm cần đến, độ lệch so với hướng nối điểm xuất phát và điểm cần đến.

– Màn hiển thị số 3:

Thông tin về tình hình thu dữ liệu. Nó cho biết số vệ tinh đang được quan sát, khoảng thời gian mà tín hiệu vệ tinh đã thu hay bị gián đoạn.

– Màn hiển thị số 4:

Điều hành chế độ hoạt động của máy thu: đo phạm vi phát sóng, đặt chương trình đo, sử dụng tần số ngoại vi.

– Màn hiển thị số 5:

Điều hành chế độ đo vi phân thời gian thực.

– Màn hiển thị số 6:

Điều hành đi theo các điểm cho trước. Có thể lưu nạp vào bộ nhớ của máy thu 99 điểm cho trước trên tuyến đi.

– Màn hiển thị số 7:

Chọn vệ tinh: Nó cho phép chọn các vệ tinh mà ta muốn sử dụng. Theo chế độ tự động thì máy thu tự chọn và thông báo vệ tinh nào đã được chọn để thu bắt. Nếu đã chọn nhưng không thu bắt được thì máy thu sẽ chọn vệ tinh khác thay thế. Nếu theo chế độ ấn nút thì người đo ấn nút chủ động đánh dấu các vệ tinh cần thu bắt sử dụng.

– Màn hiển thị số 8:

Điều hành hệ thống, nó tiếp nhận một số lệnh điều hành hệ thống, đồng thời hiển thị danh mục các tệp dữ kiện, nên trong bộ nhớ của máy có các lệnh xử lý tệp như sau: lập tệp, mở tệp, xóa tệp.

– Màn hiển thị số 9:

Điều hành thông tin về điểm đặt máy và đợt đo (Session).

– Màn hiển thị số 10:

Thông tin toàn cảnh về vệ tinh trên bầu trời. Nó cho biết toàn cảnh phân bố hiện thời của các vệ tinh trên bầu trời của điểm đặt máy cũng như vết quỹ đạo của chúng trên sơ đồ hình chiếu cực. Sơ đồ gồm 3 vòng tròn đồng tâm, đặc trưng cho 3 vòng tròn đồng cao 0o, 30o, 60o và hai đường vuông góc với nhau đặc trưng cho các hướng Đông, Tây,Nam, Bắc. Tâm vòng tròn ứng với vị trí thiên đỉnh của điểm quan sát. Vị trí của vệ tinh được thể hiện bằng ký hiệu, khi nó mất tín hiệu trên bầu trời của điểm quan sát và bằng ký hiệu H khi nó được thu bắt.

– Màn hiển thị số 11.

Thông tin về thời gian “nhìn thấy” vệ tinh. Nó cho biết những vệ tinh sẽ xuất hiện trên bầu trời của điểm quan sát và khoảng thời gian nhìn thấy chúng tính theo trục thời gian từ 0 h đến 24h. Nếu vị trí của điểm quan sát đã được nhập từ trước của bộ nhớ vào máy thu (theo màn hiển thị số 4) thì màn hình số 11 sẽ cho ngay các thông tin này, còn nếu không thì phải chờ khoảng 12 phút để máy thu kịp tích lũy dữ kiện đo mà tính ra vị trí của điểm quan sát và trên cơ sở đó sẽ cho ra thông tin cần thiết của màn hiển thị.

– Màn hiển thị số 12:

Điều hành Bar code

G.2 Hệ thống xử lý GPS

 

PHỤ LỤC H

(quy định)

MÁY TOÀN ĐẠC ĐIỆN TỬ

H.1 Một số máy toàn đạc điện tử độ chính xác cao

Hiện nay ở nước ta và trong ngành thủy lợi đã nhập khá nhiều máy toàn đạc điện tử có độ chính xác cao đến siêu chính xác (về góc mβ  3”, về cạnh ms/s  1/100.000) như: TC 720, DTM 700, DTM 520, DTM 420, SET 3B… của Thụy Sỹ, Nhật.

Nhìn chung các máy toàn đạc đều có một số bộ phận chính sau:

– Máy kinh vĩ định vị:

Giống như các máy kinh vĩ khác, nhưng quá trình đo góc bằng, đứng, khoảng cách được nối kết quang học với các mạch IC để chuyển qua bộ máy tính tự động bởi nguồn hồng ngoại.

– Máy phát nguồn hồng ngoại do nguồn điện của acquy có điện thế từ 6 V đến 12V. Acquy dạng khô và có bộ nạp chuyên dùng. Bộ phát quang hồng ngoại theo nguyên lý lệch pha đến mặt gương và được phản hồi. Bộ phận nhận phản hồi qua IC tính, hiển thị lên màn hình của bộ phận tính các trị số góc ngang (HAR), góc thiên đỉnh (ZA), khoảng cách hiện (D, S), trị chênh cao (∆h).

– Bộ phận máy tính nhận và tính trị số góc ngang, đứng, khoảng cách nghiêng, bằng, chênh cao, tọa độ E(y), N(x).

Kết quả là qua máy toàn đạc điện tử xác định được các trị góc ngang, đứng với độ chính xác đến 1” – 3”, khoảng cách đến mm, cao tọa độ xác định đến mm. Trị số khoảng cách chênh nhau giữa 3 lần đo đi, đo về đạt:

Sau đó lấy trị trung bình.

Các trị cao độ Ht, toạ độ X(N), Y(E) được ghi trên đĩa dạng SDC hoặc fildbook, trút qua máy tính đo vẽ trực tiếp ra bản đồ địa hình, mặt cắt, tính khối lượng… Theo các phần mềm: SDR của Nhật, SURFER của Mỹ hoặc Autocad land development…

Cao độ xác định qua các máy toàn đạc điện tử sau khi bình sai có thể đạt thủy chuẩn hạng 4, phục vụ đo vẽ bình đồ tỷ lệ lớn từ 1:5000 đến 1:200.

H.2 Kiểm nghiệm, hiệu chỉnh máy

Mỗi máy toàn đạc điện tử đều có một số cấu tạo riêng biệt. Việc hiệu chỉnh và kiểm nghiệm cho từng loại máy đều phải tuân theo catolog kỹ thuật kèm theo. Dưới đây quy định những bước chung cho các loại máy toàn đạc điện tử hiệu chỉnh các yếu tố góc, độ dài qua bãi tuyến gốc quốc gia.

Nước ta hiện nay có 4 bãi tuyến gốc: gần cầu Thăng Long Hà Nội, Xuân Mai Hòa Bình, Đà Lạt và Phú Thọ thành phố Hồ Chí Minh.

a) Kiểm nghiệm trị đo góc qua lưới tuyến gốc, qua những phương pháp đo toàn vòng với 9 vòng đo. Kết quả sai số trung phương trị đo tính theo công thức:

trong đó

v là số hiệu chỉnh giữa trị góc đo và trị góc gốc tính từ tọa độ lưới;

n là số lần đo.

b) Kiểm nghiệm hệ thống gương (gương sào, gương đơn, gương kép, gương 3, gương chùm).

– Kiểm nghiệm hệ thống gương qua bài kiểm nghiệm quốc gia (sai số đo góc đến 0,1”, sai số đo cạnh đến ms/s 1/1.000.000). Với các điểm chuẩn: gương sào với khoảng cách D  1000 m, gương đôi (ba) với D  2000 m, gương chùm với D  3000 m.

– Quá trình tiến hành như sau:

 Dọi tâm gương và cân bằng qua giá, bọt thủy;

 Cân bằng và dọi tâm máy qua 3 ốc chân;

 Bật núm “Starts” khởi động máy khi đã định hướng đến gương qua bộ phận ngắm kinh vĩ. Khi qua máy kêu “tít, tít” đều cùng với đèn đỏ tín hiệu, chứng tỏ máy hoạt động tốt.

– Lần lượt đo góc ngang, đứng, chênh cao h, khoảng cách nghiêng (D), ngang (S) ba lần với sai số trong hạn sai:

δβ  1” ÷ 3” (tùy loại máy)

∆h  3 mm

∆D/D  1/100.000

– Đọc tọa độ E(y), N(x) của các điểm chuẩn trong lưới gốc. So sánh với trị gốc đảm bảo ∆x = ∆y  0,005 m.

– Tính diện tích kiểm tra theo công thức:

2S = Σxi (yi+1 – yi-1) = Σyi (xi-1 – xi+1)

– Tính thể tích kiểm tra theo công thức:

trong đó

B là vĩ độ;

a = 6378248m là bán trục lớn.

e = 0,006893421623

Hm = (HA + HB)/2 là A,B là hai đầu cạnh đo.

– Hiệu chỉnh độ dài khi chuyển về kinh tuyến giữa của lưới chiếu GAUSS.

δS3 = D x (Ym2/2R2)

trong đó

Ym là tung độ tính bằng km từ khu đo so với kinh tuyến giữa.

R là bán kính trái đất.

– Độ dài cuối cùng của chiều dài cạnh bằng:

S0 = Dđo + δS1 + δS2 + δS3

 

PHỤ LỤC I

(tham khảo)

MẪU SỔ ĐO BẰNG, ĐỨNG MẠNG LƯỚI KHỐNG CHẾ TAM GIÁC

PHỤ LỤC K

(Tham khảo)

MẪU SỔ ĐO GÓC VÀ KHOẢNG CÁCH ĐƯỜNG CHUYỂN MÁY TOÀN ĐỌC ĐIỆN TỬ

 

PHỤ LỤC L

(tham khảo)

GIỚI THIỆU KẾT QUẢ BÌNH SAI BẰNG PHƯƠNG PHÁP TIẾP CÓ ĐIỀU KIỆN

Ví dụ: Thành quả tính toán bình sai lưới mặt bằng Đường chuyền cấp 1

Chỉ tiêu kỹ thuật lưới

1. Tổng số điểm: 51

2. Số điểm gốc: 3

3. Số điểm mới lập: 48

4. Số lượng góc đo: 49

5. Số lượng cạnh đo: 50

6. Góc phương vị đo: 0

Bảng L.1 – Số liệu khởi tính

Số TT

Tên điểm

Tọa độ

X (m)

Y (m)

1

GPS 3

2261858.452

18627349.526

2

GPS 4

2261436.024

18627675.275

3

GPS 1

2262529.634

18625814.740

Kết quả đánh giá độ chính xác lưới

1. Sai số trong số đơn vị M = 4.32″

2. Điểm yếu nhất (x25) mp = .819 (m)

3. Chiều dài cạnh yếu: (MC82 – ph82h)ms/s = 1/11500

4. Phương vị cạnh yếu: (DC – GPS1) ma = 13.71″

Ngày…….. tháng…….. năm ………..

1. Người thực hiện đo đạc:

2. Người thực hiện tính toán:

** Tính theo chương trình PICKNET Ver 2.00 **

Bắt đầu tính: 01:59:33

Kết thúc tính: 01:59:35

Hình L.1 – Sơ đồ tuyến đường chuyền cấp 1

 

PHỤ LỤC M

(quy định)

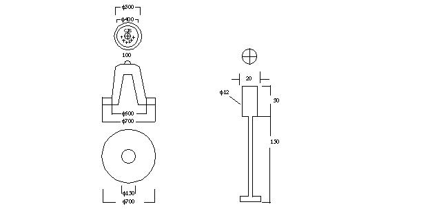
MẪU THỐNG KÊ VÀ SƠ HOẠ ĐIỂM KHỐNG CHẾ HẠNG 4, GIẢI TÍCH 1,2

Cơ quan thực hiện

Thống kê sơ hoạ điểm giải tích 1, 2

Công trình

Thời gian thực hiện

Máy đo

Người đo Ngày…..

Số hiệu công trình

Bắt đầu

Kết thúc

Htrạm

Người kiểm tra Ngày….

 

 

PHỤ LỤC N

(tham khảo)

KẾT QUẢ BÌNH SAI LƯỚI GPS THEO PHẦN MỀM GPS SURVEY 2.35

 

 

 

 

 

 

Leave a Reply

Your email address will not be published. Required fields are marked *