Nội dung toàn văn Tiêu chuẩn quốc gia TCVN 8259-2:2009 về Tấm xi măng sợi – Phương pháp thử – Phần 2: Xác định cường độ chịu uốn
TIÊU CHUẨN QUỐC GIA
TCVN 8259-2 : 2009
TẤM XI MĂNG SỢI – PHƯƠNG PHÁP THỬ – PHẦN 2: XÁC ĐỊNH CƯỜNG ĐỘ CHỊU UỐN
Fiber-cement flat sheets – Test methods – Part 2: Determination of bending strength
1. Phạm vi áp dụng
Tiêu chuẩn này quy định phương pháp xác định cường độ chịu uốn của tấm xi măng sợi.
2. Tài liệu viện dẫn
Các tài liệu viện dẫn sau là rất cần thiết cho việc áp dụng tiêu chuẩn này. Đối với các tài liệu viện dẫn ghi năm công bố thì áp dụng bản được nêu. Đối với các tài liệu viện dẫn không ghi năm công bố thì áp dụng phiên bản mới nhất, bao gồm các bản sửa đổi, bổ sung (nếu có).
3. Nguyên tắc
Cường độ chịu uốn được đo bằng cách xác định tải trọng tại đó tấm mẫu thử bị phá hủy.
4. Thiết bị và dụng cụ
– Thước cặp có độ chính xác đến 0,05 mm.
– Thước đo chiều dài phù hợp có độ chính xác đến 0,5.
– Máy thử cường độ chịu uốn.
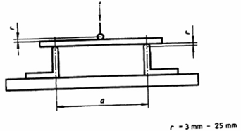
– Phụ kiện gồm có (Hình 1):
+ Hai gối đỡ đặt song song với nhau, có thể dịch chuyển để thay đổi khoảng cách giữa hai gối đỡ (ký hiệu là a), khoảng cách này phụ thuộc vào kích thước của mẫu thử (Bảng 1). Phần tiếp xúc của gối đỡ với mẫu thử có dạng tròn với bán kính nằm trong khoảng từ 3 mm tới 25 mm.
+ Đầu gia tải hình trụ, có chiều dài tối thiểu bằng chiều rộng mẫu thử. Phần tiếp xúc của đầu gia tải với mẫu thử có bán kính bằng bán kính của gối đỡ. Đầu gia tải đặt song song và cách đều với hai gối đỡ.
|
|
CHÚ DẪN: 1) Tấm mẫu thử 2) Đầu gia tải 3) Gối đỡ 4) Tải trọng |
|
|
|
Hình 1 – Sơ đồ lắp mẫu xác định cường độ chịu uốn
Bảng 1 – Khoảng cách giữa hai gối đỡ
Đơn vị tính bằng milimét
|
Hình dạng mẫu thử |
Khoảng cách giữa hai gối đỡ, a |
|
Hình vuông |
215 |
|
Hình chữ nhật |
³ 18d |
|
CHÚ THÍCH: d là chiều dày của mẫu thử. |
|
5. Lấy mẫu và chuẩn bị mẫu thử
5.1. Lấy mẫu
Lấy mẫu theo Điều 4 trong TCVN 8259-1 : 2009.
5.2. Chuẩn bị mẫu thử
Mẫu thử được cắt cách các mép cạnh của tấm ít nhất 200 mm (Hình 2).
Số lượng và hình dạng mẫu thử cường độ chịu uốn được quy định như sau:
– Với tấm có chiều dày £ 9 mm: hai mẫu thử hình vuông cho mỗi tấm.
– Với tấm có chiều dày d > 20 mm: bốn mẫu thử hình chữ nhật có mỗi tấm (2 mẫu cắt dọc tấm, 2 mẫu cắt ngang tấm).
– Với tấm có chiều dày 9 mm < d=””>£ 200 mm: mẫu thử có thể ở dạng hình vuông (hai mẫu) hoặc hình chữ nhật (bốn mẫu).
Kích thước mẫu thử được quy định trong Bảng 2.
Bảng 2 – Kích thước mẫu thử
Đơn vị tính bằng milimét
|
Hình dạng mẫu |
Kích cỡ mẫu thử |
|
|
Chiều dài |
Chiều rộng |
|
|
Hình vuông |
250 |
250 |
|
Hình chữ nhật |
Khoảng cách giữa hai gối đỡ + 40 |
³ 100 |
|
CHÚ THÍCH: Khoảng cách giữa hai gối đỡ không nhỏ hơn 18d, với d là chiều dày tấm mẫu thử. |
||
Kích thước tính bằng milimét
|
|
|
|
Mẫu thử hình |
Mẫu thử hình chữ |
Hình 2 – Số lượng, hình dạng và vị trí cắt mẫu
5.3. Ổn định mẫu thử
5.3.1. Điều kiện phòng
Các mẫu thử để ổn định trong phòng ở nhiệt độ (27 ± 2) oC và độ ẩm tương đối (65 ± 5) % ít nhất 3 ngày với mẫu có chiều dày £ 20 mm và ít nhất 7 ngày với mẫu có chiều dày > 20 mm.
5.3.2. Điều kiện ướt
Các mẫu thử nhúng ngập trong nước ở nhiệt độ phòng (tối thiểu là 5 oC) trong vòng 24 h. Với mẫu thử có chiều dày lớn hơn 20 mm, thời gian ngâm mẫu là 48 h.
Tấm xi măng sợi loại sử dụng trong nhà được kiểm tra cường độ chịu uốn ở điều kiện phòng.
Tấm xi măng sợi loại sử dụng ngoài trời được kiểm tra cường độ chịu uốn ở điều kiện ướt.
6. Cách tiến hành
Điều chỉnh khoảng cách giữa hai gối đỡ sao cho phù hợp với quy định trong Bảng 2.
Đặt mẫu thử sao cho mặt dưới của mẫu tiếp xúc với các gối đỡ, đầu gia tải đặt dọc theo đường tâm của mẫu thử và song song với hai gối đỡ.
Đặt chế độ gia tải sao cho mẫu thử bị phá hủy trong vòng từ 10 s đến 30 s.
Ghi giá trị tải trọng tại đó mẫu bị phá hủy.
Với mẫu hình vuông, sau khi bị phá hủy, ráp nối hai nửa lại và đặt mẫu lên gối đỡ theo phương vuông góc với đường bẻ gãy. Tiến hành thử tương tự như trên cho đến khi mẫu bị phá hủy.
Xác định chiều rộng, chiều dày của mẫu thử (chiều dày được xác định dọc theo đường bẻ gãy ở hai điểm với mẫu nhẵn và ở bốn điểm với mẫu nhám).
7. Biểu thị kết quả
Cường độ chịu uốn (Ru) của mỗi mẫu thử, tính theo MPa, được xác định theo công thức sau:
![]()
Trong đó:
P là tải trọng tại đó tấm mẫu thử bị phá hủy, tính bằng Niutơn (N);
a là khoảng cách giữa các gối đỡ, tính bằng milimét (mm);
b là chiều rộng mẫu thử, tính bằng milimét (mm);
d là chiều dày trung bình của mẫu thử, tính bằng milimét (mm).
Cường độ chịu uốn của tấm xi măng sợi là giá trị trung bình cộng của các lần thử, tính bằng MPa, lấy chính xác sau một dấu phẩy.
8. Báo cáo thử nghiệm
Theo Điều 6 của TCVN 8259-1 : 2009.






