Tiêu chuẩn quốc gia TCVN 9030:2011 về Bê tông nhẹ- Gạch bê tông bọt, khí không chưng áp – Phương pháp thử đã được thay thế bởi Tiêu chuẩn quốc gia TCVN 9030:2017 về Bê tông nhẹ – Phương pháp thử .
Nội dung toàn văn Tiêu chuẩn quốc gia TCVN 9030:2011 về Bê tông nhẹ- Gạch bê tông bọt, khí không chưng áp – Phương pháp thử
TIÊU CHUẨN QUỐC GIA
TCVN 9030:2011
BÊ TÔNG NHẸ – GẠCH BÊ TÔNG BỌT, KHÍ KHÔNG CHƯNG ÁP – PHƯƠNG PHÁP THỬ
Lightweight concrete – Non-autoclaved aerated, foam concrete bricks – Test methods
Lời nói đầu
TCVN 9030:2011 chuyển đổi từ TCXDVN 317:2004 theo quy định tại khoản 1 Điều 69 của Luật Tiêu chuẩn và Quy chuẩn kỹ thuật và điểm a khoản 1 Điều 7 Nghị định số 127/2007/NĐ-CP ngày 01/08/2007 của Chính phủ quy định chi tiết thi hành một số điều của Luật Tiêu chuẩn và Quy chuẩn kỹ thuật.
TCVN 9030:2011 do Viện Vật liệu xây dựng – Bộ Xây dựng biên soạn, Bộ Xây dựng đề nghị, Tổng cục Tiêu chuẩn Đo lượng Chất lượng thẩm định, Bộ Khoa học và Công nghệ công bố.
BÊ TÔNG NHẸ – GẠCH BÊ TÔNG BỌT, KHÍ KHÔNG CHƯNG ÁP – PHƯƠNG PHÁP THỬ
Lightweight concrete – Non-autoclaved aerated, foam concrete bricks – Test methods
1. Phạm vi áp dụng
Tiêu chuẩn này áp dụng cho gạch xây từ bê tông bọt, khí đóng rắn trong điều kiện không chưng áp, dùng cho các công trình xây dựng.
Tiêu chuẩn này không áp dụng cho các loại bê tông nhẹ khác.
2. Tài liệu viện dẫn
Các tài liệu viện dẫn sau là cần thiết khi áp dụng tiêu chuẩn này. Đối với các tài liệu viện dẫn ghi năm công bố thì áp dụng bản được nêu. Đối với các tài liệu viện dẫn không ghi năm công bố thì áp dụng phiên bản mới nhất, bao gồm các bản sửa đổi, bổ sung (nếu có).
TCVN 3113:1993, Bê tông nặng – Phương pháp xác định độ hút nước;
TCVN 3118:1993, Bê tông nặng – Phương pháp xác định cường độ nén;
TCVN 6415-2: 2005 (ISO 10545-2:1995), Gạch gốm ốp lát – Phương pháp thử – Phần 2: Xác định kích thước và chất lượng bề mặt;
TCVN 7572-7:2006, Cốt liệu cho bê tông và vữa – Phương pháp thử – Phần 7 : Xác định độ ẩm;
TCVN 7744:2007, Gạch terrazzo;
TCVN 7959:2011, Bê tông nhẹ – Gạch bê tông khí chưng áp (AAC).
3. Lấy mẫu
3.1. Mẫu đại diện lô gạch bê tông bọt, khí không chưng áp được lấy ít nhất 15 viên ngẫu nhiên trong lô sản phẩm. Lô là khối sản phẩm có cùng kích thước, nhóm khối lượng thể tích khô, cấp cường độ nén được sản xuất trong cùng một khoảng thời gian. Cỡ lô thông thường không lớn hơn 200 m3.
3.2. Số lượng viên mẫu kiểm tra kích thước theo thỏa thuận. Nếu không có quy định riêng, tiến hành kiểm tra kích thước của toàn bộ viên mẫu gạch bê tông bọt, khi không chưng áp (được lấy theo 3.1) trước khi tiến hành thử khối lượng thể tích và cường độ nén. Số lượng mẫu kiểm tra khối lượng thể tích và cường độ nén không ít hơn 5 viên hình lập phương cho mỗi chỉ tiêu.
4. Phương pháp thử
4.1. Kiểm tra khuyết tật ngoại quan
Số vết sứt vỡ, vết rạn nứt, vết lồi lõm được đếm và quan sát bằng mắt thường. Đo kích thước các vết khuyết tật như sứt vỡ, vết rạn nứt, vết lồi lõm… bằng thước kẹp kim loại, chính xác đến 0,1 mm.
Đếm số vết sứt cạnh, sứt góc có chiều sâu từ 10 mm đến 15 mm và chiều dài từ 20 mm đến 30 mm trên viên gạch.
4.2. Xác định kính thước
Theo TCVN 7959:2011.
4.3. Xác định độ vuông góc
Theo TCVN 6415-2:2005.
4.4. Xác định độ thẳng cạnh
Theo TCVN 7744:2007.
4.5. Xác định độ phẳng mặt
Theo TCVN 7744:2007.
4.6. Xác định khối lượng thể tích khô
Theo TCVN 7959:2011.
4.7. Xác định cường độ nén
4.7.1. Nguyên tắc
Xác định lực nén làm phá hủy một đơn vị diện tích chịu lực của mẫu.
4.7.2. Thiết bị, dụng cụ
– Thiết bị thử cường độ nén, theo TCVN 3118:1993;
– Tủ sấy, có bộ phận điều chỉnh và ổn định nhiệt ở nhiệt độ (105 ± 5) °C;
– Thước lá kim loại hoặc thước kẹp, có độ chính xác đến 0,1 mm;
– Máy gia công mẫu;
– Bay, chảo trộn hồ xi măng;
4.7.3. Vật liệu, mẫu thử
– Thạch cao khan (CaSO4) hoặc xi măng đóng rắn nhanh;
4.7.4. Chuẩn bị mẫu thử
Mẫu thử là 5 viên hình lập phương có kích thước mỗi cạnh: (100 ± 4) mm, được cắt từ 5 viên gạch (lấy theo Điều 3). Trộn hồ xi măng có độ dẻo tiêu chuẩn, trát lên 2 mặt chịu nén của viên mẫu, dùng miếng kính là phẳng sao cho không còn vết lõm và bọt khí. Chiều dày lớp trát không lớn hơn 3 mm, hai mặt trát phải phẳng và song song với nhau. Sau khi trát, mẫu được đặt trong phòng thí nghiệm không ít hơn 72 h rồi tiến hành thử.
Khi cần thử nhanh, có thể dùng xi măng đóng rắn nhanh hoặc thạch cao khan để trát mặt mẫu. Sau đó mẫu được đặt trong phòng thí nghiệm không ít hơn 16 h rồi tiến hành thử.
4.7.5. Cách tiến hành
Đo kích thước hai mặt chịu nén của mẫu thử, chính xác tới 1 mm. Đặt từng mẫu lên thiết bị thử sao cho tâm mẫu thử trùng với tâm của thớt nén. Tốc độ tăng tải bằng (0,06 ± 0,02) MPa trong 1 giây đến khi mẫu bị phá hủy, ghi tải trọng phá hủy lớn nhất.
Sau khi mẫu bị phá hủy, chọn 3 mảnh vỡ có thể tích từ 40 cm3 đến 80 cm3 để xác định độ ẩm theo TCVN 7572-7:2006.
4.7.6. Biểu thị kết quả
Cường độ nén (R) được tính theo công thức sau:
R = a x
trong đó:
R là cường độ nén của viên mẫu, tính bằng mêga pascan (MPa);
F là tải trọng lớn nhất ghi được khi mẫu bị phá hủy, tính bằng niutơn (N);
A là diện tích bề mặt chịu nén của mẫu, tính bằng milimét vuông (mm2);
a là hệ số tính đổi kết quả thử cường độ nén của các viên mẫu bê tông có độ ẩm khác độ ẩm chuẩn (10%).
Giá trị a được quy định trong Bảng 1.
Bảng 1. Hệ số tính đổi (a) cường độ nén theo độ ẩm của viên mẫu
|
Giá trị độ ẩm, % |
0 |
5 |
10 |
15 |
20 |
≥25 |
|
Hệ số tính đổi a |
0,08 |
0,09 |
1,00 |
1,05 |
1,10 |
1,15 |
|
CHÚ THÍCH: Khi độ ẩm của mẫu thử khác với các giá trị độ ẩm được ghi trong Bảng 1, thì có thể dùng phương pháp nội suy để tính hệ số tính đổi (a). |
||||||
Kết quả là giá trị trung bình cộng của các giá trị cường độ nén đơn lẻ, chính xác tới 0,01 MPa.
4.8. Xác định độ co khô
Theo TCVN 7959:2011.
Độ co khô được xác định bằng cách đo sự thay đổi kích thước của thanh mẫu thử ở độ ẩm 20% và 6% theo phương pháp đồ thị.
4.9. Xác định độ hút nước
Theo TCVN 3113:1993.
4.10. Xác định hệ số dẫn nhiệt
4.10.1. Nguyên tắc
Xác định dòng nhiệt ổn định truyền qua một đơn vị chiều dày mẫu thử khi có sự chênh lệch nhiệt độ.
4.10.2. Thiết bị, dụng cụ
– Tủ sấy, có bộ phận điều chỉnh và ổn định nhiệt ở nhiệt độ (105 ± 5) °C;
– Cân kỹ thuật, có độ chính xác 0,1 g;
– Bình hút ẩm, có đường kính không nhỏ hơn 300 mm;
– Thước lá kim loại hoặc thước kẹp, có độ chính xác đến 0,1 mm;
– Máy gia công mẫu;
– Ổn áp;
– Biến áp tự ngẫu.
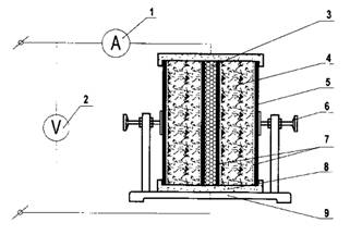
– Thiết bị xác định hệ số dẫn nhiệt, có cấu tạo như Hình 1;

CHÚ DẪN 2:
|
1. Ampe kế: 0 ¸ 30 A; 2. Vôn kế: 0 ¸ 30 V; 3. Dây điện trở; |
4. mẫu thử 150 x 150 x 20 mm; 5. Tấm truyền nhiệt bằng nhôm dày 2 mm; 6. Vít me ép mẫu; |
7. Cặp nhiệt điện; 8. Lớp bảo ôn dày 50 mm; 9. Giá đỡ. |
Hình 1 – Mô tả thiết bị xác định hệ số dẫn nhiệt
4.10.3. Chuẩn bị mẫu thử
Mẫu thử là 6 viên mẫu được gia công từ 6 gạch lấy ngẫu nhiên theo Điều 3, có kích thước như sau:
Chiều dài (l): (150 ± 1) mm;
Chiều rộng (b): (150 ± 1) mm;
Chiều cao (h): (20 ± 1) mm.
Bề mặt viên mẫu phải được làm phẳng và sạch.
4.10.4 Cách tiến hành
Xác định kích thước mẫu thử theo 4.2 và tính diện tích bề mặt viên mẫu theo công thức:
F = l x b x 10-4
trong đó:
l là chiều dài trung bình mẫu thử, tính bằng milimét (mm);
b là chiều rộng trung bình mẫu thử, tính bằng milimét (mm);
F là diện tích bề mặt mẫu, tính bằng mét vuông (m2).
Mẫu được sấy khô đến khối lượng không đổi và được làm nguội trong bình hút ẩm đến nhiệt độ phòng.
Đặt mẫu vào thiết bị xác định hệ số dẫn nhiệt (theo nguyên lý như Hình 1). Tấm truyền nhiệt được cấp nhiệt thông qua dây nung điện trở bằng cách điều chỉnh cường độ dòng điện nhờ biến áp tự ngẫu.
Theo dõi nhiệt độ tại bề mặt bên trong mẫu (t1) và bên ngoài (t2).
Khi chênh lệch nhiệt độ Dt = t1 – t2 đạt đến giá trị không đổi thì ghi kết quả hiệu điện thế (U), cường độ dòng điện (l), nhiệt độ tại bề mặt bên trong (t1), bên ngoài mẫu (t2) và ngừng đo.
4.10.5. Biểu thị kết quả
Công suất nguồn phát (Q) được tính theo công thức sau:
Q = U x I
trong đó:
Q là công suất nguồn phát, tính bằng wat (W);
U là hiệu điện thế của nguồn điện, tính bằng vôn (V);
I là cường độ dòng điện, tính bằng ampe (A).
– Mật độ dòng điện (q) được tính theo công thức sau:
q =
trong đó:
q là mật độ dòng điện truyền qua một đơn vị diện tích, tính bằng wat trên mét vuông (W/m2);
Q là công suất nguồn phát, tính bằng wat (W);
F là diện tích bề mặt mẫu theo công thức sau:
l =
trong đó:
l là hệ số dẫn nhiệt, tính bằng wat trên mét độ C (W/m°C);
q là mật độ dòng điện truyền qua một đơn vị diện tích, tính bằng wat trên mét vuông (W/m2);
d là chiều dài mẫu thí nghiệm, tính bằng mét (m);
Dt là chênh lệch nhiệt độ trung bình của 6 mẫu thử (3 lần thử) làm tròn tới 0,01 W/m°C.
5. Báo cáo thử nghiệm
Báo cáo thử nghiệm phải bao gồm các thông tin sau:
– đặc điểm nhận dạng của mẫu gạch bê tông bọt, khí không chưng áp thử nghiệm;
– các kích thước và nhận xét về mẫu thử sau khi gia công;
– giá trị đơn lẻ và kết quả thử nghiệm của gạch bê tông bọt, khí không chưng áp;
– các ghi nhận khác trong quá trình thử nghiệm;
– viện dẫn tiêu chuẩn này;
– ngày tháng năm và người tiến hành thử nghiệm.


