Nội dung toàn văn Tiêu chuẩn quốc gia TCVN 9944-2:2013 (ISO 22514-2:2013) về Phương pháp thống kê trong quản lý quá trình – Năng lực và hiệu năng – Phần 2: Năng lực và hiệu năng quá trình của mô hình quá trình phụ thuộc thời gian
TIÊU CHUẨN QUỐC GIA
TCVN 9944-2:2013
ISO 22514-2:2013
PHƯƠNG PHÁP THỐNG KÊ TRONG QUẢN LÝ QUÁ TRÌNH – NĂNG LỰC VÀ HIỆU NĂNG – PHẦN 2: NĂNG LỰC VÀ HIỆU NĂNG QUÁ TRÌNH CỦA MÔ HÌNH QUÁ TRÌNH PHỤ THUỘC THỜI GIAN
Statistical methods in process management – Capability and performance – Part 2: Process capability and performance of time-dependent process models
Lời nói đầu
TCVN 9944-2:2013 hoàn toàn tương đương với ISO 22514-2:2013;
TCVN 9944-2:2013 do Ban kỹ thuật tiêu chuẩn quốc gia TCVN/TC 69 Ứng dụng các phương pháp thống kê biên soạn, Tổng cục Tiêu chuẩn Đo lường Chất lượng đề nghị, Bộ Khoa học và Công nghệ công bố.
Bộ tiêu chuẩn TCVN 9944, chấp nhận bộ tiêu chuẩn ISO 22514, gồm các tiêu chuẩn dưới đây có tên chung “Phương pháp thống kê trong quản lý quá trình – Năng lực và hiệu năng”:
– TCVN 9944-1:2013 (ISO 22514-1:2009), Phần 1: Nguyên tắc chung và khái niệm;
– TCVN 9944-2:2013 (ISO 22514-2:2013), Phần 2: Năng lực và hiệu năng quá trình của các mô hình quá trình phụ thuộc thời gian;
– TCVN 9944-3:2013 (ISO 22514-3:2008), Phần 3: Nghiên cứu hiệu năng máy đối với dữ liệu đo được trên các bộ phận riêng biệt;
– TCVN 9944-4:2013 (ISO/TR 22514-4:2007), Phần 4: Ước lượng năng lực quá trình và đo hiệu năng;
– TCVN 9944-7:2013 (ISO 22514-7:2012), Phần 7: Năng lực của quá trình đo.
Bộ tiêu chuẩn ISO 22514 còn có các tiêu chuẩn dưới đây có tên chung “Statistical methods in process management – Capability and performance”:
– ISO 22514-5, Part 5: Process capability statistics for attribute characteristics;
– ISO 22514-6, Part 6: Process capability statistics for characteristics following a multivariate normal distribution.
Lời giới thiệu
Nhiều tiêu chuẩn về năng lực/hiệu năng chất lượng của các quá trình đã được xây dựng bởi các cơ quan tiêu chuẩn quốc tế, khu vực và quốc gia cũng như ngành công nghiệp. Các tiêu chuẩn này đều giả định là quá trình nằm trong trạng thái kiểm soát thống kê và các quá trình dừng, có phân bố chuẩn. Tuy nhiên, các phân tích toàn diện về quá trình sản xuất cho thấy rằng các quá trình rất hiếm khi duy trì ở trạng thái như vậy qua thời gian.
Thừa nhận thực tế đó, tiêu chuẩn này cung cấp khuôn khổ cho việc ước lượng năng lực/hiệu năng chất lượng của các quá trình công nghiệp cho một loạt các trường hợp tiêu chuẩn. Những tình huống này được phân loại dựa trên độ ổn định của trung bình và phương sai, như chúng không đổi, thay đổi một cách hệ thống hay thay đổi ngẫu nhiên. Theo cách đó, năng lực/hiệu năng chất lượng có thể được đánh giá cho các phân bố rất khác biệt theo thời gian.
Các tiêu chuẩn khác thuộc bộ tiêu chuẩn này cung cấp thông tin chi tiết hơn về việc tính toán các chỉ số. Cần lưu ý rằng, trong tiêu chuẩn này, khi chỉ số năng lực được tính toán chúng chỉ là các ước lượng điểm cho giá trị thực của chúng. Vì vậy, bất cứ khi nào có thể, nên tính toán và báo cáo khoảng tin cậy của các chỉ số đó.
PHƯƠNG PHÁP THỐNG KÊ TRONG QUẢN LÝ QUÁ TRÌNH – NĂNG LỰC VÀ HIỆU NĂNG – PHẦN 2: NĂNG LỰC VÀ HIỆU NĂNG QUÁ TRÌNH CỦA MÔ HÌNH QUÁ TRÌNH PHỤ THUỘC THỜI GIAN
Statistical methods in process management – Capability and performance – Part 2: Process capability and performance of time-dependent process models
1. Phạm vi áp dụng
Tiêu chuẩn này mô tả quy trình xác định các thống kê dùng để ước lượng năng lực hoặc hiệu năng chất lượng của các đặc trưng sản phẩm và quá trình. Kết quả quá trình của các đặc trưng chất lượng này được phân thành tám loại phân bố có thể có. Công thức tính các thước đo thống kê được đưa ra cho từng phân bố.
Các phương pháp thống kê mô tả trong tiêu chuẩn này chỉ liên quan đến các đặc trưng chất lượng liên tục. Chúng áp dụng cho các quá trình trong mọi ngành công nghiệp hay kinh tế.
CHÚ THÍCH: Phương pháp này thường được áp dụng trong trường hợp số lượng lớn loạt các kết quả quá trình nhưng cũng có thể sử dụng cho các loạt nhỏ (số lượng nhỏ các kết quả quá trình).
2. Tài liệu viện dẫn
Các tài liệu viện dẫn trong tiêu chuẩn này rất cần thiết cho việc áp dụng tiêu chuẩn. Đối với các tài liệu có ghi năm công bố thì áp dụng bản được nêu. Đối với các tài liệu không ghi năm công bố thì áp dụng phiên bản mới nhất, bao gồm cả các sửa đổi.
TCVN 8244-2 (ISO 3534-2), Thống kê học – Từ vựng và ký hiệu – Phần 2: Thống kê ứng dụng
TCVN 9603 (ISO 5479), Giải thích dữ liệu thống kê – Kiểm nghiệm sai lệch so với phân bố chuẩn
TCVN 9944-1 (ISO 22514-1), Phương pháp thống kê trong quản lý quá trình – Năng lực và hiệu năng – Phần 1: Nguyên tắc chung và khái niệm
3. Thuật ngữ, định nghĩa, ký hiệu và chữ viết tắt
Tiêu chuẩn này áp dụng các thuật ngữ và định nghĩa trong TCVN 8244-2 (ISO 3534-2), TCVN 9944-1 (ISO 22514-1) và các ký hiệu, từ viết tắt dưới đây.
3.1. Ký hiệu
|
Cp |
chỉ số năng lực quá trình |
|
Cpk |
chỉ số năng lực nhỏ nhất của quá trình |
|
CpkL |
chỉ số năng lực dưới của quá trình |
|
CpkU |
chỉ số năng lực trên của quá trình |
|
c4 |
hằng số dựa trên cỡ nhóm con n |
|
Δ |
độ phân tán của quá trình |
|
ΔL |
hiệu giữa Xmid và X0,135 % của phân bố đặc trưng sản phẩm |
|
ΔU |
hiệu giữa X99,865 % và Xmid của phân bố đặc trưng sản phẩm |
|
d2 |
hằng số dựa trên cỡ nhóm con n |
|
k |
số nhóm con có cùng cỡ n |
|
m |
vị trí trung bình của quá trình |
|
L |
giới hạn quy định dưới |
|
Ml,d |
Phương pháp tính với nhãn phương pháp vị trí l và nhãn phương pháp phân tán d |
|
N |
cỡ mẫu |
|
pL |
tỷ lệ không phù hợp dưới |
|
pt |
tỷ lệ không phù hợp toàn phần |
|
pU |
tỷ lệ không phù hợp trên |
|
Pp |
chỉ số hiệu năng quá trình |
|
Ppk |
chỉ số hiệu năng nhỏ nhất của quá trình |
|
PpkL |
chỉ số hiệu năng dưới của quá trình |
|
PpkU |
chỉ số hiệu năng trên của quá trình |
|
Ri |
độ rộng của nhóm con thứ i |
|
s |
độ lệch chuẩn, giá trị được thừa nhận |
|
s |
độ lệch chuẩn, tổng thể |
|
S |
độ lệch chuẩn, thống kê mẫu |
|
Si |
độ lệch chuẩn mẫu quan trắc của nhóm con thứ i |
|
St |
độ lệch chuẩn, với chỉ số dưới “t” thể hiện độ lệch chuẩn toàn phần |
|
U |
giới hạn quy định trên |
|
X0,135 % |
phân vị 0,135 % |
|
X99,865 % |
phân vị 99,865 % |
|
X50 % |
phân vị 50 % |
|
Xmid |
điểm giữa phân bố |
3.2. Chữ viết tắt
|
ANOVA |
phân tích phương sai |
|
SPC |
kiểm soát thống kê quá trình |
4. Phân tích quá trình
Mục đích của phân tích quá trình là có được hiểu biết về quá trình. Hiểu biết này rất cần thiết cho việc kiểm soát quá trình một cách hiệu quả và hiệu lực sao cho sản phẩm do quá trình tạo ra đáp ứng yêu cầu chất lượng. Tiêu chuẩn này giả định rằng phân tích quá trình được thực hiện và các cải tiến quá trình tiếp đó được thực thi.
Biểu hiện của đặc trưng đang xét có thể được mô tả bằng phân bố, vị trí, độ phân tán và hình dạng, các tham số của chúng nói chung đều là hàm số phụ thuộc thời gian. Các mô hình khác nhau của phân bố thu được mà tham số của chúng là hàm phụ thuộc thời gian được thảo luận ở Điều 6 và Điều 7. Các phương pháp thống kê [ví dụ như ước lượng tham số, phân tích phương sai (ANOVA)], bao gồm cả các công cụ đồ họa (ví dụ như đồ thị xác suất, biểu đồ kiểm soát) được sử dụng để chỉ ra mô hình phân bố phụ thuộc thời gian có phù hợp hay không.
Giá trị của các đặc trưng đang xét thường được xác định trên cơ sở mẫu được lấy từ dòng quá trình. Cỡ mẫu và tần số cần được chọn phụ thuộc vào loại quá trình và loại sản phẩm sao cho tất cả những thay đổi quan trọng được phát hiện kịp thời. Các mẫu cần đại diện cho đặc trưng đang xét. Để đánh giá độ ổn định của quá trình, nên sử dụng biểu đồ kiểm soát. Thông tin về việc sử dụng biểu đồ kiểm soát có thể tìm trong TCVN 9945-2 (ISO 7870-2).
5. Mô hình phân bố phụ thuộc thời gian
Phân bố tức thời đặc trưng cho biểu hiện của đặc trưng đang nghiên cứu trong một khoảng thời gian ngắn. Thông thường, đó là khoảng thời gian mà mẫu (ví dụ nhóm con) được lấy từ quá trình. Theo dõi quá trình liên tục trong một khoảng thời gian dài hơn, đầu ra của quá trình đó được gọi là phân bố quá trình thu được và được mô tả bằng mô hình phân bố phụ thuộc thời gian tương ứng phản ánh
– phân bố tức thời của đặc trưng đang xét, và
– những thay đổi tham số về vị trí, độ phân tán và hình dạng trong khoảng thời gian theo dõi quá trình.
Trên thực tế, phân bố thu được có thể được thể hiện bằng toàn bộ tập dữ liệu, ví dụ khi áp dụng SPC, bằng tất cả các nhóm con thu được trong khoảng thời gian quan sát quá trình.
Các mô hình phân bố phụ thuộc thời gian có thể được phân thành bốn nhóm tùy theo mômen vị trí và độ phân tán là không đổi hay thay đổi (xem Bảng 1).
a) Quá trình có vị trí và độ phân tán không đổi là mô hình phân bố phụ thuộc thời gian A. Chỉ trong trường hợp này, tất cả các trung bình và phương sai của phân bố tức thời đều bằng nhau và bằng phân bố thu được.
b) Nếu độ phân tán của quá trình thay đổi theo thời gian nhưng vị trí giữ nguyên thì quá trình được gọi là mô hình phân bố phụ thuộc thời gian B.
c) Nếu độ phân tán không đổi nhưng vị trí thay đổi thì ta có mô hình phân bố phụ thuộc thời gian C.
d) Trong các trường hợp khác, ta có mô hình phân bố phụ thuộc thời gian D.
Bảng 1 – Phân loại các mô hình phân bố phụ thuộc thời gian
|
Độ lệch chuẩn quá trình s(t) |
Trung bình quá trình m(t) |
|||||||
|
Hằng số |
Không phải hằng số |
|||||||
|
Hằng số |
|
A |
|
C |
||||
|
A1 |
A2 |
C1 |
C2 |
C3 |
C4 |
|||
|
Phân bố trong thời gian ngắn |
Phân bố chuẩn |
Không phải phân bố chuẩn – một mốt |
Vị trí |
Ngẫu nhiên |
Ngẫu nhiên |
Hệ thống (ví dụ xu hướng) |
Hệ thống và ngẫu nhiên (ví dụ theo từng lô) |
|
|
Phân bố trong thời gian ngắn |
Phân bố chuẩn |
Phân bố chuẩn |
Phân bố chuẩn |
Phân bố chuẩn |
||||
|
Phân bố thu được |
Phân bố chuẩn |
Không phải phân bố chuẩn – một mốt |
Hình dạng bất kỳ |
Hình dạng bất kỳ (ví dụ đa mốt) |
||||
|
Không phải hằng số |
Phân bố thu được |
B |
Phân bố thu được |
D |
||||
|
Hình dạng bất kỳ – một mốt |
Hình dạng bất kỳ |
|||||||
Đối với các mômen thay đổi, mô hình có thể được phân loại tùy theo thay đổi là ngẫu nhiên, hệ thống hoặc cả hai.
CHÚ THÍCH: Mô hình A2 được gọi là dừng trong tài liệu phân tích chuỗi thời gian và mô hình A1 được gọi là dừng bậc hai.
Bảng 2 tổng hợp các đặc tính cơ bản của các mô hình phân bố phụ thuộc thời gian riêng; trình bày bằng đồ thị được cho trên các hình từ 1 đến 8. Các điều về mô hình phân bố phụ thuộc thời gian A và C giới thiệu về tầm quan trọng thực tiễn của chúng. Các mô hình này khác biệt về hình dạng phân bố thu được và nguyên nhân quá trình nằm trong trạng thái mất kiểm soát.
Bảng 2 – Đặc tính cơ bản của các mô hình phân bố phụ thuộc thời gian
|
Đặc trưng |
Mô hình phân bố phụ thuộc thời gian a |
|||||||
|
A1 |
A2 |
B |
C1 |
C2 |
C3 |
C4 |
D |
|
|
Vị trí |
c |
c |
c |
r |
r |
s |
s |
s |
|
Độ phân tán |
c |
c |
s/r |
c |
c |
c |
c |
s/r |
|
Phân bố tức thời |
nd |
1m |
nd |
nd |
nd |
as |
as |
as |
|
Phân bố thu được |
nd |
1m |
1m |
nd |
1m |
as |
as |
as |
|
Số |
1 |
2 |
3 |
4 |
5 |
6 |
7 |
8 |
|
Vị trí/độ phân tán: c tham số giữ nguyên không đổi r tham số chỉ thay đổi ngẫu nhiên s tham số chỉ thay đổi hệ thống Phân bố tức thời/thu được: nd phân bố chuẩn 1m không phải phân bố chuẩn, chỉ có một mốt as hình dạng bất kỳ |
||||||||
|
a Việc lựa chọn mô hình là kết quả của việc phân tích quá trình. |
||||||||
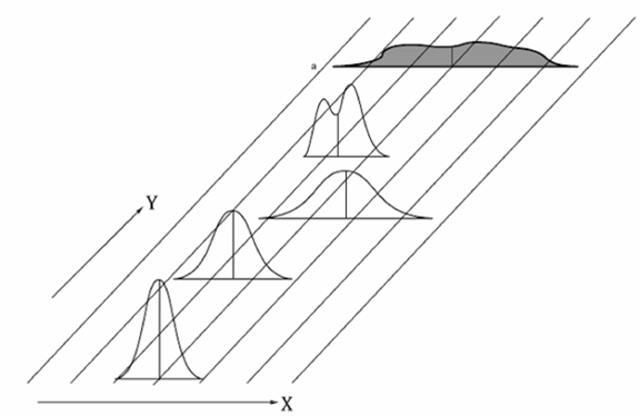
Đối với từng mô hình phân bố phụ thuộc thời gian, nhiều phân bố tức thời được thể hiện là hàm số của thời gian; phân bố liên quan thu được cũng được trình bày. Các phân bố này không được vẽ theo thang đo.
Việc lựa chọn mô hình và kiểm tra xác nhận đòi hỏi phải phân tích dữ liệu mở rộng. Điều này sẽ thường đòi hỏi sử dụng phần mềm thống kê.
Mô hình phân bố phụ thuộc thời gian A1 (xem Hình 1) có các đặc trưng dưới đây (ví dụ độ dài đo được của một cá thể lấy từ quá trình ở trạng thái kiểm soát thống kê):
– vị trí: không đổi;
– độ phân tán: không đổi;
– phân bố tức thời: phân bố chuẩn;
– phân bố thu được: phân bố chuẩn. Quá trình này được kiểm soát thống kê.

a) Mô hình phân bố phụ thuộc thời gian A1

|
b) Ví dụ về mô hình biểu đồ chạy A1 |
c) Ví dụ về mô hình biểu đồ tần số A1 |
CHÚ DẪN
X giá trị đặc trưng Y thời gian a Phân bố thu được.
Hình 1 – Trình bày bằng đồ thị mô hình phân bố phụ thuộc thời gian A1
Mô hình phân bố phụ thuộc thời gian A2 (xem Hình 2) có các đặc trưng dưới đây (ví dụ độ nhám bề mặt của một cá thể là ví dụ cho đặc trưng bị giới hạn bởi thuộc tính vật lý):
– vị trí: không đổi;
– độ phân tán: không đổi;
– phân bố tức thời: không phải phân bố chuẩn, một mốt;
– phân bố thu được: không phải phân bố chuẩn, một mốt.
Quá trình này được kiểm soát thống kê.

a) Mô hình phân bố phụ thuộc thời gian A2

|
b) Ví dụ về mô hình biểu đồ chạy A2 |
c) Ví dụ về mô hình biểu đồ tần số A2 |
CHÚ DẪN
X giá trị đặc trưng Y thời gian a Phân bố thu được.
Hình 2 – Trình bày bằng đồ thị mô hình phân bố phụ thuộc thời gian A2
Mô hình phân bố phụ thuộc thời gian B (xem Hình 3) có các đặc trưng dưới đây (ví dụ độ mài mòn khác nhau của các trục quay trên một máy tự động nhiều trục quay định tâm bằng nhau):
– vị trí: không đổi;
– độ phân tán: độ biến động hệ thống hoặc ngẫu nhiên;
– phân bố tức thời: phân bố chuẩn;
– phân bố thu được: không phải phân bố chuẩn, một mốt. Quá trình này không được kiểm soát thống kê.

a) Mô hình phân bố phụ thuộc thời gian B

|
b) Ví dụ về mô hình biểu đồ chạy B |
c) Ví dụ về mô hình biểu đồ tần số B |
CHÚ DẪN
X giá trị đặc trưng Y thời gian a Phân bố thu được.
Hình 3 – Trình bày bằng đồ thị mô hình phân bố phụ thuộc thời gian B
Mô hình phân bố phụ thuộc thời gian C1 (xem Hình 4) có các đặc trưng dưới đây (ví dụ định tâm khác nhau của dụng cụ kẹp chặt):
– vị trí: ngẫu nhiên (phân bố chuẩn);
– độ phân tán: không đổi;
– phân bố tức thời: phân bố chuẩn;
– phân bố thu được: phân bố chuẩn.
Quá trình này không được kiểm soát thống kê.

a) Mô hình phân bố phụ thuộc thời gian C1

|
b) Ví dụ về mô hình biểu đồ chạy C1 |
c) Ví dụ về mô hình biểu đồ tần số C1 |
CHÚ DẪN
X giá trị đặc trưng Y thời gian a Phân bố thu được.
Hình 4 – Trình bày bằng đồ thị mô hình phân bố phụ thuộc thời gian C1
Mô hình phân bố phụ thuộc thời gian C2 (xem Hình 5) có các đặc trưng dưới đây (ví dụ công cụ cố định):
– vị trí: ngẫu nhiên (không phải phân bố chuẩn, một mốt);
– độ phân tán: không đổi;
– phân bố tức thời: phân bố chuẩn;
– phân bố thu được: không phải phân bố chuẩn, một mốt. Quá trình này không được kiểm soát thống kê.

a) Mô hình phân bố phụ thuộc thời gian C2

|
b) Ví dụ về mô hình biểu đồ chạy C2 |
c) Ví dụ về mô hình biểu đồ tần số C2 |
CHÚ DẪN
X giá trị đặc trưng Y thời gian a Phân bố thu được.
Hình 5 – Trình bày bằng đồ thị mô hình phân bố phụ thuộc thời gian C2
Mô hình phân bố phụ thuộc thời gian C3 (xem Hình 6) có các đặc trưng dưới đây:
– vị trí: định hướng chức năng (ví dụ: xu hướng, gây ra do mài mòn và chu kỳ);
– độ phân tán: không đổi;
– phân bố tức thời: hình dạng bất kỳ;
– phân bố thu được: hình dạng bất kỳ.
Quá trình này không được kiểm soát thống kê.

a) Mô hình phân bố phụ thuộc thời gian C3

|
b) Ví dụ về mô hình biểu đồ chạy C3 |
c) Ví dụ về mô hình biểu đồ tần số C3 |
CHÚ DẪN
X giá trị đặc trưng Y thời gian a Phân bố thu được.
Hình 6 – Trình bày bằng đồ thị mô hình phân bố phụ thuộc thời gian C3
Mô hình phân bố phụ thuộc thời gian C4 (xem Hình 7) có các đặc trưng dưới đây:
– vị trí: thay đổi hệ thống và ngẫu nhiên (ví dụ: thay đổi công cụ hoặc thay đổi lô);
– độ phân tán: không đổi;
– phân bố tức thời: hình dạng bất kỳ;
– phân bố thu được: hình dạng bất kỳ.
Quá trình này không được kiểm soát thống kê.

a) Mô hình phân bố phụ thuộc thời gian C4

|
b) Ví dụ về mô hình biểu đồ chạy C4 |
c) Ví dụ về mô hình biểu đồ tần số C4 |
CHÚ DẪN
X giá trị đặc trưng Y thời gian a Phân bố thu được.
Hình 7 – Trình bày bằng đồ thị mô hình phân bố phụ thuộc thời gian C4
Mô hình phân bố phụ thuộc thời gian D (xem Hình 8) có các đặc trưng dưới đây (ví dụ quá trình đa dòng):
– vị trí: thay đổi hệ thống và ngẫu nhiên;
– độ phân tán: thay đổi hệ thống và ngẫu nhiên;
– phân bố tức thời: hình dạng bất kỳ;
– phân bố thu được: hình dạng bất kỳ.
Quá trình này không được kiểm soát thống kê.

a) Mô hình phân bố phụ thuộc thời gian D

|
b) Ví dụ về mô hình biểu đồ chạy D |
c) Ví dụ về mô hình biểu đồ tần số D |
CHÚ DẪN
X giá trị đặc trưng Y thời gian a Phân bố thu được.
Hình 8 – Trình bày bằng đồ thị mô hình phân bố phụ thuộc thời gian D
6. Chỉ số năng lực và hiệu năng quá trình
6.1. Phương pháp xác định chỉ số năng lực và hiệu năng quá trình – Tổng quan
6.1.1. Khái quát
Như đã nêu chi tiết trong các điều trên đây, cơ sở để xác định thống kê hiệu năng và năng lực quá trình là phân bố của giá trị đặc trưng của đặc trưng sản phẩm.
Việc tính toán chỉ số hiệu năng cũng như chỉ số năng lực dựa trên vị trí và độ phân tán của giá trị đặc trưng về mặt dung sai.
Trình bày bằng đồ thị chung được thể hiện trên Hình 9.

Hình 9 – Trình bày bằng đồ thị phương pháp hình học tổng quát
Trên Hình 9, Xmid chỉ thị vị trí của quá trình còn Δ chỉ thị độ phân tán của quá trình. Định nghĩa chính xác của chúng, phụ thuộc vào phương pháp, sẽ được trình bày sau. Độ phân tán được giới hạn bởi giới hạn quy chiếu dưới X0,135 % và giới hạn quy chiếu trên X99,865 %. Khi đó, ta có
ΔL = Xmid – X0,135 % (1)
và
ΔU = X99,865 % – Xmid (2)
Các chỉ số hiệu năng quá trình được xác định bằng tỷ số giữa độ dài của tham số hình học của phân bố với dung sai quy định.
Chỉ số hiệu năng quá trình:
(3)
Chỉ số hiệu năng dưới của quá trình:
(4)
Chỉ số hiệu năng trên của quá trình:
(5)
Chỉ số hiệu năng tối thiểu của quá trình:
Ppk = min (PpkL, PpkU) (6)
Nếu quá trình cho thấy ở trạng thái kiểm soát thống kê thì chỉ số năng lực có thể được ấn định. Công thức cũng giống như với chỉ số hiệu năng tương ứng.
Chỉ số năng lực quá trình:
(7)
Chỉ số năng lực dưới:
(8)
Chỉ số năng lực trên:
(9)
Chỉ số năng lực tối thiểu:
Cpk = min (CpkL, CpkU) (10)
Có các hàm ước lượng khác nhau cho vị trí, m, và độ phân tán, Δ, của tập dữ liệu cho trước.
QUAN TRỌNG – Cần nhấn mạnh là việc so sánh định lượng các chỉ số hiệu năng hoặc năng lực được tính theo các phương pháp khác nhau sẽ không có ý nghĩa và không nên thực hiện.
6.1.2. Tính toán vị trí
Ví trí của quá trình, Xmid, có thể được tính bằng cách sử dụng một trong các công thức cho trong Bảng 3.
Bảng 3 – Các phương pháp khác nhau để tính toán vị trí
|
Nhãn phương pháp vị trí, l |
Phương pháp tính vị trí/Công thức Ml,d |
Số |
||
|
1 |
|
(11) |
||
|
2 |
X |
; n lẻ
; n chẵn |
|
(12) |
|
3 |
|
(13) |
||
|
4 |
|
(14) |
||
|
xi giá trị riêng lẻ n số giá trị
k số nhóm con cỡ n
|
||||
6.1.3. Tính toán độ phân tán
Độ phân tán của quá trình có thể được tính bằng cách sử dụng một trong các công thức cho trong Bảng 4.
Bảng 4 – Các phương pháp khác nhau để tính độ phân tán
|
Nhãn phương pháp độ phân tán, d |
Phương pháp tính độ phân tán/Công thức |
Số |
|
1 |
|
(15) |
|
2 |
|
(16) |
|
3 |
|
(17) |
|
4 |
|
(18) |
|
5 |
|
(19) |
|
si độ lệch chuẩn của nhóm con thứ i k số nhóm con cỡ n Ri độ rộng của nhóm con thứ i st độ lệch chuẩn của toàn bộ tập dữ liệu |
||
Xem TCVN 9945-2 (ISO 7870-2) về các bảng dùng cho hệ số c4 và d2.
Ml,d được dùng làm ký hiệu cho phương pháp tính. Chỉ số dưới l đề cập đến công thức tính hàm ước lượng cho vị trí m [Công thức từ (11) đến (14)]. Chỉ số dưới d đề cập đến công thức tính hàm ước lượng cho độ phân tán Δ [Công thức từ (15) đến (19)].
6.1.4. Tính X0,135 % và X99,865 %
Có ba quy trình có thể dùng để ước lượng X0,135 % và X99,865 % nêu dưới đây.
a) Khớp phân bố với tập dữ liệu gộp và ước lượng chúng từ phân bố làm khớp thu được.
b) Ước lượng chúng trực tiếp từ tập dữ liệu gộp. Để có được ước lượng tin cậy của X0,135 % và X99,865 % trong quy trình này, cỡ của tập dữ liệu cho trước phải lớn. Ví dụ, đối với cỡ mẫu kết hợp là 1 000, X0,135 % và X99,865 % được lấy là giá trị nhỏ nhất và lớn nhất của tập dữ liệu.
c) Ước lượng chúng từ đồ thị xác suất [xem TCVN 9603 (ISO 5479)]. Nếu dữ liệu không hình thành phân bố chuẩn thì có thể cần sử dụng công cụ khác.
Ký hiệu cho tính toán chỉ số là Ml,d, trong đó l xác định phương pháp tính vị trí và d xác định phương pháp tính độ phân tán.
VÍ DỤ: Phương pháp tính M12 dựa trên phép tính trung bình và phương sai.
– Hàm ước lượng
với d = 1 là tổng quát nhất, có thể sử dụng trong mọi điều kiện.
– Hàm ước lượng
với d = 2, 3 và 4 chỉ ước lượng độ trải nhóm con. Chỉ nên sử dụng chúng cho mô hình quá trình A1 vì chúng bỏ qua sự khác biệt giữa các nhóm con.
– Hàm ước lượng
với d = 2, 3, 4 và 5 giả định rằng dữ liệu có phân bố chuẩn. Nếu không, kết quả của chúng sẽ chệch tùy theo loại phân bố.
CHÚ THÍCH:
còn được gọi là khoảng quy chiếu.
6.2. Giới hạn quy định một phía
Giới hạn quy định một phía có thể được xử lý theo cách tương tự như giới hạn quy định hai phía. Xem Hình 10.

Hình 10 – Trình bày bằng đồ thị phương pháp tính ΔU
Trong trường hợp giới hạn quy định trên, ta có các công thức dưới đây.
Chỉ số hiệu năng trên của quá trình
(20)
Chỉ số hiệu năng tối thiểu của quá trình:
Ppk = PpkU (21)
Nếu quá trình chứng tỏ ở trạng thái kiểm soát thống kê thì chỉ số năng lực có thể được ấn định. Công thức cũng giống như với chỉ số hiệu năng tương ứng.
Chỉ số năng lực trên:
(22)
Chỉ số năng lực tối thiểu:
Cpk = CpkU (23)
X99,865 % và Xmid được ước lượng như trong phương pháp M21. Xem Hình 11.

Hình 11 – Trình bày bằng đồ thị phương pháp tính ΔL
Trong trường hợp giới hạn quy định dưới, ta có các công thức dưới đây.
Chỉ số hiệu năng trên của quá trình
(24)
Chỉ số hiệu năng tối thiểu của quá trình:
Ppk = PpkL (25)
Nếu quá trình chứng tỏ ở trạng thái kiểm soát thống kê thì chỉ số năng lực có thể được ấn định. Công thức cũng giống như với chỉ số hiệu năng tương ứng.
Chỉ số năng lực dưới:
(26)
Chỉ số năng lực tối thiểu:
Cpk = CpkL (27)
X0,135 % và Xmid được ước lượng như trong phương pháp M21.
6.3. Sử dụng các phương pháp tính khác
Đối với mô hình phân bố phụ thuộc thời gian cụ thể, không phải tất cả phương pháp tính đều có thể sử dụng. Bảng 5 thể hiện sự kết hợp giữa các mô hình và phương pháp tính toán.
Bảng 5 – Chỉ số năng lực quá trình
|
|
Mô hình thời gian |
A1 |
A2 |
B |
C1 |
C2 |
C3 |
C4 |
D |
|
Tính vị trí |
1 |
a |
|
a |
|
|
|
|
|
|
2 |
a |
a |
a |
a |
a |
a |
a |
a |
|
|
3 |
a |
|
|
|
|
|
|
|
|
|
4 |
a |
a |
a |
|
|
|
|
|
|
|
Tính độ phân tán |
1 |
a |
a |
a |
a |
a |
a |
a |
a |
|
2 |
a |
|
|
|
|
|
|
|
|
|
3 |
a |
|
|
|
|
|
|
|
|
|
4 |
a |
|
|
|
|
|
|
|
|
|
5 |
a |
a |
a |
a |
|
|
|
a |
|
|
a Chỉ thị những phương pháp có thể sử dụng để tính các chỉ số. |
|||||||||
7. Báo cáo chỉ số hiệu năng/năng lực quá trình
Nếu sử dụng các thống kê hiệu năng/năng lực quá trình để định lượng quá trình thì chúng phải được báo cáo theo tiêu chuẩn này. Phương pháp tính vị trí, độ phân tán, số giá trị sử dụng làm cơ sở cho việc tính toán, cũng như độ không đảm bảo đo phải được nêu rõ.
Có thể có thêm thông tin khác như
– tần số lấy mẫu,
– thời gian và quá trình lấy dữ liệu; lý giải về việc lựa chọn mô hình phân bố thời gian, và
– điều kiện kỹ thuật (lô, vận hành, công cụ).
Các ví dụ được cho trong Bảng 6.
Bảng 6 – Ví dụ về báo cáo chỉ số năng lực quá trình tính được
|
Chỉ số hiệu năng/năng lực quá trình |
Cp = 1,68 |
|
Chỉ số hiệu năng/năng lực tối thiểu của quá trình |
Cpk = 1,47 |
|
Phương pháp tính |
M1,1 |
|
Số giá trị sử dụng cho tính toán |
2 000 |
|
Độ không đảm bảo đo |
0,002 mm |
|
Mô hình phân bố thời gian |
A1 |
|
Phương pháp tính M1,1 có nghĩa là phép tính năng lực được thực hiện bằng cách sử dụng trung bình và khoảng quy chiếu là hàm ước lượng cho vị trí và độ phân tán. |
|
THƯ MỤC TÀI LIỆU THAM KHẢO
[1] TCVN 8244-1 (ISO 3534-1), Thống kê học – Từ vựng và ký hiệu – Phần 1: Thuật ngữ chung về thống kê và thuật ngữ dùng trong xác suất
[2] TCVN 9945-2 (ISO 7870-2), Biểu đồ kiểm soát – Phần 2: Biểu đồ kiểm soát Shewhart
[3] TCVN ISO 9000:2007 (ISO 9000:2005), Hệ thống quản lý chất lượng – Cơ sở và từ vựng
[4] TCVN 9944-4:2013 (ISO/TR 22514-4:2007), Phương pháp thống kê trong quản lý quá trình – Năng lực và hiệu năng – Phần 4: Ước lượng năng lực quá trình và đo hiệu năng
[5] Kotz & Lovelace (1998), Process capability Indices in theory and practice (Lý thuyết và thực hành về chỉ số năng lực quá trình)
MỤC LỤC
Lời nói đầu
Lời giới thiệu
1. Phạm vi áp dụng
2 Tài liệu viện dẫn
3. Thuật ngữ, định nghĩa, ký hiệu và chữ viết tắt
3.1. Ký hiệu
3.2. Chữ viết tắt
4. Phân tích quá trình
5. Mô hình phân bố phụ thuộc thời gian
6. Chỉ số năng lực và hiệu năng quá trình
6.1. Phương pháp xác định chỉ số năng lực và hiệu năng quá trình – Tổng quan
6.2. Giới hạn quy định một phía
6.3. Sử dụng các phương pháp tính khác
7. Báo cáo chỉ số hiệu năng/năng lực quá trình
Thư mục tài liệu tham khảo



