Nội dung toàn văn Tiêu chuẩn quốc gia TCVN ISO 10003:2011 (ISO 10003:2007) về Quản lý chất lượng – Sự thỏa mãn của khách hàng – Hướng dẫn giải quyết tranh chấp bên ngoài tổ chức
TCVN ISO 10003:2011
ISO 10003:2007
QUẢN LÝ CHẤT LƯỢNG – SỰ THỎA MÃN CỦA KHÁCH HÀNG – HƯỚNG DẪN GIẢI QUYẾT TRANH CHẤP BÊN NGOÀI TỔ CHỨC
Quality management – Customer satisfaction – Guidelines for dispute resolution external to organizations
Lời nói đầu
TCVN ISO 10003:2011 hoàn toàn tương đương với ISO 10003:2007.
TCVN ISO 10003:2011 do Ban kỹ thuật tiêu chuẩn quốc gia TCVN/TC 176 Quản lý chất lượng và đảm bảo chất lượng biên soạn, Tổng cục Tiêu chuẩn Đo lường Chất lượng đề nghị, Bộ Khoa học và Công nghệ công bố.
Lời giới thiệu
0.1. Khái quát
Tiêu chuẩn này đưa ra các hướng dẫn cho tổ chức trong việc lập kế hoạch, thiết kế, xây dựng, triển khai, duy trì và cải tiến việc giải quyết có hiệu lực và hiệu quả tranh chấp bên ngoài đối với những khiếu nại liên quan tới sản phẩm. Giải quyết tranh chấp đưa ra cách khắc phục khi tổ chức không giải quyết được khiếu nại nội bộ. Hầu hết các khiếu nại đều có thể được giải quyết thành công trong phạm vi tổ chức mà không cần phải tốn thêm thời gian và các thủ tục.
CHÚ THÍCH 1: Các tổ chức được khuyến khích xây dựng quá trình xử lý khiếu nại nội bộ hiệu lực và hiệu quả nhất quán v ới TCVN ISO 10002.
Có nhiều phương pháp giải quyết tranh chấp khác nhau, cũng như sử dụng các thuật ngữ khác nhau để mô tả chúng. Những phương pháp này là phương pháp trợ giúp, tư vấn hoặc xác định (xem Phụ lục A). Mỗi phương pháp có thể được sử dụng riêng hoặc có thể sử dụng tuần tự các phương pháp này.
Tiêu chuẩn này có thể được dùng để:
a) thiết kế quá trình giải quyết tranh chấp và quyết định khi nào đưa ra giải quyết tranh chấp cho bên khiếu nại, và
b) lựa chọn nhà cung cấp giải quyết tranh chấp (sau đây gọi là “nhà cung cấp”; xem 3.9) có thể đáp ứng được những nhu cầu và mong đợi cụ thể của tổ chức.
CHÚ THÍCH 2: Các nhà cung cấp từ các lĩnh vực công v à tư có thể ở nhiều dạng khác nhau trên toàn thế giới, bao gồm các hiệp hội ngành công nghiệp cụ thể, hiệp hội thanh tra và hiệp hội đa ngành khác.
Mặc dù tiêu chuẩn này hướng vào các tổ chức, nhưng các nhà cung cấp cũng có thể hưởng lợi từ việc hiểu rõ hướng dẫn nào được đưa ra cho tổ chức. Các nhà cung cấp có thể sử dụng hướng dẫn này trong quá trình giải quyết tranh chấp của mình.
Các tổ chức được khuyến khích hoạch định, thiết kế, xây dựng, triển khai, duy trì và cải tiến quá trình giải quyết tranh chấp kết hợp với quy phạm đạo đức về thỏa mãn khách hàng và quá trình xử lý khiếu nại nội bộ, cũng như tích hợp chúng với hệ thống quản lý chất lượng hoặc hệ thống quản lý khác của tổ chức.
Tiêu chuẩn này có thể hỗ trợ các cá nhân và tổ chức trong việc đánh giá tính hiệu quả, hiệu lực và công bằng trong quá trình giải quyết tranh chấp của tổ chức. Việc áp dụng tiêu chuẩn này có thể:
– đưa ra giải quyết tranh chấp linh hoạt, có thể ít tốn kém hơn, dễ dàng hơn và nhanh chóng hơn so với quá trình trên cơ sở của tòa án, đặc biệt trong các tranh chấp ngoài biên giới;
– giúp nâng cao sự thỏa mãn và sự gắn bó của khách hàng;
– đưa ra chuẩn đối sánh theo đó các cá nhân và tổ chức có thể đánh giá tuyên bố của tổ chức và nhà cung cấp về việc triển khai một cách hiệu quả, hiệu lực và công bằng;
– thông báo cho người sử dụng giải quyết tranh chấp tiềm năng về các điều kiện tiếp cận, chi phí và hệ quả pháp lý;
– nâng cao khả năng nhận biết và loại trừ nguyên nhân tranh chấp của tổ chức;
– cải tiến cách thức xử lý khiếu nại và tranh chấp trong tổ chức;
– cung cấp thông tin bổ sung có thể góp phần cải tiến các quá trình và sản phẩm của tổ chức;
– nâng cao danh tiếng của tổ chức hoặc tránh hủy hoại danh tiếng;
– nâng cao năng lực cạnh tranh trong nước và quốc tế;
– mang lại lòng tin về việc xử lý công bằng và nhất quán tranh chấp trên thị trường toàn cầu.
Chú ý rằng việc giải quyết tranh chấp bên ngoài có thể là đối tượng của các yêu cầu luật định và chế định.
CHÚ THÍCH 3: Thuật ngữ liên quan tới giải quyết tranh chấp không phải luôn được sử dụng giống nhau trên toàn thế giới. Phụ lục A đưa ra bảng chú giải thuật ngữ cho một số thuật ngữ tương đương.
0.2. Mối quan hệ với TCVN ISO 9001 và TCVN ISO 9004
Tiêu chuẩn này tương thích với TCVN ISO 9001, TCVN ISO 9004 và hỗ trợ cho các mục tiêu của hai tiêu chuẩn đó thông qua việc áp dụng hiệu lực và hiệu quả quá trình giải quyết tranh chấp. Tiêu chuẩn này cũng có thể được sử dụng độc lập với TCVN ISO 9001 và TCVN ISO 9004.
TCVN ISO 9001 quy định các yêu cầu đối với hệ thống quản lý chất lượng có thể dùng để áp dụng nội bộ trong tổ chức, hoặc để chứng nhận, hay với mục đích hợp đồng. Quá trình giải quyết tranh chấp mô tả trong tiêu chuẩn này có thể được dùng như một yếu tố của hệ thống quản lý chất lượng. Tiêu chuẩn này không sử dụng cho mục đích chứng nhận hay mục đích hợp đồng.
TCVN ISO 9004 đưa ra hướng dẫn quản lý tổ chức để thành công bền vững. Việc sử dụng tiêu chuẩn này có thể giúp nâng cao hơn nữa hiệu quả giải quyết tranh chấp với bên khiếu nại và tăng sự thỏa mãn của khách hàng, bên khiếu nại và các bên quan tâm khác. Tiêu chuẩn này cũng có thể tạo thuận lợi cho việc cải tiến liên tục chất lượng các quá trình và sản phẩm trên cơ sở phản hồi từ khách hàng, bên khiếu nại và các bên quan tâm khác.
CHÚ THÍCH: Ngoài khách hàng và bên khiếu nại, các bên quan tâm khác có thể bao gồm nhà cung ứng, các hiệp hội công nghiệp và thành viên hiệp hội, tổ chức người tiêu dùng, cơ quan chính phủ liên quan, nhân sự, chủ sở hữu và những người khác chịu ảnh hưởng bởi quá trình giải quyết tranh chấp.
0.3. Mối quan hệ với TCVN ISO 10001 và TCVN ISO 10002
Tiêu chuẩn này tương thích với TCVN ISO 10001 và TCVN ISO 10002. Ba tiêu chuẩn này có thể dùng độc lập hoặc kết hợp với nhau. Khi được sử dụng cùng nhau, TCVN ISO 10001, TCVN ISO 10002 và tiêu chuẩn này có thể là một phần trong khuôn khổ rộng hơn, được tích hợp để nâng cao sự thỏa mãn của khách hàng thông qua quy phạm đạo đức, xử lý khiếu nại và giải quyết tranh chấp (xem Phụ lục B).
TCVN ISO 10001 gồm hướng dẫn về quy phạm đạo đức về thỏa mãn khách hàng đối với tổ chức. Bằng việc lập ra những gì khách hàng có thể mong đợi từ tổ chức và các sản phẩm của tổ chức, quy phạm này có thể làm giảm khả năng nảy sinh các vấn đề và có thể loại trừ nguyên nhân gây ra khiếu nại và tranh chấp. Khi khiếu nại và tranh chấp phát sinh, sự tồn tại của những quy phạm đạo đức có thể hỗ trợ các bên hiểu được mong đợi của khách hàng và nỗ lực của tổ chức để đáp ứng những mong đợi này.
TCVN ISO 10002 gồm hướng dẫn việc xử lý nội bộ những khiếu nại liên quan đến sản phẩm. Tiêu chuẩn này có thể được sử dụng khi khiếu nại không được giải quyết nội bộ.
0.4. Tuyên bố về sự phù hợp
Tiêu chuẩn này được thiết kế để sử dụng độc lập như một tài liệu hướng dẫn. Trong trường hợp áp dụng tất cả các hướng dẫn thích hợp nêu trong tiêu chuẩn này, có thể tuyên bố rằng quá trình giải quyết tranh chấp dựa trên hướng dẫn đó.
Tuy nhiên mọi tuyên bố khẳng định hoặc hàm ý sự phù hợp với tiêu chuẩn này là không nhất quán với tiêu chuẩn, do đó việc đưa ra tuyên bố như vậy là không thích hợp.
CHÚ THÍCH: Theo đó, sẽ không thích hợp khi khẳng định hoặc hàm ý sự phù hợp với tiêu chuẩn này trong mọi tài liệu quảng bá và truyền thông, như các ấn phẩm báo chí, quảng cáo, ấn phẩm marketing, video, thông cáo với nhân viên, biểu tượng, khẩu hiệu và biểu ngữ đối với các phương tiện truyền thông đại chúng, từ việc sử dụng bản in và phát thanh truyền hình đến internet và các ứng dụng truyền thông đa phương tiện, tới các nhãn, ký hiệu sản phẩm và băng rôn.
QUẢN LÝ CHẤT LƯỢNG – SỰ THỎA MÃN CỦA KHÁCH HÀNG – HƯỚNG DẪN GIẢI QUYẾT TRANH CHẤP BÊN NGOÀI TỔ CHỨC
Quality management – Customer satisfaction – Guidelines for dispute resolution external to organizations
1. Phạm vi áp dụng
Tiêu chuẩn này đưa ra các hướng dẫn cho tổ chức trong việc hoạch định, thiết kế, xây dựng, triển khai, duy trì và cải tiến quá trình giải quyết tranh chấp hiệu lực và hiệu quả đối với các khiếu nại chưa được tổ chức giải quyết. Tiêu chuẩn này áp dụng với:
– các khiếu nại liên quan tới sản phẩm của tổ chức dự kiến cho khách hàng, hoặc được khách hàng yêu cầu, quá trình xử lý khiếu nại hoặc quá trình giải quyết tranh chấp;
CHÚ THÍCH 1: Trong toàn bộ tiêu chuẩn này, thuật ngữ “sản phẩm” bao gồm cả dịch vụ, phần mềm, phần cứng và nguyên vật liệu đã được xử lý.
– giải quyết tranh chấp phát sinh từ hoạt động kinh doanh trong nước hoặc qua biên giới, bao gồm cả tranh chấp phát sinh từ thương mại điện tử;
Tiêu chuẩn này nhằm sử dụng cho mọi tổ chức không phân biệt loại hình, quy mô và sản phẩm cung cấp và đề cập đến
– hướng dẫn xác định thời gian và cách thức tổ chức có thể tham gia giải quyết tranh chấp;
– hướng dẫn lựa chọn nhà cung cấp và sử dụng dịch vụ của họ;
– việc tham gia và cam kết của lãnh đạo cao nhất, để giải quyết tranh chấp và triển khai các nguồn lực thỏa đáng trong phạm vi tổ chức;
– những điều thiết yếu để giải quyết tranh chấp công bằng, phù hợp, minh bạch và có thể tiếp cận được;
– hướng dẫn quản lý sự tham gia của tổ chức vào việc giải quyết tranh chấp, và
– theo dõi, đánh giá và cải tiến quá trình giải quyết tranh chấp;
CHÚ THÍCH 2: Cụ thể tiêu chuẩn này nhằm mục đích giải quyết tranh chấp giữa tổ chức và
– các cá nhân mua hoặc sử dụng sản phẩm cho các mục đích cá nhân hoặc hộ gia đình, hoặc
– các doanh nghiệp nhỏ.
Tiêu chuẩn này không dùng cho mục đích chứng nhận hay hợp đồng. Tiêu chuẩn này không áp dụng để giải quyết các loại tranh chấp khác, như tranh chấp tuyển dụng. Tiêu chuẩn này không nhằm thay đổi bất kỳ quyền và nghĩa vụ nào đưa ra bởi các yêu cầu của luật định và chế định thích hợp.
Tiêu chuẩn này không áp dụng để xử lý khiếu nại trong phạm vi tổ chức.
2. Tài liệu viện dẫn
Tài liệu viện dẫn dưới đây rất cần thiết cho việc áp dụng tiêu chuẩn này. Đối với các tài liệu ghi năm công bố thì áp dụng bản được nêu. Đối với các tài liệu không ghi năm công bố thì áp dụng bản mới nhất, bao gồm cả các sửa đổi.
TCVN ISO 9000:2007 (ISO 9000:2005), Hệ thống quản lý chất lượng – Cơ sở và từ vựng.
3. Thuật ngữ và định nghĩa
Tiêu chuẩn này áp dụng các thuật ngữ và định nghĩa trong TCVN ISO 9000:2007 cùng với các thuật ngữ, định nghĩa dưới đây.
3.1. Hiệp hội (association)
Tổ chức (3.8) bao gồm các tổ chức hoặc cá nhân thành viên.
3.2. Bên khiếu nại (complainaint)
Cá nhân, tổ chức (3.8), hoặc người đại diện của họ đưa ra khiếu nại (3.3).
CHÚ THÍCH 1: Trong tiêu chuẩn này, ngay lần đầu khách hàng gửi khiếu nại của mình tới nhà cung cấp cũng được coi là “bên khiếu nại”.
CHÚ THÍCH 2: Định nghĩa này làm rõ định nghĩa nêu trong TCVN ISO 10002, trong đó người đại diện có thể thay mặt cho một cá nhân hoặc một tổ chức.
3.3. Khiếu nại (complaint)
Thể hiện sự không thỏa mãn đối với một tổ chức (3.8) liên quan đến sản phẩm hoặc quá trình xử lý khiếu nại của tổ chức, trong đó mong đợi rõ ràng hoặc ẩn ý việc trả lời hoặc giải quyết.
[TCVN ISO 10002:2007 (ISO 10002:2004), 3.2]
CHÚ THÍCH: Các khiếu nại có thể được đưa ra liên quan tới quá trình giải quyết tranh chấp (3.6).
3.4. Khách hàng (customer)
Tổ chức (3.8) hay cá nhân tiếp nhận sản phẩm.
VÍ DỤ: Người tiêu dùng, khách hàng, người sử dụng cuối cùng, người bán lẻ, người hưởng lợi hoặc người mua.
CHÚ THÍCH 1: Khách hàng có thể là nội bộ hay bên ngoài tổ chức.
CHÚ THÍCH 2: Với mục đích của tiêu chuẩn này, thuật ngữ “khách hàng” gồm cả các khách hàng tiềm năng.
CHÚ THÍCH 3: Tương ứng TCVN ISO 9000:2007, 3.3.5.
3.5. Sự thỏa mãn của khách hàng (customer satisfaction)
Cảm nhận của khách hàng (3.4) về mức độ đáp ứng yêu cầu của khách hàng.
CHÚ THÍCH 1: Khiếu nại (3.3) của khách hàng là một chỉ số chung về sự thỏa mãn thấp của khách hàng, nhưng việc không có khiếu nại không có nghĩa có sự thỏa mãn cao của khách hàng.
CHÚ THÍCH 2: Thậm chí khi các yêu cầu của khách hàng đã được khách hàng thỏa thuận và được thực hiện, điều này không đảm bảo có sự thỏa mãn cao của khách hàng.
[TCVN ISO 9000:2007, 3.1.4]
3.6. Tranh chấp (dispute) (giải quyết tranh chấp)
Bất đồng, nảy sinh từ một khiếu nại (3.3), được gửi tới nhà cung cấp (3.9).
CHÚ THÍCH: Một số tổ chức (3.8) cho phép khách hàng (3.4) của mình thể hiện sự không thỏa mãn với nhà cung cấp ngay lần đầu. Trong trường hợp này, việc thể hiện sự không hài lòng của khách hàng trở thành khiếu nại khi gửi tới tổ chức để trả lời và trở thành tranh chấp nếu tổ chức không giải quyết mà không có sự can thiệp của nhà cung cấp. Nhiều tổ chức thích khách hàng của mình thể hiện ngay mọi sự không thỏa mãn tới tổ chức trước khi vận dụng việc giải quyết tranh chấp bên ngoài tổ chức.
3.7. Người giải quyết tranh chấp (dispute resolver)
Cá nhân được nhà cung cấp (3.9) chỉ định để hỗ trợ các bên giải quyết tranh chấp (3.6).
3.8. Tổ chức (organization)
Nhóm người và phương tiện có sự sắp đặt trách nhiệm, quyền hạn và mối quan hệ.
VÍ DỤ: Công ty, tổng công ty, hãng, xí nghiệp, viện, hội từ thiện, thương nhân riêng lẻ, hiệp hội (3.1), hoặc các bộ phận hay kết hợp các tổ chức đó.
CHÚ THÍCH 1: Tiêu chuẩn này nói đến nhiều loại hình tổ chức khác nhau, trong quá trình giải quyết tranh chấp (3.6) mỗi loại hình sẽ có vai trò rất khác nhau. Những loại hình này bao gồm các tổ chức có khiếu nại (3.3) không được giải quyết, nhà cung cấp (3.9) giải quyết tranh chấp và hiệp hội (3.1) đưa ra hoặc tài trợ cho quá trình giải quyết tranh chấp. Để thuận lợi, trong tiêu chuẩn này, thuật ngữ “tổ chức” sử dụng độc lập có nghĩa là thực thể có khiếu nại chưa được giải quyết, hiện đang là một bên hoặc có thể trở thành một bên tranh chấp trong tương lai. Thuật ngữ “nhà cung cấp” và “hiệp hội” được dùng để mô tả các loại hình tổ chức khác nhau.
CHÚ THÍCH 2: Tương ứng từ TCVN ISO 9000:2007, 3.3.1.
3.9. Nhà cung cấp (provider)
Cá nhân hay tổ chức (3.8) cung cấp và triển khai quá trình giải quyết tranh chấp bên ngoài tổ chức.
CHÚ THÍCH 1: Nói chung, nhà cung cấp là một pháp nhân, tách biệt với tổ chức và bên khiếu nại (3.2). Theo cách này, các thuộc tính độc lập và công bằng được nhấn mạnh (xem 4.5). Trong một số trường hợp, một đơn vị tách biệt được thành lập trong phạm vi tổ chức để xử lý khiếu nại (3.3) chưa được giải quyết. Tiêu chuẩn này không dự kiến dùng cho những trường hợp đó, nhưng vẫn có thể hữu ích.
CHÚ THÍCH 2: Nhà cung cấp ký hợp đồng với các bên để cung cấp giải quyết tranh chấp và chịu trách nhiệm về việc thực hiện. Họ cung cấp người giải quyết tranh chấp. Nhà cung cấp cũng sử dụng nhân viên hỗ trợ, điều hành và nhân viên khác để cung cấp nguồn lực tài chính, hỗ trợ văn phòng, hỗ trợ lập kế hoạch, đào tạo, phòng họp, giám sát và các chức năng tương tự.
CHÚ THÍCH 3: Các nhà cung cấp có thể ở nhiều dạng, bao gồm phi lợi nhuận, lợi nhuận và các tổ chức công. Hiệp hội (3.1) cũng có thể là một nhà cung cấp.
4. Nguyên tắc chủ đạo
4.1. Khái quát
Nền tảng để giải quyết tranh chấp có hiệu lực và hiệu quả dựa vào sự tuân thủ chặt chẽ các nguyên tắc chủ đạo được đưa ra từ 4.2 đến 4.12.
4.2. Chấp thuận tham gia
Sự tham gia của các bên khiếu nại trong giải quyết tranh chấp do một tổ chức đưa ra cần mang tính tự nguyện. Việc chấp thuận tham gia cần dựa trên những kiến thức và sự hiểu biết đầy đủ về quá trình và kết quả có thể có. Khi khách hàng là cá nhân mua hoặc sử dụng sản phẩm vì mục đích cá nhân hay dùng cho gia đình, việc chấp thuận tham gia không nên là điều kiện cần thiết cho việc tiếp nhận họ (xem Phụ lục C).
CHÚ THÍCH 1: Chấp thuận tham gia giải quyết tranh chấp có thể là điều kiện cần trong các hợp đồng kinh tế.
CHÚ THÍCH 2: Việc chấp thuận tham gia có thể là đối tượng trong các yêu cầu của các luật định và chế định khác nhau ở những nơi khác nhau trên thế giới.
4.3. Khả năng tiếp cận
Quá trình giải quyết tranh chấp cần dễ thấy và dễ sử dụng (xem Phụ lục D).
4.4. Phù hợp
Các loại phương pháp giải quyết tranh chấp đưa ra cho các bên với một tranh chấp (xem Phụ lục A) và biện pháp khắc phục tiềm ẩn sẵn có cho bên khiếu nại cần phù hợp với bản chất của tranh chấp (xem Phụ lục E).
4.5. Công bằng
Tổ chức nên tham gia giải quyết tranh chấp với ý định giải quyết tranh chấp một cách công bằng và trung thực cho bên khiếu nại. Tổ chức nên lựa chọn nhà cung cấp có nhân sự và người giải quyết tranh chấp tham gia giải quyết tranh chấp là những người công bằng và khách quan, sao cho các quá trình, khuyến nghị và quyết định là công bằng cho cả hai bên và được thừa nhận là thực hiện một cách độc lập (xem Phụ lục F).
4.6. Năng lực
Nhân sự, nhà cung cấp và người giải quyết tranh chấp của tổ chức nên có những thuộc tính cá nhân, các kỹ năng, đào tạo và kinh nghiệm cần thiết để hoàn thành trách nhiệm của họ một cách thỏa đáng (xem Phụ lục G).
4.7. Kịp thời
Giải quyết tranh chấp nên được thực hiện nhanh nhất có thể, căn cứ vào bản chất của tranh chấp và quá trình sử dụng (xem Phụ lục H).
4.8. Bảo mật
Cần bảo mật và bảo vệ các thông tin nhận dạng cá nhân, trừ khi pháp luật yêu cầu công khai, hoặc có được sự chấp thuận công khai của người có liên quan. Tương tự như vậy, các bí quyết thương mại phải được bảo mật và bảo vệ trừ khi pháp luật yêu cầu công khai hoặc bên có bí quyết thương mại chấp thuận công khai.
CHÚ THÍCH 1: Thông tin nhận dạng cá nhân là những thông tin khi kết hợp với một cá nhân có thể được sử dụng để nhận biết cá nhân đó và có thể khôi phục bằng tên, địa chỉ, địa chỉ thư điện tử, số điện thoại, hay nhận dạng cụ thể tương tự. Ý nghĩa chính xác của thuật ngữ này khác nhau trên toàn thế giới.
CHÚ THÍCH 2: Có thể áp dụng nguyên tắc này thông qua một chính sách điều hành việc sử dụng và công khai thông tin thu được trong suốt quá trình tranh chấp và đưa ra thông báo về chính sách đó tới các bên tranh chấp.
CHÚ THÍCH 3: Để khuyến khích các tổ chức tham gia giải quyết tranh chấp một cách tự nguyện, đôi khi cần bảo vệ nhận dạng của tổ chức trừ khi pháp luật yêu cầu công khai.
4.9. Minh bạch
Cần công khai thông tin đầy đủ về quá trình giải quyết tranh chấp, nhà cung cấp và việc thực hiện của họ cho bên khiếu nại, tổ chức và công chúng (xem Phụ lục I).
CHÚ THÍCH: Tính minh bạch nói tới thông tin về quá trình giải quyết tranh chấp, nhà cung cấp và việc thực hiện của họ, trái với các thông tin cá nhân về bên khiếu nại và bí quyết thương mại của tổ chức.
4.10. Hợp pháp
Cần triển khai quá trình giải quyết tranh chấp theo đúng yêu cầu của pháp luật hiện hành và sự thỏa thuận giữa các bên.
4.11. Khả năng
Cần tạo tính sẵn có và đưa các nguồn lực đầy đủ vào giải quyết tranh chấp, cũng như quản lý nguồn lực một cách hiệu lực và hiệu quả.
4.12. Cải tiến liên tục
Nâng cao hiệu lực và hiệu quả của quá trình giải quyết tranh chấp nên là một mục tiêu thường xuyên.
5. Khuôn khổ giải quyết tranh chấp
5.1. Cam kết
Tổ chức cần cam kết về quá trình giải quyết tranh chấp hiệu lực và hiệu quả cho phù hợp với chính sách giải quyết tranh chấp của tổ chức (xem 5.2). Điều đặc biệt quan trọng là lãnh đạo cao nhất phải chứng tỏ và thúc đẩy cam kết này. Một cam kết rõ ràng với việc giải quyết tranh chấp có thể là yếu tố bổ sung hữu ích cho quá trình xử lý khiếu nại bên trong tổ chức và có thể cho phép cả nhân sự và bên khiếu nại đóng góp vào việc cải tiến quá trình và sản phẩm của tổ chức. Cam kết này cần được phản ánh trong việc thiết lập, phổ biến chính sách và thủ tục giải quyết tranh chấp, bằng việc cung cấp nguồn lực thỏa đáng, bao gồm cả đào tạo.
Tổ chức cũng nên cam kết lựa chọn nhà cung cấp hiệu lực và hiệu quả có thể đưa ra giải quyết tranh chấp nhất quán với mục tiêu và thiết kế quá trình của tổ chức (xem Phụ lục J).
CHÚ THÍCH: Khi nhà cung cấp là một hiệp hội, nên đánh giá kinh nghiệm cá nhân và khả năng của chính mình giống như tổ chức đánh giá nhà cung cấp tiềm năng.
5.2. Chính sách giải quyết tranh chấp
5.2.1. Thiết lập chính sách
Lãnh đạo cao nhất cần thiết lập chính sách giải quyết tranh chấp rõ ràng, không mơ hồ. Chính sách này nên chỉ ra trường hợp nào tổ chức sẽ thông báo cho khách hàng về quá trình giải quyết tranh chấp và đưa ra giải quyết tranh chấp cho bên khiếu nại (xem Phụ lục K). Tổ chức cũng nên xác định có yêu cầu các bên khiếu nại sử dụng quá trình xử lý khiếu nại nội bộ hay không, trước khi bắt đầu quá trình giải quyết tranh chấp. Chính sách nên sẵn có cho tất cả nhân sự, các bên khiếu nại, khách hàng và các bên quan tâm khác có liên quan. Chính sách cần được hỗ trợ bởi các thủ tục và mục tiêu cho từng vai trò chức năng và nhân sự có trong quá trình.
CHÚ THÍCH: Tổ chức có thể thỏa thuận đề xuất giải quyết tranh chấp trước khi phát sinh tranh chấp, hoặc trên cơ sở từng trường hợp sau khi tranh chấp phát sinh, theo tiêu chí của tổ chức. Tổ chức có thể lập cam kết như vậy cho tất cả các trường hợp hoặc cho một số loại trường hợp nhất định. Cam kết trước có thể được lập theo nhiều cách khác nhau, như cam kết về bảo hành hoặc hợp đồng khách hàng (xem Phụ lục C), trong “cam kết”, công khai hoặc thỏa thuận với nhà cung cấp.
Khi thiết lập chính sách giải quyết tranh chấp, tổ chức cần xem xét:
– mọi yêu cầu luật định và chế định;
– nhu cầu về tài chính, tác nghiệp và về tổ chức;
– tác động ước tính của chính sách tới sự thỏa mãn của khách hàng;
– môi trường cạnh tranh;
– các thông tin đầu vào của bên khiếu nại, khách hàng, nhân sự và các bên quan tâm khác;
– quá trình quản lý chất lượng, quy phạm đạo đức về thỏa mãn khách hàng và quá trình xử lý khiếu nại trong tổ chức;
– những lựa chọn thay thế để giải quyết tranh chấp, như tòa án.
5.2.2. Xem xét chính sách
Chính sách nên được xem xét định kỳ và cập nhật khi cần.
5.2.3. Sự nhất quán của chính sách
Các chính sách liên quan tới chất lượng, xử lý khiếu nại và giải quyết tranh chấp cần nhất quán với nhau.
5.3. Trách nhiệm của lãnh đạo cao nhất
Lãnh đạo cao nhất cần đảm bảo rằng:
– chính sách giải quyết tranh chấp được truyền đạt trong tổ chức và các mục tiêu được thiết lập ở các cấp và bộ phận chức năng liên quan;
– quá trình giải quyết tranh chấp được hoạch định, thiết kế, xây dựng, triển khai, duy trì và cải tiến theo những mục tiêu này;
– nhân sự hiểu được mối quan hệ của quá trình giải quyết tranh chấp với toàn bộ nỗ lực thỏa mãn nhu cầu của khách hàng của tổ chức;
– tổ chức xác định và phân bổ nguồn lực cần thiết cho quá trình giải quyết tranh chấp một cách hiệu lực, công bằng, hợp pháp và hiệu quả, bao gồm cả việc đào tạo một cách thích hợp;
– quá trình giải quyết tranh chấp được thúc đẩy và truyền đạt tới tất cả nhân sự thích hợp trong tổ chức, tới khách hàng và bên khiếu nại (xem 4.3, 4.9, và Phụ lục D và I).
– trách nhiệm và quyền hạn trong giải quyết tranh chấp được xác định rõ ràng trong toàn bộ tổ chức.
– đưa ra thông báo một cách nhanh chóng và hiệu quả về mọi khiếu nại quan trọng với quá trình giải quyết tranh chấp, người đại diện của tổ chức trong quá trình giải quyết tranh chấp, nhà cung cấp hoặc bất kỳ kết quả nào.
6. Hoạch định, thiết kế và xây dựng
6.1. Khái quát
Tổ chức cần hoạch định, thiết kế và xây dựng một quá trình giải quyết tranh chấp hiệu lực và hiệu quả. Quá trình này bao gồm việc tạo ra các thủ tục cần thiết đối với quá trình giải quyết tranh chấp.
6.2. Mục tiêu
Tổ chức cần xác định mục tiêu phải đạt được của việc giải quyết tranh chấp. Những mục tiêu này cần nhất quán với chính sách giải quyết tranh chấp (xem 5.2), và việc thực hiện các mục tiêu cần đo lường được bằng cách sử dụng các chỉ số thực hiện thích hợp. Cần định kỳ xem xét các mục tiêu này và cập nhật khi cần.
6.3. Hoạt động
6.3.1. Đánh giá thực trạng
Tổ chức cần đánh giá những nỗ lực hiện tại của mình để giải quyết khiếu nại và tranh chấp nhằm xác định có cần những nguồn lực bổ sung hoặc những thay đổi hay không. Việc đánh giá này có thể xem xét:
– bản chất và tần suất của khiếu nại và tranh chấp;
– cách thức xử lý tranh chấp hiện tại;
– cách thức tổ chức giải quyết tranh chấp thành công hay không thành công;
– chi phí và lợi ích của sự thành công và thất bại trong việc giải quyết tranh chấp;
– chi phí và lợi ích của việc chấp nhận quá trình giải quyết tranh chấp bên ngoài tổ chức.
6.3.2. Thiết kế
Tổ chức cần thiết kế quá trình giải quyết tranh chấp dựa trên những phân tích về hoạt động xử lý khiếu nại, giải quyết tranh chấp, nguồn lực và chính sách giải quyết tranh chấp của mình. Quá trình giải quyết tranh chấp có thể được liên kết và cần nhất quán với các quá trình khác của hệ thống quản lý chất lượng của tổ chức. Thiết kế nên tính đến việc thực hành tốt nhất của tổ chức khác liên quan tới giải quyết tranh chấp và cần lôi kéo mọi nhà cung cấp mà tổ chức mong muốn tham gia vào giải quyết tranh chấp (xem Phụ lục L).
Các yếu tố cần tính đến bao gồm:
– nguyên tắc được mô tả trong Điều 4;
– các loại tranh chấp được giải quyết (ví dụ, loại khách hàng và bên khiếu nại hoặc sản phẩm nào);
– các biện pháp khắc phục sẽ được xem xét;
– các loại phương pháp giải quyết tranh chấp được đưa ra (trợ giúp, tư vấn và/hoặc xác định);
– tổ chức sẽ lập cam kết trước về việc tham gia giải quyết tranh chấp, hay ra quyết định trên cơ sở từng trường hợp cơ bản;
– trình độ chuyên môn của người giải quyết tranh chấp;
– phí phải trả cho bên khiếu nại, nếu có (xem Phụ lục D);
– cách thức các bên sẽ tham gia (ví dụ: cá nhân, đệ trình bằng văn bản, điện thoại và/hoặc internet);
– chuẩn mực làm căn cứ đánh giá tranh chấp (các yêu cầu luật định và chế định, quy phạm đạo đức và/hoặc sự công bằng hoặc sự hợp lý).
CHÚ THÍCH: Hiệp hội cũng thiết kế quá trình giải quyết tranh chấp cho các thành viên và những người khác.
6.3.3. Thử nghiệm
Tổ chức cần xem xét việc thử nghiệm các đặc trưng của thiết kế quá trình giải quyết tranh chấp với nhóm nhỏ các bên khiếu nại trước khi áp dụng trong phạm vi đầy đủ các bên khiếu nại. Việc thử nghiệm có thể được thực hiện trong phạm vi khu vực địa lý giới hạn và/hoặc với nhiều hơn một nhà cung cấp. Kết quả của mọi lần thử nghiệm cần được phân tích với quan điểm cải tiến những đặc trưng của thiết kế, sao cho chính sách và mục tiêu của tổ chức có thể được hoàn thành một cách tốt nhất.
6.4. Nguồn lực
Tổ chức cần yêu cầu và triển khai các nguồn lực như nhân sự, thông tin, tài liệu, quỹ dự phòng và cơ sở hạ tầng, sao cho có thể:
– lựa chọn nhà cung cấp thích hợp;
– đóng góp vào hoạt động chức năng thích hợp của nhà cung cấp;
– tham gia vào quá trình giải quyết tranh chấp; và
– đánh giá việc thực hiện của nhà cung cấp, người giải quyết và quá trình giải quyết tranh chấp một cách hiệu lực và hiệu quả.
7. Triển khai
7.1. Khái quát
Tổ chức nên áp dụng các thủ tục giải quyết tranh chấp một cách công bằng, hiệu lực và hiệu quả. Khi cần, nhà cung cấp và tổ chức nên điều chỉnh các thủ tục vận hành của mình để đảm bảo sự phối hợp liên quan tới tranh chấp, theo dõi tranh chấp, thừa nhận tranh chấp, đánh giá tranh chấp ban đầu, giải quyết tranh chấp (bao gồm các thủ tục cho việc thu thập bằng chứng liên quan), thực hiện giải quyết và theo dõi. Sơ đồ thể hiện các bước khác nhau của việc giải quyết tranh chấp được đưa ra trong Phụ lục M.
7.2. Chuyển khiếu nại
Tổ chức cần áp dụng các thủ tục để chuyển khiếu nại chưa được giải quyết tới nhà cung cấp. Tổ chức có thể chuyển khiếu nại đã xử lý và chưa được giải quyết trong nội bộ tổ chức. Việc chuyển khiếu nại cũng có thể được thực hiện trong trường hợp bên khiếu nại thông báo cho tổ chức rằng họ muốn khiếu nại của mình được bắt đầu xử lý bởi nhà cung cấp thay vì bởi tổ chức và chính sách giải quyết tranh chấp của tổ chức cho phép chuyển. Tổ chức cần đánh giá khiếu nại theo các tiêu chí mình quy định trong thỏa thuận với nhà cung cấp hoặc hợp đồng với khách hàng. Tổ chức nên chuyển khiếu nại tới nhà cung cấp nếu khiếu nại đáp ứng được các tiêu chí này. Nếu không, tổ chức cần kết thúc việc khiếu nại bằng việc sử dụng các thủ tục kết thúc thích hợp. Tổ chức cũng cần đảm bảo việc theo dõi tất cả các khiếu nại chuyển tới nhà cung cấp, sao cho tất cả các khiếu nại đều được giải quyết.
7.3. Tiếp nhận thông báo tranh chấp
Khi đưa ra giải quyết tranh chấp, tổ chức cần thông báo tới nhân sự thích hợp. Ngoài các cá nhân chịu trách nhiệm giải quyết tranh chấp, những người khác có thể được thông báo bao gồm người chịu trách nhiệm cụ thể cho việc bảo đảm chất lượng, xử lý khiếu nại, dịch vụ khách hàng và những vấn đề pháp lý.
7.4. Hình thành đáp ứng của tổ chức
7.4.1. Đánh giá tranh chấp
Tổ chức cần thực hiện các bước cần thiết để đánh giá tranh chấp. Các bước này có thể bao gồm:
– có được hồ sơ về giao dịch hoặc quá trình phát sinh tranh chấp, bao gồm hồ sơ bán hàng hoặc bản sao quảng cáo (khi thích hợp), hồ sơ kiểm tra hoặc sửa chữa, mọi hồ sơ xử lý khiếu nại và thông tin liên quan tới khiếu nại khác (nếu có) do bên khiếu nại hoàn thành;
– tham vấn nhân sự kỹ thuật, pháp lý, bán hàng, marketing, xử lý khiếu nại và nhân sự khác làm việc với tư cách tổ chức về tranh chấp khi thích hợp.
CHÚ THÍCH: Tổ chức nên lưu giữ hồ sơ về giao dịch, khiếu nại và hồ sơ liên quan ở dạng thức chuyển đổi một cách dễ dàng, sao cho các hồ sơ có thể được xử lý với toàn bộ nhà cung cấp, người giải quyết tranh chấp và/hoặc các bên khác theo dạng thức phù hợp.
7.4.2. Xây dựng luận điểm ban đầu
Sau khi thu thập các hồ sơ liên quan và đầu vào cần thiết, tổ chức cần xây dựng luận điểm ban đầu của mình trong các vấn đề liên quan tới trách nhiệm pháp lý tiềm ẩn và các biện pháp khắc phục, nếu có, tổ chức sẵn sàng cung cấp cho bên khiếu nại. Nhất quán với các thủ tục giải quyết tranh chấp, tổ chức nên trao đổi thông tin về luận điểm đó với nhà cung cấp, hoặc trực tiếp với bên khiếu nại (cùng bản sao cho nhà cung cấp). Luận điểm ban đầu có thể là:
– giải quyết các vấn đề theo yêu cầu của bên khiếu nại;
– cung cấp một số nhưng không phải là tất cả các biện pháp khắc phục yêu cầu, hoặc
– không cung cấp các biện pháp khắc phục được yêu cầu.
CHÚ THÍCH: Trong giải quyết tranh chấp, tổ chức thường không quyết định đưa ra một hay nhiều biện pháp khắc phục tới bên khiếu nại mà tổ chức không chắc chắn được yêu cầu theo luật pháp, quy phạm đạo đức hoặc những cơ sở khác. Tổ chức có thể thực hiện việc này như một cử chỉ có thiện ý, như một phần của chính sách thỏa mãn khách hàng, hoặc thừa nhận khả năng của người giải quyết tranh chấp, một hiệp hội điều hành quy phạm đạo đức hay tòa án có thể xem xét tình huống này một cách khác nhau.
7.5. Giải quyết tranh chấp
7.5.1. Phương pháp trợ giúp
Trong phương pháp trợ giúp, (xem Phụ lục A), sau khi tổ chức trao đổi thông tin về luận điểm ban đầu của mình, tổ chức cần chuẩn bị để tiếp nhận một đề xuất hoặc đề xuất đối lập để giải quyết vấn đề. Tổ chức có thể nhận đề xuất này trực tiếp từ bên khiếu nại hoặc thông qua những nỗ lực của người giải quyết tranh chấp. Khi nhận được đề xuất giải quyết, tổ chức cần thông báo cho nhân sự thích hợp về luận điểm của bên khiếu nại (xem 7.3). Tổ chức có thể tiến hành đánh giá bổ sung và nhận được đầu vào bổ sung (xem 7.4) liên quan tới đề xuất giải quyết. Tổ chức cần quyết định có chấp nhận đề xuất giải quyết, hay bác bỏ hoặc đưa ra đề xuất đối lập. Tổ chức cần thông báo tới bên khiếu nại và/hoặc bên giải quyết tranh chấp theo cách thức nhất quán với thủ tục của nhà cung cấp. Nếu được chấp nhận, tổ chức cần chuyển vấn đề tới nhân sự thích hợp, như cố vấn pháp luật và những người liên quan đến việc thực hiện giải quyết tranh chấp (xem 7.6).
Nếu không thống nhất được việc giải quyết trong giai đoạn này, tổ chức cần xác định thêm các phương pháp giải quyết tranh chấp thích hợp, nếu có và có thể áp dụng được với tranh chấp và thông báo cho nhà cung cấp về hiểu biết của mình trong khía cạnh này.
7.5.2. Phương pháp tư vấn và xác định
Nếu sử dụng phương pháp tư vấn hoặc xác định (xem Phụ lục A), tổ chức nên lập kế hoạch và chuẩn bị cho việc tham gia vào quá trình này một cách hiệu lực và hiệu quả. Ví dụ về các bước tổ chức cần thực hiện bao gồm:
– chỉ định người quản trị tình huống;
– xác định cách thức tham gia ưu tiên nhất quán với thủ tục giải quyết tranh chấp (ví dụ theo cá nhân, qua điện thoại, bằng tài liệu dạng văn bản);
– tiến hành điều tra thêm nếu cần;
– thu thập và sắp xếp bằng chứng;
– nhận biết các bằng chứng tiềm ẩn và bằng chứng dạng tài liệu;
– nhận biết phạm vi giải quyết tranh chấp tổ chức có thể chấp nhận được;
– xác định người có thẩm quyền giải quyết vấn đề này;
– xây dựng bài thuyết trình, khi thích hợp;
– đánh giá tiềm năng đạt được sự thỏa thuận trước khi kết thúc quá trình;
– tham gia vào quá trình.
7.5.3. Sự thỏa thuận
Nếu quá trình đạt được sự thỏa thuận, thì tổ chức cần chuyển vấn đề tới nhân sự thích hợp, như cố vấn pháp luật và những bên liên quan đến việc thực hiện quá trình giải quyết (xem 7.6).
7.5.4. Chấp nhận khuyến nghị
Nếu quá trình kết thúc với một khuyến nghị (xem Phụ lục A), tổ chức nên đưa ra xem xét nghiêm túc khuyến nghị đó và xác định xem có chấp nhận khuyến nghị hay không. Cần trao đổi thông tin về việc chấp nhận hay bác bỏ của tổ chức với nhà cung cấp và bên khiếu nại theo thủ tục giải quyết tranh chấp và quy phạm đạo đức liên quan. Nếu tổ chức và bên khiếu nại chấp nhận, thì các vấn đề cần được chuyển sang bước thực hiện (xem 7.6). Nếu từ chối, tổ chức cần trao đổi thông tin về những lý do từ chối của mình với nhà cung cấp và bên khiếu nại.
7.5.5. Xem xét quyết định xác định
Nếu quá trình kết thúc với một quyết định xác định, tổ chức cần quyết định có tiếp tục xem xét quyết định này hay không nếu việc xem xét này sẵn có theo thủ tục giải quyết tranh chấp hoặc luật pháp thích hợp. Mục đích của việc xem xét này là đánh giá các nguyên tắc giải quyết tranh chấp (xem điều 4) và các thủ tục liên quan có được tuân thủ đúng hay không. Trong trường hợp không sẵn có xem xét, hoặc tổ chức quyết định không theo đuổi việc xem xét, thì quyết định cần được chuyển tới nhân sự thích hợp trong tổ chức để đảm bảo rằng việc giải quyết được thực hiện (xem 7.6).
7.6. Thực hiện việc giải quyết
Sau khi tranh chấp được giải quyết, tổ chức cần thực hiện các bước cần thiết để thực hành giải quyết theo cách thức nhất quán với thỏa thuận, khuyến nghị và quyết định xác định. Những bước này cần bao gồm:
– xác định mọi hành động cụ thể cần thiết của tổ chức để thực hiện giải quyết (ví dụ hoàn trả thanh toán hoặc khoản tiền khác, sửa chữa sản phẩm, hoặc thực hiện hành động cụ thể khác được sắp xếp hoặc thống nhất);
CHÚ THÍCH 1: Bên khiếu nại có thể cần thực hiện những hành động cụ thể đối với thỏa thuận, khuyến nghị hoặc các quyết định xác định phải thực hiện (ví dụ trả lại sản phẩm với điều kiện hoàn tiền hoặc mang sản phẩm tới cơ sở sửa chữa được tổ chức chỉ định).
– ấn định trách nhiệm với những hành động này cho nhân sự thích hợp trong và ngoài tổ chức (ví dụ quan hệ khách hàng, nhân viên tài chính, nhà phân phối, đại lý độc quyền, bộ phận bán hàng và sản xuất) và thông báo cho nhân sự thời hạn thích hợp hoặc khuôn khổ thời gian thực hiện mong đợi, khi thích hợp.
– điều phối việc thực hiện giải quyết giữa nhân sự có trách nhiệm, bên khiếu nại và những người khác và theo dõi tiến trình thực hiện giải quyết của từng người;
– xác nhận hành động cần thiết đã được hoàn thành;
– thông báo cho nhà cung cấp thời gian hoàn thành việc thực hiện giải quyết hoặc, nếu việc thực hiện bị chậm trễ, thông báo lý do sự chậm trễ này;
– xác định sự thỏa mãn của khách hàng đối với việc thực hiện giải quyết và kết thúc tranh chấp nếu bên khiếu nại đã thỏa mãn, xác định những hành động bổ sung cần thiết, nếu có, khi bên khiếu nại không thỏa mãn với việc thực hiện giải quyết.
CHÚ THÍCH 2: Hành động bổ sung có thể bao gồm các bước đảm bảo cho việc thực hiện giải quyết tranh chấp hoặc bắt đầu lại quá trình giải quyết tranh chấp.
7.7. Kết thúc hồ sơ
Khi giải quyết tranh chấp được thực hiện một cách thỏa đáng, hoặc nếu quá trình kết thúc mà không có sự bồi thường, tổ chức có thể kết thúc hồ sơ tranh chấp và thông báo cho nhân sự thích hợp trong và ngoài tổ chức. Cần duy trì hồ sơ tranh chấp phù hợp với chính sách lưu trữ hồ sơ của tổ chức và yêu cầu thích hợp của pháp luật.
8. Duy trì và cải tiến
8.1. Theo dõi
Tổ chức nên thu thập và ghi chép các thông tin về bản chất, tiến trình và kết quả của tất cả các tranh chấp. Tổ chức có thể duy trì dữ liệu giải quyết tranh chấp của mình hoặc sử dụng dữ liệu thu được từ nhà cung cấp.
8.2. Phân tích và đánh giá
Tổ chức nên thường xuyên phân tích thông tin giải quyết tranh chấp thu thập hoặc có được để xác định các vấn đề, các xu hướng đơn lẻ và hệ thống về sản phẩm, những nỗ lực trong việc thỏa mãn khách hàng, thủ tục xử lý khiếu nại và giải quyết tranh chấp, người đại diện trong giải quyết tranh chấp và lựa chọn nhà cung cấp của tổ chức.
8.3. Xem xét của lãnh đạo
8.3.1. Khái quát
Lãnh đạo cao nhất phải định kỳ xem xét quá trình giải quyết tranh chấp để:
– duy trì sự phù hợp, thỏa đáng, hiệu lực và hiệu quả của quá trình giải quyết tranh chấp;
– giải quyết những trường hợp không phù hợp nghiêm trọng với thỏa thuận, khuyến nghị hoặc quyết định xác định;
– nhận biết và điều chỉnh những thiếu sót trong việc thể hiện quá trình giải quyết tranh chấp của tổ chức;
– đánh giá cơ hội cải tiến quá trình, sản phẩm và sự nỗ lực thỏa mãn khách hàng.
8.3.2. Đầu vào
Xem xét của lãnh đạo cần bao gồm thông tin liên quan tới giải quyết tranh chấp về:
– các yếu tố nội bộ, ví dụ những thay đổi chính sách, mục tiêu, cơ cấu tổ chức, nguồn lực sẵn có, sản phẩm và quá trình được cung cấp;
– các yếu tố bên ngoài ví dụ sự thay đổi luật pháp, hoạt động của các đối thủ cạnh tranh hoặc đổi mới công nghệ;
– việc thực hiện tổng thể quá trình giải quyết tranh chấp;
– kết quả đánh giá các phương pháp của nhà cung cấp;
– tình trạng của các hành động khắc phục và phòng ngừa, và
– hành động được quyết định ở các xem xét trước.
CHÚ THÍCH: Thông tin về việc thực hiện tổng thể quá trình giải quyết tranh chấp có thể bao gồm hiệu lực, hiệu quả, lòng tin của khách hàng vào tổ chức, sự thỏa mãn khách hàng, phần trăm khiếu nại được giải quyết, chi phí (so sánh với chi phí của tòa án) và kết quả đánh giá liên tục nhà cung cấp.
8.3.3. Đầu ra
Đầu ra từ xem xét của lãnh đạo cần bao gồm quyết định về những vấn đề như:
– cải tiến hiệu lực và hiệu quả quá trình giải quyết tranh chấp, xử lý khiếu nại và các quá trình khác và cải tiến sản phẩm;
– năng lực, việc thực hiện và sự phù hợp của nhà cung cấp giải quyết tranh chấp hiện tại;
– xử lý nhu cầu và sự thiếu hụt được nhận biết của tổ chức (ví dụ các chương trình đào tạo) liên quan tới giải quyết tranh chấp.
Cần thiết lập và duy trì hồ sơ xem xét của lãnh đạo.
8.4. Cải tiến liên tục
Tổ chức cần cải tiến liên tục hiệu lực và hiệu quả quá trình giải quyết tranh chấp. Điều này có thể đạt được thông qua các hành động khắc phục, phòng ngừa và cải tiến mang tính đổi mới.
Tổ chức cần thực hiện các hành động để loại trừ nguyên nhân của các vấn đề hiện hữu và tiềm ẩn dẫn đến các khiếu nại, nhằm ngăn ngừa sự xuất hiện và tái diễn.
Tổ chức cần:
– phát hiện, nhận biết và áp dụng việc thực hành tốt nhất trong quá trình giải quyết tranh chấp;
– thúc đẩy phương pháp tiếp cận hướng vào khách hàng bên trong tổ chức;
– khuyến khích sự đổi mới trong xây dựng giải quyết tranh chấp;
– thông báo cho người có trách nhiệm xây dựng quá trình giải quyết tranh chấp mọi vấn đề trong quá trình này;
– thừa nhận những gương điển hình về việc giải quyết tranh chấp.
Phụ lục A
(Tham khảo)
Hướng dẫn các phương pháp giải quyết tranh chấp
A.1. Khái quát
Thuật ngữ sử dụng để mô tả phương pháp giải quyết tranh chấp khác nhau cũng khác nhau trên toàn thế giới. Đôi khi cùng một thuật ngữ được sử dụng để mô tả phương pháp cụ thể ở một nước và mô tả phương pháp khác ở một nước khác. Để tránh việc các thuật ngữ được sử dụng không nhất quán với nhau, tiêu chuẩn này sử dụng các thuật ngữ theo chức năng là “trợ giúp”, “tư vấn” và “xác định” để mô tả các phương pháp khác nhau. Phụ lục này đưa ra hướng dẫn về những đặc trưng quan trọng của các phương pháp khác nhau và nhận biết các thuật ngữ khác nhau sử dụng trên thế giới mô tả những phương pháp này.
A.2. Phương pháp trợ giúp
Phương pháp trợ giúp là phương pháp trong đó các bên nhận được sự hỗ trợ để đạt được một thỏa thuận trong giải quyết tranh chấp. Nói chung, người giải quyết tranh chấp không đưa ra kết quả cụ thể nào. Không có sự xác định kết quả. Phương pháp trợ giúp có thể từ bị động tới chủ động.
Phương pháp bị động là một phương pháp trong đó sự hỗ trợ từ nhân sự của nhà cung cấp chỉ giới hạn ở việc giúp đỡ các bên trong quá trình trao đổi thông tin của họ. Sự hỗ trợ này có thể liên quan tới việc sử dụng công nghệ phần mềm của nhà cung cấp, như là diễn đàn giải quyết tranh chấp trực tuyến thông qua internet. Trong phương pháp bị động, nhân sự hay công nghệ của nhà cung cấp chỉ chuyển tải luận điểm của các bên, giải pháp đề xuất và kết hợp lập hồ sơ về mọi thỏa thuận mà sau đó có thể có hiệu lực như một hợp đồng. Sự hỗ trợ này thường được gọi là sự hòa giải hoặc thương lượng hỗ trợ. Tuy nhiên ở một số nơi trên thế giới, phương pháp bị động hay được gọi là sự điều đình.
Phương pháp chủ động đòi hỏi sự tham gia tích cực hơn của người giải quyết tranh chấp nhằm hỗ trợ các bên nhận biết các vấn đề, đưa ra các lựa chọn, xem xét lựa chọn thay thế và cố gắng đạt được một thỏa thuận có thể có hiệu lực như một hợp đồng. Phương pháp hỗ trợ chủ động thường hay được gọi là sự điều đình, tuy nhiên ở một số nơi trên thế giới, phương pháp chủ động hay được gọi là sự hòa giải.
Người giải quyết tranh chấp sử dụng phương pháp hỗ trợ chủ động đôi khi được gọi người hỗ trợ, người hòa giải, người điều đình hoặc người trung gian.
A.3. Phương pháp tư vấn
Phương pháp tư vấn là một phương pháp trong đó các bên nhận được những gợi ý về cách thức giải quyết về các vấn đề thực tế, pháp lý và những vấn đề khác, về các kết quả có thể có và cách thức đạt được các kết quả này và trong một số trường hợp nhận được các khuyến nghị.
Đôi khi loại phương pháp này được gọi là phân xử không trói buộc, đánh giá hoặc “phiên tòa nhỏ”. Sự tuân thủ của một tổ chức với khuyến nghị từ quá trình tư vấn, mặc dù không bị trói buộc bởi luật pháp, nhưng đôi khi được tính đến khi xác định xem quy phạm đạo đức mà tổ chức cam kết có được thỏa mãn hay không (xem TCVN ISO 10001).
Người giải quyết tranh chấp sử dụng phương pháp tư vấn có thể được gọi là cố vấn, trọng tài, ban hội thẩm, người đánh giá, người trung gian hoặc thanh tra.
A.4. Phương pháp xác định
Phương pháp xác định là một phương pháp trong đó tranh chấp được đánh giá, các vấn đề thực tế được giải quyết và đôi khi được lập thành văn bản và đưa ra một quyết định về cách thức giải quyết tranh chấp.
Phương pháp này có sự ràng buộc về luật pháp đối với các bên và có hiệu lực trong tòa án:
a) khi không có hành động tiếp theo của hai bên, hoặc
b) nếu được bên khiếu nại chấp nhận trong một khoảng thời gian nhất định; hoặc
c) nếu không được loại bỏ trong khoảng thời gian nhất định bởi cả hai bên.
CHÚ THÍCH 1: Tình huống mô tả ở điểm a) thông thường được nói đến như là sự phân xử hoặc đánh giá (ràng buộc), tình huống được mô tả ở điểm b) và c) đôi khi được nói đến như là sự phân xử hoặc đánh giá ràng buộc có điều kiện.
CHÚ THÍCH 2: Như đã chỉ ra trong tiêu chuẩn, ở một số nơi trên thế giới không cho phép ràng buộc các bên khiếu nại về mặt pháp lý.
Người giải quyết tranh chấp sử dụng phương pháp xác định có thể được gọi là cố vấn, trọng tài, ban hội thẩm, người đánh giá, người trung gian hoặc thanh tra.
CHÚ THÍCH 3: Ở một số nơi trên thế giới, người giải quyết tranh chấp như vậy có thể thực hiện nhiều hơn một phương pháp giải quyết tranh chấp trong cùng một tranh chấp, ví dụ người hỗ trợ có thể chuyển từ hoạt động hỗ trợ tích cực tới việc đưa ra chỉ dẫn (tại thời điểm đó sẽ trở thành người cố vấn), nếu bên khiếu nại không được thỏa mãn trong quá trình hỗ trợ. Tương tự như vậy, người hỗ trợ có thể đưa ra quyết định nếu quá trình hỗ trợ không giải quyết được trường hợp này. Ở một số nơi khác trên thế giới, yêu cầu của luật định hay chế định không cho phép người giải quyết tranh chấp thực hiện nhiều hơn một loại quá trình giải quyết tranh chấp trong cùng một tranh chấp.
Phụ lục B
(Tham khảo)
Mối quan hệ giữa TCVN ISO 10001, TCVN ISO 10002 và TCVN ISO 10003
Hình B.1 minh họa các quá trình của tổ chức liên quan tới quy phạm đạo đức, xử lý khiếu nại và giải quyết tranh chấp bên ngoài.
CHÚ THÍCH: Khiếu nại có thể do một khách hàng hoặc bên khởi kiện khác đưa ra.

Hình B.1- Mối quan hệ giữa TCVN ISO 10001, TCVN ISO 10002 và TCVN ISO 10003
Phụ lục C
(Quy định)
Hướng dẫn về sự chấp thuận tham gia
C.1. Khái quát
Sự tham gia của bên khiếu nại vào giải quyết tranh chấp, theo đề nghị của tổ chức, cần mang tính tự nguyện. Việc chấp thuận tham gia cần dựa trên những kiến thức và hiểu biết đầy đủ về quá trình và kết quả có thể có. Khi khách hàng là cá nhân mua hay sử dụng hàng hóa, tài sản hoặc dịch vụ cho mục đích cá nhân hay hộ gia đình, việc chấp thuận tham gia không nên là điều kiện cần để nhận được sản phẩm.
Chấp thuận tham gia tự nguyện được dựa trên những kiến thức và hiểu biết đầy đủ về quá trình và kết quả có thể có của cả hai bên.
Có hai vấn đề quan trọng liên quan tới việc chấp thuận tham gia:
– thông tin nào cần được cung cấp cho khách hàng và bên khiếu nại để việc chấp thuận tham gia được dựa trên những kiến thức và hiểu biết đầy đủ (xem C.2).
– thời điểm thích hợp để có được sự chấp thuận tham gia (xem C.3 về sự chấp thuận tham gia trước khi nảy sinh tranh chấp; C.4 về sự chấp thuận tham gia sau khi nảy sinh tranh chấp).
C.2. Thông tin trước khi chấp thuận tham gia
Thông tin về việc giải quyết tranh chấp được cung cấp cho khách hàng và bên khiếu nại trước khi chấp thuận tham gia cần bao gồm:
– phương pháp giải quyết tranh chấp được sử dụng;
– phạm vi thẩm quyền của nhà cung cấp;
– các khoản phí, nếu có, mà bên khiếu nại sẽ phải thanh toán;
– các loại biện pháp khắc phục có thể có, khoản bồi thường tối đa có thể nhận được và bồi hoàn có thể cho các chi phí phát sinh trong giải quyết tranh chấp;
– tiêu chí đánh giá tranh chấp (ví dụ quy phạm đạo đức, nguyên tắc pháp lý, tính công bằng);
– khác biệt đáng kể so với thủ tục của tòa án;
– tuyên bố về tranh chấp chính xác hoặc loại tranh chấp áp dụng việc chấp thuận tham gia;
– tên nhà cung cấp, cách thức tiếp cận quá trình và có được bản sao các thủ tục giải quyết tranh chấp áp dụng;
– khuôn khổ thời gian dự kiến hoàn thành từng phương pháp khác nhau;
– nếu không thỏa mãn với các quyết định xác định bên khiếu nại có từ bỏ quyền ra tòa hay không.
CHÚ THÍCH: Ở một số nơi trên thế giới, việc đòi hỏi bên khiếu nại từ bỏ quyền ra tòa là bất hợp pháp.
C.3. Chấp thuận tham gia trước khi nảy sinh tranh chấp
Đôi khi điều kiện trong hợp đồng bán hàng yêu cầu khách hàng sử dụng giải quyết tranh chấp bắt buộc và từ bỏ quyền sử dụng tòa án của họ. Điều này thường có trong hợp đồng giữa các tổ chức. Ở một số nơi trên thế giới, loại hợp đồng này là bất hợp pháp, khi khách hàng mua sản phẩm với mục đích cá nhân hoặc hộ gia đình.
Tổ chức mong muốn nâng cao sự thỏa mãn của khách hàng có thể xem xét các kỹ thuật giải quyết tranh chấp khác có thể đạt được nhiều lợi ích từ những điều khoản trước tranh chấp, nhưng không yêu cầu các bên tham gia từ bỏ quyền sử dụng hệ thống tòa án. Những kỹ thuật này gồm:
– phương pháp trợ giúp nhằm đạt được việc giải quyết tự nguyện bởi các bên;
– phương pháp mang lại những khuyến nghị trở thành ràng buộc nếu cả hai bên nhất trí;
– phương pháp xác định chỉ có tính ràng buộc khi bên khiếu nại chấp nhận quyết định;
– thỏa thuận tham gia giải quyết tranh chấp đạt được sau khi nảy sinh tranh chấp.
C.4. Chấp thuận tham gia sau khi tranh chấp nảy sinh
Trường hợp có sự chấp thuận tham gia giải quyết tranh chấp xác định sau khi tranh chấp nảy sinh, các bên cần ký vào thỏa thuận tham gia, thỏa thuận này nên bao gồm bản mô tả tranh chấp được gửi tới quá trình giải quyết tranh chấp, tên của nhà cung cấp và cách thức để có được bản sao thủ tục giải quyết tranh chấp áp dụng và phạm vi thẩm quyền của người giải quyết tranh chấp.
Phụ lục D
(Quy định)
Hướng dẫn về khả năng tiếp cận
D.1. Khái quát
Quá trình giải quyết tranh chấp cần dễ nhận thấy và sử dụng.
Khả năng tiếp cận giải quyết tranh chấp phụ thuộc vào hiệu lực của việc trao đổi thông tin và quảng bá liên quan tới sự sẵn có của quá trình, chi phí có thể phải gánh chịu khi sử dụng quá trình và không có rào cản đối với việc yêu cầu và tham gia vào quá trình.
D.2 tới D.7 đưa ra ví dụ về các cách thức khác nhau để tạo khả năng tiếp cận hợp lý quá trình giải quyết tranh chấp.
D.2. Trao đổi thông tin
Tính sẵn có của quá trình giải quyết tranh chấp cần được truyền đạt một cách rộng rãi tới các bên khiếu nại, khách hàng và các bên quan tâm khác có liên quan.
Cần sẵn có thông tin và sự hỗ trợ ở bất kỳ ngôn ngữ hay dạng thức nào được sử dụng trong thông tin về sản phẩm khi được cung cấp hoặc chuyển giao. Thông tin cần được viết bằng ngôn ngữ dễ hiểu và rõ ràng và cần sẵn có ở các dạng thức thay thế, như âm thanh, bản in khổ lớn, chữ nổi, qua thư điện tử hoặc trên trang tin điện tử có thể truy cập được.
CHÚ THÍCH: Dạng thức có khả năng thay thế mô tả việc trình bày hoặc biểu diễn khác nhằm làm cho thông tin có thể tiếp cận thông qua thể thức hoặc khả năng giác quan khác nhau. Bằng cách cung cấp tất cả các đầu vào và đầu ra (nghĩa là thông tin và chức năng) ở ít nhất là một dạng khác có khả năng thay thế (ví dụ trực quan và rõ ràng), có thể trợ giúp được nhiều người hơn, gồm cả những người có vấn đề về ngôn ngữ/đọc, viết. Các yếu tố trình bày có thể ảnh hưởng tới khả năng đọc và hiểu bao gồm:
– cách trình bày;
– màu sắc và sự tương phản của bản in;
– kích cỡ và kiểu của phông chữ và biểu tượng, và
– lựa chọn và sử dụng nhiều ngôn ngữ.
Xem ISO/IEC Guide 37.
Tổ chức có thể thực hiện việc trao đổi thông tin tại nhiều điểm khác nhau, như tại điểm bán hàng và vào thời điểm khiếu nại được tổ chức sắp xếp. Ít nhất, tổ chức cần trao đổi thông tin khi kết thúc quá trình xử lý khiếu nại nội bộ không thành công.
Việc trao đổi thông tin này hiệu quả nhất nếu được đặt tại nhiều vị trí, như trong quy phạm đạo đức về thỏa mãn khách hàng, trên bảng hiệu cửa hàng, trang tin điện tử, biểu khiếu nại, hợp đồng bán hàng, tài liệu kết thúc quá trình xử lý khiếu nại nội bộ.
D.3. Phí
Cung cấp giải quyết tranh chấp cho khách hàng miễn phí, hoặc ở mức phí hợp lý theo giá trị của tranh chấp, cần dẫn đến một quá trình có thể chấp nhận được
D.4. Yêu cầu quá trình và sự tham gia
Cần tạo cho bên khiếu nại chưa được thỏa mãn cơ hội yêu cầu và tham gia quá trình giải quyết tranh chấp theo các cách hợp lý nhất có thể.
Điện thoại, thư điện tử, fax hoặc thông tin trực tuyến là tất cả những phương pháp quan trọng cần được xem xét. Phương pháp được lựa chọn sẽ thuận lợi cho hồ sơ tình huống, truy cập thông tin tình huống hoặc nhận được câu trả lời cho các câu hỏi. Giải quyết tranh chấp qua biên giới và những trường hợp khác trong đó tổ chức và bên khiếu nại ở cách xa nhau, thì điều đặc biệt quan trọng mà phương pháp giải quyết tranh chấp được sử dụng phải tạo thuận lợi cho việc tham gia mà không yêu cầu đi lại.
D.5. Thông tin
Cần sẵn có các biểu mẫu dễ hiểu và hoàn chỉnh cho việc bắt đầu giải quyết tranh chấp, cũng như các tài liệu khác mô tả quá trình giải quyết tranh chấp và diễn giải cách thức các bên có thể tham gia tốt nhất.
Thông tin và biểu mẫu cần được cung cấp theo cùng ngôn ngữ sử dụng để đưa sản phẩm ra thị trường.
D.6. Nhân sự được đào tạo
Cần sẵn có nhân sự được đào tạo và các nguồn lực khác hỗ trợ cho tất cả các bên về mọi khía cạnh của quá trình giải quyết tranh chấp, bao gồm việc sắp xếp hồ sơ tranh chấp, người đại diện và diễn giải phạm vi của quá trình.
Sự hỗ trợ này cũng cần tính đến những nhu cầu của người khuyết tật hay các nhu cầu đặc biệt khác, để họ có thể tham gia một cách hiệu quả.
D.7. Tính không chính thức
Cần để quá trình mang tính không chính thức thích hợp với các trường hợp tranh chấp.
Không cần tuân thủ các quy tắc chính thức áp dụng trong tòa án. Các bên cần được phép thể hiện luận điểm, lý lẽ và bằng chứng riêng của mình, nghe hoặc thấy phần thực trong luận điểm, lý lẽ, bằng chứng của bên khác, cho dù người giải quyết tranh chấp có thể hạn chế bằng chứng này, nếu nó không liên quan hoặc lặp lại.
Các bên cần được phép cử đại diện hoặc trợ giúp bởi bất kỳ cá nhân nào theo lựa chọn của mình, trừ khi luật pháp địa phương không cho phép việc đại diện này. Nhà cung cấp cần xác nhận rằng sự lựa chọn được thực hiện tự nguyện. Nó cũng giúp ích cho bên được đại diện xuất hiện với tư cách cá nhân trong suốt quá trình này, vì điều đó thường giúp thể hiện những bằng chứng tốt nhất cũng như đảm bảo rằng sẵn có người có thẩm quyền giải quyết tranh chấp.
Việc đại diện có thể thông qua cá nhân, qua điện thoại hoặc trao đổi thông tin điện tử khác, hay bằng văn bản. Cần tạo sự linh hoạt cho các bên về cách thức đại diện của họ.
Phụ lục E
(Quy định)
Hướng dẫn về sự phù hợp
E.1. Khái quát
Các loại phương pháp giải quyết tranh chấp đưa ra cho các bên với một tranh chấp và biện pháp khắc phục tiềm ẩn, sẵn có cho bên khiếu nại, cần phù hợp với bản chất của tranh chấp.
E.2. Sự phù hợp của phương pháp
Tổ chức có thể chọn một hoặc nhiều loại phương pháp giải quyết tranh chấp đưa ra cho các bên khiếu nại, tùy theo các yếu tố như:
– nhu cầu và hoàn cảnh của tổ chức;
– sở thích của khách hàng;
– khuyến nghị của nhà cung cấp;
– khoảng thời gian giải quyết tranh chấp;
– chi phí;
– mức độ phức tạp của vấn đề;
– nhu cầu bảo mật;
– mong muốn hoặc nhu cầu tiếp tục mối quan hệ giữa các bên tham gia;
– sức mạnh tương đối trong thương lượng của các bên;
– nhu cầu về các kết quả linh hoạt;
– nhu cầu về một quyết định hoặc các phát hiện về chứng cứ mâu thuẫn;
– nhu cầu cho việc thực thi bên ngoài tổ chức;
– nhu cầu về chuyên gia kỹ thuật hoặc chuyên môn khác và tầm quan trọng của các vấn đề pháp lý;
– nhu cầu về việc theo dõi kết quả của công chúng.
Nói chung, nhà cung cấp đưa ra một phương pháp hỗ trợ theo chính sách giải quyết tranh chấp của tổ chức nên cung cấp phương pháp đó như là một phương thức giải quyết tranh chấp ưu tiên. Phương pháp hỗ trợ thường nhanh hơn, ít tốn kém và ít đối lập hơn. Nếu phương pháp hỗ trợ không giải quyết được tranh chấp và tổ chức chọn việc tạo sự sẵn có cho phương pháp giải quyết tranh chấp khác, thì cần đưa ra những phương pháp khác này.
E.3. Sự phù hợp của biện pháp khắc phục
Tổ chức nên ủy quyền cho nhà cung cấp đưa ra biện pháp khắc phục ít nhất đủ để bù đắp cho các vấn đề mà khiếu nại gây ra. Biện pháp khắc phục cần được xem xét và đưa ra, khi thích hợp, bao gồm:
– sửa chữa sản phẩm;
– hoàn trả chi phí cho sản phẩm;
– hủy bỏ hợp đồng bán hàng, và
– chỉ thị một trong các bên thực hiện hành động cụ thể để khắc phục các vấn đề.
Biện pháp khắc phục bổ sung có thể được luật pháp địa phương cho phép hoặc yêu cầu, ví dụ phí của luật sư và của bên đại diện khác, thiệt hại liên quan và các thiệt hại khác.
Phụ lục F
(Quy định)
Hướng dẫn về sự công bằng
Tổ chức cần tham gia giải quyết tranh chấp với mục đích giải quyết tranh chấp cho bên khiếu nại một cách công bằng và trung thực. Tổ chức nên lựa chọn nhà cung cấp có nhân sự giải quyết tranh chấp và người giải quyết tranh chấp tham gia giải quyết tranh chấp công bằng và khách quan, như vậy các quá trình, khuyến nghị và quyết định xác định công bằng cho cả hai bên và được thừa nhận là được thực hiện một cách độc lập.
Người giải quyết tranh chấp và nhân sự giải quyết tranh chấp cần được bảo vệ không bị ảnh hưởng bởi các bên trong suốt quá trình, sao cho những nỗ lực của họ trong việc xác định sự phù hợp và đạt được giải quyết tranh chấp là kết quả của sự đánh giá độc lập. Sự công bằng, khách quan và không thiên vị có thể đạt được một cách tốt nhất bởi sự kết hợp các hoạt động.
CHÚ THÍCH 1: Trong phần lớn các chương trình giải quyết tranh chấp ở khu vực tư nhân “doanh nghiệp với khách hàng”, nguồn kinh phí có từ các hiệp hội và/hoặc các doanh nghiệp cho tranh chấp cụ thể. Nguồn kinh phí này có thể đại diện cho tất cả hoặc một phần đáng kể trong chi phí của quá trình. Ngoài ra, hiệp hội cung cấp hoặc ký séc cho quá trình giải quyết tranh chấp dường như chịu ảnh hưởng của các thành viên là những người mà theo thời gian có thể là các bên trong chương trình giải quyết tranh chấp. Nguyên tắc công bằng này nhằm đảm bảo rằng mọi cố gắng để giải quyết tranh chấp bất kỳ đều không bị ảnh hưởng bởi những quan hệ về tài chính hoặc quan hệ thành viên này.
CHÚ THÍCH 2: Thuật ngữ “nhân sự giải quyết tranh chấp” được sử dụng khi thừa nhận thực tế là nhà cung cấp có nhân sự ở cấp điều hành không tham gia giải quyết tranh chấp (ví dụ giám đốc điều hành, giám đốc kinh doanh hay giám đốc tài chính) nhưng là người thương lượng hợp đồng và tham gia vào các mối quan hệ khác với bên tham gia kinh doanh, không liên quan tới việc xử lý bất kỳ tranh chấp nào. Yêu cầu phán xét công bằng và độc lập thích hợp để giải quyết tranh chấp cụ thể.
Sự công bằng có thể đạt được một cách tốt nhất bởi sự kết hợp giữa các hoạt động, như là:
– áp dụng phương pháp tư vấn hoặc xác định theo thủ tục được ban hành và tạo tính sẵn có cho các bên trước khi bắt đầu bất kỳ quá trình nào, các thủ tục và việc áp dụng cần tạo cho tất các bên cơ hội đầy đủ, công bằng và tương xứng đối với việc tham gia vào mọi phương pháp, và cần đảm bảo rằng mọi khuyến nghị hay quyết định đều dựa trên những bằng chứng và lý lẽ được trình bày cho người giải quyết tranh chấp;
– chấp nhận chính sách về xung đột lợi ích và quy phạm đạo đức đối với nhân sự và người giải quyết tranh chấp và chỉ ấn định người giải quyết tranh chấp cho quá trình giải quyết tranh chấp nếu họ được kỳ vọng là khách quan; cảm xúc, ý kiến hay lợi ích cá nhân của người giải quyết tranh chấp không nên ảnh hưởng tới việc thực hiện của họ, ví dụ, nếu người giải quyết tranh chấp được tuyển dụng bởi bên tranh chấp, điều này có thể ảnh hưởng tới khả năng duy trì tính khách quan của người giải quyết tranh chấp;
– đảm bảo rằng khoản bồi thường (nếu có) của người giải quyết tranh chấp không bị ảnh hưởng bởi bản chất của sự hòa giải, khuyến nghị hoặc quyết định xác định cụ thể;
– không giảm nhẹ nghĩa vụ của bên giải quyết tranh chấp nếu không chính đáng;
– ấn định người giải quyết tranh chấp theo cách giảm thiểu dịch vụ lặp lại với bất kỳ bên cụ thể nào;
– khi nhà cung cấp được tài trợ một phần hay toàn bộ bởi tổ chức là một bên tranh chấp, đảm bảo rằng việc xem xét tài trợ không ảnh hưởng tới việc giải quyết tranh chấp cụ thể;
– công khai cho các bên nhận dạng người giải quyết tranh chấp được chọn để giải quyết tranh chấp, cùng với mọi mối quan hệ người giải quyết tranh chấp có với một trong hai bên có thể được nhận thấy một cách hợp lý là ảnh hưởng tới sự công bằng; các bên cần có cơ hội để thử thách sự lựa chọn của người giải quyết tranh chấp bất kỳ với lý do chính đáng;
– tạo sự sẵn có cho bên khiếu nại về dịch vụ của chuyên gia kỹ thuật (gồm cả chuyên gia pháp lý) khi thích hợp và cần thiết để giải quyết tranh chấp công bằng;
– khi được luật pháp địa phương cho phép, cung cấp lời khai bắt buộc khi áp dụng phương pháp xác định, khi cần giải quyết tranh chấp công bằng;
– truyền đạt một cách rõ ràng cho các bên về phạm vi quyền hạn của người giải quyết tranh chấp và đảm bảo rằng mọi khuyến nghị và quyết định xác định đều thuộc phạm vi quyền hạn đó;
– công khai trước cho các bên về tiêu chí dùng cho khuyến nghị hay quyết định xác định;
– truyền đạt bằng ngôn ngữ đơn giản dưới dạng văn bản khuyến nghị hay quyết định xác định, và cơ sở của nó tới tổ chức và bên khiếu nại, với đầy đủ chi tiết sao cho nó có thể thực hiện một cách hiệu quả;
CHÚ THÍCH 3: Nếu không trái với luật pháp, các quyết định xác định có thể dựa trên các nguyên tắc pháp lý, tính công bằng, quy phạm đạo đức, hoặc kết hợp các yếu tố này.
– khi khuyến nghị hòa giải được các bên chấp nhận, lập khuyến nghị này thành văn bản sao cho có thể thực thi theo luật pháp hiện hành;
– xác định xem các bên có tuân thủ mọi thỏa thuận của các quyết định xác định hay không.
Phụ lục G
(Quy định)
Hướng dẫn về năng lực
G.1. Khái quát
Nhân sự, nhà cung cấp và người giải quyết tranh chấp của tổ chức cần có các thuộc tính, kỹ năng cá nhân, đào tạo và kinh nghiệm cần thiết để hoàn thành trách nhiệm của mình một cách thỏa đáng. Những yếu tố này sẽ được duy trì và cải thiện thông qua các phương thức như kinh nghiệm công tác bổ sung, đào tạo liên tục bao gồm việc giám sát và định kỳ đánh giá lại.
Năng lực có thể được đảm bảo thông qua một số kỹ thuật. Những kỹ thuật này được trình bày dưới đây.
G.2. Phẩm chất
Cần thiết lập các phẩm chất cho nhân sự và người giải quyết tranh chấp sao cho đảm bảo trình độ kỹ năng thích hợp với tranh chấp được nhà cung cấp tiếp nhận và họ thể hiện những phẩm chất quan trọng là cẩn trọng và trung thực.
G.3. Đào tạo
Cần đào tạo cho các cá nhân và người giải quyết tranh chấp những kiến thức và kỹ năng cần thiết, ví dụ:
– mọi yêu cầu về sự phù hợp có liên quan tới tranh chấp được nhà cung cấp tiếp nhận;
– tầm quan trọng của sự công bằng và các phương pháp đạt được sự công bằng;
– các kỹ thuật sẵn có để hỗ trợ cho các bên;
– các chính sách và thủ tục thích hợp để tiến hành từng phương pháp giải quyết tranh chấp họ sẽ tham gia;
– mọi nguyên tắc pháp lý hiện hành, quy phạm đạo đức hoặc nguyên tắc công bằng áp dụng trong tranh chấp.
CHÚ THÍCH: Tùy thuộc vào loại tranh chấp được tiếp nhận, cơ sở của khuyến nghị và quyết định xác định và sự ưu tiên của tổ chức, việc đào tạo pháp lý chính thức và cấp phép nghề nghiệp cho người giải quyết tranh chấp không phải lúc nào cũng cần thiết, trừ khi luật pháp yêu cầu.
G.4. Đánh giá định kỳ
Cần đánh giá định kỳ việc thực hiện và phẩm chất của người giải quyết tranh chấp, tiêu chí do nhà cung cấp thiết lập đối với phẩm chất của người giải quyết tranh chấp.
CHÚ THÍCH: Hướng dẫn bổ sung liên quan tới năng lực nhân sự được nêu trong TCVN ISO 10015.
Phụ lục H
(Quy định)
Hướng dẫn về tính kịp thời
Cần đưa ra giải quyết tranh chấp nhanh nhất có thể theo bản chất của tranh chấp và quá trình sử dụng.
Khi áp dụng các nguyên tắc này, sẽ hữu ích khi thiết lập khung thời gian kỳ vọng để hoàn thành từng phương pháp khác nhau được đưa ra và để truyền đạt khung thời gian này cho tất cả các bên liên quan. Khung thời gian cần đủ linh hoạt để tính đến sự khác biệt về mức độ phức tạp của các tranh chấp, nhu cầu khác nhau của các bên tham gia trong tranh chấp cụ thể.
Khung thời gian có thể bị ảnh hưởng bởi các yêu cầu pháp lý hiện hành. Các bên và nhà cung cấp chia sẻ trách nhiệm giải trình về việc tuân thủ theo khung thời gian được thiết lập.
Cũng hữu ích nếu theo dõi tiến trình của tranh chấp và các bên được thông báo về tiến trình này, hoặc sẵn có các thông tin theo dõi cho bên tham gia và người giải quyết tranh chấp.
Tính kịp thời cũng quan trọng nếu các bên được quyền sử dụng các thủ tục pháp lý hoặc các phương pháp của nhà cung cấp khác trong khoảng thời gian nhất định. Nếu quá trình giải quyết tranh chấp bị kéo dài, khả năng đưa trường hợp này ra tòa có thể bị cản trở. Tính kịp thời có thể đạt được tốt nhất khi đại diện của tổ chức trong quá trình giải quyết tranh chấp được giao quyền hạn xác định một cách rõ ràng để giải quyết tranh chấp hoặc có thể nhanh chóng có được sự ủy quyền từ những người khác trong tổ chức.
Phụ lục I
(Quy định)
Hướng dẫn về tính minh bạch
I.1. Khái quát
Thông tin đầy đủ về quá trình giải quyết tranh chấp, nhà cung cấp và việc thực hiện của họ cần được công khai cho bên khiếu nại, tổ chức và công chúng.
Tổ chức cần đảm bảo rằng thông tin này sẵn có cho tất cả các bên tham gia quan tâm.
I.2. Thông tin về quá trình, phương pháp và việc thực hiện
Thông tin hữu ích về dịch vụ và việc thực hiện của nhà cung cấp có thể bao gồm:
– thông tin liên hệ đầy đủ cho nhà cung cấp;
– loại tranh chấp được xử lý và loại phương pháp được cung cấp;
– cách thức bắt đầu phương pháp giải quyết tranh chấp cụ thể, bao gồm mọi lệ phí bắt buộc;
– cách thức tham gia của các bên (theo cá nhân hoặc bằng điện thoại, bằng thư hoặc trực tuyến);
– cách thức sát hạch, lựa chọn, và thử thách phẩm chất và tính khách quan của người giải quyết tranh chấp;
– cơ sở quyết định tranh chấp (ví dụ luật pháp, sự công bằng, quy phạm đạo đức) và biện pháp khắc phục sẵn có;
– khuôn khổ thời gian sẽ được tuân thủ;
– chính sách bảo mật;
– nhà cung cấp có nhận được kinh phí từ tổ chức là bên tranh chấp hay không và những biện pháp an toàn nào được thực thi để đảm bảo rằng kinh phí này không ảnh hưởng tới sự thỏa thuận khuyến nghị hoặc các quyết định xác định cụ thể.
I.3. Báo cáo thường niên
Tổ chức cần thừa nhận rằng việc công bố báo cáo của nhà cung cấp có thể đưa ra đánh giá có ý nghĩa về nhà cung cấp và việc thực hiện của họ. Báo cáo thường niên có thể bao gồm:
– số lượng tranh chấp nhận được, số được giải quyết và chưa được giải quyết theo từng phương pháp giải quyết tranh chấp và số khuyến nghị hoặc các quyết định xác định đưa ra tất cả, một số hoặc không có các yêu cầu trợ giúp;
– tính kịp thời của trường hợp giải quyết;
– nhận biết các hệ thống được xác định thông qua quá trình giải quyết tranh chấp;
Dữ liệu công bố không nên có dấu hiệu nhận biết của một tổ chức cụ thể trừ khi có sự đồng ý của tổ chức.
I.4. Công bố kết quả của quá trình giải quyết tranh chấp riêng lẻ
Trong tình huống thích hợp (ví dụ trường hợp số lượng ít và lợi ích giáo dục cao) và khi bảo toàn tính bảo mật được cam kết, các văn bản về kết quả của giải quyết tranh chấp riêng lẻ (khuyến nghị và quyết định xác định, sự hòa giải hoặc các thông tin liên quan) có thể được công bố nếu tất cả các bên đồng ý.
Phụ lục J
(Tham khảo)
Hướng dẫn lựa chọn nhà cung cấp
Các yếu tố tổ chức cần xem xét khi lựa chọn nhà cung cấp bao gồm:
– trong dự đoán của tổ chức, nhà cung cấp lựa chọn sử dụng tiêu chuẩn này hay bất kỳ tiêu chuẩn giải quyết tranh chấp liên quan;
– uy tín của nhà cung cấp với khách hàng của tổ chức, người tiêu dùng và các hiệp hội công nghiệp, phương tiện truyền thông và cơ quan bảo vệ người tiêu dùng của chính phủ;
– khi thích hợp, kết quả thu được từ các đánh giá độc lập, xem xét của lãnh đạo hoặc khảo sát khách hàng có thể chỉ ra các xu hướng (ví dụ về việc thực hiện);
– khuyến nghị từ các tổ chức khác đã sử dụng dịch vụ của nhà cung cấp;
– mức độ nhất quán của nhà cung cấp và các phương pháp của họ với giá trị của tổ chức;
– kinh nghiệm, điều kiện tài chính của nhà cung cấp và khả năng có thể đáp ứng nghĩa vụ của họ với tổ chức và bên khiếu nại của tổ chức;
– các phương pháp của nhà cung cấp có thể được phối hợp với xử lý khiếu nại và quá trình hoạt động khác của tổ chức hay không, bao gồm cả việc sử dụng công nghệ trao đổi thông tin;
– mức độ các thủ tục của nhà cung cấp đáp ứng nhu cầu của tổ chức, bao gồm cách thức trình bày các tình huống tới người giải quyết tranh chấp (ví dụ bằng lời hoặc văn bản);
– mức độ tạo thuận lợi cho việc giải quyết tranh chấp sớm của các phương pháp giải quyết tranh chấp nhà cung cấp đưa ra;
– chi phí trực tiếp và gián tiếp cho tổ chức và bên khiếu nại;
– mức độ nhà cung cấp có nguồn lực thỏa đáng để tiếp nhận, theo dõi và giải quyết các loại và số lượng tranh chấp đồng ý xử lý;
– nhà cung cấp có tuyển dụng, hay tiếp cận một số lượng đầy đủ người giải quyết tranh chấp và chuyên gia kỹ thuật được đào tạo thỏa đáng hay không (bao gồm cả chuyên gia pháp lý);
– nhà cung cấp có các phương thức xử lý tranh chấp hay không nếu tổ chức và bên khiếu nại sinh sống ở khoảng cách xa nhau, như trong trường hợp qua biên giới;
– nhà cung cấp có thực thi các quá trình theo dõi, đánh giá và cải tiến liên tục dịch vụ giải quyết tranh chấp của mình hay không.
Phụ lục K
(Tham khảo)
Hướng dẫn về chính sách giải quyết tranh chấp
K.1. Lập cam kết trước
Khi xác định có lập cam kết trước khi giải quyết tranh chấp hay không, tổ chức cần xem xét giá trị của cam kết trước này với những nỗ lực thỏa mãn khách hàng tổng thể của tổ chức và với các chính sách, mục tiêu khác của tổ chức. Tổ chức cần xem xét các yếu tố sau:
– khả năng nâng cao uy tín của tổ chức;
– mọi yêu cầu luật định và chế định hoặc ưu đãi;
– mọi yêu cầu hay ưu đãi khi tham gia chương trình giải quyết tranh chấp của hiệp hội;
– tính hữu dụng của dữ liệu báo cáo thống kê của nhà cung cấp với chất lượng và quá trình cải tiến của tổ chức;
– thuận lợi có thể có của cam kết trước trong việc khuyến khích khách hàng sẵn sàng sử dụng quá trình;
– giá trị bằng tiền của việc giải quyết mà bên khiếu nại tìm kiếm;
– cơ hội để giảm chi phí có thể phải chịu trong việc tranh chấp;
– số lượng khiếu nại mà quá trình xử lý khiếu nại nội bộ trong tổ chức dự kiến vẫn chưa được giải quyết.
K.2. Tham gia theo từng trường hợp
Nếu tổ chức không lập cam kết trước với việc giải quyết tranh chấp, tổ chức cần phổ biến tới tất cả các nhân viên liên quan đến việc xử lý khiếu nại tiêu chí xác định thời điểm tham gia giải quyết tranh chấp trên cơ sở từng trường hợp. Tiêu chí này cần xem xét các yếu tố như:
– số lượng tranh chấp và trợ giúp tìm kiếm khác;
– mọi lợi ích để tránh việc tố tụng của tòa án, như là giảm chi phí;
– các khuyến khích hoặc yêu cầu của luật định, chế định;
– tác động tiềm ẩn của việc không giải quyết tranh chấp tới mối quan hệ của tổ chức với khách hàng đó và danh tiếng chung của tổ chức.
Phụ lục L
(Tham khảo)
Hướng dẫn về các yếu tố trong thiết kế giải quyết tranh chấp
Có nhiều thiết kế cho việc giải quyết tranh chấp, mỗi thiết kế đều có những ưu điểm và nhược điểm riêng. Nguyên tắc hướng dẫn được sử dụng theo nhiều cách khác nhau trong các thiết kế khác nhau. Những thiết kế này có thể được thiết lập bởi nhà cung cấp đưa ra giải quyết tranh chấp trên thị trường nói chung, hoặc bởi nhà cung cấp là các hiệp hội hay được các hiệp hội lựa chọn để cung cấp giải quyết tranh chấp cho các thành viên và các đối tượng khác.
Bảng L.1 minh họa các yếu tố khác nhau của thiết kế giải quyết tranh chấp và không có dụng ý bao hàm toàn diện.
Bảng L.1- Hướng dẫn về các yếu tố trong thiết kế giải quyết tranh chấp
|
Yếu tố thiết kế |
Ví dụ |
|
Lựa chọn nào có sẵn về cơ cấu pháp lý của nhà cung cấp? |
Hiệp hội công nghiệp; hiệp hội người tiêu dùng; tổ chức phi lợi nhuận; tổ chức thương mại; người sở hữu duy nhất. |
|
Loại tranh chấp nào sẽ được nhà cung cấp xử lý? |
Không thực hiện việc bảo hành; giao hàng không kịp thời; quảng cáo không trung thực; vi phạm hợp đồng; trách nhiệm pháp lý với sản phẩm. |
|
Phương pháp giải quyết tranh chấp nào sẽ được cung cấp? |
Trợ giúp; tư vấn; và/hoặc xác định (ràng buộc hoặc không ràng buộc). |
|
Giải quyết tranh chấp sẽ được tài trợ ra sao? |
Phí từ một hoặc hai bên tham gia; phí thành viên của hiệp hội; tài trợ chính phủ hoặc từ thiện. |
|
Phương pháp giải quyết tranh chấp nào sẽ được sử dụng trong tranh chấp riêng lẻ? |
Chỉ phương pháp trợ giúp; chỉ quyết định xác định, trợ giúp kèm theo quyết định xác định, nếu cần. |
|
Phẩm chất của người giải quyết tranh chấp sẽ là gì? |
Phải trải qua 40 giờ đào tạo; phải có 10 năm kinh nghiệm liên quan; phải là luật sư. |
|
Làm thế nào để đạt được sự độc lập? |
Quy phạm đạo đức; tổ chức điều hành cân bằng nhiều bên liên quan; nhà cung cấp không sử dụng người giải quyết tranh chấp; người giải quyết tranh chấp độc lập với nhân sự khác của nhà cung cấp. |
|
Tiêu chí nào sẽ được sử dụng cho các quyết định giải quyết tranh chấp? |
Áp dụng chặt chẽ các nguyên tắc pháp lý; áp dụng quy phạm đạo đức; và/hoặc tính công bằng. |
|
Tranh chấp sẽ được giải quyết trong khuôn khổ thời gian nào? |
Quyết định trong 60 ngày; sự trợ giúp sẽ được thử trong vòng 40 ngày trước khi quyết định. |
|
Giải quyết tranh chấp có thể tiếp cận bằng hình thức nào? |
Cá nhân; qua điện thoại; đệ trình văn bản; trực tuyến. |
Phụ lục M
(Tham khảo)
Lưu đồ giải quyết tranh chấp
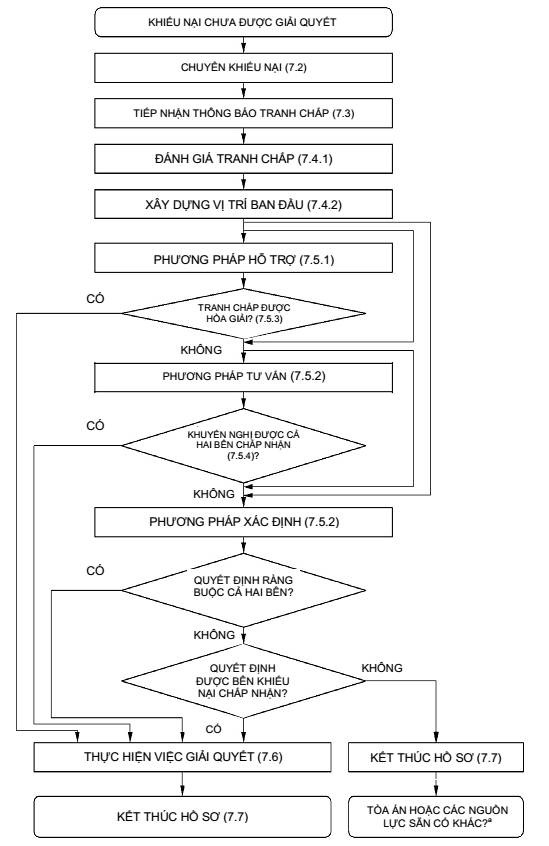
Hình M.1 minh họa các bước giải quyết tranh chấp khác nhau.

a Bên khiếu nại có thể thực hiện quyền nằm ngoài quá trình giải quyết tranh chấp của mình tại bất kỳ lúc nào và giai đoạn nào. Điều này có thể bị hạn chế tùy theo từng tình huống (ví dụ trong bối cảnh doanh nghiệp với doanh nghiệp).
Hình M.1 – Lưu đồ giải quyết tranh chấp
Thư mục tài liệu tham khảo
[1] TCVN ISO 9001:2008 (ISO 9001:2008), Hệ thống quản lý chất lượng – Các yêu cầu
[2] TCVN ISO 9004:2000 (ISO 9004:2000), Hệ thống quản lý chất lượng – Hướng dẫn cải tiến
[3] TCVN ISO 10001 (ISO 10001), Quản lý chất lượng – Sự thỏa mãn của khách hàng – Hướng dẫn về quy phạm đạo đức đối với tổ chức
[4] TCVN ISO 10002:2007 (ISO 10002:2004), Quản lý chất lượng – Sự thỏa mãn của khách hàng – Hướng dẫn xử lý khiếu nại trong tổ chức
[5] TCVN ISO 10015 (ISO 10015), Quản lý chất lượng – Hướng dẫn đào tạo
[6] ISO/IEC Guide 37, Hướng dẫn sử dụng sản phẩm mà người tiêu dùng quan tâm (Instructions for use of products of consumer interest)
MỤC LỤC
Lời nói đầu
Lời giới thiệu
1. Phạm vi áp dụng
2. Tài liệu viện dẫn
3. Thuật ngữ và định nghĩa
4. Nguyên tắc chủ đạo
4.1. Khái quát
4.2. Chấp thuận tham gia
4.3. Khả năng tiếp cận
4.4. Phù hợp
4.5. Công bằng
4.6. Năng lực
4.7. Kịp thời
4.8. Bảo mật
4.9. Minh bạch
4.10. Hợp pháp
4.11. Khả năng
4.12. Cải tiến liên tục
5. Khuôn khổ giải quyết tranh chấp
5.1. Cam kết
5.2. Chính sách giải quyết tranh chấp
5.3. Trách nhiệm của lãnh đạo cao nhất
6. Hoạch định, thiết kế và phát triển
6.1. Khái quát
6.2. Mục tiêu
6.3. Hoạt động
6.4. Nguồn lực
7. Triển khai
7.1. Khái quát
7.2. Chuyển khiếu nại
7.3. Tiếp nhận thông báo tranh chấp
7.4. Hình thành đáp ứng của tổ chức
7.5. Giải quyết tranh chấp
7.6. Thực hiện việc giải quyết
7.7. Kết thúc hồ sơ
8. Duy trì và cải tiến
8.1. Theo dõi
8.2. Phân tích và đánh giá
8.3. Xem xét của lãnh đạo
8.4. Cải tiến liên tục
Phụ lục A (Tham khảo) Hướng dẫn về phương pháp giải quyết tranh chấp
Phụ lục B (Tham khảo) Mối quan hệ giữa TCVN ISO 10001, TCVN ISO 10002 và TCVN ISO 10003
Phụ lục C (Quy định) Hướng dẫn về sự chấp thuận tham gia
Phụ lục D (Quy định) Hướng dẫn về khả năng tiếp cận
Phụ lục E (Quy định) Hướng dẫn về sự phù hợp
Phụ lục F (Quy định) Hướng dẫn về sự công bằng
Phụ lục G (Quy định) Hướng dẫn về năng lực
Phụ lục H (Quy định) Hướng dẫn về tính kịp thời
Phụ lục I (Quy định) Hướng dẫn về tính minh bạch
Phụ lục J (tham khảo) Hướng dẫn lựa chọn nhà cung cấp
Phụ lục K (Tham khảo) Hướng dẫn về chính sách giải quyết tranh chấp
Phụ lục L (Tham khảo) Hướng dẫn về các yếu tố trong thiết kế giải quyết tranh chấp
Phụ lục M (Tham khảo) Lưu đồ giải quyết tranh chấp
Thư mục tài liệu tham khảo


